GM Service Manual Online
For 1990-2009 cars only

Removal Procedure


    Object Number: 325476  Size: SH
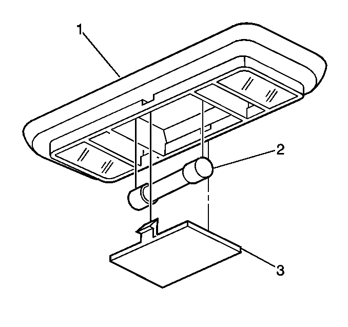
  1. Gently pry on the dome lamp lens (3) with a suitable flat-bladed tool in order to disengage the retaining tabs from the dome lamp housing (1).
  2. Remove the bulb (2) from the socket.

  3. Object Number: 325471  Size: SH
  4. Gently pry on the map lamp lens with a suitable flat-bladed tool in order to disengage the retaining tabs from the dome lamp housing (1).
  5. Remove the map lamp lens (3) from the dome lamp housing (1).
  6. Remove the bulb (2) from the socket.

Installation Procedure


    Object Number: 325476  Size: SH
  1. Install the dome lamp bulb (2) into the socket.
  2. Install the dome lamp lens (3) to the dome lamp housing (1).
  3. Press on the dome lamp lens in order to engage the retaining tabs.


    Object Number: 325471  Size: SH
  4. Connect the map lamp bulb (2) into the socket.
  5. Install the map lamp lens (3) to the dome lamp housing (1).
  6. Press on the map lamp lens in order to engage the retaining tabs.