GM Service Manual Online
For 1990-2009 cars only

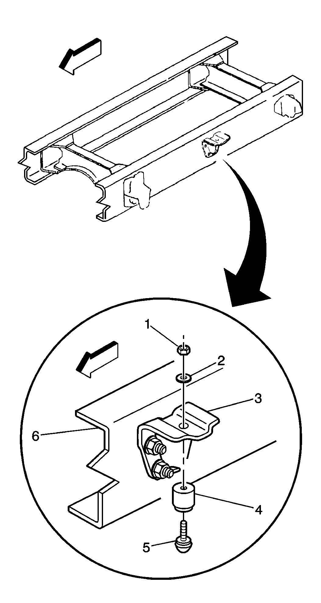
Removal Procedure


Object Number: 202550  Size: LH

Remove the following components from the bumper bracket (3):

    • The nut (1)
    • The washer (2)
    • The bumper bolt (5)
    • The bumper (4)

Installation Procedure


Object Number: 202550  Size: LH

Notice: Refer to Fastener Notice in the Preface section.

Install the following components to the bumper bracket (3):

    • The bumper (4)
    • The bumper bolt (5)
    • The washer (2)
    • The nut (1)

Tighten
Tighten the bumper nut to 50 N·m (37 lb ft).