GM Service Manual Online
For 1990-2009 cars only

Tools Required

PT-4375 A

PT-4370-10

PT-4370-20

Removal Procedure


    Object Number: 201703  Size: LH
  1. Remove the steering knuckle (20) and remove the king pin (12). Refer to Steering Knuckle and King Pin Replacement .
  2. Clamp the knuckle in a vise.

  3. Object Number: 837615  Size: SH
  4. Remove the king pin seals (1) from the steering knuckle.

  5. Object Number: 837620  Size: SH
  6. Remove the king pin bushing using the proper removal tool from the PT4375A or equivalent.
  7. Use a Press with a 5 ton capacity to press the bushings from the knuckle bore.

Installation Procedure


    Object Number: 837620  Size: SH
  1. Install the top king pin bushing (1) onto the steering knuckle. Use components of the PT-4375A or equivalent as shown in the illustration.
  2. Use a press with a 5 ton capacity to start to press the bushings into the knuckle bore 3 mm.
  3. Make sure the bushing is straight.
  4. On easy steer bushings, press the bushing farther to a depth of 8.94-9.70 mm (0.350-0.382 in) below the top of the upper knuckle bore.
  5. On bronze bushings, press the bushing farther to a depth of 3.5-4.0 mm (0.135-0.165 in) above the bottom of the upper bore.

  6. Object Number: 837621  Size: SH
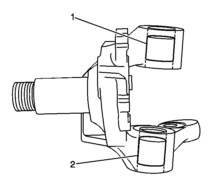
  7. Continue to press the upper bushing (1) into the knuckle.
  8. On easy steer bushings, press the bushing farther to a depth of 8.94-9.70 mm (0.350-0.382 in) below the top of the upper knuckle bore.
  9. On bronze bushings, press the bushing farther to a depth of 3.5-4.0 mm (0.135-0.165 in) above the bottom of the upper bore.

  10. Object Number: 837620  Size: SH
  11. Install the bottom king pin bushing (1) onto the steering knuckle. Use components of the PT-4375A or equivalent as shown in the illustration.
  12. Use a press with a 5 ton capacity to start to press the bushings into the knuckle bore 3 mm.
  13. Make sure the bushing is straight.

  14. Object Number: 837621  Size: SH
  15. Continue to press the lower bushing (2) into the knuckle.
  16. On easy steer bushings, press the bushing farther to a depth of 8.94-9.70 mm (0.352-0.382 in) below the top of the lower knuckle bore.
  17. On bronze bushings, press the bushing farther to a depth of 3.5-4.0 mm (0.135-0.165 in) above the bottom of the lower bore.
  18. Ream bushing as needed with use of the PT-4370-10 and the PT-4370-20.

  19. Object Number: 201703  Size: LH
  20. Install the steering knuckle (20) and the king pin (12). Refer to Steering Knuckle and King Pin Replacement .