GM Service Manual Online
For 1990-2009 cars only

Trim Height Measurements

Trim height is a pre-determined measurement relating to vehicle ride height. Incorrect trim heights can cause bottoming out over bumps, damage to the suspension components and symptoms similar to wheel alignment problems. Check the trim heights when diagnosing suspension concerns and before checking the wheel alignment.

Perform the following before measuring the trim heights:

  1. Set the tire pressures to the pressure shown on the certification label. Refer to Vehicle Certification Label .
  2. Check the fuel level. Add additional weight if necessary to simulate a full tank.
  3. Make sure the cab and rear compartment are empty .
  4. Make sure the vehicle is on a level surface.
  5. Close the doors.
  6. All dimensions are measured vertical to the ground. Trim heights should be within 13 mm (0.5 in) to be considered correct.

Front Axle Height Measurement

The C height dimension measurement determines the proper ride height for the front end of the vehicle. Vehicles without torsion bars have no adjustment and could require replacement of suspension components.

The B height dimension measurement determines if the front axle is bent.

Check the suspension and steering components for any binding conditions.


Object Number: 710462  Size: SF
  1. Measure from the axle center line to the bottom inside frame rail in order to obtain the C height measurement for the front axle.
  2. Measure from the axle center line of each front wheel to the bottom of the axle beam to obtain the B height measurement for the front axle.

  3. The true C and B height dimension number is the average of the high and the low measurements. Refer to Trim Height Specifications .
  4. Replace damaged or worn components as necessary.

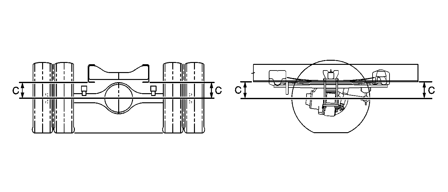
Rear Single Axle Height Measurement

The C height dimension measurement determines the proper rear end ride height. There is no adjustment procedure. Repair may require replacement of suspension components.


Object Number: 710470  Size: SF
  1. Make sure the vehicle is on a flat level surface.
  2. Measure the C height by measuring the distance between the rear axle center line to bottom inside of frame rail.
  3. Check the suspension components for any binding conditions. Allow the vehicle to settle into position.
  4. Measure the C height dimension.
  5. The true C height dimension number is the average of the high and the low measurements. Refer to Trim Height Specifications .
  6. If these measurements are out of specifications, inspect for the following conditions:
  7. • Sagging front suspension--Refer to Leaf Springs Replacement .
    • Sagging rear springs--Refer to Leaf Spring Replacement or Diagnostic Starting Point - Air Suspension .
    • Improper tire inflation
    • Refer to Vehicle Certification, Tire Placard, Anti-Theft, and Service Parts ID Label .
    • Improper weight distribution
    • Collision damage

Rear Tandem Axle Height Measurement

The tandem axle must be measured in three locations to be sure of proper ride height. B, C, E height dimension measurements determine the proper rear end ride height. There is no adjustment procedure. Repair may require replacement of suspension components.


Object Number: 710474  Size: SF
  1. Make sure the vehicle is on a flat level surface.
  2. Measure the C height by measuring the distance between the center line of both axles at the center of the springs to bottom inside of frame rail.
  3. Measure the E height by measuring the distance between the center line of front axle of the tandem to bottom inside of frame rail.

    Measure the B height by measuring the distance between the center line of rear axle of the tandem to bottom inside of frame rail.

  4. Check the suspension components for any binding conditions. Allow the vehicle to settle into position.
  5. Measure the C, E, B height dimensions.
  6. The true C, E, B height dimension numbers is the average of the high and the low measurements. Refer to Trim Height Specifications .
  7. If these measurements are out of specifications, inspect for the following conditions:
  8. • Sagging front suspension--Refer to Leaf Springs Replacement .
    • Sagging rear springs--Refer to Leaf Spring Replacement or Diagnostic Starting Point - Air Suspension .
    • Improper tire inflation--Refer to Vehicle Certification, Tire Placard, Anti-Theft, and Service Parts ID Label .
    • Improper weight distribution
    • Collision damage