GM Service Manual Online
For 1990-2009 cars only

Camber variations may be caused by one of the following conditions:

    • Wear at the wheel bearings
    • Wear at the steering knuckle bushings
    • Bent steering knuckle
    • Bent axle center

Refer to Wheel Alignment Specifications for camber specifications.

Important: Before testing the camber, inspect the king pin wear. Complete the following steps:

  1. Raise the front of the vehicle.
  2. Pull the bottom of the wheel outward and measure the camber.
  3. Pull the top of the wheel outward and take a camber measurement. Use a camber gage, if available.

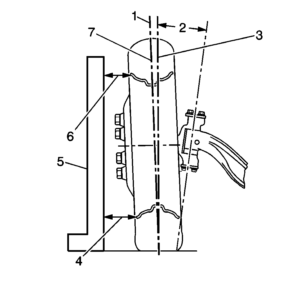
  4. Object Number: 200191  Size: SH
  5. If a camber gage is not available, place a square (5) against the tire and take the measurements.
  6. If the measurements vary by more than 0.25 degrees, adjust the wheel bearing. Refer to Wheel Bearing Adjustment .
  7. Take the camber measurements again. If the measurements still vary by more than 0.25 degrees, replace the steering knuckle bearing and/or the bushings and the king pins. Refer to Steering Knuckle and King Pin Replacement .
  8. Inspect the wheel runout. Refer to Tire and Wheel Assembly Runout Measurement - On-Vehicle . Replace the wheel if the wheel runout is excessive.
  9. Place the vehicle on a level surface, with the normal weight of the vehicle on the wheels. Take a final camber measurement.
  10. Note the dimension of the top measurement and the dimension of the bottom measurement.
  11. • Ensure that the dimension of the bottom measurement exceeds the dimension of the top measurement.
    • Verify that the camber dimensions of the right wheel do not vary by more than 2.4 mm (0.0938 in) from the camber dimensions of the left wheel.
    •  If the final camber measurement is incorrect, then either the steering knuckle or the axle center is bent.
    • In order to determine which part is bent, inspect the king pin inclination. Add the camber plus the king pin inclination dimensions. This measurement is the included angle of the steering knuckle.
    • If the included angle of the steering knuckle varies from specifications by more than 0.5 degrees, the knuckle is bent. Replace the steering knuckle.
    • If the included angle of each knuckle end is within the specifications, but the final camber is incorrect, the axle center is bent. Replace the front axle.