GM Service Manual Online
For 1990-2009 cars only
Connector 1: X100 Chassis Harness to Engine Chassis Harness
Connector 2: X101 I/P Harness to Engine Chassis Harness
Connector 3: X103 Engine Harness to Exhaust Harness (LF8)
Connector 4: X103 Engine Harness to Exhaust Harness (LMM)
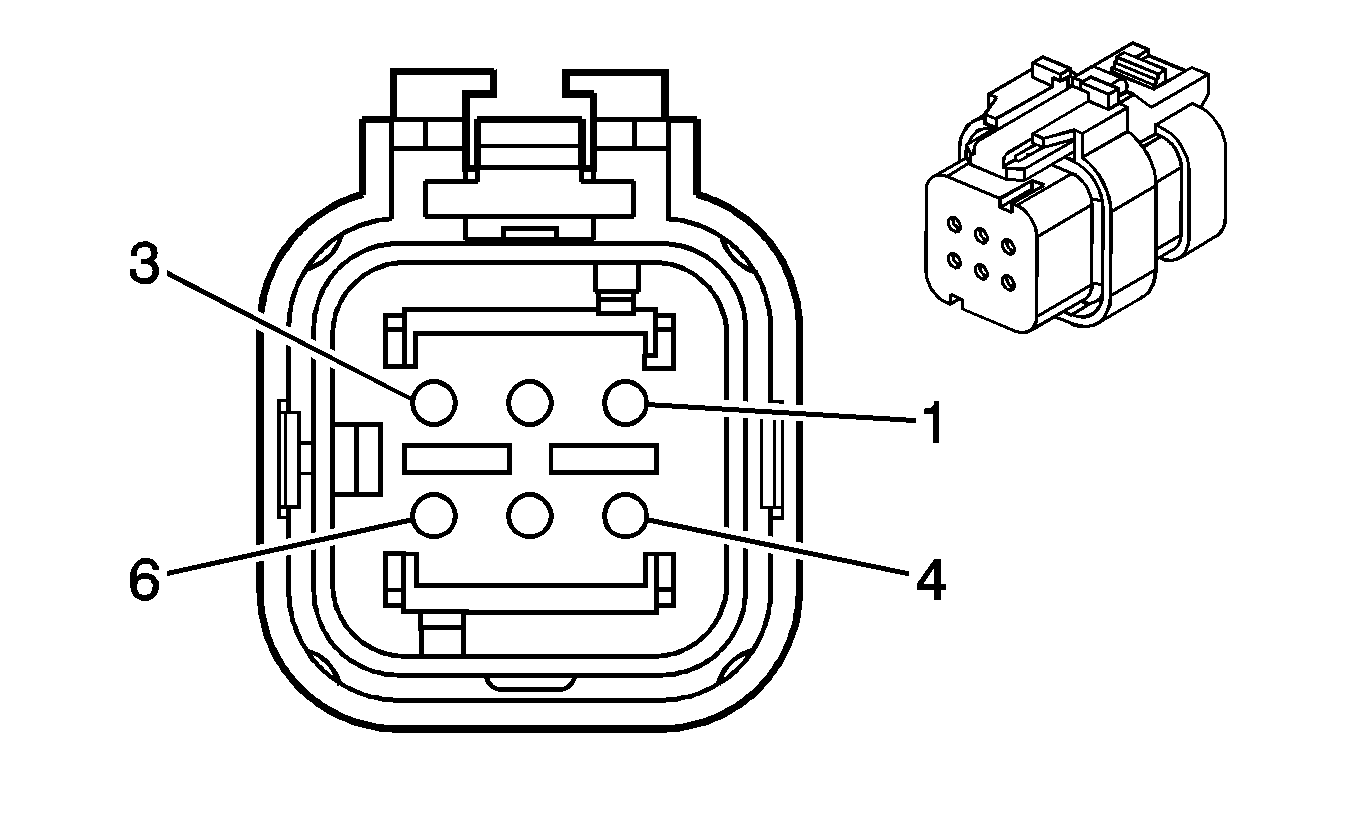
Connector 5: X105 Engine Harness to A/C Harness (LF6/LF8)
Connector 6: X105 Engine Harness to A/C Harness (L18)
Connector 7: X105 Engine Harness to A/C Harness (LMM)
Connector 8: X106 Radiator Harness to Chassis Harness (C6/C7/C8)
Connector 9: X106 Radiator Harness to Chassis Harness (C4/C5)
Connector 10: X107 Chassis Harness to Forward Lamp Harness - Left
Connector 11: X108 Chassis Harness to Forward Lamp Harness - Right
Connector 12: X109 I/P Harness to Engine Chassis Harness (LF6/LF8)
Connector 13: X110 Engine Chassis Harness to Ignition Coil Harness - Bank 1 (L18)
Connector 14: X111 Engine Chassis Harness to Ignition Coil Harness - Bank 2 (L18)
Connector 15: X112 Engine Chassis Harness to Fuel Injector Harness (L18)
Connector 16: X113 Engine Jumper Harness to Engine Harness (LMM)
Connector 17: X114 Engine Chassis Harness to Battery Isolator Harness (VNF)
Connector 18: X115 Engine Chassis Harness to Engine Chassis Harness (LF6)
Connector 19: X116 Starter Harness to Engine Chassis Harness (LF6/KQR)
Connector 20: X117 Engine Chassis Harness to Starter Harness (LF6/KQR)
Connector 21: X118 Engine Chassis Harness to Engine Harness (LMM)
Connector 22: X119 Engine Chassis Harness to Engine Harness (LMM)
Connector 23: X120 Engine Harness to Engine Chassis Harness (LF6)
Connector 24: X121 Engine Chassis Harness to Upfitter Supplied Harness (Upfitter PTO Connector) (LF6)
Connector 25: X121 Engine Chassis Harness to Upfitter Supplied Harness (Upfitter PTO Connector) (w/o LF6)
Connector 26: X122 Engine Harness to Fuel Injector Harness Connector Adapter 1 to Injector Harness 1 (LF8)
Connector 27: X123 Engine Harness to Fuel Injector Harness Connector Adapter 2 to Injector Harness 2 (LF8)
Connector 28: X124 I/P Harness to Engine Chassis Harness (L18)
Connector 29: X124 I/P Harness to Engine Chassis Harness (LMM)
Connector 30: X125 Engine Chassis Harness to Engine Harness (LF8)
Connector 31: X126 Chassis Harness to I/P Harness
Connector 32: X127 Engine Chassis Harness to Remote Power Take-Off (PTO) (LF8)
Connector 33: X128 I/P Harness to Rear Chassis Harness
Connector 34: X129 Engine Chassis Harness to Engine Harness (LF8)
Connector 35: X133 Fuel Pressure Regulator Harness to Engine Harness (LMM)
Connector 36: X134 Fuel Rail Pressure (FRP) Sensor Harness to Engine Harness (LMM)
Connector 37: X136 Engine Chassis Harness to Engine Harness (LF6)
Connector 38: X137 Engine Chassis Harness to DPF Extension Harness (LF6)
Connector 39: X138 DPF Extension Harness to DPF Harness (LF6)
Connector 40: X140 Engine Harness to SRH Harness (LF6)
Connector 41: X147 Fuel Injector Harness to Engine Harness (LF6)
Connector 42: X150 Windshield Washer Harness to I/P Harness
Connector 43: X151 Chassis Harness to I/P Harness (AEL)
Connector 44: X175 Engine Chassis Harness to Internal Transmission Harness (LCT)
Connector 45: X175 Engine Chassis Harness to Internal Transmission Harness (MD)
Connector 46: X201 Steering Column Harness to I/P Harness
Connector 47: X202 I/P Switchbank Harness to I/P Harness
Connector 48: X203 I/P Harness to Body/Roof Harness
Connector 49: X204 Cross Body Harness to Body/Roof Harness (Crew Cab)
Connector 50: X205 I/P Harness to Body/Roof Harness (Crew Cab)
Connector 51: X206 I/P Harness to Body/Roof Harness (Crew Cab)
Connector 52: X207 I/P Harness to Cross Body Harness
Connector 53: X208 Cross Body Harness to Stop Lamp Switch Harness
Connector 54: X209 Body/Roof Harness to I/P Harness (Crew Cab)
Connector 55: X210 I/P Harness to Park Brake Harness (JE3/Hand Operated Park Brake)
Connector 56: X211 Door Harness - Driver to Cross Body Harness
Connector 57: X212 Door Harness - Passenger to Cross Body Harness
Connector 58: X213 Air Seat Jumper to I/P Harness (AEL)
Connector 59: X215 Mirror Harness to Door Harness - Driver
Connector 60: X216 Mirror Harness to Door Harness - Passenger
Connector 61: X217 Door Harness - Driver to Cross Body Harness
Connector 62: X218 I/P Harness to Air Temperature Actuator Jumper Harness
Connector 63: X275 Steering Column Harness to I/P Harness (AJ3/AK5)
Connector 64: X300 Transmission Harness to Engine Chassis Harness (Manual Transmission)
Connector 65: X301 Body/Roof Harness to Rear Door Harness - Left (Crew Cab)
Connector 66: X302 Body/Roof Harness to Rear Door Harness - Right (Crew Cab)
Connector 67: X304 I/P Harness to Front Trailer Harness (RQ2 and U86 or RQ3)
Connector 68: X305 Chassis Harness to Upfitter Supplied Harness
Connector 69: X315 Console Harness to Body/Roof Harness
Connector 70: X400 ABS Harness to Rear Chassis Harness (C6/C7 w/JE3)
Connector 71: X401 ABS Harness to Rear Chassis Harness (JE4)
Connector 72: X403 Rear Trailer Harness to Front Trailer Harness (U86)
Connector 73: X406 ABS Harness to Axle Harness (HPZ/HR1/HR2)
Connector 74: X408 Air Compressor Harness to Air Compressor (K16)
Connector 75: X409 Fuel Tank Harness to Rear Chassis Harness (C4/C5)
Connector 76: X409 Fuel Tank Harness to Rear Chassis Harness (C6/C7/C8)
Connector 77: X410 Chassis Harness to Air Compressor Harness (K16)
Connector 78: X411 Backup Alarm Harness to Rear Chassis Harness (UZF)
Connector 79: X412 Tail Lamp Harness to Rear Chassis Harness
Connector 80: X413 Tail Lamp Harness to Backup Alarm Harness (UZF)

X100 Chassis Harness to Engine Chassis Harness


Object Number: 730856  Size: CH

Object Number: 730855  Size: CH

Connector Part Information

  • OEM: 15355480
  • Service: 15355480
  • Description: 30-Way F Mixed Series Sealed (BK)

Connector Part Information

  • OEM: 15450272
  • Service: 89046785
  • Description: 30-Way M Mixed Series Sealed (BK)

Terminal Part Information

  • Pins: A1, D1
  • Terminal/Tray: 15304720/19
  • Core/Insulation Crimp: 4/5
  • Release Tool/Test Probe: 15315247/J-35616-4A (PU)
  • Pins: A2, A4, A5, D2, D3, D4
  • Terminal/Tray: 15305232/23
  • Core/Insulation Crimp: Pins: A2, A4, A5, D3, D4: F/3
  • Core/Insulation Crimp: Pins: D2: B/3
  • Release Tool/Test Probe: J-38125-11A/J-35616-42 (RD)
  • Pins: B3-B10, C1-C6, C8, C10
  • Terminal/Tray: 12191819/8
  • Core/Insulation Crimp: 2/A
  • Release Tool/Test Probe: 15315247/J-35616-2A (GY)

Terminal Part Information

  • Pins: A1
  • Terminal/Tray: 15304731/19Core/Insulation Crimp: C/5
  • Release Tool/Test Probe: 15315247/J-35616-5 (PU)
  • Pins: A5, D1
  • Terminal/Tray: 15304732/8Core/Insulation Crimp: A/5
  • Release Tool/Test Probe: 15315247/J-35616-5 (PU)
  • Pins: A2, A4, D2-D4
  • Terminal/Tray: 12064736/3Core/Insulation Crimp: Pins: A2, A4, D3, D4: F/3Core/Insulation Crimp: Pin: D2: B/3
  • Release Tool/Test Probe: 12094430/J-35616-43 (RD)
  • Pins: B3-B10, C1-C6, C8, C10
  • Terminal/Tray: 15326269/19
  • Core/Insulation Crimp: E/1
  • Release Tool/Test Probe: 15315247/J-35616-3 (GY)

X100 Chassis Harness to Engine Chassis Harness

Pin

Wire

Circuit

Function

Pin

Wire

Circuit

Function

A1

2.0 L-GN

24

Backup Lamp Supply Voltage

A1

0.8 L-GN

24

Backup Lamp Supply Voltage

A2

3.0 RD

1642

Battery Positive Voltage

A2

3.0 RD

1642

Battery Positive Voltage

A3

--

--

Not Used

A3

--

--

Not Used

A4

3.0 RD

42

Battery Positive Voltage

A4

3.0 RD

42

Battery Positive Voltage

A5

3.0 OG

1840

Battery Positive Voltage

A5

3.0 OG

1840

Battery Positive Voltage

B1-B2

--

--

Not Used

B1-B2

--

--

Not Used

B3

0.8 L-GN

1478

Coolant Level Switch Signal

B3

0.8 L-GN

1478

Coolant Level Switch Signal (LF6/LF8)

0.5 L-GN

1478

Coolant Level Switch Signal (L18/LMM)

B4

0.8 TN

1465

Fuel Pump Relay Control - Secondary

B4

0.5 TN

1465

Fuel Pump Relay Control - Secondary (L18)

B5

0.8 BK

250

Ground (JE4 w/o JVA)

B5

0.8 BK

250

Ground (C6/C7/C8)

B6

0.8 D-BU

1936

Fuel Level Sensor Signal - Secondary

B6

0.5 D-BU

1936

Fuel Level Sensor Signal - Secondary (L18/LMM)

0.8 D-BU

1936

Fuel Level Sensor Signal - Secondary (LF6/LF8)

B7

0.8 PU

1589

Fuel Level Sensor Signal - Primary

B7

0.8 PU

1589

Fuel Level Sensor Signal - Primary

B8

0.8 GY/BK

1467

Shift Motor Relay - Control

B8

0.8 GY/BK

1467

Shift Motor Relay - Control

B9

0.8 BK/WH

451

Ground

B9

0.8 BK/WH

451

Ground (LF6)

351

Ground (L18/LF8/LMM)

B10

1.0 D-GN

29

Horn Control

B10

1.0 D-GN

29

Horn Control

C1

1.0 BK/WH

351

Ground (C6/C7/C8)

C1

0.8 BK/WH

351

Ground (LF6 w/Automatic Transmission)

1.0 BK/WH

351

Ground (L18/LF8)

C2

0.8 YE/BK

1827

Vehicle Speed Signal

C2

0.8 D-GN/WH

817

Vehicle Speed Signal (LF6)

0.8 YE/BK

1827

Vehicle Speed Signal (w/o LF6)

C3

--

--

Not Used

C3

--

--

Not Used

C4

0.8 BK

470

Low Reference

C4

0.5 BK

470

Low Reference (w/LMM)

0.8 BK

470

Low Reference (w/o LMM)

C5

0.8 YE

2361

SAE J1939 Serial Data Bus+

C5

0.8 YE

2361

SAE J1939 Serial Data Bus+ (w/o LMM)

C6

0.8 D-GN

2362

SAE J1939 Serial Data Bus-

C6

0.8 D-GN

2362

SAE J1939 Serial Data Bus- (w/o LMM)

C7-C9

--

--

Not Used

C7

--

--

Not Used

C10

0.8 BK

250

Ground

C10

0.8 BK/WH

451

Ground (LF6)

0.8 BK

250

Ground (LF8)

D1

2.0 GY

120

Fuel Pump Supply Voltage

D1

2.0 GY

120

Fuel Pump Supply Voltage (L18/LMM)

D2

5.0 RD

2

Battery Positive Voltage

D2

5.0 RD

2

Battery Positive Voltage

D3

3.0 BK/WH

351

Ground (C4/C5)

D3

3.0 BK/WH

351

Ground (C4/C5)

D4

3.0 RD

442

Battery Positive Voltage

D4

3.0 RD

442

Battery Positive Voltage

D5

--

--

Not Used

D5

--

--

Not Used

X101 I/P Harness to Engine Chassis Harness


Object Number: 730856  Size: CH

Object Number: 730855  Size: CH

Connector Part Information

  • OEM: 15355480
  • Service: 15355480
  • Description: 30-Way F GT Mixed Series Sealed (BK)

Connector Part Information

  • OEM: 15450272
  • Service: 89046785
  • Description: 30-Way M GT Mixed Series Sealed (BK)

Terminal Part Information

  • Pins: A1, A5, D1, D5
  • Terminal/Tray: 15304719/19
  • Core/Insulation Crimp: Pin A1: E/5
  • Core/Insulation Crimp: Pins A5, D1, D5: 2/5
  • Release Tool/Test Probe: 15315247/J-35616-4A (PU)
  • Pins: A2-A4, D-D4
  • Terminal/Tray: 15305232/23
  • Core/Insulation Crimp: Pins: A2, A4, D3: See Terminal Repair Kit
  • Core/Insulation Crimp: Pins: A3: B/3
  • Core/Insulation Crimp: Pins: D4: F/3
  • Release Tool/Test Probe: J-38125-11A/J-35616-42 (RD)
  • Pins: B1-B10, C4-C10
  • Terminal/Tray: 12191819/8
  • Core/Insulation Crimp: Pins: B1-B2, B4-B9, C4, C6, C9-C10: E/A
  • Core/Insulation Crimp: Pins: B3, B10, C5, C7: 2/A
  • Release Tool/Test Probe: 15315247/J-35616-2A (GY)

Terminal Part Information

  • Pins: A1, A5, D1, D5
  • Terminal/Tray: 15304731/19
  • Core/Insulation Crimp: E/5
  • Release Tool/Test Probe: 15315247/J-35616-5 (PU)
  • Pins: All Others: See Terminal Repair Kit
  • Terminal/Tray: See Terminal Repair Kit
  • Core/Insulation Crimp: E/5
  • Release Tool/Test Probe: See Terminal Repair Kit

X101 I/P Harness to Engine Chassis Harness

Pin

Wire

Circuit

Function

Pin

Wire

Circuit

Function

A1

0.5 PK

639

Ignition 1 Voltage (w/o LF6)

A1

0.8 PK

639

Ignition 1 Voltage (w/o LF6)

A2

0.5

440

Battery Positive Voltage (JE4) (L18/LF6)

A2

0.8 RD/WH

440

Battery Positive Voltage (JE4) (L18/LF6)

1.0 RD/WH

440

Battery Positive Voltage (JE4) (LF8)

1.0 RD/WH

440

Battery Positive Voltage (JE4) (LF8)

A3

5.0 RD

242

Battery Positive Voltage

A3

5.0 RD

242

Battery Positive Voltage

A4

0.8 PK

439

Ignition 1 Voltage

A4

0.8 PK

439

Ignition 1 Voltage

A5

0.5 PK

239

Ignition 1 Voltage (LMM)

A5

0.8 PK

239

Ignition 1 Voltage (LMM)

0.5 D-BU

507

Wait to Start Indicator Control (LF8)

0.5 D-BU

507

Wait to Start Indicator Control (LF8)

B1

0.5 BN/WH

419

MIL Control

B1

0.5 BN/WH

419

MIL Control

B2

0.5 D-GN

1433

PNP/Clutch Start Switch Signal (Manual Transmission)

B2

0.8 D-GN

1433

PNP/Clutch Start Switch Signal (Manual Transmission)

B3

0.8 L-GN

66

A/C Request Signal

B3

0.8 L-GN

66

A/C Request Signal

B4

0.5 D-BU

84

Cruise Control Set/Coast Switch Signal

B4

0.8 D-BU

84

Cruise Control Set/Coast Switch Signal

B5

0.5 GY/BK

87

Cruise Control Resume/Accel Switch Signal

B5

0.8 GY/BK

87

Cruise Control Resume/Accel Switch Signal

B6

0.5 BN/WH

379

CPP Switch Signal (C6/C7/C8)

B6

0.8 BN/WH

379

CPP Switch Signal (Manual Transmission)

B7

0.5 L-BU

1320

Stop Lamp Supply Voltage

B7

0.5 L-BU

1320

Stop Lamp Supply Voltage (L18/LMM)

0.8 L-BU

1320

Stop Lamp Supply Voltage (LF6/LF8)

B8

0.5 BN

25

Charge Indicator Control (LF6/LF8)

B8

0.8 BN

25

Charge Indicator Control (LF6/LF8)

0.5 PU

420

TCC Brake Switch/Cruise Control Release Signal (L18/LMM)

0.5 PU

420

TCC Brake Switch/Cruise Control Release Signal (L18/LMM)

B9

0.5 GY

397

Cruise Control On Switch Signal

B9

0.5 GY

397

Cruise Control On Switch Signal (L18/LMM)

0.8 GY

397

Cruise Control On Switch Signal (LF8)

B10

0.5 PK

239

Ignition 1 Voltage (w/o LF8)

B10

0.8 PK

239

Ignition 1 Voltage

0.8 PK

239

Ignition 1 Voltage (LF8)

C1

0.5 GY/BK

1467

Air Shift Switch Signal (L18)

C1

0.8 GY/BK

1467

Air Shift Switch Signal (L18)

C2

0.8 BN

441

Ignition 3 Voltage (L18/LMM)

C2

0.8 BN

441

Ignition 3 Voltage (L18/LMM)

C3

0.5 D-BU

507

Wait to Start Indicator Control (LMM)

C3

0.5 D-BU

507

Wait to Start Indicator Control (LMM)

0.8 TN/WH

6105

High Speed GMLAN Serial Data (+) (LF6/LF8)

0.8 D-BU

6105

High Speed GMLAN Serial Data (+) (LF6/LF8)

C4

0.5 PK

1020

Ignition 0 Voltage (Automatic Transmission)

C4

0.8 PK

1020

Ignition 0 Voltage (Automatic Transmission)

C5

0.5 PU

806

Crank Voltage (w/o LF6)

C5

0.8 PU

806

Crank Voltage (w/o LF6)

0.8 BK/WH

451

Ground (LF6)

0.8 BK/WH

451

Ground (LF6)

C6

0.5 YE

2470

Class 2 Serial Data (LCT) (w/o LF6)

C6

0.8 YE

2470

Class 2 Serial Data (LCT)

0.8 YE

2470

Class 2 Serial Data (LCT) (LF6)

C7

0.8 BK/WH

1962

Engine Exhaust Brake Actuator Control Valve Supply Voltage (K40)

C7

0.8 BK/WH

1962

Engine Exhaust Brake Actuator Control Valve Supply Voltage (K40)

C8

0.5 D-GN

1049

ECM/PCM/VCM Class 2 Serial Data (w/o LF6)

C8

0.5 D-GN

1049

ECM/PCM/VCM Class 2 Serial Data (L18/LMM)

0.8 D-GN

1049

ECM/PCM/VCM Class 2 Serial Data (LF8)

C9

0.8 BK

28

Horn Relay Control

C9

0.8 BK

28

Horn Relay Control

C10

0.5 PU

420

TCC Brake Switch/Cruise Control Release Signal (LF8)

C10

0.8 PU

420

TCC Brake Switch/Cruise Control Release Signal (LF8)

1.0 BN

641

Ignition 3 Voltage (L18/LMM)

1.0 BN

641

Ignition 3 Voltage (L18/LMM)

0.5 BK

750

Ground (PTO Lamp Status) (LF6)

0.8 BK

750

Ground (PTO Lamp Status) (LF6)

D1

0.5 D-GN/WH

817

Vehicle Speed Signal

D1

0.8 D-GN/WH

817

Vehicle Speed Signal (LF6/LF8)

0.5 D-GN/WH

817

Vehicle Speed Signal (L18/LMM)

D2

0.8 TN

6106

High Speed GMLAN Serial Data (-)

D2

0.5 TN

6106

High Speed GMLAN Serial Data (-) (LMM)

0.8 TN

6106

High Speed GMLAN Serial Data (-) (w/o LMM)

D3

0.8 PK

139

Ignition 1 Voltage

D3

0.8 PK

139

Ignition 1 Voltage

D4

0.8 TN/WH

6105

High Speed GMLAN Serial Data (+) (L18/LMM)

D4

0.5 TN/WH

6105

High Speed GMLAN Serial Data (+) (LMM)

0.8 TN/WH

6105

High Speed GMLAN Serial Data (+) (L18)

3.0 RD

1642

Battery Positive Voltage (LF6/LF8)

3.0 RD

1642

Battery Positive Voltage (LF6/LF8)

D5

0.5 L-GN

2081

Exhaust Brake Request Signal (K40)

D5

0.8 L-GN

2081

Exhaust Brake Request Signal (K40)

3.0 RD

1642

Battery Positive Voltage (L18)

3.0 RD

1642

Battery Positive Voltage (L18)

X103 Engine Harness to Exhaust Harness (LF8)


Object Number: 646400  Size: CH

Object Number: 684916  Size: CH

Connector Part Information

  • OEM: 15326835
  • Service: 88986452
  • Description: 8-Way F GT 150 Series Sealed (BK)

Connector Part Information

  • OEM: 15326840
  • Service: See Catalog
  • Description: 8-Way M GT 150 Series Sealed (BK)

Terminal Part Information

  • Terminal/Tray: 15326427/5
  • Core/Insulation Crimp: 2/A
  • Release Tool/Test Probe: 15315247/J-35616-2A (GY)

Terminal Part Information

  • Terminal/Tray: 15373403/5
  • Core/Insulation Crimp: E/1
  • Release Tool/Test Probe: 15315247/J-35616-3 (GY)

X103 Engine Harness to Exhaust Harness (LF8)

Pin

Wire

Circuit

Function

Pin

Wire

Circuit

Function

A

0.8 L-BU

5377

Exhaust Gas Temperature Sensor (2)

A

0.8 L-BU

5377

Exhaust Gas Temperature Sensor (2)

B

0.8 D-BU

5277

Exhaust Gas Temperature Sensor (1)

B

0.8 D-BU

5277

Exhaust Gas Temperature Sensor (1)

C

0.8 BK

470

Low Reference

C

0.8 BK

470

Low Reference

D

--

--

Not Used

D

--

--

Not Used

E

0.8 GY

705

5-Volt Reference

E

0.8 GY

705

5-Volt Reference

F

0.8 PU

950

DPF Pressure Sensor Signal

F

0.8 PU

950

DPF Pressure Sensor Signal

G

0.8 BK

407

Low Reference

G

0.8 BK

407

Low Reference

H

--

--

Not Used

H

--

--

Not Used

X103 Engine Harness to Exhaust Harness (LMM)


Object Number: 646400  Size: CH

Object Number: 684916  Size: CH

Connector Part Information

  • OEM: 15326835
  • Service: 88986452
  • Description: 8-Way F GT 150 Series Sealed (BK)

Connector Part Information

  • OEM: 15326840
  • Service: See Catalog
  • Description: 8-Way M GT 150 Series Sealed (BK)

Terminal Part Information

  • Terminal/Tray: 12191819/8
  • Core/Insulation Crimp: 2/A
  • Release Tool/Test Probe: 15315247/J-35616-2A (GY)

Terminal Part Information

  • Terminal/Tray: 15373403/5
  • Core/Insulation Crimp: E/1
  • Release Tool/Test Probe: 15315247/J-35616-3 (GY)

X103 Engine Harness to Exhaust Harness (LMM)

Pin

Wire

Circuit

Function

Pin

Wire

Circuit

Function

A

0.8 BN/WH

6783

Exhaust Gas Temperature Sensor (2) Low Ref.

A

0.8 GY/BK

6290

Exhaust Gas Temperature Sensor (2) Low Ref.

B

0.8 L-BU

5377

Exhaust Gas Temperature Sensor (2)

B

0.8 L-BU

5377

Exhaust Gas Temperature Sensor (2)

C

0.8 BN

6782

Exhaust Gas Temperature Sensor (1) Low Ref.

C

0.8 BN

6274

Exhaust Gas Temperature Sensor (1) Low Ref.

D

0.8 D-BU

5277

Exhaust Gas Temperature Sensor (1)

D

0.8 D-BU

459

Exhaust Gas Temperature Sensor (1)

E

0.8 D-BU/WH

6053

Exhaust Pressure Sensor Signal (1)

E

0.8 D-BU/WH

6053

Exhaust Pressure Sensor Signal (1)

F

0.8 YE/BK

6055

Exhaust Pressure Sensor (1) Low Ref.

F

0.8 YE/BK

6055

Exhaust Pressure Sensor (1) Low Ref.

G

0.8 BN/WH

6136

Supply Voltage

G

0.8 BN/WH

6136

Supply Voltage

H

--

--

Not Used

H

--

--

Not Used

X105 Engine Harness to A/C Harness (LF6/LF8)


Object Number: 646430  Size: CH

Object Number: 806431  Size: CH

Connector Part Information

  • OEM: 15326815
  • Service: 15326815
  • Description: 4-Way F GT 150 Series, Sealed (BK)

Connector Part Information

  • OEM: 15326820
  • Service: 15326820
  • Description: 4-Way M GT 150 Series, Sealed (BK)

Terminal Part Information

  • Terminal/Tray: 12191819/8
  • Core/Insulation Crimp: 2/A
  • Release Tool/Test Probe: 15315247/J-35616-2A (GY)

Terminal Part Information

  • Terminal/Tray: 15326269/19
  • Core/Insulation Crimp: E/1
  • Release Tool/Test Probe: 15315247/J-35616-3 (GY)

X105 Engine Harness to A/C Harness (LF6/LF8)

Pin

Wire

Circuit

Function

Pin

Wire

Circuit

Function

A

0.8 L-GN

66

A/C Request Signal

A

0.8 L-GN

66

A/C Request Signal (LF6)

1.0 L-GN

66

A/C Request Signal (LF8)

B

0.8 OG

1240

Battery Positive Voltage

B

0.8 OG

1240

Battery Positive Voltage

C

0.8 BK

250

Ground

C

0.8 BK

250

Ground

D

1.0 D-GN/WH

459

A/C Compressor Clutch Relay Control

D

1.0 D-GN/WH

459

A/C Compressor Clutch Relay Control

X105 Engine Harness to A/C Harness (L18)


Object Number: 646400  Size: CH

Object Number: 684916  Size: CH

Connector Part Information

  • OEM: 15326835
  • Service: 88986452
  • Description: 8-Way F GT 150 Series Sealed (BK)

Connector Part Information

  • OEM: 15326840
  • Service: See Catalog
  • Description: 8-Way M GT 150 Series Sealed (BK)

Terminal Part Information

  • Terminal/Tray: 12191819/8
  • Core/Insulation Crimp: Pins: A-B, E-G: 2/A
  • Core/Insulation Crimp: Pins: C, H: E/A
  • Release Tool/Test Probe: 15315247/J-35616-2A (GY)

Terminal Part Information

  • Terminal/Tray: 15326269/19
  • Core/Insulation Crimp: E/1
  • Release Tool/Test Probe: 15315247/J-35616-3 (GY)

X105 Engine Harness to A/C Harness (L18)

Pin

Wire

Circuit

Function

Pin

Wire

Circuit

Function

A

0.8 D-GN/WH

762

A/C Request Signal

A

0.8 D-GN/WH

762

A/C Request Signal (C6/C7/C8)

1.0 D-GN/WH

762

A/C Request Signal (C4/C5)

B

0.8 OG

1240

Battery Positive Voltage

B

0.8 OG

1240

Battery Positive Voltage

C

0.5 D-GN

603

A/C Low Pressure Switch Signal

C

0.8 D-GN

603

A/C Low Pressure Switch Signal

D

--

--

Not Used

D

--

--

Not Used

E

0.8 BN

441

Ignition 3 Voltage

E

0.8 BN

441

Ignition 3 Voltage

F

0.8 L-GN

66

A/C Request Signal

F

0.8 L-GN

66

A/C Request Signal (C6/C7/C8)

1.0 L-GN

66

A/C Request Signal (C4/C5)

G

0.8 BK

250

Ground

G

0.8 BK

250

Ground

H

0.5 D-GN/WH

459

A/C Compressor Clutch Relay Control

H

0.8 D-GN/WH

459

A/C Compressor Clutch Relay Control

X105 Engine Harness to A/C Harness (LMM)


Object Number: 831373  Size: CH

Object Number: 831374  Size: CH

Connector Part Information

  • OEM: 15326856
  • Service: See Catalog
  • Description: 14-Way F GT 150 Series Sealed (BK)

Connector Part Information

  • OEM: 15326861
  • Service: 88986246
  • Description: 14-Way M GT 150 Series Sealed (BK)

Terminal Part Information

  • Terminal/Tray: 12191819/8
  • Core/Insulation Crimp: Pins: A-B, E-G, J-N: 2/A
  • Core/Insulation Crimp: Pins: C, H: E/A
  • Release Tool/Test Probe: 15315247/J-35616-2A (GY)

Terminal Part Information

  • Terminal/Tray: 15326269/19
  • Core/Insulation Crimp: E/1
  • Release Tool/Test Probe: 15315247/J-35616-3 (GY)

X105 Engine Harness to A/C Harness (LMM)

Pin

Wire

Circuit

Function

Pin

Wire

Circuit

Function

A

0.8 D-GN/WH

2523

A/C Request Signal

A

0.8 D-GN/WH

2523

A/C Request Signal

B

0.8 OG

1240

Battery Positive Voltage

B

0.8 OG

1240

Battery Positive Voltage

C

0.5 D-GN

603

A/C Low Pressure Switch Signal

C

0.8 D-GN

603

A/C Low Pressure Switch Signal

D

--

--

Not Used

D

--

--

Not Used

E

0.8 BN

441

Ignition 3 Voltage

E

0.8 BN

441

Ignition 3 Voltage

F

0.8 L-GN

66

A/C Request Signal

F

0.8 L-GN

66

A/C Request Signal

G

0.8 BK

250

Ground

G

0.8 BK

250

Ground

H

0.5 D-GN/WH

459

A/C Compressor Clutch Relay Control

H

0.8 D-GN/WH

459

A/C Compressor Clutch Relay Control

J

0.8 WH

2368

Cooling Fan Clutch Supply Voltage

J

0.8 WH

2368

Cooling Fan Clutch Supply Voltage

K

0.8 BK

250

Ground

K

0.8 BK

250

Ground

L

0.8 BN/WH

6141

Low Reference

L

0.8 BN/WH

6141

Low Reference

M

0.8 D-BU

2364

Cooling Fan Speed Signal

M

0.8 D-BU

2364

Cooling Fan Speed Signal

N

0.8 GY

2365

5-Volt Reference 1

N

0.8 GY

2365

5-Volt Reference 1

P

--

--

Not Used

P

--

--

Not Used

X106 Radiator Harness to Chassis Harness (C6/C7/C8)


Object Number: 872520  Size: CH

Object Number: 872522  Size: CH

Connector Part Information

  • OEM: 15326910
  • Service: 88986268
  • Description: 12-Way F GT 280, Sealed (BK)

Connector Part Information

  • OEM: 15326915
  • Service: 88986269
  • Description: 12-Way M GT 280, Sealed (BK)

Terminal Part Information

  • Terminal/Tray: See Terminal Repair Kit
  • Core/Insulation Crimp: See Terminal Repair Kit
  • Release Tool/Test Probe: See Terminal Repair Kit

Terminal Part Information

  • Pins: A, F-L
  • Terminal/Tray: 15304731/19
  • Core/Insulation Crimp: Pins: A, F: 2/5
  • Core/Insulation Crimp: Pins: G-L: C/5
  • Release Tool/Test Probe: 15315247/J-35616-5 (PU)
  • Pins: B-E, M
  • Terminal/Tray: See Terminal Repair Kit
  • Core/Insulation Crimp: See Terminal Repair Kit
  • Release Tool/Test Probe: See Terminal Repair Kit

X106 Radiator Harness to Chassis Harness (C6/C7/C8)

Pin

Wire

Circuit

Function

Pin

Wire

Circuit

Function

A

1.0 BK

350

Ground

A

1.0 BK

350

Ground

B-E

--

--

Not Used

B-E

--

--

Not Used

F

1.0 BN

141

Ignition 3 Voltage

F

1.0 BN

141

Ignition 3 Voltage

G

0.8 BK/WH

351

Ground

G

0.8 BK/WH

351

Ground

H

0.8 TN/WH

585

Transmission Oil Temperature Sensor Signal

H

0.8 TN/WH

585

Transmission Oil Temperature Sensor Signal

J

0.8 BK/WH

451

Ground

J

0.8 BK/WH

451

Ground

K

--

--

Not Used

K

--

--

Not Used

L

0.8 L-GN

1478

Coolant Level Switch Signal

L

0.8 L-GN

1478

Coolant Level Switch Signal

M

--

--

Not Used

M

--

--

Not Used

X106 Radiator Harness to Chassis Harness (C4/C5)


Object Number: 872518  Size: CH

Object Number: 872519  Size: CH

Connector Part Information

  • OEM: 15326636
  • Service: See Catalog
  • Description: 6-Way F GT 280 Series Sealed (BK)

Connector Part Information

  • OEM: 15326640
  • Service: 88953150
  • Description: 6-Way M GT 280 Series Sealed (BK)

Terminal Part Information

  • Terminal/Tray: See Terminal Repair Kit
  • Core/Insulation Crimp: See Terminal Repair Kit
  • Release Tool/Test Probe: See Terminal Repair Kit

Terminal Part Information

  • Terminal/Tray: 15304731/19
  • Core/Insulation Crimp: Pins: A-B, D: 2/5
  • Core/Insulation Crimp: Pins: C, E-F: C/5
  • Release Tool/Test Probe: 15315247/J-35616-5 (PU)

X106 Radiator Harness to Chassis Harness (C4/C5)

Pin

Wire

Circuit

Function

Pin

Wire

Circuit

Function

A

1.0 BK

350

Ground

A

1.0 BK

350

Ground

B

1.0 BN

141

Ignition 3 Voltage

B

1.0 BN

141

Ignition 3 Voltage

C

0.8 BK/WH

351

Ground

C

0.8 BK/WH

351

Ground

D

1.0 TN/WH

585

Transmission Oil Temperature Sensor Signal

D

1.0 TN/WH

585

Transmission Oil Temperature Sensor Signal

E

0.8 BK/WH

451

Ground

E

0.8 BK/WH

451

Ground

F

0.8 L-GN

1478

Coolant Level Switch Signal

F

0.8 L-GN

1478

Coolant Level Switch Signal

X107 Chassis Harness to Forward Lamp Harness - Left


Object Number: 646412  Size: CH

Object Number: 893439  Size: CH

Connector Part Information

  • OEM: 13521463
  • Service: 15306395
  • Description: 5-Way F GT 280 Series Sealed (BK)

Connector Part Information

  • OEM: 15326647
  • Service: 88953360
  • Description: 5-Way M GT 280 Series Sealed (BK)

Terminal Part Information

  • Pins: A-B, D-E
  • Terminal/Tray: 15304719/19
  • Core/Insulation Crimp: 2/5
  • Release Tool/Test Probe: 15315247/J-35616-4A (PU)
  • Pins: C
  • Terminal/Tray: 15304720/19
  • Core/Insulation Crimp: 4/5
  • Release Tool/Test Probe: 15315247/J-35616-4A (PU)

Terminal Part Information

  • Terminal/Tray: See Terminal Repair Kit
  • Core/Insulation Crimp: See Terminal Repair Kit
  • Release Tool/Test Probe: See Terminal Repair Kit

X107 Chassis Harness to Forward Lamp Harness - Left

Pin

Wire

Circuit

Function

Pin

Wire

Circuit

Function

A

1.0 L-GN

11

Headlamp High Beam Supply Voltage

A

1.0 L-GN

11

Headlamp High Beam Supply Voltage

B

1.0 TN

12

Headlamp Low Beam Supply Voltage

B

1.0 TN

12

Headlamp Low Beam Supply Voltage

C

2.0 BK

350

Ground

C

2.0 BK

350

Ground

D

1.0 L-BU

14

Left Turn Signal Lamps Supply Voltage

D

1.0 L-BU

14

Left Turn Signal Lamps Supply Voltage

E

1.0 BN

2509

Left Rear Park Lamps Supply Voltage

E

1.0 BN

2509

Left Rear Park Lamps Supply Voltage

X108 Chassis Harness to Forward Lamp Harness - Right


Object Number: 646412  Size: CH

Object Number: 893439  Size: CH

Connector Part Information

  • OEM: 13521463
  • Service: 15306395
  • Description: 5-Way F GT 280 Series Sealed (BK)

Connector Part Information

  • OEM: 15326647
  • Service: 88953360
  • Description: 5-Way M GT 280 Series Sealed (BK)

Terminal Part Information

  • Pins: A-B, D-E
  • Terminal/Tray: 15304719/19
  • Core/Insulation Crimp: 2/5
  • Release Tool/Test Probe: 15315247/J-35616-4A (PU)
  • Pins: C
  • Terminal/Tray: 15304720/19
  • Core/Insulation Crimp: 4/5
  • Release Tool/Test Probe: 15315247/J-35616-4A (PU)

Terminal Part Information

  • Terminal/Tray: See Terminal Repair Kit
  • Core/Insulation Crimp: See Terminal Repair Kit
  • Release Tool/Test Probe: See Terminal Repair Kit

X108 Chassis Harness to Forward Lamp Harness - Right

Pin

Wire

Circuit

Function

Pin

Wire

Circuit

Function

A

1.0 L-GN

11

Headlamp High Beam Supply Voltage

A

1.0 L-GN

11

Headlamp High Beam Supply Voltage

B

1.0 TN

12

Headlamp Low Beam Supply Voltage

B

1.0 TN

12

Headlamp Low Beam Supply Voltage

C

2.0 BK

350

Ground

C

2.0 BK

350

Ground

D

1.0 D-BU

15

Right Turn Signal Lamps Supply Voltage

D

1.0 L-BU

15

Right Turn Signal Lamps Supply Voltage

E

1.0 BN/WH

2609

Park Lamps Supply Voltage

E

1.0 BN

2609

Park Lamps Supply Voltage

X109 I/P Harness to Engine Chassis Harness (LF6/LF8)


Object Number: 872523  Size: CH

Object Number: 872524  Size: CH

Connector Part Information

  • OEM: 15392711
  • Service: 15392711
  • Description: 40-Way F Sealed (BU)

Connector Part Information

  • OEM: 15392709
  • Service: 15392709
  • Description: 40-Way M Sealed (BU)

Terminal Part Information

  • Pins: A8 (LF8), B1, B3 (LF8), B10-B11, C10-C11
  • Terminal/Tray: 15326269/19
  • Core/Insulation Crimp: 2/A
  • Release Tool/Test Probe: 15315247/J-35616-3 (GY)
  • Pins: A8 (LF6), B2, B3 (LF6), B8-B9, B12, C2-C5, C8-C9, C12, D1-D3, D6-D8
  • Terminal/Tray: 15326269/19
  • Core/Insulation Crimp: E/1
  • Release Tool/Test Probe: 15315247/J-35616-3 (GY)
  • Pins: A4
  • Terminal/Tray: 15304716/8
  • Core/Insulation Crimp: 2/1
  • Release Tool/Test Probe: 15315247/J-35616-4A (PU)
  • Pins: C6, D4-D5
  • Terminal/Tray: 15304716/8
  • Core/Insulation Crimp: E/1
  • Release Tool/Test Probe: 15315247/J-35616-4A (PU)
  • Pin: C7
  • Terminal/Tray: 15304717/8
  • Core/Insulation Crimp: Pins: 4/1
  • Release Tool/Test Probe: 15315247/J-35616-4A (PU)

Terminal Part Information

  • Pins: A1, A7-A8, B1-B3, B8-B12, C2-C5, C8-C12, D1-D3, D6-D8
  • Terminal/Tray: 15326269/19
  • Core/Insulation Crimp: E/1
  • Release Tool/Test Probe: 15315247/J-35616-3 (GY)
  • Pin: A4
  • Terminal/Tray: 15304728/8
  • Core/Insulation Crimp: E/1
  • Release Tool/Test Probe: 15315247/J-35616-5 (PU)
  • Pins: C6, D4-D5
  • Terminal/Tray: 15304728/8
  • Core/Insulation Crimp: 2/1
  • Release Tool/Test Probe: 15315247/J-35616-5 (PU)
  • Pin: C7
  • Terminal/Tray: 15304729/8
  • Core/Insulation Crimp: Pins: C/1
  • Release Tool/Test Probe: 15315247/J-35616-5 (PU)

X109 I/P Harness to Engine Chassis Harness (LF6/LF8)

Pin

Wire

Circuit

Function

Pin

Wire

Circuit

Function

A1

0.8 D-GN

1373

Transmission Shift Selector Mode Signal

A1

0.8 D-GN

1373

Transmission Shift Selector Mode Signal (MD)

A2-A3

--

--

Not Used

A2-A3

--

--

Not Used

A4

0.8 OG

440

Battery Positive Voltage

A4

1.0 OG

440

Battery Positive Voltage (MD)

A5-A6

--

--

Not Used

A5-A6

--

--

Not Used

A7

0.5 L-BU

1134

Park Brake Switch Signal (LF6 +CTF)

A7

0.5 L-BU

1134

Park Brake Switch Signal (LF6 +CTF)

0.5 BK

750

Ground (LF8 +CTF)

0.5 BK

750

Ground (LF8 +CTF)

A8

0.5 D-BU

1161

APP Sensor 1 Signal (LF6)

A8

0.8 D-BU

1161

APP Sensor 1 Signal

0.8 D-BU

1161

APP Sensor 1 Signal (LF8)

B1

1.0 L-GN

488

PTO On Switch Signal (LF8)

B1

1.0 L-GN

488

PTO On Switch Signal (LF8)

B2

0.5 TN/BK

1921

SAE J1587 Serial Data Bus+ Primary (LF6)

B2

0.8 TN/BK

1921

SAE J1587 Serial Data Bus+ Primary (LF6)

B3

0.5 WH/BK

1164

5-Volt Reference 1 (LF6)

B3

0.8 WH/BK

1164

5-Volt Reference 1

0.8 WH/BK

1164

5-Volt Reference 1 (LF8)

B4-B7

--

--

Not Used

B4-B7

--

--

Not Used

B8

0.5 WH

121

Engine Speed Signal

B8

0.8 WH

121

Engine Speed Signal

B9

0.5 GY

1234

Do Not Shift Indicator Control (A/T)

B9

0.8 GY

1234

Do Not Shift Indicator Control (A/T)

B10

1.0 PK

539

Ignition 1 Voltage (LF8)

B10

1.0 PK

539

Ignition 1 Voltage (LF8)

B11

0.8 BN

86

Cruise Control Release Signal (LF6)

B11

0.8 BN

86

Cruise Control Release Signal (LF6)

B12

0.5 GY/BK

1467

Shift Motor Relay - Control

B12

0.8 GY/BK

1467

Shift Motor Relay - Control

C1

--

--

Not Used

C1

--

--

Not Used

C2

0.5 WH/BK

1922

SAE J1587 Serial Data Bus- Primary (LF6)

C2

0.8 WH/BK

1922

SAE J1587 Serial Data Bus- Primary (LF6)

C3

0.5 L-GN

488

PTO On Switch Signal

C3

0.8 L-GN

488

PTO On Switch Signal

C4

0.5 D-GN

534

High Idle Switch Signal

C4

0.8 D-GN

534

High Idle Switch Signal

C5

0.5 RD

2013

High Idle Indicator Control

C5

0.8 RD

2013

High Idle Indicator Control

C6

0.5 L-BU

1998

Intake Air Heater Indicator/Relay Control (LF6)

C6

0.8 L-BU

1998

Intake Air Heater Indicator/Relay Control (LF6)

C7

2.0 PU

1093

Rear Defog Element Supply Voltage

C7

2.0 PU

1093

Rear Defog Element Supply Voltage

C8

0.5 YE

2361

SAE J1939 Serial Data Bus+

C8

0.8 YE

2361

SAE J1939 Serial Data Bus+

C9

0.5 D-GN

2362

SAE J1939 Serial Data Bus-

C9

0.8 D-GN

2362

SAE J1939 Serial Data Bus-

C10

1.0 WH

2561

PTO Supply Voltage (LF8)

C10

1.0 WH

2561

PTO Supply Voltage (LF8)

C11

1.0 PU

2562

PTO Control (LF8)

C11

1.0 PU

2562

PTO Control (LF8)

C12

0.5 TN/WH

2678

Overdrive Defeat Switch Signal (LCT)

C12

0.8 TN/WH

2678

Overdrive Defeat Switch Signal (LCT)

D1

0.5 PU

806

Crank Voltage

D1

0.8 PU

806

Crank Voltage

D2

0.5 BN

1271

Low Reference (LF8)

D2

0.5 BN

1271

Low Reference (LF8)

D3

0.5 PU

1272

Low Reference (LF8)

D3

0.5 PU

1272

Low Reference (LF8)

D4

0.5 L-BU

1162

APP Sensor 2 Signal (LF8)

D4

0.5 L-BU

1162

APP Sensor 2 Signal (LF8)

D5

0.5 TN

1274

5-Volt Reference 2 (LF8)

D5

0.5 TN

1274

5-Volt Reference 2 (LF8)

D6

0.5 GY

1273

Low Reference (LF8)

D6

0.5 GY

1273

Low Reference (LF8)

D7

0.5 YE/BK

1275

5-Volt Reference 3 (LF8)

D7

0.5 YE/BK

1275

5-Volt Reference 3 (LF8)

D8

0.5 D-GN

1163

APP Sensor 3 Signal (LF8)

D8

0.5 D-GN

1163

APP Sensor 3 Signal (LF8)

X110 Engine Chassis Harness to Ignition Coil Harness - Bank 1 (L18)


Object Number: 684790  Size: CH

Object Number: 365940  Size: CH

Connector Part Information

  • OEM: 12047938
  • Service: 12102754
  • Description: 7-Way F Metri-Pack 150 Series Sealed (L-GY)

Connector Part Information

  • OEM: 12047933
  • Service: 12102490
  • Description: 7-Way M Metri-Pack 150 Series Sealed (L-GY)

Terminal Part Information

  • Terminal/Tray: 12048074/2
  • Core/Insulation Crimp: Pins: A: 2/1
  • Core/Insulation Crimp: Pins: B-H: E/1
  • Release Tool/Test Probe: 12094429/J-35616-2A (GY)

Terminal Part Information

  • Terminal/Tray: See Terminal Repair Kit
  • Core/Insulation Crimp: See Terminal Repair Kit
  • Release Tool/Test Probe: See Terminal Repair Kit

X110 Engine Chassis Harness to Ignition Coil Harness - Bank 1 (L18)

Pin

Wire

Circuit

Function

Pin

Wire

Circuit

Function

A

1.0 BK

250

Ground

A

1.0 BK

250

Ground

B

0.5 RD

2127

IC 7 Control

B

0.8 RD

2127

IC 7 Control

C

0.5 D-GN

2125

IC 5 Control

C

0.8 D-GN

2125

IC 5 Control

D

--

--

Not Available

D

--

--

Not Available

E

0.8 BN

2129

Low Reference

E

0.8 BN

2129

Low Reference

F

0.5 L-BU

2123

IC 3 Control

F

0.8 L-BU

2123

IC 3 Control

G

0.5 PU

2121

IC 1 Control

G

0.8 PU

2121

IC 1 Control

H

0.8 PK

539

Ignition 1 Voltage

H

1.0 PK

539

Ignition 1 Voltage

X111 Engine Chassis Harness to Ignition Coil Harness - Bank 2 (L18)


Object Number: 684790  Size: CH

Object Number: 365940  Size: CH

Connector Part Information

  • OEM: 12047938
  • Service: 12102754
  • Description: 7-Way F Metri-Pack 150 Series Sealed (L-GY)

Connector Part Information

  • OEM: 12047933
  • Service: 12102490
  • Description: 7-Way M Metri-Pack 150 Series Sealed (L-GY)

Terminal Part Information

  • Terminal/Tray: 12048074/2
  • Core/Insulation Crimp: Pins: A: 2/1
  • Core/Insulation Crimp: Pins: B-H: E/1
  • Release Tool/Test Probe: 12094429/J-35616-2A (GY)

Terminal Part Information

  • Terminal/Tray: See Terminal Repair Kit
  • Core/Insulation Crimp: See Terminal Repair Kit
  • Release Tool/Test Probe: See Terminal Repair Kit

X111 Engine Chassis Harness to Ignition Coil Harness - Bank 2 (L18)

Pin

Wire

Circuit

Function

Pin

Wire

Circuit

Function

A

1.0 BK

250

Ground

A

1.0 BK

250

Ground

B

0.5 RD/WH

2122

IC 2 Control

B

0.8 RD/WH

2122

IC 2 Control

C

0.5 D-GN/WH

2124

IC 4 Control

C

0.8 D-GN/WH

2124

IC 4 Control

D

--

--

Not Available

D

--

--

Not Available

E

0.8 BN/WH

2130

Low Reference

E

0.8 BN/WH

2130

Low Reference

F

0.5 L-BU/WH

2126

IC 6 Control

F

0.8 L-BU/WH

2126

IC 6 Control

G

0.5 PU/WH

2128

IC 8 Control

G

0.8 PU/WH

2128

IC 8 Control

H

0.8 PK

339

Ignition 1 Voltage

H

1.0 PK

339

Ignition 1 Voltage

X112 Engine Chassis Harness to Fuel Injector Harness (L18)


Object Number: 570216  Size: CH

Object Number: 258921  Size: CH

Connector Part Information

  • OEM: 12065425
  • Service: 12125676
  • Description: 10-Way F Metri-Pack 150 Series Sealed (BK)

Connector Part Information

  • OEM: 12045808
  • Service: 12117372
  • Description: 10-Way M Metri-Pack 150 Series Sealed (BK)

Terminal Part Information

  • Terminal/Tray: 12048074/2
  • Core/Insulation Crimp: E/1
  • Release Tool/Test Probe: 12094429/J-35616-2A (GY)

Terminal Part Information

  • Terminal/Tray: See Terminal Repair Kit
  • Core/Insulation Crimp: See Terminal Repair Kit
  • Release Tool/Test Probe: See Terminal Repair Kit

X112 Engine Chassis Harness to Fuel Injector Harness (L18)

Pin

Wire

Circuit

Function

Pin

Wire

Circuit

Function

A

0.5 BK

1744

Fuel Injector 1 Control

A

0.8 BK

1744

Fuel Injector 1 Control

B

0.5 D-BU/WH

878

Fuel Injector 8 Control

B

0.8 D-BU/WH

878

Fuel Injector 8 Control

C

0.5 L-BU/BK

844

Fuel Injector 4 Control

C

0.8 L-BU/BK

844

Fuel Injector 4 Control

D

0.5 PK/BK

1746

Fuel Injector 3 Control

D

0.8 PK/BK

1746

Fuel Injector 3 Control

E

0.5 YE/BK

846

Fuel Injector 6 Control

E

0.8 YE/BK

846

Fuel Injector 6 Control

F

0.5 BK/WH

845

Fuel Injector 5 Control

F

0.8 BK/WH

845

Fuel Injector 5 Control

G

0.5 RD/BK

877

Fuel Injector 7 Control

G

0.8 RD/BK

877

Fuel Injector 7 Control

H

0.5 L-GN/BK

1745

Fuel Injector 2 Control

H

0.8 L-GN/BK

1745

Fuel Injector 2 Control

J

0.8 PK

539

Ignition 1 Voltage

J

1.0 PK

539

Ignition 1 Voltage

K

0.8 PK

339

Ignition 1 Voltage

K

1.0 PK

339

Ignition 1 Voltage

X113 Engine Jumper Harness to Engine Harness (LMM)


Object Number: 1619748  Size: CH

Object Number: 1619749  Size: CH

Connector Part Information

  • OEM: NFMT-SBC-6F-L
  • Service: See Catalog
  • Description: 6-Way F Furukawa, Sealed (BK)

Connector Part Information

  • OEM: NFMT-SBC-6M-L
  • Service: See Catalog
  • Description: 6-Way M Furukawa, Sealed (BK)

Terminal Part Information

  • Terminal/Tray: See Terminal Repair Kit
  • Core/Insulation Crimp: See Terminal Repair Kit
  • Release Tool/Test Probe: See Terminal Repair Kit

Terminal Part Information

  • Terminal/Tray: See Terminal Repair Kit
  • Core/Insulation Crimp: See Terminal Repair Kit
  • Release Tool/Test Probe: See Terminal Repair Kit

X113 Engine Jumper Harness to Engine Harness (LMM)

Pin

Wire

Circuit

Function

Pin

Wire

Circuit

Function

1

0.5 PK/YE

HB03

Ground

1

0.75 RD

HB03

Ground

2

0.5 TN/WH

331

Oil Pressure Sensor Signal

2

0.5 TN/WH

IC66

Oil Pressure Sensor Signal

3

0.5 BN

1174

Oil Level Switch Signal

3

0.5 BN

1174

Oil Level Switch Signal

4

0.5 GY

2705

5-Volt Reference 2

4

0.5 GY

IC57

5-Volt Reference 2

5

0.5 BK

2755

Low Reference

5

0.5 BK

IC71

Low Reference

6

--

--

Not Used

6

--

--

Not Used

X114 Engine Chassis Harness to Battery Isolator Harness (VNF)


Object Number: 603213  Size: CH

Object Number: 873041  Size: CH

Connector Part Information

  • OEM: 15326679
  • Service: 15306196
  • Description: 2-Way F GT 280 Series Sealed (BK)

Connector Part Information

  • OEM: 15326678
  • Service: 88987860
  • Description: 2-Way M GT 280 Series Sealed (BK)

Terminal Part Information

  • Terminal/Tray: See Terminal Repair Kit
  • Core/Insulation Crimp: See Terminal Repair Kit
  • Release Tool/Test Probe: See Terminal Repair Kit

Terminal Part Information

  • Terminal/Tray: 15304731/19
  • Core/Insulation Crimp: 2/5
  • Release Tool/Test Probe: 15315247/J-35616-5 (PU)

X114 Engine Chassis Harness to Battery Isolator Harness (VNF)

Pin

Wire

Circuit

Function

Pin

Wire

Circuit

Function

A

1.0 BN

641

Ignition 3 Voltage

A

1.0 BN

641

Ignition 3 Voltage

B

--

--

Not Used

B

--

--

Not Used

X115 Engine Chassis Harness to Engine Chassis Harness (LF6)


Object Number: 696940  Size: CH

Object Number: 696937  Size: CH

Connector Part Information

  • OEM: 12065172
  • Service: See Catalog
  • Description: 1-Way F Metri-Pack 280 Series Sealed (BK)

Connector Part Information

  • OEM: 12065171
  • Service: 12085669
  • Description: 1-Way M Metri-Pack 280 Series Sealed (BK)

Terminal Part Information

  • Terminal/Tray: 12077411/2
  • Core/Insulation Crimp: 2/5
  • Release Tool/Test Probe: 12094430/J-35616-4A (PU)

Terminal Part Information

  • Terminal/Tray: 12048159/2
  • Core/Insulation Crimp: 2/5
  • Release Tool/Test Probe: 12094430/J-35616-5 (PU)

X115 Engine Chassis Harness to Engine Chassis Harness (LF6)

Pin

Wire

Circuit

Function

Pin

Wire

Circuit

Function

A

0.8 YE

447

Starter Relay Coil Control

A

0.8 YE

447

Starter Relay Coil Control

X116 Starter Harness to Engine Chassis Harness (LF6/KQR)


Object Number: 696940  Size: CH

Object Number: 696937  Size: CH

Connector Part Information

  • OEM: 12065172
  • Service: See Catalog
  • Description: 1-Way F Metri-Pack 280 Series Sealed (BK)

Connector Part Information

  • OEM: 12065171
  • Service: 12085669
  • Description: 1-Way M Metri-Pack 280 Series Sealed (BK)

Terminal Part Information

  • Terminal/Tray: 12077411/2
  • Core/Insulation Crimp: 2/5
  • Release Tool/Test Probe: 12094430/J-35616-4A (PU)

Terminal Part Information

  • Terminal/Tray: 12048159/2
  • Core/Insulation Crimp: 2/5
  • Release Tool/Test Probe: 12094430/J-35616-5 (PU)

X116 Starter Harness to Engine Chassis Harness (LF6/KQR)

Pin

Wire

Circuit

Function

Pin

Wire

Circuit

Function

A

1.0 YE

447

Starter Relay Coil Control

A

0.8 YE

447

Starter Relay Coil Control

X117 Engine Chassis Harness to Starter Harness (LF6/KQR)


Object Number: 696940  Size: CH

Object Number: 696937  Size: CH

Connector Part Information

  • OEM: 12065172
  • Service: See Catalog
  • Description: 1-Way F Metri-Pack 280 Series Sealed (BK)

Connector Part Information

  • OEM: 12065171
  • Service: 12085669
  • Description: 1-Way M Metri-Pack 280 Series Sealed (BK)

Terminal Part Information

  • Terminal/Tray: 12077411/2
  • Core/Insulation Crimp: 2/5
  • Release Tool/Test Probe: 12094430/J-35616-4A (PU)

Terminal Part Information

  • Terminal/Tray: 12048159/2
  • Core/Insulation Crimp: 2/5
  • Release Tool/Test Probe: 12094430/J-35616-5 (PU)

X117 Engine Chassis Harness to Starter Harness (LF6/KQR)

Pin

Wire

Circuit

Function

Pin

Wire

Circuit

Function

A

0.8 YE

447

Starter Relay Coil Control

A

1.0 YE

447

Starter Relay Coil Control

X118 Engine Chassis Harness to Engine Harness (LMM)


Object Number: 1713502  Size: CH

Object Number: 1713503  Size: CH

Connector Part Information

  • OEM: 13601803
  • Service: See Catalog
  • Description: 40-Way F GT 150/280 Series Sealed (BK)

Connector Part Information

  • OEM: 13605375
  • Service: See Catalog
  • Description: 40-Way M GT 150/280 Series Sealed (BK)

Terminal Part Information

  • Terminal/Tray: Pins: 1-3, 5-7, 33-35, 38-39: 15304719/19
  • Core/Insulation Crimp: 2/5
  • Release Tool/Test Probe: 15315247/J-35616-4A (PU)
  • Terminal/Tray: Pins: 4, 8, 15-32, 36-37, 40: 12191819/8
  • Core/Insulation Crimp: E/A
  • Release Tool/Test Probe: 15315247/J-35616-2A (GY)

Terminal Part Information

  • Terminal/Tray: See Terminal Repair Kit
  • Core/Insulation Crimp: See Terminal Repair Kit
  • Release Tool/Test Probe: See Terminal Repair Kit

X118 Engine Chassis Harness to Engine Harness (LMM)

Pin

Wire

Circuit

Function

Pin

Wire

Circuit

Function

1

1.0 D-BU

5930

Turbocharger Vane Position Control Solenoid Valve Control Circuit

1

0.5 D-BU

5930

Turbocharger Vane Position Control Solenoid Valve Control Circuit

2

1.0 PK

5425

Fuel Injector Supply Voltage (4)

2

2.0 PK

5425

Fuel Injector Supply Voltage (4)

3

1.0 PU

5423

Fuel Injector Supply Voltage (3)

3

2.0 PU

5423

Fuel Injector Supply Voltage (3)

4

0.5 L-BU

6118

Manifold Air Temperature Sensor Signal

4

0.5 L-BU

6118

Manifold Air Temperature Sensor Signal

5

1.0 WH

5931

Low Reference

5

0.5 WH

5931

Low Reference

6

1.0 PK/BK

1746

Fuel Injector 3 Control

6

2.0 PK/BK

1746

Fuel Injector 3 Control

7

1.0 L-GN/BK

1745

Fuel Injector 2 Control

7

2.0 L-GN/BK

1745

Fuel Injector 2 Control

8

0.5 YE/BK

6120

Low Reference

8

0.5 YE/BK

6120

Low Reference

9-14

--

--

Not Used

9-14

--

--

Not Used

15

0.5 PU/WH

6270

5-Volt Reference 1

15

0.5 PU/WH

6270

5-Volt Reference 1

16

0.5 GY/BK

6272

Low Reference

16

0.5 GY/BK

6272

Low Reference

17

0.5 WH/BK

6271

Crankshaft 60X Sensor Signal

17

0.5 WH/BK

6271

Crankshaft 60X Sensor Signal

18

0.5 L-GN

432

MAP Sensor Signal

18

0.5 L-GN

432

MAP Sensor Signal

19

0.5 OG/BK

469

Low Reference

19

0.5 OG/BK

469

Low Reference

20

0.5 GY

2704

5-Volt Reference 3

20

0.5 GY

2704

5-Volt Reference 3

21

0.5 TN

2917

5-Volt Reference 2

21

0.5 TN

2917

5-Volt Reference 2

22

0.5 OG/BK

2919

Low Reference

22

0.5 OG/BK

2919

Low Reference

23

0.5 YE

2918

FRP Sensor Signal

23

0.5 YE

2918

FRP Sensor Signal

24

0.5 D-BU/WH

6265

Camshaft CAM W Signal

24

0.5 D-BU/WH

6265

Camshaft CAM W Signal

25

0.5 BN

6266

Low Reference

25

0.5 BN

6266

Low Reference

26

0.5 D-BU

6259

5-Volt Reference 1

26

0.5 D-BU

6259

5-Volt Reference 1

27

0.5 GY

2705

5-Volt Reference 2

27

0.5 GY

2705

5-Volt Reference 2

28

0.5 BK

2755

Low Reference

28

0.5 BK

2755

Low Reference

29

0.5 TN/WH

331

Oil Pressure Sensor Signal

29

0.5 TN/WH

331

Oil Pressure Sensor Signal

30

0.5 YE

5947

Variable Nozzle Turbo Position Sensor Signal

30

0.5 YE

5947

Variable Nozzle Turbo Position Sensor Signal

31

0.5 OG/BK

5929

Low Reference

31

0.5 OG/BK

5929

Low Reference

32

0.5 TN

5928

5-Volt Reference 1

32

0.5 TN

5928

5-Volt Reference 1

33

0.8 L-BU

6106

High Speed GMLAN Serial Data (-) (2)

33

0.75 L-BU

6106

High Speed GMLAN Serial Data (-) (2)

34

1.0 BK/WH

845

Fuel Injector 4 Control

34

2.0 BK/WH

845

Fuel Injector 4 Control

35

1.0 D-BU/WH

878

Fuel Injector 8 Control

35

2.0 D-BU/WH

878

Fuel Injector 8 Control

36

0.5 TN

6106

High Speed GMLAN Serial Data (-) (2)

36

0.75 L-BU

6106

High Speed GMLAN Serial Data (-) (2)

37

0.8 D-BU

6105

High Speed GMLAN Serial Data (+) (2)

37

0.75 D-BU

6105

High Speed GMLAN Serial Data (+) (2)

38

0.8 PK

239

Ignition 1 Voltage

38

0.75 PK

239

Ignition 1 Voltage

39

0.8 PK

1020

Ignition 0 Voltage

39

1.0 PK

1020

Ignition 0 Voltage

40

0.5 TN/WH

6105

High Speed GMLAN Serial Data (+) (2)

40

0.75 D-BU

6105

High Speed GMLAN Serial Data (+) (2)

X119 Engine Chassis Harness to Engine Harness (LMM)


Object Number: 1713504  Size: CH

Object Number: 1713505  Size: CH

Connector Part Information

  • OEM: 13601804
  • Service: See Catalog
  • Description: 40-Way F GT 150/280 Series Sealed (GY)

Connector Part Information

  • OEM: 13605376
  • Service: See Catalog
  • Description: 40-Way M GT 150/280 Series Sealed (GY)

Terminal Part Information

  • Terminal/Tray: Pins: 2-3, 6-7, 9, 31-32, 34-35: 15304719/19
  • Core/Insulation Crimp: 2/5
  • Release Tool/Test Probe: 15315247/J-35616-4A (PU)
  • Terminal/Tray: Pins: 1, 4-5, 8, 10-14, 18, 27-30, 33, 36-37, 40: 12191819/8
  • Core/Insulation Crimp: E/A
  • Release Tool/Test Probe: 15315247/J-35616-2A (GY)

Terminal Part Information

  • Terminal/Tray: See Terminal Repair Kit
  • Core/Insulation Crimp: See Terminal Repair Kit
  • Release Tool/Test Probe: See Terminal Repair Kit

X119 Engine Chassis Harness to Engine Harness (LMM)

Pin

Wire

Circuit

Function

Pin

Wire

Circuit

Function

1

--

--

Not Used

1

--

--

Not Used

2

1.0 OG

5421

Fuel Injector Supply Voltage (1)

2

2.0 OG

5421

Fuel Injector Supply Voltage (1)

3

1.0 YE

5422

Fuel Injector Supply Voltage (2)

3

2.0 YE

5422

Fuel Injector Supply Voltage (2)

4

0.5 YE

410

ECT Sensor Signal

4

0.5 YE

410

ECT Sensor Signal

5

--

--

Not Used

5

--

--

Not Used

6

1.0 BK

1744

Fuel Injector 1 Control

6

2.0 BK

1744

Fuel Injector 1 Control

7

1.0 YE/BK

846

Fuel Injector 6 Control

7

2.0 YE/BK

846

Fuel Injector 6 Control

8

0.5 BK

2761

Low Reference

8

0.5 BK

2761

Low Reference

9

1.0 PK

2677

Heated Fuel Feed

9

0.85 PK

2677

Heated Fuel Feed

10

0.5 YE

581

TAC Motor Control - 1

10

0.75 YE

581

TAC Motor Control - 1

11

0.5 BN

582

TAC Motor Control - 2

11

0.75 BN

582

TAC Motor Control - 2

12

0.5 D-GN

485

TP Sensor 1 Signal

12

0.5 D-GN

485

TP Sensor 1 Signal

13

0.5 BK

2752

Low Reference

13

0.5 BK

2752

Low Reference

14

0.5 GY

2701

5-Volt Reference 1

14

0.5 GY

2701

5-Volt Reference 1

15-17

--

--

Not Used

15-17

--

--

Not Used

18

0.5 BN

1174

Oil Level Switch Signal

18

0.5 BN

1174

Oil Level Switch Signal

19-26

--

--

Not Used

19-26

--

--

Not Used

27

0.8 YE/BK

508

Water In Fuel Indicator Control

27

0.5 YE/BK

508

Water In Fuel Indicator Control

28

0.5 GY

2702

5-Volt Reference 3

28

0.5 GY

2702

5-Volt Reference 3

29

0.5 BK

2753

Low Reference

29

0.5 BK

2753

Low Reference

30

0.5 BN/WH

5763

Exhaust Gas Recirculation Valve Sensor Signal

30

0.5 BN/WH

5763

Exhaust Gas Recirculation Valve Sensor Signal

31

1.0 L-GN/BK

5746

Exhaust Gas Recirculation Valve Motor Low Signal

31

0.5 L-GN/BK

5746

Exhaust Gas Recirculation Valve Motor Low Signal

32

1.0 OG/BK

5764

Exhaust Gas Recirculation Valve Motor High Signal

32

0.5 OG/BK

5764

Exhaust Gas Recirculation Valve Motor High Signal

33

0.5 YE

2834

Fuel Pressure Regulator Solenoid Control

33

0.5 YE

2834

Fuel Pressure Regulator Solenoid Control

34

1.0 RD/BK

877

Fuel Injector 7 Control

34

2.0 RD/BK

877

Fuel Injector 7 Control

35

1.0 L-BU/BK

844

Fuel Injector 4 Control

35

2.0 L-BU/BK

844

Fuel Injector 4 Control

36

0.5 BN

6062

Low Reference

36

0.5 BN

6062

Low Reference

37

0.5 PU/WH

2530

Fuel Pressure Regulator Solenoid Supply Voltage

37

0.5 PU/WH

2530

Fuel Pressure Regulator Solenoid Supply Voltage

38-39

--

--

Not Used

38-39

--

--

Not Used

40

0.5 YE

1578

Fuel Temperature Signal

40

0.5 YE

1578

Fuel Temperature Signal

X120 Engine Harness to Engine Chassis Harness (LF6)


Object Number: 635009  Size: CH

Object Number: 333041  Size: CH

Connector Part Information

  • OEM: 12052641
  • Service: 12102747
  • Description: 2-Way F, Metri-Pack 150 Series Sealed (BK)

Connector Part Information

  • OEM: 12162000
  • Service: 12167120
  • Description: 2-Way M, Metri-Pack 150 Series Sealed (BK)

Terminal Part Information

  • Terminal/Tray: See Terminal Repair Kit
  • Core/Insulation Crimp: See Terminal Repair Kit
  • Release Tool/Test Probe: See Terminal Repair Kit

Terminal Part Information

  • Terminal/Tray: 12177150/4
  • Core/Insulation Crimp: E/1
  • Release Tool/Test Probe: 12094429/J-35616-3 (GY)

X120 Engine Harness to Engine Chassis Harness (LF6)

Pin

Wire

Circuit

Function

Pin

Wire

Circuit

Function

A

0.8 OG

F793

Intake Air Heater Indicator/Relay Control

A

0.8 L-BU

1998

Intake Air Heater Indicator/Relay Control

B

0.8 BU

C830

Intake Air Heater Relay Return

B

--

--

Not Used

X121 Engine Chassis Harness to Upfitter Supplied Harness (Upfitter PTO Connector) (LF6)


Object Number: 666638  Size: CH

Object Number: 258921  Size: CH

Connector Part Information

  • OEM: 12177081
  • Service: 15305916
  • Description: 10-Way F Metri-Pack 150 Series Sealed (BK)

Connector Part Information

  • OEM: 12045808
  • Service: 12117372
  • Description: 10-Way M Metri-Pack 150 Series Sealed (BK)

Terminal Part Information

  • Terminal/Tray: See Terminal Repair Kit
  • Core/Insulation Crimp: See Terminal Repair Kit
  • Release Tool/Test Probe: See Terminal Repair Kit

Terminal Part Information

  • Terminal/Tray: See Terminal Repair Kit
  • Core/Insulation Crimp: See Terminal Repair Kit
  • Release Tool/Test Probe: See Terminal Repair Kit

X121 Engine Chassis Harness to Upfitter Supplied Harness (Upfitter PTO Connector) (LF6)

Pin

Wire

Circuit

Function

Pin

Wire

Circuit

Function

A

0.8 BK

250

Ground

A

--

--

Upfitter Usage

B

0.8 L-BU

494

PTO Engine Kill Signal

B

--

--

Upfitter Usage

C

0.8 L-GN

2664

Set Coast/Tap Down

C

--

--

Upfitter Usage

D

0.8 BK/WH

451

Ground

D

--

--

Upfitter Usage

E

0.8 BK/WH

451

Ground

E

--

--

Upfitter Usage

F

0.8 PU

2663

Resume Accelerator/Tap Up

F

--

--

Upfitter Usage

G

0.8 YE

2522

PTO Engage Signal (LCT)

G

--

--

Upfitter Usage

H

0.8 WH

2561

PTO Supply Voltage

H

--

--

Upfitter Usage

J

0.8 BK/WH

451

Ground

J

--

--

Upfitter Usage

K

--

--

Not Used

K

--

--

Upfitter Usage

X121 Engine Chassis Harness to Upfitter Supplied Harness (Upfitter PTO Connector) (w/o LF6)


Object Number: 666638  Size: CH

Object Number: 258921  Size: CH

Connector Part Information

  • OEM: 12177081
  • Service: 15305916
  • Description: 10-Way F Metri-Pack 150 Series Sealed (BK)

Connector Part Information

  • OEM: 12045808
  • Service: 12117372
  • Description: 10-Way M Metri-Pack 150 Series Sealed (BK)

Terminal Part Information

  • Terminal/Tray: See Terminal Repair Kit
  • Core/Insulation Crimp: See Terminal Repair Kit
  • Release Tool/Test Probe: See Terminal Repair Kit

Terminal Part Information

  • Terminal/Tray: See Terminal Repair Kit
  • Core/Insulation Crimp: See Terminal Repair Kit
  • Release Tool/Test Probe: See Terminal Repair Kit

X121 Engine Chassis Harness to Upfitter Supplied Harness (Upfitter PTO Connector) (w/o LF6)

Pin

Wire

Circuit

Function

Pin

Wire

Circuit

Function

A

--

--

Not Used

A

--

--

Upfitter Usage

B

0.8 L-BU

494

PTO Engine Kill Signal

B

--

--

Upfitter Usage

C

0.8 L-GN

488

PTO On Switch Signal

C

--

--

Upfitter Usage

D

0.8 BK

250

Ground

D

--

--

Upfitter Usage

E

0.8 PU

2663

Cruise Control Resume/Accel Switch Signal

E

--

--

Upfitter Usage

F

0.8 L-GN

488

PTO On Switch Signal

F

--

--

Upfitter Usage

G

0.8 YE

2522

PTO Engage Signal

G

--

--

Upfitter Usage

H

0.8 WH

2561

PTO Supply Voltage (L18/LMM)

H

--

--

Upfitter Usage

1.0 WH

2561

PTO Supply Voltage (LF8)

J

0.8 TN

2664

Cruise Control Set/Coast Switch Signal

J

--

--

Upfitter Usage

K

--

--

Not Used

K

--

--

Upfitter Usage

X122 Engine Harness to Fuel Injector Harness Connector Adapter 1 to Injector Harness 1 (LF8)


Object Number: 1460233  Size: CH

Object Number: 1460242  Size: CH

Connector Part Information

  • OEM: 7383-1364-40
  • Service: See Catalog
  • Description: 8-Way F Yazaki (L-GY)

Connector Part Information

  • OEM: 7383-1364-40
  • Service: See Catalog
  • Description: 8-Way F Yazaki (L-GY)

Terminal Part Information

  • Terminal/Tray: See Terminal Repair Kit
  • Core/Insulation Crimp: See Terminal Repair Kit
  • Release Tool/Test Probe: See Terminal Repair Kit

Terminal Part Information

  • Terminal/Tray: See Terminal Repair Kit
  • Core/Insulation Crimp: See Terminal Repair Kit
  • Release Tool/Test Probe: See Terminal Repair Kit

X122 Engine Harness to Fuel Injector Harness Connector Adapter 1 to Injector Harness 1 (LF8)

Pin

Wire

Circuit

Function

Pin

Wire

Circuit

Function

A

--

--

Not Used

A

--

--

Not Used

B

2.0 WH

CF71

Injector Positive Voltage Control 1

B

2.0 WH

7

Injector Positive Voltage Control 1

C

0.75 YE

CF73

Fuel Injector A Control

C

0.75 D-GN

1

Fuel Injector A Control

D-E

--

--

Not Used

D-E

--

--

Not Used

F

0.75 D-BU

CF77

Fuel Injector E Control

F

0.75 D-BU

2

Fuel Injector E Control

G

0.75 WH

CF75

Fuel Injector C Control

G

0.75 YE

3

Fuel Injector C Control

H

--

--

Not Used

H

--

--

Not Used

X123 Engine Harness to Fuel Injector Harness Connector Adapter 2 to Injector Harness 2 (LF8)


Object Number: 1460233  Size: CH

Object Number: 1460242  Size: CH

Connector Part Information

  • OEM: 7383-1364-40
  • Service: See Catalog
  • Description: 8-Way F Yazaki (L-GY)

Connector Part Information

  • OEM: 7383-1364-40
  • Service: See Catalog
  • Description: 8-Way F Yazaki (L-GY)

Terminal Part Information

  • Terminal/Tray: See Terminal Repair Kit
  • Core/Insulation Crimp: See Terminal Repair Kit
  • Release Tool/Test Probe: See Terminal Repair Kit

Terminal Part Information

  • Terminal/Tray: See Terminal Repair Kit
  • Core/Insulation Crimp: See Terminal Repair Kit
  • Release Tool/Test Probe: See Terminal Repair Kit

X123 Engine Harness to Fuel Injector Harness Connector Adapter 2 to Injector Harness 2 (LF8)

Pin

Wire

Circuit

Function

Pin

Wire

Circuit

Function

A

--

--

Not Used

A

--

--

Not Used

B

2.0 RD

CF79

Injector Positive Voltage Control 2

B

2.0 RD

7

Injector Positive Voltage Control 2

C

0.75 BK

CF85

Fuel Injector F Control

C

0.75 BK

1

Fuel Injector F Control

D-E

--

--

Not Used

D-E

--

--

Not Used

F

0.75 BK/RD

CF81

Fuel Injector B Control

F

0.75 BN

2

Fuel Injector B Control

G

0.75 RD

CF83

Fuel Injector D Control

G

0.75 PU

3

Fuel Injector D Control

H

--

--

Not Used

H

--

--

Not Used

X124 I/P Harness to Engine Chassis Harness (L18)


Object Number: 847310  Size: CH

Object Number: 586335  Size: CH

Connector Part Information

  • OEM: 15366099
  • Service: 15366099
  • Description: 24-Way F GT 150/280 Mixed Series Sealed (BK)

Connector Part Information

  • OEM: 15336173
  • Service: 15336173
  • Description: 24-Way M GT 150/280 Mixed Series Sealed (BK)

Terminal Part Information

  • Pins: B6-B7, C1-C3, C5-C8
  • Terminal/Tray: 12191819/8
  • Core/Insulation Crimp:E/A
  • Release Tool/Test Probe: 15315247/J-35616-2A (GY)
  • Pin: C4
  • Terminal/Tray: 15304720/19
  • Core/Insulation Crimp: 4/5
  • Release Tool/Test Probe: 15315247/J-35616-4A (PU)

Terminal Part Information

  • Pins: B6-B7, C1-C3, C5-C8
  • Terminal/Tray: 15326269/19
  • Core/Insulation Crimp: Pin B6: E/4
  • Core/Insulation Crimp: Pins B7, C1-C3, C5-C8: E/1
  • Release Tool/Test Probe: 15315247/J-35616-3 (GY)
  • Pin: C4
  • Terminal/Tray: 15304732/8
  • Core/Insulation Crimp: A/5
  • Release Tool/Test Probe: 15315247/J-35616-5 (PU)

X124 I/P Harness to Engine Chassis Harness (L18)

Pin

Wire

Circuit

Function

Pin

Wire

Circuit

Function

A1-A8

--

--

Not Used

A1-A8

--

--

Not Used

B1-B5

--

--

Not Used

B1-B5

--

--

Not Used

B6

0.5 WH

121

Engine Speed Signal

B6

0.5 WH

121

Engine Speed Signal

B7

0.5 GY

1234

Do Not Shift Indicator Control (A/T)

B7

0.8 GY

1234

Do Not Shift Indicator Control (A/T)

B8

--

--

Not Used

B8

--

--

Not Used

C1

0.5 L-GN

488

PTO On Switch Signal

C1

0.8 L-GN

488

PTO On Switch Signal

C2

0.5 D-GN

534

High Idle Switch Signal

C2

0.8 D-GN

534

High Idle Switch Signal

C3

0.5 RD

2013

High Idle Indicator Control

C3

0.8 RD

2013

High Idle Indicator Control

C4

2.0 PU

1093

Rear Defog Element Supply Voltage

C4

2.0 PU

1093

Rear Defog Element Supply Voltage

C5

0.5 TN/WH

2678

Overdrive Defeat Switch Signal (A/T)

C5

0.8 TN/WH

2678

Overdrive Defeat Switch Signal (A/T)

C6

0.5 YE

2361

SAE J1939 Serial Data Bus + (C6/C7/C8)

C6

0.8 YE

2361

SAE J1939 Serial Data Bus + (C6/C7/C8)

C7

0.5 D-GN

2362

SAE J1939 Serial Data Bus - (C6/C7/C8)

C7

0.8 D-GN

2362

SAE J1939 Serial Data Bus - (C6/C7/C8)

C8

0.5 PU

806

Crank Voltage

C8

0.8 PU

806

Crank Voltage

X124 I/P Harness to Engine Chassis Harness (LMM)


Object Number: 847310  Size: CH

Object Number: 586335  Size: CH

Connector Part Information

  • OEM: 15366099
  • Service: 15366099
  • Description: 24-Way F GT 150/280 Mixed Series Sealed (BK)

Connector Part Information

  • OEM: 15336173
  • Service: 15336173
  • Description: 24-Way M GT 150/280 Mixed Series Sealed (BK)

Terminal Part Information

  • Pin: B5
  • Terminal/Tray: 12191819/19
  • Core/Insulation Crimp: E/5
  • Release Tool/Test Probe: 15315247/J-35616-4A (PU)
  • Pin: B8
  • Terminal/Tray: 12191819/8
  • Core/Insulation Crimp: 2/A
  • Release Tool/Test Probe: 15315247/J-35616-2A (GY)
  • Pins: A2-A3, A6, A8, B1-B2, B6-B7, C1-C3, C5, C8
  • Terminal/Tray: 15134719/8
  • Core/Insulation Crimp: E/A
  • Release Tool/Test Probe: 15315247/J-35616-2A (GY)
  • Pins: A4-A5
  • Terminal/Tray: 15304719/19
  • Core/Insulation Crimp: 2/5
  • Release Tool/Test Probe: 15315247/J-35616-4A (PU)
  • Pin: C4
  • Terminal/Tray: 15304719/19
  • Core/Insulation Crimp: 4/5
  • Release Tool/Test Probe: 15315247/J-35616-4A (PU)

Terminal Part Information

  • Pins: A2-A3, A6, A8, B1-B2, B5-B6
  • Terminal/Tray: 15326269/19
  • Core/Insulation Crimp: E/4
  • Release Tool/Test Probe: 15315247/J-35616-3 (GY)
  • Pins: B7-B8, C1-C3, C5, C8
  • Terminal/Tray: 15326269/19
  • Core/Insulation Crimp: E/1
  • Release Tool/Test Probe: 15315247/J-35616-3 (GY)
  • Pins: A4-A5
  • Terminal/Tray: 15304731/19
  • Core/Insulation Crimp: 2/5
  • Release Tool/Test Probe: 15315247/J-35616-5 (PU)
  • Pin: C4
  • Terminal/Tray: 15304732/8
  • Core/Insulation Crimp: A/5
  • Release Tool/Test Probe: 15315247/J-35616-5 (PU)

X124 I/P Harness to Engine Chassis Harness (LMM)

Pin

Wire

Circuit

Function

Pin

Wire

Circuit

Function

A1

--

--

Not Used

A1

--

--

Not Used

A2

0.5 PU

1272

Low Reference

A2

0.5 PU

1272

Low Reference

A3

0.5 L-BU

1162

APP Sensor 2 Signal

A3

0.5 L-BU

1162

APP Sensor 2 Signal

A4

1.0 OG

1440

Battery Positive Voltage

A4

1.0 OG

1440

Battery Positive Voltage

A5

1.0 PK

2677

Fuel Heater Supply Voltage

A5

1.0 PK

2677

Fuel Heater Supply Voltage

A6

0.5 TN

1274

5-Volt Reference

A6

0.5 TN

1274

5-Volt Reference

A7

0.5 BK

750

Ground (CTF)

A7

0.5 BK

750

Ground (CTF)

A8

0.5 D-BU

1161

APP Sensor 1 Signal

A8

0.5 D-BU

1161

APP Sensor 1 Signal

B1

0.5 WH/BK

1164

5-Volt Reference

B1

0.5 WH/BK

1164

5-Volt Reference

B2

0.5 BN

1271

Low Reference

B2

0.5 BN

1271

Low Reference

B3-B4

--

--

Not Used

B3-B4

--

--

Not Used

B5

0.35 GY/BK

1694

4WD Low Signal (4WD)

B5

0.5 GY/BK

1694

4WD Low Signal (4WD)

B6

0.5 WH

121

Engine Speed Signal

B6

0.5 WH

121

Engine Speed Signal

B7

0.5 GY

1234

Do Not Shift Indicator Control (A/T)

B7

0.8 GY

1234

Do Not Shift Indicator Control (A/T)

B8

0.8 YE/BK

508

Water In Fuel Indicator Control

B8

0.8 YE/BK

508

Water In Fuel Indicator Control

C1

0.5 L-GN

488

PTO On Switch Signal

C1

0.8 L-GN

488

PTO On Switch Signal

C2

0.5 D-GN

534

High Idle Switch Signal

C2

0.8 D-GN

534

High Idle Switch Signal

C3

0.5 RD

2013

High Idle Indicator Control

C3

0.8 RD

2013

High Idle Indicator Control

C4

2.0 PU

1093

Rear Defog Element Supply Voltage

C4

2.0 PU

1093

Rear Defog Element Supply Voltage

C5

0.5 TN/WH

2678

Overdrive Defeat Switch Signal (A/T)

C5

0.8 TN/WH

2678

Overdrive Defeat Switch Signal (A/T)

C6-C7

--

--

Not Used

C6-C7

--

--

Not Used

C8

0.5 PU

806

Crank Voltage

C8

0.8 PU

806

Crank Voltage

X125 Engine Chassis Harness to Engine Harness (LF8)


Object Number: 1856772  Size: CH

Object Number: 1856773  Size: CH

Connector Part Information

  • OEM: 12162870
  • Service: 12162870
  • Description: 1-Way F Y-Type, Sealed (BK)

Connector Part Information

  • OEM: 7222-4210-40
  • Service: See Catalog
  • Description: 1-Way M Y-Type, Sealed (BK)

Terminal Part Information

  • Terminal/Tray: 7116-3250/10
  • Core/Insulation Crimp: See Terminal Repair Kit
  • Release Tool/Test Probe: 12094430/J-35616-22 (RD)

Terminal Part Information

  • Terminal/Tray: See Terminal Repair Kit
  • Core/Insulation Crimp: See Terminal Repair Kit
  • Release Tool/Test Probe: See Terminal Repair Kit

X125 Engine Chassis Harness to Engine Harness (LF8)

Pin

Wire

Circuit

Function

Pin

Wire

Circuit

Function

1

5.0 OG

503

Glow Plug Supply Voltage - Bank 1

1

8.0 RD

HB02

Glow Plug Supply Voltage - Bank 1

X126 Chassis Harness to I/P Harness


Object Number: 872905  Size: CH

Object Number: 873042  Size: CH

Connector Part Information

  • OEM: 15392710
  • Service: 15392710
  • Description: 40-Way F GT 150/280 Series Mixed, Sealed (WH)

Connector Part Information

  • OEM: 15392708
  • Service: 15392708
  • Description: 40-Way M GT 150/280 Series Mixed, Sealed (WH)

Terminal Part Information

  • Terminal/Tray: See Terminal Repair Kit
  • Core/Insulation Crimp: See Terminal Repair Kit
  • Release Tool/Test Probe: See Terminal Repair Kit

Terminal Part Information

  • Pins: A2, A6-A8, B1-B5, C1-C3, C5, C8-C12, D1-D3, D6-D8
  • Terminal/Tray: 15326269/19
  • Core/Insulation Crimp: Pins: A2, A6, B2, B4-B5, C10-C12, D1, D7-D8: E/1
  • Core/Insulation Crimp: Pins: A7-A8, B1, B3, C1-C3, C5, C8-C9, D2-D3, D6: E/4
  • Release Tool/Test Probe: 15315247/J-35616-3 (GY)
  • Pins: A4-A5, B7, C6
  • Terminal/Tray: 15304729/8
  • Core/Insulation Crimp: Pins: A4-A5, C6: 4/1
  • Core/Insulation Crimp: Pins: B7: C/1
  • Release Tool/Test Probe: 15315247/J-35616-5 (PU)
  • Pins: B6, C7, D4-D5
  • Terminal/Tray: 15304728/8
  • Core/Insulation Crimp: 2/1
  • Release Tool/Test Probe: 15315247/J-35616-5 (PU)

X126 Chassis Harness to I/P Harness

Pin

Wire

Circuit

Function

Pin

Wire

Circuit

Function

A1

0.8 BN

541

Ignition 3 Voltage (C7/C8)

A1

0.5 BN

541

Ignition 3 Voltage (C7/C8)

A2

1.0 D-GN

21

Marker Lamps Supply Voltage

A2

1.0 D-GN

21

Marker Lamps Supply Voltage

A3

0.8 WH

471

Trailer ABS Indicator Control (RQ3/U86)

A3

0.5 WH

471

Trailer ABS Indicator Control (RQ3/U86)

A4

0.8 YE/BK

508

Water In Fuel Indicator Control (LF6/LF8)

A4

0.8 YE/BK

508

Water In Fuel Indicator Control (LF6/LF8)

3.0 D-BU

47

Trailer Auxiliary Supply Voltage (LMM)

3.0 D-BU

47

Trailer Auxiliary Supply Voltage (LMM)

A5

3.0 RD

642

Battery Positive Voltage (U86)

A5

3.0 RD

642

Battery Positive Voltage (U86)

A6

0.8 PK

439

Ignition 1 Voltage (JE3)

A6

0.8 PK

439

Ignition 1 Voltage (JE3)

0.8 BN

441

Ignition 1 Voltage (JE4)

0.8 BN

441

Ignition 1 Voltage (JE4)

A7

0.8 GY

2260

Driver Satellite Return

A7

0.5 GY

2260

Driver Satellite Return

A8

0.8 L-BU

1122

ABS/TCS Class 2 Serial Data

A8

0.5 L-BU

1122

ABS/TCS Class 2 Serial Data

B1

0.8 D-BU

2769

Brake Indicator Signal

B1

0.5 D-BU

2769

Brake Indicator Signal

B2

0.8 BN

641

Ignition 3 Voltage

B2

0.8 BN

641

Ignition 3 Voltage

B3

0.8 YE

1834

Forward Discriminating Sensor Signal

B3

0.5 YE

1834

Forward Discriminating Sensor Signal

B4

1.0 BN/WH

2609

Right Rear Park Lamps Supply Voltage

B4

1.0 BN/WH

2609

Right Rear Park Lamps Supply Voltage

B5

1.0 BN

141

Ignition 3 Voltage

B5

1.0 BN

141

Ignition 3 Voltage

B6

1.0 TN

12

Headlamp Low Beam Supply Voltage

B6

1.0 TN

12

Headlamp Low Beam Supply Voltage

B7

2.0 L-GN

11

Headlamp High Beam Supply Voltage

B7

2.0 L-GN

11

Headlamp High Beam Supply Voltage

B8-B12

--

--

Not Used

B8-B12

--

--

Not Used

C1

0.8 BN/WH

1571

Traction Control Switch Signal

C1

0.5 BN/WH

1571

Traction Control Switch Signal

C2

0.8 L-BU

832

Traction Control Active Signal

C2

0.5 L-BU

832

Traction Control Active Signal

C3

0.8 WH

1808

Service Traction Control Signal

C3

0.5 WH

1808

Service Traction Control Signal

C4

0.8 D-GN/WH

2662

Low Air Alarm Switch Output

C4

0.5 D-GN/WH

2662

Low Air Alarm Switch Output

C5

0.5 L-GN/BK

431

Transfer Case 5-Volt Reference (NP1)

C5

0.5 L-GN/BK

431

Transfer Case 5-Volt Reference (NP1)

1.0 WH/BK

1922

SAE J1587 Serial Data Bus- Primary (JE4)

0.5 WH/BK

1922

SAE J1587 Serial Data Bus- Primary (JE4)

C6

3.0 BN

9

Park Lamp Supply Voltage (U86)

C6

3.0 BN

9

Park Lamp Supply Voltage (U86)

2.0 BN

241

Ignition 3 Voltage (HPZ)

2.0 BN

241

Ignition 3 Voltage (HPZ)

C7

2.0 WH

17

Stop Lamp Supply Voltage (JE3)

C7

1.0 WH

17

Stop Lamp Supply Voltage (JE3)

0.8 PU

420

TCC Brake Switch/Cruise Control Release Signal (JE4)

0.5 PU

420

TCC Brake Switch/Cruise Control Release Signal (JE4)

C8

0.8 BN

541

Ignition 3 Voltage (JE3)

C8

0.5 BN

541

Ignition 3 Voltage (JE3)

1.0 TN/BK

1921

SAE J1587 Serial Data Bus+ Primary (JE4)

0.5 TN/BK

1921

SAE J1587 Serial Data Bus+ Primary (JE4)

C9

0.8 PU

806

Crank Voltage

C9

0.5 PU

806

Crank Voltage

C10

1.0 YE

318

Left Rear Trailer Stop/Turn Lamp Supply Voltage

C10

1.0 YE

318

Left Rear Trailer Stop/Turn Lamp Supply Voltage

C11

1.0 TN/WH

585

Transmission Fluid Temperature Sensor Signal (C4/C5)

C11

0.8 TN/WH

585

Transmission Fluid Temperature Sensor Signal

0.8 TN/WH

585

Transmission Fluid Temperature Sensor Signal (C6/C7/C8)

C12

1.0 BN

2509

Left Rear Park Lamps Supply Voltage

C12

1.0 BN

2509

Left Rear Park Lamps Supply Voltage

D1

1.0 D-GN

319

Right Rear Trailer Stop/Turn Lamp Supply Voltage

D1

1.0 D-GN

319

Right Rear Trailer Stop/Turn Lamp Supply Voltage

D2

0.35 BK/WH

1555

Transfer Cases Encoder Signal (NP1)

D2

0.35 BN

1555

Transfer Cases Encoder Signal (NP1)

1.0 BK/WH

351

Ground (LF6/LF8)

1.0 BK/WH

351

Ground (LF6/LF8)

D3

0.8 L-BU

1320

Stop Lamp Supply Voltage

D3

0.5 L-BU

1320

Stop Lamp Supply Voltage

D4

2.0 YE

618

Left Rear Turn Signal Lamp Supply Voltage

D4

1.0 YE

618

Left Rear Turn Signal Lamp Supply Voltage

D5

2.0 D-GN

619

Right Rear Turn Signal Lamp Supply Voltage

D5

1.0 D-GN

619

Right Rear Turn Signal Lamp Supply Voltage

D6

0.5 BK/WH

1554

Encoder Low Reference (NP1)

D6

0.5 BK/WH

1554

Encoder Low Reference (NP1)

0.8 D-BU

1944

Suspension Dump Valve Solenoid Control (G40/G45/GSJ)

0.8 D-BU

1944

Suspension Dump Valve Solenoid Control (G40/G45/GSJ)

D7

1.0 L-BU

14

Left Turn Signal Lamps Supply Voltage

D7

1.0 L-BU

14

Left Turn Signal Lamps Supply Voltage

D8

1.0 D-BU

15

Right Turn Signal Lamps Supply Voltage

D8

1.0 D-BU

15

Right Turn Signal Lamps Supply Voltage

X127 Engine Chassis Harness to Remote Power Take-Off (PTO) (LF8)


Object Number: 666638  Size: CH

Object Number: 655679  Size: CH

Connector Part Information

  • OEM: 15318071
  • Service: 15306119
  • Description: 10-Way F Metri-Pack 150 Series Sealed (GY)

Connector Part Information

  • OEM: 12052189
  • Service: 12167122
  • Description: 10-Way M Metri-Pack 150 Series Sealed (GY)

Terminal Part Information

  • Terminal/Tray: 12191819/8
  • Core/Insulation Crimp: 2/A
  • Release Tool/Test Probe: 15315247/J-35616-2A (GY)

Terminal Part Information

  • Terminal/Tray: See Terminal Repair Kit
  • Core/Insulation Crimp: See Terminal Repair Kit
  • Release Tool/Test Probe: See Terminal Repair Kit

X127 Engine Chassis Harness to Remote Power Take-Off (PTO) (LF8)

Pin

Wire

Circuit

Function

Pin

Wire

Circuit

Function

A

0.8 YE/BK

7607

Remote PTO Acceleration Ground

A

--

--

Remote PTO Usage

B

0.8 D-GN

7637

Remote PTO Acceleration Signal

B

--

--

Remote PTO Usage

C

0.8 GY

7606

Remote PTO Acceleration VCC

C

--

--

Remote PTO Usage

D

0.8 L-BU

7605

Remote PTO Ignore Brake Clutch Switch

D

--

--

Remote PTO Usage

E

0.8 PU

7608

Remote PTO Cab Control Disable Switch

E

--

--

Remote PTO Usage

F

0.8 WH/BK

7609

Remote PTO Set Speed B Switch

F

--

--

Remote PTO Usage

G

0.8 D-BU

7610

Remote PTO Set Speed A Switch

G

--

--

Remote PTO Usage

H

0.8 BN

7611

Remote PTO Resume Switch

H

--

--

Remote PTO Usage

J

0.8 PU

7612

Remote PTO Set Switch

J

--

--

Remote PTO Usage

K

--

--

Not Used

K

--

--

Not Used

X128 I/P Harness to Rear Chassis Harness


Object Number: 365990  Size: CH

Object Number: 879380  Size: CH

Connector Part Information

  • OEM: 12191968
  • Service: 15306103
  • Description: 2-Way F Metri-Pack 280 Series Sealed (WH)

Connector Part Information

  • OEM: 12191966
  • Service: 88988298
  • Description: 2-Way M Metri-Pack 280 Series Sealed (WH)

Terminal Part Information

  • Terminal/Tray: 12129493/2
  • Core/Insulation Crimp: 4/5
  • Release Tool/Test Probe: 12094430/J-35616-4A (PU)

Terminal Part Information

  • Terminal/Tray: See Terminal Repair Kit
  • Core/Insulation Crimp: See Terminal Repair Kit
  • Release Tool/Test Probe: See Terminal Repair Kit

X128 I/P Harness to Rear Chassis Harness

Pin

Wire

Circuit

Function

Pin

Wire

Circuit

Function

A

3.0 BK

1552

Motor Control A

A

3.0 BK

1552

Motor Control A

B

3.0 RD

1553

Motor Control B

B

3.0 RD

1553

Motor Control B

X129 Engine Chassis Harness to Engine Harness (LF8)


Object Number: 1366573  Size: CH

Object Number: 1438883  Size: CH

Connector Part Information

  • OEM: 10751084
  • Service: See Catalog
  • Description: 6-Way F DL Series Sealed (D-GY)

Connector Part Information

  • OEM: 6195-0024
  • Service: See Catalog
  • Description: 6-Way M DL Series Sealed (D-GY)

Terminal Part Information

  • Terminal/Tray: See Terminal Repair Kit
  • Core/Insulation Crimp: See Terminal Repair Kit
  • Release Tool/Test Probe: See Terminal Repair Kit

Terminal Part Information

  • Terminal/Tray: See Terminal Repair Kit
  • Core/Insulation Crimp: See Terminal Repair Kit
  • Release Tool/Test Probe: See Terminal Repair Kit

X129 Engine Chassis Harness to Engine Harness (LF8)

Pin

Wire

Circuit

Function

Pin

Wire

Circuit

Function

A

0.8 YE

2361

SAE J1939 Serial Data Bus+

A

0.75 D-BU

HB22

SAE J1939 Serial Data Bus+

B

--

--

Not Used

B

--

--

Not Used

C

1.0 BK/WH

1120

Ignition 1 Voltage

C

0.85 RD

DF29

Ignition 1 Voltage

D

0.8 D-GN

2362

SAE J1939 Serial Data Bus-

D

0.75 BN

HB23

SAE J1939 Serial Data Bus-

E

0.8 PK

439

Ignition 1 Voltage

E

0.75 RD

HB21A

Ignition 1 Voltage

F

0.8 PK

6118

Intake Manifold Temperature (IMT) Sensor Signal

F

0.5 RD

A19

Intake Manifold Temperature (IMT) Sensor Signal

X133 Fuel Pressure Regulator Harness to Engine Harness (LMM)


Object Number: 1619746  Size: CH

Object Number: 1619747  Size: CH

Connector Part Information

  • OEM: NFMT-SBC-3F-B
  • Service: See Catalog
  • Description: 3-Way F Furukawa, Sealed (BK)

Connector Part Information

  • OEM: NFMT-SBC-3M-B
  • Service: See Catalog
  • Description: 3-Way M Furukawa, Sealed (BK)

Terminal Part Information

  • Terminal/Tray: See Terminal Repair Kit
  • Core/Insulation Crimp: See Terminal Repair Kit
  • Release Tool/Test Probe: See Terminal Repair Kit

Terminal Part Information

  • Terminal/Tray: See Terminal Repair Kit
  • Core/Insulation Crimp: See Terminal Repair Kit
  • Release Tool/Test Probe: See Terminal Repair Kit

X133 Fuel Pressure Regulator Harness to Engine Harness (LMM)

Pin

Wire

Circuit

Function

Pin

Wire

Circuit

Function

1

BARE

IZ07

Shield

1

BARE

IZ07

Shield

2

0.5 YE

2834

Fuel Pressure Regulator Solenoid Control

2

0.5 YE

2834

Fuel Pressure Regulator Solenoid Control

3

0.5 PU/WH

2530

Fuel Pressure Regulator Solenoid Supply Voltage

3

0.5 PU/WH

2530

Fuel Pressure Regulator Solenoid Supply Voltage

X134 Fuel Rail Pressure (FRP) Sensor Harness to Engine Harness (LMM)


Object Number: 1619224  Size: CH

Object Number: 1619226  Size: CH

Connector Part Information

  • OEM: NFMT-SBC-4F-B
  • Service: See Catalog
  • Description: 4-Way F Furukawa, Sealed (BK)

Connector Part Information

  • OEM: NFMT-SBC-4M-B
  • Service: See Catalog
  • Description: 4-Way M Furukawa, Sealed (BK)

Terminal Part Information

  • Terminal/Tray: See Terminal Repair Kit
  • Core/Insulation Crimp: See Terminal Repair Kit
  • Release Tool/Test Probe: See Terminal Repair Kit

Terminal Part Information

  • Terminal/Tray: See Terminal Repair Kit
  • Core/Insulation Crimp: See Terminal Repair Kit
  • Release Tool/Test Probe: See Terminal Repair Kit

X134 Fuel Rail Pressure (FRP) Sensor Harness to Engine Harness (LMM)

Pin

Wire

Circuit

Function

Pin

Wire

Circuit

Function

1

0.5 OG/BK

2919

Low Reference

1

0.5 OG/BK

2919

Low Reference

2

0.5 YE

2918

FRP Sensor Signal

2

0.5 YE

2918

FRP Sensor Signal

3

--

--

Not Used

3

--

--

Not Used

4

0.5 TN

2917

5-Volt Reference 2

4

0.5 TN

2917

5-Volt Reference 2

X136 Engine Chassis Harness to Engine Harness (LF6)


Object Number: 1900644  Size: CH

Object Number: 1843620  Size: CH

Connector Part Information

  • OEM: 13527959
  • Service: See Catalog
  • Description: 6-Way F, Sealed (RD)

Connector Part Information

  • OEM: 2305011
  • Service: See Catalog
  • Description: 6-Way M, Sealed (Caterpillar) (RD)

Terminal Part Information

  • Terminal/Tray: See Terminal Repair Kit
  • Core/Insulation Crimp: See Terminal Repair Kit
  • Release Tool/Test Probe: See Terminal Repair Kit

Terminal Part Information

  • Terminal/Tray: See Terminal Repair Kit
  • Core/Insulation Crimp: See Terminal Repair Kit
  • Release Tool/Test Probe: See Terminal Repair Kit

X136 Engine Chassis Harness to Engine Harness (LF6)

Pin

Wire

Circuit

Function

Pin

Wire

Circuit

Function

1

1.0 BN/WH

6136

Supply Voltage

1

1.0 YE

U781

Supply Voltage

2

1.0 YE/BK

6055

Exhaust Pressure Sensor Low Reference (1)

2

1.0 PK

U782

Exhaust Pressure Sensor Low Reference (1)

3

1.0 D-BU/WH

6053

Exhaust Pressure Sensor Signal (1)

3

1.0 PK

Y746

Exhaust Pressure Sensor Signal (1)

4

1.0 D-BU

5277

Exhaust Gas Temperature Sensor (1)

4

1.0 YE

Y741

Exhaust Gas Temperature Sensor (1)

5

1.0 L-BU

5377

Exhaust Gas Temperature Sensor (2)

5

1.0 GN

Y742

Exhaust Gas Temperature Sensor (2)

6

1.0 BK

470

Low Reference

6

1.0 PK

U782

Low Reference

X137 Engine Chassis Harness to DPF Extension Harness (LF6)


Object Number: 646400  Size: CH

Object Number: 684916  Size: CH

Connector Part Information

  • OEM: 15326835
  • Service: See Catalog
  • Description: 8-Way F GT 150 Series Sealed (BK)

Connector Part Information

  • OEM: 15326840
  • Service: See Catalog
  • Description: 8-Way M GT 150 Series Sealed (BK)

Terminal Part Information

  • Terminal/Tray: 12191819/8
  • Core/Insulation Crimp: 2/A
  • Release Tool/Test Probe: 15315247/J-35616-2A (GY)

Terminal Part Information

  • Terminal/Tray: 15326269/19
  • Core/Insulation Crimp: E/1
  • Release Tool/Test Probe: 15315247/J-35616-3 (GY)

X137 Engine Chassis Harness to DPF Extension Harness (LF6)

Pin

Wire

Circuit

Function

Pin

Wire

Circuit

Function

A

1.0 BN/WH

6136

Supply Voltage

A

1.0 BN/WH

6136

Supply Voltage

B

1.0 YE/BK

6055

Exhaust Pressure Sensor Low Reference (1)

B

1.0 YE/BK

6055

Exhaust Pressure Sensor Low Reference (1)

C

1.0 D-BU/WH

6053

Exhaust Pressure Sensor Signal (1)

C

1.0 D-BU/WH

6053

Exhaust Pressure Sensor Signal (1)

D

1.0 D-BU

5277

Exhaust Gas Temperature Sensor (1)

D

1.0 D-BU

5277

Exhaust Gas Temperature Sensor (1)

E

1.0 L-BU

5377

Exhaust Gas Temperature Sensor (2)

E

1.0 L-BU

5377

Exhaust Gas Temperature Sensor (2)

F

1.0 BK

470

Low Reference

F

1.0 PK

470

Low Reference

G-H

--

--

Not Used

G-H

--

--

Not Used

X138 DPF Extension Harness to DPF Harness (LF6)


Object Number: 872518  Size: CH

Object Number: 872519  Size: CH

Connector Part Information

  • OEM:15326636
  • Service: 88953154
  • Description: 6-Way F GT 280 Series, Sealed (BK)

Connector Part Information

  • OEM:15326640
  • Service :88953150
  • Description: 6-Way M GT 280 Series, Sealed (BK)

Terminal Part Information

  • Terminal/Tray: See Terminal Repair Kit
  • Core/Insulation Crimp: See Terminal Repair Kit
  • Release Tool/Test Probe: See Terminal Repair Kit

Terminal Part Information

  • Terminal/Tray: See Terminal Repair Kit
  • Core/Insulation Crimp: See Terminal Repair Kit
  • Release Tool/Test Probe: See Terminal Repair Kit

X138 DPF Extension Harness to DPF Harness (LF6)

Pin

Wire

Circuit

Function

Pin

Wire

Circuit

Function

A

1.0 BN

6136

Supply Voltage

A

1.0 WH

Y448

Supply Voltage

B

1.0 YE/BK

6055

Exhaust Pressure Sensor Low Reference (1)

B

1.0 GN

Y749

Exhaust Pressure Sensor Low Reference (1)

C

1.0 D-BU/WH

6053

Exhaust Pressure Sensor Signal (1)

C

1.0 RD

Y746

Exhaust Pressure Sensor Signal (1)

D

1.0 D-BU

5277

Exhaust Gas Temperature Sensor (1)

D

1.0 YE

Y741

Exhaust Gas Temperature Sensor (1)

E

1.0 L-BU

5377

Exhaust Gas Temperature Sensor (2)

E

1.0 GN

Y742

Exhaust Gas Temperature Sensor (2)

F

1.0 BK

470

Low Reference

F

1.0 BU

Y745

Low Reference

X140 Engine Harness to SRH Harness (LF6)


Object Number: 655845  Size: CH

Object Number: 655843  Size: CH

Connector Part Information

  • OEM: 15336136
  • Service: 15306199
  • Description: 12-Way F, GT 150/280 Series, Sealed (BU)

Connector Part Information

  • OEM: 15336135
  • Service: 15306125
  • Description: 12-Way M, GT 150/280 Series, Sealed (BU)

Terminal Part Information

  • Terminal/Tray: See Terminal Repair Kit
  • Core/Insulation Crimp: See Terminal Repair Kit
  • Release Tool/Test Probe: See Terminal Repair Kit

Terminal Part Information

  • Terminal/Tray: See Terminal Repair Kit
  • Core/Insulation Crimp: See Terminal Repair Kit
  • Release Tool/Test Probe: See Terminal Repair Kit

X140 Engine Harness to SRH Harness (LF6)

Pin

Wire

Circuit

Function

Pin

Wire

Circuit

Function

A

0.8 YE

X981

Turbo Speed -

A

0.8 YE

X981

Turbo Speed -

B

0.8 WH

X980

Turbo Speed +

B

0.8 WH

X980

Turbo Speed +

C

0.8 WH

G828

5-Volt Reference

C

0.8 WH

G828

5-Volt Reference

D

0.8 GN

C814

AVNT Actuator

D

0.8 GN

C814

AVNT Actuator

E

0.8 GN

G829

Inlet Air Temperature Sensor Signal

E

0.8 GN

G829

Inlet Air Temperature Sensor Signal

F

0.8 PU

U773

CGI MAF Temperature Sensor

F

0.8 PU

U773

CGI MAF Temperature Sensor

G

0.8 GN

G828

Low Reference

G

0.8 GN

G828

Low Reference

H

0.8 GY

U775

CGI Actuator Return

H

0.8 GY

U775

CGI Actuator Return

J

0.8 GN

G829

Low Reference

J

0.8 GN

G829

Low Reference

K

0.8 BN

C815

AVNT Return

K

0.8 BN

C815

AVNT Return

L

0.8 BU

U774

CGI Actuator

L

0.8 BU

U774

CGI Actuator

M

--

--

Not Used

M

--

--

Not Used

X147 Fuel Injector Harness to Engine Harness (LF6)


Object Number: 872520  Size: CH

Object Number: 872522  Size: CH

Connector Part Information

  • OEM: 15326910
  • Service: 88986268
  • Description: 12-Way F GT 280 Series, Sealed (BK)

Connector Part Information

  • OEM: 15326915
  • Service: 88986269
  • Description: 12-Way M GT 280 Series, Sealed (BK)

Terminal Part Information

  • Terminal/Tray: See Terminal Repair Kit
  • Core/Insulation Crimp: See Terminal Repair Kit
  • Release Tool/Test Probe: See Terminal Repair Kit

Terminal Part Information

  • Terminal/Tray: See Terminal Repair Kit
  • Core/Insulation Crimp: See Terminal Repair Kit
  • Release Tool/Test Probe: See Terminal Repair Kit

X147 Fuel Injector Harness to Engine Harness (LF6)

Pin

Wire

Circuit

Function

Pin

Wire

Circuit

Function

A

1.0 PU

T957

Injector 1 Power

A

1.0 PU

T957

Injector 1 Power

B

1.0 GY

T958

Injector 2 Power

B

1.0 GY

T958

Injector 2 Power

C

1.0 BN

T959

Injector 3 Power

C

1.0 BN

T959

Injector 3 Power

D

1.0 BU

T960

Injector 4 Power

D

1.0 BU

T960

Injector 4 Power

E

1.0 GN

T961

Injector 5 Power

E

1.0 GN

T961

Injector 5 Power

F

1.0 WH

T962

Injector 6 Power

F

1.0 WH

T962

Injector 6 Power

G

1.0 OG

T860

Injector 6 Return

G

1.0 OG

T860

Injector 6 Return

H

1.0 OG

T860

Injector 5 Return

H

1.0 OG

T860

Injector 5 Return

J

1.0 WH

T859

Injector 4 Return

J

1.0 WH

T859

Injector 4 Return

K

1.0 WH

T859

Injector 3 Return

K

1.0 WH

T859

Injector 3 Return

L

1.0 GY

T858

Injector 2 Return

L

1.0 GY

T858

Injector 2 Return

M

1.0 GY

T858

Injector 1 Return

M

1.0 GY

T858

Injector 1 Return

X150 Windshield Washer Harness to I/P Harness


Object Number: 684908  Size: CH

Object Number: 697038  Size: CH

Connector Part Information

  • OEM: 15326631
  • Service: 15306360
  • Description: 4-Way F GT 280 Series Sealed 5.8 (BK)

Connector Part Information

  • OEM: 15326633
  • Service: 15306361
  • Description: 4-Way M GT 280 Series Sealed (BK)

Terminal Part Information

  • Terminal/Tray: See Terminal Repair Kit
  • Core/Insulation Crimp: See Terminal Repair Kit
  • Release Tool/Test Probe: See Terminal Repair Kit

Terminal Part Information

  • Terminal/Tray: 15304731/19
  • Core/Insulation Crimp: Pins: A-B: 2/5
  • Core/Insulation Crimp: Pins: C-D: E/5
  • Release Tool/Test Probe: 15315247/J-35616-5 (PU)

X150 Windshield Washer Harness to I/P Harness

Pin

Wire

Circuit

Function

Pin

Wire

Circuit

Function

A

1.0 RD

228

Windshield Washer Pump Control

A

1.0 RD

228

Windshield Washer Pump Control

B

1.0 BK

750

Ground

B

1.0 BK

750

Ground

C

0.5 TN

185

Low Washer Fluid Indicator Signal

C

0.5 TN

185

Low Washer Fluid Indicator Signal

D

0.5 BK

750

Ground

D

0.5 BK

750

Ground

X151 Chassis Harness to I/P Harness (AEL)


Object Number: 847206  Size: CH

Object Number: 887079  Size: CH

Connector Part Information

  • OEM: 12040977
  • Service: 12085492
  • Description: 3-Way F Metri-Pack 280 Series, Sealed (BK)

Connector Part Information

  • OEM: 15300003
  • Service: 15300003
  • Description: 3-Way M Metri-Pack 280 Series, Sealed (BK)

Terminal Part Information

  • Terminal/Tray: 12129493/2
  • Core/Insulation Crimp: 4/5
  • Release Tool/Test Probe: 12094430/J-35616-4A (PU)

Terminal Part Information

  • Terminal/Tray: 12129497/1
  • Core/Insulation Crimp: F/5
  • Release Tool/Test Probe: 12094430/J-35616-5 (PU)

X151 Chassis Harness to I/P Harness (AEL)

Pin

Wire

Circuit

Function

Pin

Wire

Circuit

Function

A

3.0 OG

1840

Battery Positive Voltage

A

3.0 OG

1840

Battery Positive Voltage

B

--

--

Not Used

B

--

--

Not Used

C

3.0 BK

350

Ground

C

3.0 BK

350

Ground

X175 Engine Chassis Harness to Internal Transmission Harness (LCT)


Object Number: 1608549  Size: CH

Object Number: 1608549  Size: CH

Connector Part Information

  • OEM: 15483856
  • Service: See Catalog
  • Description: 24-Way F 1.5, Sealed (BK)

Connector Part Information

  • OEM: R-62002-001-A
  • Service: See Catalog
  • Description: 24-Way M 1.5, Sealed (BK)

Terminal Part Information

  • Terminal/Tray: See Terminal Repair Kit
  • Core/Insulation Crimp: See Terminal Repair Kit
  • Release Tool/Test Probe: See Terminal Repair Kit

Terminal Part Information

  • Terminal/Tray: See Terminal Repair Kit
  • Core/Insulation Crimp: See Terminal Repair Kit
  • Release Tool/Test Probe: See Terminal Repair Kit

X175 Engine Chassis Harness to Internal Transmission Harness (LCT)

Pin

Wire

Circuit

Function

Pin

Wire

Circuit

Function

1

0.8 PU

898

Shift Solenoid 1 Valve Control

1

0.8 GN

898

Shift Solenoid 1 Valve Control

2

0.8 YE/BK

2879

Shift Solenoid 2 Valve Control

2

0.8 YE

2879

Shift Solenoid 2 Valve Control

3

0.8 OG/WH

2527

Shift Solenoid 3 Valve Control

3

0.8 GN

2527

Shift Solenoid 3 Valve Control

4

0.8 PK

1224

Transmission Fluid Pressure Switch Signal 1

4

0.8 BU

1224

Transmission Fluid Pressure Switch Signal 1

5

--

--

Not Used

5

--

--

Not Used

6

0.8 RD

1226

Transmission Fluid Pressure Switch Signal 3

6

0.8 WH

1226

Transmission Fluid Pressure Switch Signal 3

7

0.8 D-BU

1225

Transmission Fluid Pressure Switch Signal 2

7

0.8 PK

1225

Transmission Fluid Pressure Switch Signal 2

8

0.8 YE/BK

1227

TFT Sensor Signal

8

0.8 TN

1227

TFT Sensor Signal

9

0.8 BK

407

Low Reference

9

0.8 GN

407

Low Reference

10

0.8 WH

1994

TCC PWM Solenoid Valve Control

10

0.8 WH

1994

TCC PWM Solenoid Valve Control

11

0.8 L-GN/BK

2529

Transmission Fluid Pressure Switch Signal 4 (Reverse)

11

0.8 GN

2529

Transmission Fluid Pressure Switch Signal 4 (Reverse)

12-13

--

--

Not Used

12-13

--

--

Not Used

14

0.8 D-GN/WH

2528

12-Volt Reference

14

0.8 OG

2528

12-Volt Reference

15

0.8 PU

7581

Transmission Pressure Control Solenoid 1

15

0.8 WH

7581

Transmission Pressure Control Solenoid 1

16

0.8 BN

323

12-Volt Reference

16

0.8 YE

323

12-Volt Reference

17

0.8 BN/WH

2469

PCS Valve 2 Control

17

0.8 OG

2469

PCS Valve 2 Control

18

0.8 OG/BK

1786

Park/Neutral Signal

18

0.8 OG

1786

Park/Neutral Signal

19

0.8 D-BU

1530

Transmission Mainline Pressure Solenoid Control

19

0.8 BU

1530

Transmission Mainline Pressure Solenoid Control

20

0.8 GY

773

Internal Mode Switch Signal C

20

0.8 GY

773

Internal Mode Switch Signal C

21

0.8 YE

772

Internal Mode Switch Signal B

21

0.8 YE

772

Internal Mode Switch Signal B

22

0.8 BK/WH

771

Internal Mode Switch Signal A

22

0.8 BU

771

Internal Mode Switch Signal A

23

0.8 WH

776

Internal Mode Switch Signal P

23

0.8 WH

776

Internal Mode Switch Signal P

24

0.8 PU

2471

Trans ID

24

0.8 TN

2471

Trans ID

X175 Engine Chassis Harness to Internal Transmission Harness (MD)


Object Number: 1864641  Size: CH

Object Number: 1864641  Size: CH

Connector Part Information

  • OEM: 13519360
  • Service: See Catalog
  • Description: 20-Way F, Unsealed (BK)

Connector Part Information

  • OEM: R-62000-001
  • Service: See Catalog
  • Description: 20-Way M, Unsealed (BK)

Terminal Part Information

  • Terminal/Tray: See Terminal Repair Kit
  • Core/Insulation Crimp: See Terminal Repair Kit
  • Release Tool/Test Probe: See Terminal Repair Kit

Terminal Part Information

  • Terminal/Tray: See Terminal Repair Kit
  • Core/Insulation Crimp: See Terminal Repair Kit
  • Release Tool/Test Probe: See Terminal Repair Kit

X175 Engine Chassis Harness to Internal Transmission Harness (MD)

Pin

Wire

Circuit

Function

Pin

Wire

Circuit

Function

1

0.8 BN

323

12-Volt Reference

1

0.8 OG

323

12-Volt Reference

2

0.8 RD

7582

Transmission Pressure Control Solenoid 4

2

0.8 WH

7582

Transmission Pressure Control Solenoid 4

3

0.8 RD

1226

Transmission Fluid Pressure Switch Signal C

3

0.8 GN

1226

Transmission Fluid Pressure Switch Signal C

4

0.8 PU

7581

Transmission Pressure Control Solenoid 1

4

0.8 OG

7581

Transmission Pressure Control Solenoid 1

5

0.8 YE

7580

Transmission Pressure Control Solenoid 2

5

0.8 GN

7580

Transmission Pressure Control Solenoid 2

6

0.8 BN

323

12-Volt Reference

6

0.8 YE

323

12-Volt Reference

7

--

--

Not Used

7

--

--

Not Used

8

0.8 D-BU

1530

Transmission Mainline Pressure Solenoid Control

8

0.8 BU

1530

Transmission Mainline Pressure Solenoid Control

9

0.8 YE/BK

7579

Transmission Pressure Control Solenoid 3

9

0.8 YE

7579

Transmission Pressure Control Solenoid 3

10

0.8 OG

7578

Transmission Shift Solenoid (1)

10

0.8 WH

7578

Transmission Shift Solenoid (1)

11

0.8 D-GN

1531

Shift Solenoid Supply Voltage (6)

11

0.8 YE

1531

Shift Solenoid Supply Voltage (6)

12

0.8 WH

1994

Line Pressure Control Solenoid Valve High Control

12

0.8 WH

1994

Line Pressure Control Solenoid Valve High Control

13

0.8 OG

1983

Transmission Turbine Speed Switch Signal

13

0.8 OG

1983

Transmission Turbine Speed Switch Signal

14

0.8 L-BU

1984

Transmission Turbine Speed Switch Low Reference

14

0.8 BU

1984

Transmission Turbine Speed Switch Low Reference

15

0.8 WH

1971

Transmission Oil Level Sensor Signal

15

0.8 BU

1971

Transmission Oil Level Sensor Signal

16

0.8 GY

598

5-Volt Reference

16

0.8 PK

598

5-Volt Reference

17

--

--

Not Used

17

--

--

Not Used

18

0.8 YE/BK

1227

TFT Sensor Signal

18

0.8 TN

1227

TFT Sensor Signal

19

0.8 BK

407

Low Reference

19

0.8 GN

407

Low Reference

20

0.8 PU

2471

Transmission ID Signal

20

0.8 YE

2471

Transmission ID Signal

X201 Steering Column Harness to I/P Harness


Object Number: 1539001  Size: CH

Object Number: 510556  Size: CH

Connector Part Information

  • OEM: 12047842/12084183/12047840
  • Service: 12047842
  • Description: 17-Way (BK), 18-Way (BK), 13-Way (GY) F Metri-Pack Connectors - Mixed Series

Connector Part Information

  • OEM: 15492579
  • Service: 12084133
  • Description: 48-Way M Metri-Pack 150/280/630 Mixed Series (BK)

Terminal Part Information

  • Terminal/Tray: See Terminal Repair Kit
  • Core/Insulation Crimp: See Terminal Repair Kit
  • Release Tool/Test Probe: See Terminal Repair Kit

Terminal Part Information

  • Pins: A2-A3, A6-A7, A11-A15
  • Terminal/Tray: 12047581/2
  • Core/Insulation Crimp: Pins: A2-A3, A6-A7: E/A
  • Core/Insulation Crimp: Pins: A12-A15 (w/LF6): E/A
  • Core/Insulation Crimp: Pin: A11: E/C
  • Core/Insulation Crimp: Pins: A12-A15 (w/o LF6): E/C
  • Release Tool/Test Probe: 12094429/J-35616-3 (GY)
  • Pins: B3-B4, E1-E7, E9 E12,
  • Terminal/Tray: 12034047/2
  • Core/Insulation Crimp: Pins: B3-B4: E/A
  • Core/Insulation Crimp: Pins: E1-E7, E9, E12: C/D
  • Release Tool/Test Probe: 12094430/J-35616-5 (PU)
  • Pins: C1, C5-C6, D1-D2, D5-D6
  • Terminal/Tray: 12066493/3
  • Core/Insulation Crimp: B/G
  • Release Tool/Test Probe: 12094430/J-35616-43 (RD)
  • Pins: C2
  • Terminal/Tray: 12020126/2
  • Core/Insulation Crimp: See Terminal Repair Kit
  • Release Tool/Test Probe: 12094430/J-35616-43 (RD)
  • Pins: E8, E11
  • Terminal/Tray: 12084586/4
  • Core/Insulation Crimp: F/G
  • Release Tool/Test Probe: 12094430/J-35616-5 (PU)
  • Pins: E13
  • Terminal/Tray: 12020116/2
  • Core/Insulation Crimp: C/D
  • Release Tool/Test Probe: 12094430/J-35616-5 (PU)

X201 Steering Column Harness to I/P Harness

Pin

Wire

Circuit

Function

Pin

Wire

Circuit

Function

A1

--

--

Not Used

A1

--

--

Not Used

A2

0.8 PK

139

Ignition 1 Voltage

A2

0.8 PK

139

Ignition 1 Voltage

A3

1.0 L-BU

1696

Turn/Hazard Module 2 Supply Voltage

A3

1.0 GY

1696

Turn/Hazard Module 2 Supply Voltage

A4-A5

--

--

Not Used

A4-A5

--

--

Not Used

A6

1.0 D-BU

15

Right Turn Signal Lamps Supply Voltage

A6

1.0 D-BU

15

Right Turn Signal Lamps Supply Voltage

A7

1.0 L-BU

14

Left Turn Signal Lamps Supply Voltage

A7

1.0 L-BU

14

Left Turn Signal Lamps Supply Voltage

A8-A10

--

--

Not Used

A8-A10

--

--

Not Used

A11

0.5 BK

28

Horn Relay Control

A11

0.5 BK

28

Horn Relay Control

A12

0.5 GY

397

Cruise Control On Switch Signal

A12

0.8 GY

397

Cruise Control On Switch Signal (LF6)

0.5 GY

397

Cruise Control On Switch Signal (w/o LF6)

A13

0.5 BK

639

Ignition 1 Voltage

A13

0.8 BK/WH

451

Ground (w/LF6)

0.5 PK

639

Ignition 1 Voltage (w/o LF6)

A14

0.5 D-BU

84

Cruise Control Set/Coast Switch Signal

A14

0.8 D-BU

84

Cruise Control Set/Coast Switch Signal (w/LF6)

0.5 D-BU

84

Cruise Control Set/Coast Switch Signal (w/o LF6)

A15

0.5 GY

87

Cruise Control Resume/Accel Switch Signal

A15

0.8 GY/BK

87

Cruise Control Resume/Accel Switch Signal (w/LF6)

0.5 GY/BK

87

Cruise Control Resume/Accel Switch Signal (w/o LF6)

A16-A17

--

--

Not Used

A16-A17

--

--

Not Used

B1-B2

--

--

Not Used

B1-B2

--

--

Not Used

B3

0.5 L-GN

80

Key In Ignition Switch Signal

B3

0.5 L-GN

80

Key In Ignition Switch Signal

B4

0.5 TN

159

Key Out Ignition Switch Signal

B4

0.5 TN

159

Key Out Ignition Switch Signal

B5-B6

--

--

Not Used

B5-B6

--

--

Not Used

C1

5.0 WH

1390

Off/Run/Crank Voltage

C1

5.0 WH

1390

Off/Run/Crank Voltage

C2

0.5 BK/WH

750

Ground

C2

0.5 BK/WH

750

Ground

C3-C4

--

--

Not Used

C3-C4

--

--

Not Used

C5

5.0 PK

3

Ignition 1 Voltage

C5

5.0 PK

3

Ignition 1 Voltage

C6

5.0 OG

300

Ignition 3 Voltage

C6

5.0 OG

300

Ignition 3 Voltage

D1

5.0 YE

5

Crank Voltage

D1

5.0 YE

5

Crank Voltage

D2

5.0 RD

342

Battery Positive Voltage

D2

5.0 RD

342

Battery Positive Voltage

D3-D4

--

--

Not Used

D3-D4

--

--

Not Used

D5

5.0 RD/WH

242

Battery Positive Voltage

D5

5.0 RD/WH

242

Battery Positive Voltage

D6

5.0 BN

4

Accessory Voltage

D6

5.0 BN

4

Accessory Voltage

E1

1.0 L-GN

1696

Turn/Hazard Module 2 Supply Voltage

E1

1.0 GY

1696

Turn/Hazard Module 2 Supply Voltage

E2

1.0 WH

895

Left Rear Stop Lamp Supply Voltage

E2

1.0 YE

895

Left Rear Stop Lamp Supply Voltage

E3

1.0 PU

92

Windshield Wiper Motor High Speed

E3

1.0 PU

92

Windshield Wiper Motor High Speed

E4

1.0 YE

43

Accessory Voltage

E4

1.0 YE

43

Accessory Voltage

E5

1.0 GY

96

Windshield Wiper Switch Pulse Delay Signal

E5

1.0 BN

96

Windshield Wiper Switch Pulse Delay Signal

E6

1.0 D-GN

19

Right Turn Lamp Supply Voltage

E6

1.0 D-GN

19

Right Turn Lamp Supply Voltage

E7

1.0 YE

18

Left Turn Lamp Supply Voltage

E7

1.0 YE

18

Left Turn Lamp Supply Voltage

E8

2.0 OG

1040

Battery Positive Voltage

E8

2.0 OG

1040

Battery Positive Voltage

E9

1.0 PU

1697

Turn/Hazard Module Signal

E9

1.0 PU

1697

Turn/Hazard Module Signal

E10

--

--

Not Used

E10

--

--

Not Used

E11

2.0 L-GN

11

Headlamp High Beam Supply Voltage

E11

2.0 L-GN

11

Headlamp High Beam Supply Voltage

E12

1.0 TN

12

Headlamp Low Beam Supply Voltage (w/o DRL)

E12

1.0 TN

12

Headlamp Low Beam Supply Voltage (w/o DRL)

1.0 PU

544

Headlamp Low Beam Supply Voltage (w/DRL)

1.0 PU

544

Headlamp Low Beam Supply Voltage (w/DRL)

E13

1.0 L-BU

10

Headlamp Switch Signal

E13

1.0 YE

10

Headlamp Switch Signal

X202 I/P Switchbank Harness to I/P Harness


Object Number: 655763  Size: CH

Object Number: 655824  Size: CH

Connector Part Information

  • OEM: 15304908
  • Service: 15304908
  • Description: 30-Way F GT 150 280 Series (BK)

Connector Part Information

  • OEM: 15326762
  • Service: 15326762
  • Description: 30-Way M GT 150 280 Series (BK)

Terminal Part Information

  • Pins: A1-A6, A10-A15, B1-B6, B10-B12, B14-B15
  • Terminal/Tray: 12191812/19
  • Core/Insulation Crimp: Pins: A1-A6, A10-A14, B2-B6, B11-B12, B14-B15: E/C
  • Core/Insulation Crimp: Pins: A15 , B1, B10: C/A
  • Release Tool/Test Probe: 15315247/J-35616-2A (GY)
  • Pins: A7-A8, B8
  • Terminal/Tray: 15304711/8
  • Core/Insulation Crimp: Pins: A7, B8: 2/A
  • Core/Insulation Crimp: Pins: A8: E/A
  • Release Tool/Test Probe: 15315247/J-35616-4A (PU)
  • Pins: B2
  • Terminal/Tray: See Terminal Repair Kit
  • Core/Insulation Crimp: See Terminal Repair Kit
  • Release Tool/Test Probe: See Terminal Repair Kit
  • Pins: B7
  • Terminal/Tray: 15304713/19
  • Core/Insulation Crimp: 4/4
  • Release Tool/Test Probe: 15315247/J-35616-4A (PU)

Terminal Part Information

  • Pins: A1-A6, A10-A13, A15, B1-B6, B10-B12, B14-B15
  • Terminal/Tray: 15304702/19
  • Core/Insulation Crimp: Pins: A1-A6, A10-A13, B2-B6, B11-B12, B14-B15: E/4
  • Core/Insulation Crimp: Pins: A15, B1, B10: 2/4
  • Release Tool/Test Probe: 15315247/J-35616-3 (GY)
  • Pins: A7-A8
  • Terminal/Tray: 15304722/8
  • Core/Insulation Crimp: E/C
  • Release Tool/Test Probe: 15315247/J-35616-5 (PU)
  • Pins: A14
  • Terminal/Tray: See Terminal Repair Kit
  • Core/Insulation Crimp: See Terminal Repair Kit
  • Release Tool/Test Probe: See Terminal Repair Kit
  • Pins: B7-B8
  • Terminal/Tray: 15304724/8
  • Core/Insulation Crimp: Pins: B7: C/D
  • Core/Insulation Crimp: Pins: B8: 2/A
  • Release Tool/Test Probe: 15315247/J-35616-5 (PU)

X202 I/P Switchbank Harness to I/P Harness

Pin

Wire

Circuit

Function

Pin

Wire

Circuit

Function

A1

0.5 L-GN

488

PTO On Switch Signal

A1

0.5 L-GN

488

PTO On Switch Signal

A2

0.5 BK

750

Ground

A2

0.5 BK

750

Ground (LF6)

0.5 RD

2013

High Idle Indicator Control (w/o LF6)

A3

0.5 D-GN

534

High Idle Switch Signal

A3

0.5 D-GN

534

High Idle Switch Signal

A4

0.5 WH

1808

Service Traction Control Signal (NW9)

A4

0.5 WH

1808

Service Traction Control Signal (NW9)

A5

0.5 L-BU

832

Traction Control Active Signal (NW9)

A5

0.5 L-BU

832

Traction Control Active Signal (NW9)

A6

0.5 BN/WH

1571

Traction Control Switch Signal (NW9)

A6

0.5 BN/WH

1571

Traction Control Switch Signal (NW9)

A7

0.8 D-BU

1944

Suspension Dump Valve Solenoid Control (G40/G45/GSJ)

A7

0.8 D-BU

1944

Suspension Dump Valve Solenoid Control (G40/G45/GSJ)

A8

0.5 PK

239

Ignition 1 Voltage

A8

0.5 BK

451

Ground (LF6)

0.5 PK

239

Ignition 1 Voltage (w/o LF6)

A9

0.5 D-GN/WH

950

Regeneration Switch (w/o L18)

A9

0.5 D-GN/WH

7657

Regeneration Switch (w/o L18)

A10

0.5 TN/BK

371

I/P Module Disable Switch - Signal (AK5)

A10

0.5 TN/BK

371

I/P Module Disable Switch - Signal (AK5)

A11

0.5 PK

353

I/P Module Suppression Indicator Control (AK5)

A11

0.5 PK

353

I/P Module Suppression Indicator Control (AK5)

A12

0.5 BN

541

Ignition 3 Voltage

A12

0.5 BN

541

Ignition 3 Voltage (C6/C7/C8)

A13

0.5 OG/BK

2666

Battery Positive Voltage

A13

0.5 OG/BK

2666

Battery Positive Voltage

A14

0.5 L-GN

488

PTO On Switch Signal

A14

0.5 L-GN

488

PTO On Switch - Signal (w/o LF6/CTF)

0.5 PK

239

Ignition 1 Voltage (LF6/CTF)

A15

0.8 BN

2509

Left Rear Park Lamps Supply Voltage

A15

0.8 BN

2509

Left Rear Park Lamps Supply Voltage

B1

0.8 OG

267

Heated Mirror Supply Voltage

B1

0.8 OG

267

Heated Mirror Supply Voltage

B2

0.5 BN

441

Ignition 3 Voltage

B2

0.5 BN

441

Ignition 3 Voltage (w/o LF6)

0.8 RD

2013

High Idle Indicator Control (LF6)

B3

0.5 L-GN

2081

Engine Exhaust Brake Switch Signal (K40)

B3

0.5 L-GN

2081

Engine Exhaust Brake Switch Signal (K40)

B4

0.5 BK

750

Ground

B4

0.5 BK

750

Ground (w/o LF6)

0.5 BK/WH

451

Ground (w/LF6)

B5

0.5 BN

541

Ignition 3 Voltage (K40)

B5

0.5 BN

541

Ignition 3 Voltage (K40)

B6

0.5 YE

1139

Ignition 1 Voltage (K40)

B6

0.5 YE

1139

Ignition 1 Voltage (K40)

B7

2.0 BK

750

Ground

B7

2.0 BK

750

Ground

B8

1.0 PU/WH

1382

LED Dimming Signal (K40)

B8

1.0 PU/WH

1382

LED Dimming Signal (K40)

B9

0.5 L-GN/BK

951

Regeneration Switch LED (w/o L18)

B9

0.5 L-GN/BK

7656

Regeneration Switch LED (w/o L18)

B10

0.8 BN

641

Ignition 3 Voltage

B10

0.8 BN

641

Ignition 3 Voltage

B11

0.5 GY

8

Instrument Panel Lamps Dimmer Switch Signal

B11

0.5 GY

8

Instrument Panel Lamps Dimmer Switch Signal

B12

0.5 BK

750

Ground

B12

0.5 BK

750

Ground

B13

0.5 BN

541

Ignition 3 Voltage (w/o L18)

B13

0.5 BN

541

Ignition 3 Voltage (w/o L18)

B14

0.5 GY/BK

1467

Shift Motor Relay - Control (HPZ)

B14

0.5 GY/BK

1467

Shift Motor Relay - Control (HPZ)

B15

0.5 PK

239

Ignition 1 Voltage

B15

0.5 PK

239

Ignition 1 Voltage

X203 I/P Harness to Body/Roof Harness


Object Number: 823321  Size: CH

Object Number: 823318  Size: CH

Connector Part Information

  • OEM: 15326952
  • Service: 15306426
  • Description: 16-Way F 280 Series (BK)

Connector Part Information

  • OEM: 15326956
  • Service: 15326956
  • Description: 16-Way M 280 Series (BK)

Terminal Part Information

  • Terminal/Tray: 15304711/8
  • Core/Insulation Crimp: Pins: A-B, P-R: 2/A
  • Core/Insulation Crimp: Pins: C-N, S: E/A
  • Release Tool/Test Probe: 15315247/J-35616-4A (PU)

Terminal Part Information

  • Pins: A-C, R
  • Terminal/Tray: 15304724/8
  • Core/Insulation Crimp: 2/A
  • Release Tool/Test Probe: 15315247/J-35616-5 (PU)
  • Pins: D-P, S
  • Terminal/Tray: 15304722/8
  • Core/Insulation Crimp: E/C
  • Release Tool/Test Probe: 15315247/J-35616-5 (PU)

X203 I/P Harness to Body/Roof Harness

Pin

Wire

Circuit

Function

Pin

Wire

Circuit

Function

A

1.0 D-GN

21

Marker Lamps Supply Voltage (w/o UZA)

A

1.0 D-GN

21

Marker Lamps Supply Voltage (w/o UZA)

B

1.0 BK

750

Ground

B

1.0 BK

750

Ground

C

0.5 OG

40

Battery Positive Voltage

C

0.5 OG

40

Battery Positive Voltage (Crew Cab)

0.8 OG

40

Battery Positive Voltage (w/o Crew Cab)

D

0.5 WH

156

Courtesy Lamp Switch Signal

D

0.5 WH

156

Courtesy Lamp Switch Signal

E

0.5 YE

1139

Ignition 1 Voltage (AJ3/AK5)

E

0.5 YE

1139

Ignition 1 Voltage (AJ3/AK5)

F

0.5 D-GN

348

Steering Wheel Module - Low Control (AJ3/AK5)

F

0.5 D-GN

348

Steering Wheel Module - Low Control (AJ3/AK5)

G

0.5 WH

347

Steering Wheel Module - High Control (AJ3/AK5)

G

0.5 WH

347

Steering Wheel Module - High Control (AJ3/AK5)

H

0.5 D-BU

1128

SDM Class 2 Serial Data (AJ3/AK5)

H

0.5 D-BU

1128

SDM Class 2 Serial Data (AJ3/AK5)

J

0.5 YE

1834

Forward Discriminating Sensor Signal (AJ3/AK5)

J

0.5 YE

1834

Forward Discriminating Sensor Signal (AJ3/AK5)

K

0.5 TN/BK

371

I/P Module Disable Switch - Signal (AK5)

K

0.5 TN/BK

371

I/P Module Disable Switch - Signal (AK5)

L

0.5 PK

353

I/P Module Suppression Indicator Control (AK5)

L

0.5 PK

353

I/P Module Suppression Indicator Control (AK5)

M

0.5 WH/BK

1403

I/P Module - High Control (AK5)

M

0.5 WH/BK

1403

I/P Module - High Control (AK5)

N

0.5 D-GN/WH

1404

I/P Module - Low Control (AK5)

N

0.5 D-GN/WH

1404

I/P Module - Low Control (AK5)

P

0.8 BK/WH

1751

Ground (AJ3/AK5)

P

0.5 BK/WH

1751

Ground (AJ3/AK5)

R

1.0 OG

840

Battery Positive Voltage

R

1.0 OG

840

Battery Positive Voltage

S

0.5 GY

2260

Discriminating Sensor - Low Reference (AJ3/AK5)

S

0.5 GY

2260

Discriminating Sensor - Low Reference (AJ3/AK5)

X204 Cross Body Harness to Body/Roof Harness (Crew Cab)


Object Number: 623046  Size: CH

Object Number: 800517  Size: CH

Connector Part Information

  • OEM: 15326931
  • Service: 15306309
  • Description: 10-Way F GT 280 Series (BK)

Connector Part Information

  • OEM: 15326935
  • Service: 15306305
  • Description: 10-Way M GT 280 Series (BK)

Terminal Part Information

  • Terminal/Tray: See Terminal Repair Kit
  • Core/Insulation Crimp: See Terminal Repair Kit
  • Release Tool/Test Probe: See Terminal Repair Kit

Terminal Part Information

  • Pins: A-G, J
  • Terminal/Tray: 15304724/8
  • Core/Insulation Crimp: Pins: A-B, J: 2/A
  • Core/Insulation Crimp: Pins: C-G: C/D
  • Release Tool/Test Probe: 15315247/J-35616-5 (PU)
  • Pins: H, K
  • Terminal/Tray: 15304722/8
  • Core/Insulation Crimp: E/C
  • Release Tool/Test Probe: 15315247/J-35616-5 (PU)

X204 Cross Body Harness to Body/Roof Harness (Crew Cab)

Pin

Wire

Circuit

Function

Pin

Wire

Circuit

Function

A

1.0 TN

294

Door Lock Actuator Unlock Control

A

1.0 TN

294

Door Lock Actuator Unlock Control

B

1.0 GY

295

Door Lock Actuator Lock Control

B

1.0 GY

295

Door Lock Actuator Lock Control

C

2.0 PU

169

Power Window Master Switch Left Rear Down Signal

C

2.0 PU

169

Power Window Master Switch Left Rear Down Signal

D

2.0 D-GN

168

Power Window Master Switch Left Rear Up Signal

D

2.0 D-GN

168

Power Window Master Switch Left Rear Up Signal

E

2.0 YE

343

Accessory Voltage

E

2.0 YE

343

Accessory Voltage

F

2.0 PU

171

Power Window Master Switch Right Rear Down Signal

F

2.0 PU

171

Power Window Master Switch Right Rear Down Signal

G

2.0 L-GN

170

Power Window Master Switch Right Rear Up Signal

G

2.0 L-GN

170

Power Window Master Switch Right Rear Up Signal

H

0.5 BN

2509

Left Rear Park Lamps Supply Voltage

H

0.5 BN

2509

Left Rear Park Lamps Supply Voltage

J

1.0 BK

550

Ground

J

1.0 BK

550

Ground

K

0.5 PU

328

Interior Lamp Switch Signal

K

0.5 PU

328

Interior Lamp Switch Signal

X205 I/P Harness to Body/Roof Harness (Crew Cab)


Object Number: 888055  Size: CH

Object Number: 1566620  Size: CH

Connector Part Information

  • OEM: 12015952
  • Service: 12117353
  • Description: 1-Way F Metri-Pack 480 Series (GY)

Connector Part Information

  • OEM: 12015987
  • Service: 12117383
  • Description: 1-Way M Metri-Pack 480 Series (GY)

Terminal Part Information

  • Terminal/Tray: 12124304/2
  • Core/Insulation Crimp: A/B
  • Release Tool/Test Probe: 12094430/J-35616-40 (BU)

Terminal Part Information

  • Terminal/Tray: 12020120/2
  • Core/Insulation Crimp: A/D
  • Release Tool/Test Probe: 12094430/J-35616-41 (BU)

X205 I/P Harness to Body/Roof Harness (Crew Cab)

Pin

Wire

Circuit

Function

Pin

Wire

Circuit

Function

A

2.0 PU

293

Rear Defog Element Supply Voltage

A

2.0 PU

293

Rear Defog Element Supply Voltage

X206 I/P Harness to Body/Roof Harness (Crew Cab)


Object Number: 646420  Size: CH

Object Number: 744044  Size: CH

Connector Part Information

  • OEM: 15332135
  • Service: 15306414
  • Description: 4-Way F GT 150 Series (BK)

Connector Part Information

  • OEM: 15332136
  • Service: 88953354
  • Description: 4-Way M GT 150 Series (BK)

Terminal Part Information

  • Terminal/Tray: 12191812/19
  • Core/Insulation Crimp: E/C
  • Release Tool/Test Probe: 15315247/J-35616-2A (GY)

Terminal Part Information

  • Terminal/Tray: 15304702/19
  • Core/Insulation Crimp: E/4
  • Release Tool/Test Probe: 15315247/J-35616-3 (GY)

X206 I/P Harness to Body/Roof Harness (Crew Cab)

Pin

Wire

Circuit

Function

Pin

Wire

Circuit

Function

A

0.5 L-BU

115

Right Rear Speaker Output (-)

A

0.5 L-BU

115

Right Rear Speaker Output (-)

B

0.5 D-BU

46

Right Rear Speaker Output (+)

B

0.5 D-BU

46

Right Rear Speaker Output (+)

C

0.5 YE

116

Left Rear Speaker Output (-)

C

0.5 YE

116

Left Rear Speaker Output (-)

D

0.5 BN

199

Left Rear Speaker Output (+)

D

0.5 BN

199

Left Rear Speaker Output (+)

X207 I/P Harness to Cross Body Harness


Object Number: 655763  Size: CH

Object Number: 655824  Size: CH

Connector Part Information

  • OEM: 15304908
  • Service: 15304908
  • Description: 30-Way F GT 150 280 Series (BK)

Connector Part Information

  • OEM: 15326762
  • Service: 15326762
  • Description: 30-Way M GT 150 280 Series (BK)

Terminal Part Information

  • Pins: A1-A6, A10-A15, B1-B6, B10, B12-B15
  • Terminal/Tray: 12191812/19
  • Core/Insulation Crimp: Pins: A1-A5, A10-A15, B1-B2, B5-B6, B10, B12, B15: E/C
  • Core/Insulation Crimp: Pins: A6, B3-B4, B13-B14: C/A
  • Release Tool/Test Probe: 15315247/J-35616-2A (GY)
  • Pins: A7, A9, B7-B9
  • Terminal/Tray: 15304711/8
  • Core/Insulation Crimp: Pins: A7, A9, B7-B8: 2/A
  • Core/Insulation Crimp: Pins: B9: E/A
  • Release Tool/Test Probe: 15315247/J-35616-4A (PU)
  • Pins: A8
  • Terminal/Tray: 15304713/19
  • Core/Insulation Crimp: 4/4
  • Release Tool/Test Probe: 15315247/J-35616-4A (PU)

Terminal Part Information

  • Pins: A1-A5, A10-A15, B1-B6, B10, B12-B15
  • Terminal/Tray: 15304702/19
  • Core/Insulation Crimp: Pins: A1-A5, A10-A15, B1-B2, B5-B6, B10, B12, B15: E/4
  • Core/Insulation Crimp: Pins: B3-B4, B13-B14: 2/4
  • Release Tool/Test Probe: 15315247/J-35616-3 (GY)
  • Pins: A6-A7
  • Terminal/Tray: See Terminal Repair Kit
  • Core/Insulation Crimp: See Terminal Repair Kit
  • Release Tool/Test Probe: See Terminal Repair Kit
  • Pins: A8-A9, B7-B8
  • Terminal/Tray: 15304724/8
  • Core/Insulation Crimp: Pins: A8: C/D
  • Core/Insulation Crimp: Pins: A9, B7-B8: 2/A
  • Release Tool/Test Probe: 15315247/J-35616-5 (PU)
  • Pins: B9
  • Terminal/Tray: 15304722/8
  • Core/Insulation Crimp: E/C
  • Release Tool/Test Probe: 15315247/J-35616-5 (PU)

X207 I/P Harness to Cross Body Harness

Pin

Wire

Circuit

Function

Pin

Wire

Circuit

Function

A1

0.5 BK/WH

746

Right Front Door Ajar Switch Signal

A1

0.5 BK/WH

746

Right Front Door Ajar Switch Signal

A2

0.5 BN

2509

Left Rear Park Lamps Supply Voltage (AU0/AU3/A31)

A2

0.5 BN

2509

Left Rear Park Lamps Supply Voltage (AU0/AU3/A31)

A3

0.5 GY

157

Left Speaker Output (+)

A3

0.5 GY

157

Left Speaker Output (+)

A4

0.5 BK/WH

1455

Keyless Entry Program Enable Signal (AU0)

A4

0.5 BK/WH

1455

Keyless Entry Program Enable Signal (AU0)

A5

0.5 WH

156

Right Speaker Output (-)

A5

0.5 WH

156

Right Speaker Output (-)

A6

0.8 OG

267

Heated Mirror Supply Voltage (DB6/DB8)

A6

0.8 OG

267

Heated Mirror Supply Voltage (DB6/DB8)

A7

1.0 D-GN

21

Marker Lamps Supply Voltage (DB6/DB7)

A7

1.0 D-GN

21

Marker Lamps Supply Voltage (DB6/DB7)

A8

2.0 YE

343

Accessory Voltage (AU0/AU3)

A8

2.0 YE

343

Accessory Voltage (AU0/AU3)

A9

1.0 OG

540

Battery Positive Voltage

A9

1.0 OG

540

Battery Positive Voltage

A10

0.5 PK

39

Ignition 1 Voltage (AU0/AU3)

A10

0.5 PK

39

Ignition 1 Voltage (AU0/AU3)

A11

0.5 BN/WH

379

CPP Switch Signal (Manual Transmission)

A11

0.5 BN/WH

379

CPP Switch Signal (Manual Transmission)

A12

0.5 GY

118

Left Front Speaker Output (-)

A12

0.5 GY

118

Left Front Speaker Output (-)

A13

0.5 TN

201

Left Front Speaker Output (+)

A13

0.5 TN

201

Left Front Speaker Output (+)

A14

0.5 D-GN

117

Right Front Speaker Output (-)

A14

0.5 D-GN

117

Right Front Speaker Output (-)

A15

0.5 L-GN

200

Right Front Speaker Output (+)

A15

0.5 L-GN

200

Right Front Speaker Output (+)

B1

0.5 PU

328

Interior Lamp Defeat Switch Signal

B1

0.5 PU

328

Interior Lamp Defeat Switch Signal

B2

0.5 TN

159

Key Out Ignition Switch Signal

B2

0.5 TN

159

Key Out Ignition Switch Signal

B3-B4

--

--

Not Used

B3

--

--

Not Used

B5

0.5 BN

441

Ignition 3 Voltage

B5

0.5 BN

441

Ignition 3 Voltage

B6

0.5 PU

420

TCC Brake Switch/Cruise Control Release Signal

B6

0.5 PU

420

TCC Brake Switch/Cruise Control Release Signal

B7

1.0 WH

17

Stop Lamp Switch Signal

B7

1.0 WH

17

Stop Lamp Switch Signal

B8

1.0 OG

140

Battery Positive Voltage

B8

1.0 OG

140

Battery Positive Voltage

B9

0.5 D-GN

1433

PNP/Clutch Start Switch Signal

B9

0.5 D-GN

1433

PNP/Clutch Start Switch Signal

B10

0.5 BN

441

Ignition 3 Voltage (w/o LF6)

B10

0.5 BN

441

Ignition 3 Voltage

0.5 BK/WH

451

Ground (LF6)

B11

--

--

Not Used

B11

--

--

Not Used

B12

0.5 PU

806

Crank Voltage

B12

0.5 PU

806

Crank Voltage

B13

0.8 BN

86

Cruise Control Release Signal

B13

0.8 BN

86

Cruise Control Release Signal

B14

0.8 BK/WH

451

Ground

B14

0.8 BK/WH

451

Ground

B15

0.5 BK

28

Horn Relay Control

B15

0.5 BK

28

Horn Relay Control

X208 Cross Body Harness to Stop Lamp Switch Harness


Object Number: 646380  Size: CH

Object Number: 814091  Size: CH

Connector Part Information

  • OEM: 15326900
  • Service: 15306380
  • Description: 6-Way F GT 280 Series (BK)

Connector Part Information

  • OEM: 15326904
  • Service: 88988314
  • Description: 6-Way M GT 280 Series (BK)

Terminal Part Information

  • Terminal/Tray: 15304711/8
  • Core/Insulation Crimp: Pins: A-B, E-F: 2/A
  • Core/Insulation Crimp: Pins: C-D: E/A
  • Release Tool/Test Probe: 15315247/J-35616-4A (PU)

Terminal Part Information

  • Pins: A-C, E-F
  • Terminal/Tray: 15304724/8
  • Core/Insulation Crimp: 2/A
  • Release Tool/Test Probe: 15315247/J-35616-5 (PU)
  • Pins: D
  • Terminal/Tray: 15304722/8
  • Core/Insulation Crimp: E/C
  • Release Tool/Test Probe: 15315247/J-35616-5 (PU)

X208 Cross Body Harness to Stop Lamp Switch Harness

Pin

Wire

Circuit

Function

Pin

Wire

Circuit

Function

A

1.0 OG

140

Battery Positive Voltage

A

1.0 OG

140

Battery Positive Voltage

B

1.0 WH

17

Stop Lamp Switch Signal

B

1.0 WH

17

Stop Lamp Switch Signal

C

0.5 BN

441

Ignition 3 Voltage

C

0.5 BN

441

Ignition 3 Voltage

D

0.5 PU

420

TCC Brake Switch/Cruise Control Release Signal

D

0.5 PU

420

TCC Brake Switch/Cruise Control Release Signal

E

0.8 BN

86

Cruise Control Release Signal

E

0.8 BN

86

Cruise Control Release Signal

F

0.8 BK/WH

451

Ground

F

0.8 BK/WH

451

Ground

X209 Body/Roof Harness to I/P Harness (Crew Cab)


Object Number: 68737  Size: CH

Object Number: 130696  Size: CH

Connector Part Information

  • OEM: 12129489
  • Service: 12126486
  • Description: 3-Way F Metri-Pack 280 Series Flexlock (BK)

Connector Part Information

  • OEM: 12129490
  • Service: 12129490
  • Description: 3-Way M Metri-Pack 280 Series (BK)

Terminal Part Information

  • Terminal/Tray: 12110844/4
  • Core/Insulation Crimp: Pins: A, C: C/A
  • Core/Insulation Crimp: Pins: B: E/A
  • Release Tool/Test Probe: 15315247/J-35616-4A (PU)

Terminal Part Information

  • Terminal/Tray: 12034047/2
  • Core/Insulation Crimp: Pins: A, C: C/D
  • Core/Insulation Crimp: Pins: B: E/A
  • Release Tool/Test Probe: 12094430/J-35616-5 (PU)

X209 Body/Roof Harness to I/P Harness (Crew Cab)

Pin

Wire

Circuit

Function

Pin

Wire

Circuit

Function

A

1.0 BN

141

Ignition 3 Voltage

A

1.0 BN

141

Ignition 3 Voltage

B

0.5 GY

8

Instrument Panel Lamps Dimmer Switch Signal

B

0.5 GY

8

Instrument Panel Lamps Dimmer Switch Signal

C

1.0 OG

540

Battery Positive Voltage

C

1.0 OG

540

Battery Positive Voltage

X210 I/P Harness to Park Brake Harness (JE3/Hand Operated Park Brake)


Object Number: 1385747  Size: CH

Object Number: 872877  Size: CH

Connector Part Information

  • OEM: 15332129
  • Service: 15306425
  • Description: 2-Way F GT 150 Series (BK)

Connector Part Information

  • OEM: 15332130
  • Service: 88986459
  • Description: 2-Way M GT 150 Series (BK)

Terminal Part Information

  • Terminal/Tray: 12191812/19
  • Core/Insulation Crimp: E/C
  • Release Tool/Test Probe: 15315247/J-35616-2A (GY)

Terminal Part Information

  • Terminal/Tray: 15304702/19
  • Core/Insulation Crimp: E/4
  • Release Tool/Test Probe: 15315247/J-35616-3 (GY)

X210 I/P Harness to Park Brake Harness (JE3/Hand Operated Park Brake)

Pin

Wire

Circuit

Function

Pin

Wire

Circuit

Function

A

0.5 L-BU

1134

Park Brake Switch Signal

A

0.5 L-BU

1134

Park Brake Switch Signal

B

0.5 BK

750

Ground

B

0.5 BK

750

Ground

X211 Door Harness - Driver to Cross Body Harness


Object Number: 655774  Size: CH

Object Number: 655773  Size: CH

Connector Part Information

  • OEM: 15317325
  • Service: 15317325
  • Description: 22-Way F GT 150 280 Series (L-GY)

Connector Part Information

  • OEM: 15317322
  • Service: 15317322
  • Description: 22-Way M GT 150 280 Series (L-GY)

Terminal Part Information

  • Pins: A1-A2, A9-A11, B1-B2, B9-B11,
  • Terminal/Tray: 12191812/19
  • Core/Insulation Crimp: Pins: A1-A2, A11, B1-B2: E/C
  • Core/Insulation Crimp: Pins: A9-A10, B9-B11: C/A
  • Release Tool/Test Probe: 15315247/J-35616-2A (GY)
  • Pins: A4, A8, B4-B6, B8
  • Terminal/Tray: 15304711/8
  • Core/Insulation Crimp: 2/A
  • Release Tool/Test Probe: 15315247/J-35616-4A (PU)
  • Pins: A5-A7, B7
  • Terminal/Tray: 15304713/19
  • Core/Insulation Crimp: 4/4
  • Release Tool/Test Probe: 15315247/J-35616-4A (PU)
  • Pins: B3
  • Terminal/Tray: See Terminal Repair Kit
  • Core/Insulation Crimp: See Terminal Repair Kit
  • Release Tool/Test Probe: See Terminal Repair Kit

Terminal Part Information

  • Pins: A1-A2, A11, B1-B2, B11
  • Terminal/Tray: 15304702/19
  • Core/Insulation Crimp: Pins: A1-A2, A11, B1-B2: E/4
  • Core/Insulation Crimp: Pins: B11: 2/4
  • Release Tool/Test Probe: 15315247/J-35616-3 (GY)
  • Pins: A4, A9-A10, B3, B9-B10,
  • Terminal/Tray: See Terminal Repair Kit
  • Core/Insulation Crimp: See Terminal Repair Kit
  • Release Tool/Test Probe: See Terminal Repair Kit
  • Pins: A5-A8, B4-B8
  • Terminal/Tray: 15304724/8
  • Core/Insulation Crimp: Pins: A5-A7, B7: C/D
  • Core/Insulation Crimp: Pins: A8, B4-B6: 2/A
  • Core/Insulation Crimp: Pins: B8: A/D
  • Release Tool/Test Probe: 15315247/J-35616-5 (PU)

X211 Door Harness - Driver to Cross Body Harness

Pin

Wire

Circuit

Function

Pin

Wire

Circuit

Function

A1

0.5 BN

2509

Left Rear Park Lamps Supply Voltage

A1

0.5 BN

2509

Left Rear Park Lamps Supply Voltage

A2

0.5 GY

118

Left Front Speaker Output (-)

A2

0.5 GY

118

Left Front Speaker Output (-)

A3

--

--

Not Used

A3

--

--

Not Used

A4

0.8 D-GN

21

Roof Clearance Lamp Switch Signal

A4

0.8 D-GN

21

Roof Clearance Lamp Switch Signal

A5

2.0 YE

343

Accessory Voltage

A5

2.0 YE

343

Accessory Voltage

A6

2.0 TN

167

Power Window Master Switch Right Front Down Signal

A6

2.0 TN

167

Power Window Master Switch Right Front Down Signal

A7

2.0 L-BU

166

Power Window Master Switch Right Front Up Signal

A7

2.0 L-BU

166

Power Window Master Switch Right Front Up Signal

A8

1.0 WH

194

Door Unlock Control

A8

1.0 WH

194

Door Unlock Control

A9

0.8 OG

267

Heated Mirror Supply Voltage

A9

0.8 OG

267

Heated Mirror Supply Voltage

A10

0.8 GY

90

Passenger Mirror Motor Left Control

A10

0.8 GY

90

Passenger Mirror Motor Left Control

A11

0.5 TN

201

Left Front Speaker Output (+)

A11

0.5 TN

201

Left Front Speaker Output (+)

B1

0.5 PU

328

Interior Lamp Switch Signal

B1

0.5 PU

328

Interior Lamp Switch Signal

B2

0.5 TN

159

Key Out Ignition Switch Signal

B2

0.5 TN

159

Key Out Ignition Switch Signal

B3

0.5 BK/WH

745

Left Front Door Ajar Switch Signal

B3

0.5 BK/WH

745

Left Front Door Ajar Switch Signal

B4

1.0 TN

294

Door Lock Actuator Unlock Control

B4

1.0 TN

294

Door Lock Actuator Unlock Control

B5

1.0 L-BU

195

Door Lock Control

B5

1.0 L-BU

195

Door Lock Control

B6

1.0 GY

295

Door Lock Actuator Lock Control

B6

1.0 GY

295

Door Lock Actuator Lock Control

B7

2.0 YE

343

Accessory Voltage

B7

2.0 YE

343

Accessory Voltage

B8

0.5 BK

550

Ground (DB5)

B8

1.0 BK

550

Ground (DB5/DB6/DB7/DB8)

1.0 BK

550

Ground (DB6/DB7/DB8)

3.0 BK

550

Ground (AU3/A31)

3.0 BK

550

Ground (AU3/A31)

B9

0.8 L-BU/WH

1497

Passenger Mirror Motor Left/Down Control

B9

0.8 L-BU/WH

1497

Passenger Mirror Motor Left/Down Control

B10

0.8 BN/WH

1498

Passenger Mirror Motor Up Control

B10

0.8 BN/WH

1498

Passenger Mirror Motor Up Control

B11

1.0 OG

540

Battery Positive Voltage

B11

1.0 OG

540

Battery Positive Voltage

X212 Door Harness - Passenger to Cross Body Harness


Object Number: 655774  Size: CH

Object Number: 655773  Size: CH

Connector Part Information

  • OEM: 15317325
  • Service: 15317325
  • Description: 22-Way F GT 150 280 Series (L-GY)

Connector Part Information

  • OEM: 15317322
  • Service: 15317322
  • Description: 22-Way M GT 150 280 Series (L-GY)

Terminal Part Information

  • Pins: A1-A2, A9-A10, B1, B3, B9-B11,
  • Terminal/Tray: 12191812/19
  • Core/Insulation Crimp: Pins: A1-A2, A11, B1, B3: E/C
  • Core/Insulation Crimp: Pins: A9-A10, B9-B11: C/A
  • Release Tool/Test Probe: 15315247/J-35616-2A (GY)
  • Pins: A4, A8, B4-B6, B8
  • Terminal/Tray: 15304711/8
  • Core/Insulation Crimp: 2/A
  • Release Tool/Test Probe: 15315247/J-35616-4A (PU)
  • Pins: A5-A7
  • Terminal/Tray: 15304713/19
  • Core/Insulation Crimp: 4/4
  • Release Tool/Test Probe: 15315247/J-35616-4A (PU)

Terminal Part Information

  • Pins: A1-A2, A11, B1, B3, B11
  • Terminal/Tray: 15304702/19
  • Core/Insulation Crimp: Pins: A1-A2, A11, B1, B3: E/4
  • Core/Insulation Crimp: Pins: B11: 2/4
  • Release Tool/Test Probe: 15315247/J-35616-3 (GY)
  • Pins: A4, A9-A10, B9-B10
  • Terminal/Tray: See Terminal Repair Kit
  • Core/Insulation Crimp: See Terminal Repair Kit
  • Release Tool/Test Probe: See Terminal Repair Kit
  • Pins: A5-A8, B4-B6, B8
  • Terminal/Tray: 15304724/8
  • Core/Insulation Crimp: Pins: A5-A7: C/D
  • Core/Insulation Crimp: Pins: A8, B4-B6: 2/A
  • Core/Insulation Crimp: Pins: B8: A/D
  • Release Tool/Test Probe: 15315247/J-35616-5 (PU)

X212 Door Harness - Passenger to Cross Body Harness

Pin

Wire

Circuit

Function

Pin

Wire

Circuit

Function

A1

0.5 BN

2509

Left Rear Park Lamps Supply Voltage

A1

0.5 BN

2509

Left Rear Park Lamps Supply Voltage

A2

0.5 D-GN

117

Right Front Speaker Output (-)

A2

0.5 D-GN

117

Right Front Speaker Output (-)

A3

--

--

Not Used

A3

--

--

Not Used

A4

0.8 D-GN

21

Roof Clearance Lamp Switch Signal

A4

0.8 D-GN

21

Roof Clearance Lamp Switch Signal

A5

2.0 YE

343

Accessory Voltage

A5

2.0 YE

343

Accessory Voltage

A6

2.0 TN

167

Power Window Master Switch Right Front Down Signal

A6

2.0 TN

167

Power Window Master Switch Right Front Down Signal

A7

2.0 L-BU

166

Power Window Master Switch Right Front Up Signal

A7

2.0 L-BU

166

Power Window Master Switch Right Front Up Signal

A8

1.0 WH

194

Door Unlock Control

A8

1.0 WH

194

Door Unlock Control

A9

0.8 OG

267

Heated Mirror Supply Voltage

A9

0.8 OG

267

Heated Mirror Supply Voltage

A10

0.8 GY

90

Passenger Mirror Motor Left Control

A10

0.8 GY

90

Passenger Mirror Motor Left Control

A11

0.5 L-GN

200

Right Front Speaker Output (+)

A11

0.5 L-GN

200

Right Front Speaker Output (+)

B1

0.5 PU

328

Interior Lamp Switch Signal

B1

0.5 PU

328

Interior Lamp Switch Signal

B2

--

--

Not Used

B2

--

--

Not Used

B3

0.5 BK/WH

746

Right Front Door Ajar Switch Signal

B3

0.5 BK/WH

746

Right Front Door Ajar Switch Signal

B4

1.0 TN

294

Door Lock Actuator Unlock Control

B4

1.0 TN

294

Door Lock Actuator Unlock Control

B5

1.0 L-BU

195

Door Lock Control

B5

1.0 L-BU

195

Door Lock Control

B6

1.0 GY

295

Door Lock Actuator Lock Control

B6

1.0 GY

295

Door Lock Actuator Lock Control

B7

--

--

Not Used

B7

--

--

Not Used

B8

0.5 BK

550

Ground (DB5)

B8

1.0 BK

550

Ground (DB5/DB6/DB7/DB8)

1.0 BK

550

Ground (DB6/DB7/DB8)

3.0 BK

550

Ground (AU3/A31)

3.0 BK

550

Ground (AU3/A31)

B9

0.8 L-BU/WH

1497

Passenger Mirror Motor Left/Down Control

B9

0.8 L-BU/WH

1497

Passenger Mirror Motor Left/Down Control

B10

0.8 BN/WH

1498

Passenger Mirror Motor Up Control

B10

0.8 BN/WH

1498

Passenger Mirror Motor Up Control

B11

1.0 OG

540

Battery Positive Voltage

B11

1.0 OG

540

Battery Positive Voltage

X213 Air Seat Jumper to I/P Harness (AEL)


Object Number: 847206  Size: CH

Object Number: 887079  Size: CH

Connector Part Information

  • OEM: 12040977
  • Service: 12085492
  • Description: 3-Way F Metri-Pack 280 Series, Sealed (BK)

Connector Part Information

  • OEM: 15300003
  • Service: 15300003
  • Description: 3-Way M Metri-Pack 280 Series, Sealed (BK)

Terminal Part Information

  • Terminal/Tray: 12129493/2
  • Core/Insulation Crimp: 4/5
  • Release Tool/Test Probe: 12094430/J-35616-4A (PU)

Terminal Part Information

  • Terminal/Tray: 12129497/1
  • Core/Insulation Crimp: F/5
  • Release Tool/Test Probe: 12094430/J-35616-5 (PU)

X213 Air Seat Jumper to I/P Harness (AEL)

Pin

Wire

Circuit

Function

Pin

Wire

Circuit

Function

A

3.0 OG

1840

Battery Positive Voltage

A

3.0 OG

1840

Battery Positive Voltage

B

--

--

Not Used

B

--

--

Not Used

C

3.0 BK

350

Ground

C

3.0 BK

350

Ground

X215 Mirror Harness to Door Harness - Driver


Object Number: 62439  Size: CH

Object Number: 62434  Size: CH

Connector Part Information

  • OEM: 12065398
  • Service: 12101822
  • Description: 8-Way F Metri-Pack 150 Series (NA)

Connector Part Information

  • OEM: 12065396
  • Service: 12162427
  • Description: 8-Way M Metri-Pack 150 Series (NA)

Terminal Part Information

  • Terminal/Tray: 12047767/2
  • Core/Insulation Crimp: E/A
  • Release Tool/Test Probe: 12094429/J-35616-2A (GY)

Terminal Part Information

  • Pins: A-D, F-H
  • Terminal/Tray: 12047581/2
  • Core/Insulation Crimp: E/A
  • Release Tool/Test Probe: 12094429/J-35616-3 (GY)
  • Pins: E
  • Terminal/Tray: See Terminal Repair Kit
  • Core/Insulation Crimp: See Terminal Repair Kit
  • Release Tool/Test Probe: See Terminal Repair Kit

X215 Mirror Harness to Door Harness - Driver

Pin

Wire

Circuit

Function

Pin

Wire

Circuit

Function

A

0.8 BK

550

Ground

A

0.8 BK

550

Ground

B

0.8 BK

550

Ground

B

0.8 BK

550

Ground

C

0.8 L-GN

1499

Driver Mirror Motor Left/Down Control

C

0.8 L-GN

1499

Driver Mirror Motor Left/Down Control

D

0.8 YE

1517

Driver Mirror Switch Up Signal

D

0.8 YE

1517

Driver Mirror Switch Up Signal

E

--

--

Not Used

E

--

--

Not Used

F

0.8 L-BU

1516

Driver Mirror Switch Left Signal

F

0.8 L-BU

1516

Driver Mirror Switch Left Signal

G

0.8 D-GN

21

Roof Clearance Lamp Switch Signal

G

0.8 D-GN

21

Roof Clearance Lamp Switch Signal

H

0.8 OG

267

Heated Mirror Supply Voltage

H

0.8 OG

267

Heated Mirror Supply Voltage

X216 Mirror Harness to Door Harness - Passenger


Object Number: 62439  Size: CH

Object Number: 62434  Size: CH

Connector Part Information

  • OEM: 12065398
  • Service: 12101822
  • Description: 8-Way F Metri-Pack 150 Series (NA)

Connector Part Information

  • OEM: 12065396
  • Service: 12162427
  • Description: 8-Way M Metri-Pack 150 Series (NA)

Terminal Part Information

  • Terminal/Tray: 12047767/2
  • Core/Insulation Crimp: E/A
  • Release Tool/Test Probe: 12094429/J-35616-2A (GY)

Terminal Part Information

  • Pins: A-D, F-H
  • Terminal/Tray: 12047581/2
  • Core/Insulation Crimp: E/A
  • Release Tool/Test Probe: 12094429/J-35616-3 (GY)
  • Pins: E
  • Terminal/Tray: See Terminal Repair Kit
  • Core/Insulation Crimp: See Terminal Repair Kit
  • Release Tool/Test Probe: See Terminal Repair Kit

X216 Mirror Harness to Door Harness - Passenger

Pin

Wire

Circuit

Function

Pin

Wire

Circuit

Function

A

0.8 BK

550

Ground

A

0.8 BK

550

Ground

B

0.8 BK

550

Ground

B

0.8 BK

550

Ground

C

0.8 L-GN

1497

Passenger Mirror Motor Left/Down Control

C

0.8 L-GN

1497

Passenger Mirror Motor Left/Down Control

D

0.8 YE

1498

Passenger Mirror Switch Up Signal

D

0.8 BN/WH

1498

Passenger Mirror Switch Up Signal

E

--

--

Not Used

E

--

--

Not Used

F

0.8 L-BU

90

Passenger Mirror Switch Left Signal

F

0.8 GY

1516

Passenger Mirror Switch Left Signal

G

0.8 D-GN

21

Roof Clearance Lamp Switch Signal

G

0.8 D-GN

21

Roof Clearance Lamp Switch Signal

H

0.8 OG

267

Heated Mirror Supply Voltage

H

0.8 OG

267

Heated Mirror Supply Voltage

X217 Door Harness - Driver to Cross Body Harness


Object Number: 698669  Size: CH

Object Number: 698671  Size: CH

Connector Part Information

  • OEM: 15326886
  • Service: 88988300
  • Description: 4-Way F GT 280 Series (BK)

Connector Part Information

  • OEM: 15326890
  • Service: 88953361
  • Description: 4-Way M GT 280 Series (BK)

Terminal Part Information

  • Terminal/Tray: 15304713/19
  • Core/Insulation Crimp: 4/4
  • Release Tool/Test Probe: 15315247/J-35616-4A (PU)

Terminal Part Information

  • Terminal/Tray: See Terminal Repair Kit
  • Core/Insulation Crimp: See Terminal Repair Kit
  • Release Tool/Test Probe: See Terminal Repair Kit

X217 Door Harness - Driver to Cross Body Harness

Pin

Wire

Circuit

Function

Pin

Wire

Circuit

Function

A

2.0 D-GN

168

Power Window Master Switch Left Rear Up Signal

A

2.0 D-GN

168

Power Window Master Switch Left Rear Up Signal

B

2.0 PU

169

Power Window Master Switch Left Rear Down Signal

B

2.0 PU

169

Power Window Master Switch Left Rear Down Signal

C

2.0 L-GN

170

Power Window Master Switch Right Rear Up Signal

C

2.0 L-GN

170

Power Window Master Switch Right Rear Up Signal

D

2.0 PU

171

Power Window Master Switch Right Rear Down Signal

D

2.0 PU

171

Power Window Master Switch Right Rear Down Signal

X218 I/P Harness to Air Temperature Actuator Jumper Harness


Object Number: 281207  Size: CH

Object Number: 1589826  Size: CH

Connector Part Information

  • OEM: 12040953
  • Service: 12102632
  • Description: 6-Way F Micro-Pack 100 Series (BK)

Connector Part Information

  • OEM: 12040952
  • Service: 12040952
  • Description: 6-Way M Micro-Pack 100 Series (BK)

Terminal Part Information

  • Terminal/Tray: 12146448/19
  • Core/Insulation Crimp: Pins: 7, 8: E/C
  • Core/Insulation Crimp: Pins: 10: E/A
  • Release Tool/Test Probe: 12031876-1/J-35616-6 (BN)

Terminal Part Information

  • Terminal/Tray: 12084449/8
  • Core/Insulation Crimp: E/A
  • Release Tool/Test Probe: 12094429/J-35616-7 (BN)

X218 I/P Harness to Air Temperature Actuator Jumper Harness

Pin

Wire

Circuit

Function

Pin

Wire

Circuit

Function

5-6

--

--

Not Used

5-6

--

--

Not Used

7

0.8 BK

450

Ground

7

0.8 BK

450

Ground

8

0.8 L-BU

733

Air Temperature Door Control

8

0.8 L-BU

733

Air Temperature Door Control

9

--

--

Not Used

9

--

--

Not Used

10

1.0 BN

141

Ignition 3 Voltage

10

1.0 BN

141

Ignition 3 Voltage

X275 Steering Column Harness to I/P Harness (AJ3/AK5)


Object Number: 847202  Size: CH

Object Number: 647932  Size: CH

Connector Part Information

  • OEM: 12186991
  • Service: See Catalog
  • Description: 2-Way F Metri-Pack 280 Series (YE)

Connector Part Information

  • OEM: 12186989
  • Service: 15306300
  • Description: 2-Way M Metri-Pack 280 Series, Pull To Seat (YE)

Terminal Part Information

  • Terminal/Tray: See Terminal Repair Kit
  • Core/Insulation Crimp: See Terminal Repair Kit
  • Release Tool/Test Probe: See Terminal Repair Kit

Terminal Part Information

  • Terminal/Tray: 12066337/18
  • Core/Insulation Crimp: E/A
  • Release Tool/Test Probe: 12094429/J-35616-5 (PU)

X275 Steering Column Harness to I/P Harness (AJ3/AK5)

Pin

Wire

Circuit

Function

Pin

Wire

Circuit

Function

A

0.5 WH

347

Steering Wheel Module - High Control

A

0.5 WH

347

Steering Wheel Module - High Control

B

0.5 D-GN

348

Steering Wheel Module - Low Control

B

0.5 D-GN

348

Steering Wheel Module - Low Control

X300 Transmission Harness to Engine Chassis Harness (Manual Transmission)


Object Number: 872518  Size: CH

Object Number: 872519  Size: CH

Connector Part Information

  • OEM: 15326636
  • Service: See Catalog
  • Description: 6-Way F GT 280 Series Sealed (BK)

Connector Part Information

  • OEM: 15326640
  • Service: 88953150
  • Description: 6-Way M GT 280 Series Sealed (BK)

Terminal Part Information

  • Terminal/Tray: See Terminal Repair Kit
  • Core/Insulation Crimp: See Terminal Repair Kit
  • Release Tool/Test Probe: See Terminal Repair Kit

Terminal Part Information

  • Terminal/Tray: 15304731/19
  • Core/Insulation Crimp: C/5
  • Release Tool/Test Probe: 15315247/J-35616-5 (PU)

X300 Transmission Harness to Engine Chassis Harness (Manual Transmission)

Pin

Wire

Circuit

Function

Pin

Wire

Circuit

Function

A

0.8 L-GN

24

Backup Lamp Supply Voltage

A

0.8 L-GN

24

Backup Lamp Supply Voltage

B

0.8 D-GN

2222

Signal Low - Rear

B

0.8 D-GN

2222

Signal Low - Rear

C

0.8 L-BU

2221

Signal High - Rear

C

0.8 L-BU

2221

Signal High - Rear

D

0.8 GY/BK

1467

Shift Motor Relay - Control

D

0.8 GY/BK

1467

Shift Motor Relay - Control

E

0.8 PK

139

Ignition 1 Voltage

E

0.8 PK

139

Ignition 1 Voltage

F

0.8 BK

250

Ground

F

0.8 BK/WH

451

Ground (LF6)

0.8 BK

250

Ground (w/o LF6)

X301 Body/Roof Harness to Rear Door Harness - Left (Crew Cab)


Object Number: 524414  Size: CH

Object Number: 524416  Size: CH

Connector Part Information

  • OEM: 15355586
  • Service: 15306389
  • Description: 12-Way F GT 280 Series (GY)

Connector Part Information

  • OEM: 15326018
  • Service: 15326018
  • Description: 12-Way M GT 280 Series (GY)

Terminal Part Information

  • Terminal/Tray: See Terminal Repair Kit
  • Core/Insulation Crimp: See Terminal Repair Kit
  • Release Tool/Test Probe: See Terminal Repair Kit

Terminal Part Information

  • Terminal/Tray: See Terminal Repair Kit
  • Core/Insulation Crimp: See Terminal Repair Kit
  • Release Tool/Test Probe: See Terminal Repair Kit

X301 Body/Roof Harness to Rear Door Harness - Left (Crew Cab)

Pin

Wire

Circuit

Function

Pin

Wire

Circuit

Function

A

0.5 BN

199

Left Rear Speaker Output (+)

A

0.5 BN

199

Left Rear Speaker Output (+)

B

0.5 YE

116

Left Rear Speaker Output (-)

B

0.5 YE

116

Left Rear Speaker Output (-)

C

1.0 TN

294

Door Lock Actuator Unlock Control

C

1.0 TN

294

Door Lock Actuator Unlock Control

D

1.0 GY

295

Door Lock Actuator Lock Control

D

1.0 GY

295

Door Lock Actuator Lock Control

E

2.0 D-GN

168

Power Window Master Switch Left Rear Up Signal

E

2.0 D-GN

168

Power Window Master Switch Left Rear Up Signal

F

2.0 YE

343

Accessory Voltage

F

2.0 YE

343

Accessory Voltage

G

2.0 PU

169

Power Window Master Switch Left Rear Down Signal

G

2.0 PU

169

Power Window Master Switch Left Rear Down Signal

H

0.5 BN

2509

Left Rear Park Lamps Supply Voltage

H

0.5 BN

2509

Left Rear Park Lamps Supply Voltage

J

0.5 PU

328

Interior Lamp Switch Signal

J

0.8 PU

328

Interior Lamp Switch Signal

K

1.0 BK

550

Ground

K

1.0 BK

550

Ground

L-M

--

--

Not Used

L-M

--

--

Not Used

X302 Body/Roof Harness to Rear Door Harness - Right (Crew Cab)


Object Number: 524414  Size: CH

Object Number: 524416  Size: CH

Connector Part Information

  • OEM: 15326021
  • Service: 15355586
  • Description: 12-Way F GT 280 Series (GY)

Connector Part Information

  • OEM: 15326018
  • Service: 15326018
  • Description: 12-Way M GT 280 Series (GY)

Terminal Part Information

  • Terminal/Tray: See Terminal Repair Kit
  • Core/Insulation Crimp: See Terminal Repair Kit
  • Release Tool/Test Probe: See Terminal Repair Kit

Terminal Part Information

  • Terminal/Tray: See Terminal Repair Kit
  • Core/Insulation Crimp: See Terminal Repair Kit
  • Release Tool/Test Probe: See Terminal Repair Kit

X302 Body/Roof Harness to Rear Door Harness - Right (Crew Cab)

Pin

Wire

Circuit

Function

Pin

Wire

Circuit

Function

A

0.5 D-BU

46

Right Rear Speaker Output (+)

A

0.5 D-BU

46

Right Rear Speaker Output (+)

B

0.5 L-BU

115

Right Rear Speaker Output (-)

B

0.5 L-BU

115

Right Rear Speaker Output (-)

C

1.0 TN

294

Door Lock Actuator Unlock Control

C

1.0 TN

294

Door Lock Actuator Unlock Control

D

1.0 GY

295

Door Lock Actuator Lock Control

D

1.0 GY

295

Door Lock Actuator Lock Control

E

2.0 L-GN

170

Power Window Master Switch Right Rear Up Signal

E

2.0 L-GN

170

Power Window Master Switch Right Rear Up Signal

F

2.0 YE

343

Accessory Voltage

F

2.0 YE

343

Accessory Voltage

G

2.0 PU

171

Power Window Master Switch Right Rear Down Signal

G

PU

171

Power Window Master Switch Right Rear Down Signal

H

0.5 BN

2509

Left Rear Park Lamps Supply Voltage

H

0.5 BN

2509

Left Rear Park Lamps Supply Voltage

J

0.5 PU

328

Interior Lamp Switch Signal

J

0.8 PU

328

Interior Lamp Switch Signal

K

1.0 BK

550

Ground

K

1.0 BK

550

Ground

L-M

--

--

Not Used

L-M

--

--

Not Used

X304 I/P Harness to Front Trailer Harness (RQ2 and U86 or RQ3)


Object Number: 62469  Size: CH

Object Number: 655684  Size: CH

Connector Part Information

  • OEM: 12064998
  • Service: 15306189
  • Description: 8-Way F Metri-Pack 280 Series (BK)

Connector Part Information

  • OEM: 12066195
  • Service: 15306155
  • Description: 8-Way M Metri-Pack 280 Series (BK)

Terminal Part Information

  • Pins: A, F
  • Terminal/Tray: See Terminal Repair Kit
  • Core/Insulation Crimp: See Terminal Repair Kit
  • Release Tool/Test Probe: See Terminal Repair Kit
  • Pins: B-E
  • Terminal/Tray: 12015858/4
  • Core/Insulation Crimp: F/G
  • Release Tool/Test Probe: 12094430/J-35616-4A (PU)
  • Pins: G-H
  • Terminal/Tray: 12066214/2
  • Core/Insulation Crimp: F/D
  • Release Tool/Test Probe: 12094430/J-35616-4A (PU)

Terminal Part Information

  • Pins: A-F
  • Terminal/Tray: 12084586/4
  • Core/Insulation Crimp: F/G
  • Release Tool/Test Probe: 12094430/J-35616-5 (PU)
  • Pins: G-H
  • Terminal/Tray: 12034047/2
  • Core/Insulation Crimp: C/D
  • Release Tool/Test Probe: 12094430/J-35616-5 (PU)

X304 I/P Harness to Front Trailer Harness (RQ2 and U86 or RQ3)

Pin

Wire

Circuit

Function

Pin

Wire

Circuit

Function

A

3.0 RD

1642

Battery Positive Voltage.

A

5.0 D-BU

1413

ABS Enable Relay - Contact

B

3.0 BN

9

Park Lamp Supply Voltage

B

3.0 BN

9

Park Lamp Supply Voltage

C

3.0 D-GN

319

Right Rear Trailer Stop/Turn Lamp Supply Voltage

C

3.0 D-GN

319

Right Rear Trailer Stop/Turn Lamp Supply Voltage

D

3.0 RD

1411

Trailer Stop Relay - Contact - NO

D

3.0 RD

1411

Trailer Stop Relay - Contact - NO

E

3.0 YE

318

Left Rear Trailer Stop/Turn Lamp Supply Voltage

E

3.0 YE

318

Left Rear Trailer Stop/Turn Lamp Supply Voltage

F

3.0 D-GN

21

Marker Lamp Supply Voltage

F

3.0 D-GN

21

Marker Lamp Supply Voltage

G

1.0 WH

17

Stop Lamp Switch Signal

G

1.0 WH

17

Stop Lamp Switch Signal

H

1.0 OG

140

Battery Positive Voltage

H

1.0 OG

140

Battery Positive Voltage

X305 Chassis Harness to Upfitter Supplied Harness


Object Number: 872520  Size: CH

Object Number: 872522  Size: CH

Connector Part Information

  • OEM: 15326910
  • Service: 88986268
  • Description: 12-Way F GT 280 Series Sealed (BK)

Connector Part Information

  • OEM: 15326915
  • Service: 88986269
  • Description: 12-Way M GT 280 Series Sealed (BK)

Terminal Part Information

  • Pins: A-H, K
  • Terminal/Tray: 15304719/19
  • Core/Insulation Crimp: 2/5
  • Release Tool/Test Probe: 15315247/J-35616-4A (PU)
  • Pins: L
  • Terminal/Tray: 15304720/19
  • Core/Insulation Crimp: 4/5
  • Release Tool/Test Probe: 15315247/J-35616-4A (PU)

Terminal Part Information

  • Terminal/Tray: See Terminal Repair Kit
  • Core/Insulation Crimp: See Terminal Repair Kit
  • Release Tool/Test Probe: See Terminal Repair Kit

X305 Chassis Harness to Upfitter Supplied Harness

Pin

Wire

Circuit

Function

Pin

Wire

Circuit

Function

A

0.8 YE/BK

1827

Vehicle Speed Signal

A

--

--

Upfitter Usage

B

1.0 BN/WH

2609

Park Lamps Supply Voltage

B

--

--

Upfitter Usage

C

1.0 YE

318

Left Rear Trailer Stop/Turn Lamp Supply Voltage

C

--

--

Upfitter Usage

D

1.0 BN

2509

Left Rear Park Lamps Supply Voltage

D

--

--

Upfitter Usage

E

0.8 L-BU

1320

Stop Lamp Supply Voltage

E

--

--

Upfitter Usage

F

0.8 BN

641

Ignition 3 Voltage

F

--

--

Upfitter Usage

G

1.0 D-GN

21

Marker Lamps Supply Voltage

G

--

--

Upfitter Usage

H

0.8 BK

350

Ground

H

--

--

Upfitter Usage

J

--

--

Not Used

J

--

--

Upfitter Usage

K

1.0 D-GN

319

Right Rear Trailer Stop/Turn Lamp Supply Voltage

K

--

--

Upfitter Usage

L

2.0 L-GN

24

Backup Lamp Supply Voltage

L

--

--

Upfitter Usage

M

--

--

Not Used

M

--

--

Upfitter Usage

X315 Console Harness to Body/Roof Harness


Object Number: 153645  Size: CH

Object Number: 258179  Size: CH

Connector Part Information

  • OEM: 12129081
  • Service: 12129081
  • Description: 2-Way F Metri-Pack 280 Series, Flexlock (BK)

Connector Part Information

  • OEM: 12129155
  • Service: 12129155
  • Description: 2-Way M Metri-Pack 280 Series, Flexlock (BK)

Terminal Part Information

  • Terminal/Tray: 12110844/4
  • Core/Insulation Crimp: C/A
  • Release Tool/Test Probe: 15315247/J-35616-4A (PU)

Terminal Part Information

  • Terminal/Tray: 12034047/2
  • Core/Insulation Crimp: C/D
  • Release Tool/Test Probe: 12094430/J-35616-5 (PU)

X315 Console Harness to Body/Roof Harness

Pin

Wire

Circuit

Function

Pin

Wire

Circuit

Function

A

1.0 OG

840

Battery Positive Voltage

A

1.0 OG

840

Battery Positive Voltage

B

1.0 BK

750

Ground

B

1.0 BK

750

Ground

X400 ABS Harness to Rear Chassis Harness (C6/C7 w/JE3)


Object Number: 646372  Size: CH

Object Number: 847234  Size: CH

Connector Part Information

  • OEM: 15326654
  • Service: 15306350
  • Description: 8-Way F GT 280 Series Sealed 5.8 (BK)

Connector Part Information

  • OEM: 15326655
  • Service: 15306424
  • Description: 8-Way M GT 280 Series Sealed 5.8 (BK)

Terminal Part Information

  • Terminal/Tray: See Terminal Repair Kit
  • Core/Insulation Crimp: See Terminal Repair Kit
  • Release Tool/Test Probe: See Terminal Repair Kit

Terminal Part Information

  • Pins: A, C, E-F, H
  • Terminal/Tray: 15304731/19
  • Core/Insulation Crimp: C/5
  • Release Tool/Test Probe: 15315247/J-35616-5 (PU)
  • Pins: D, G
  • Terminal/Tray: 15304732/8
  • Core/Insulation Crimp: A/5
  • Release Tool/Test Probe: 15315247/J-35616-5 (PU)

X400 ABS Harness to Rear Chassis Harness (C6/C7 w/JE3)

Pin

Wire

Circuit

Function

Pin

Wire

Circuit

Function

A

0.8 GY/BK

1467

Shift Motor Relay - Control (HPZ) Air Shift Switch Signal (HR1 or HR2)

A

0.8 GY/BK

1467

Shift Motor Relay - Control (HPZ) Air Shift Switch Signal (HR1 or HR2)

B

--

--

Not Used

B

--

--

Not Used

C

0.8 D-BU/WH

1911

Left Rear Wheel Speed Sensor Signal

C

0.8 D-BU/WH

1911

Left Rear Wheel Speed Sensor Signal

D

2.0 BK

350

Ground

D

2.0 BK

350

Ground

E

0.8 D-GN/WH

1912

Left Rear Wheel Speed Sensor Low Reference

E

0.8 D-GN/WH

1912

Left Rear Wheel Speed Sensor Low Reference

F

0.8 BK

250

Ground

F

0.8 BK

250

Ground

G

2.0 BN

241

Ignition 3 Voltage

G

2.0 BN

241

Ignition 3 Voltage

H

0.8 D-BU

1944

Suspension Dump Valve Solenoid Control

H

0.8 D-BU

1944

Suspension Dump Valve Solenoid Control

X401 ABS Harness to Rear Chassis Harness (JE4)


Object Number: 872899  Size: CH

Object Number: 847270  Size: CH

Connector Part Information

  • OEM: 15326908
  • Service: 15326908
  • Description: 16-Way F GT 280 Series Sealed (BK)

Connector Part Information

  • OEM: 15326667
  • Service: 88986347
  • Description: 16-Way M GT 280 Series Sealed (BK)

Terminal Part Information

  • Terminal/Tray: See Terminal Repair Kit
  • Core/Insulation Crimp: See Terminal Repair Kit
  • Release Tool/Test Probe: See Terminal Repair Kit

Terminal Part Information

  • Pins: A-G, J-M, P
  • Terminal/Tray: 15304731/19
  • Core/Insulation Crimp: Pins: A-D, J-K: 2/5
  • Core/Insulation Crimp: Pins: E-H, L-M, P: C/5
  • Release Tool/Test Probe: 15315247/J-35616-5 (PU)
  • Pins: R-S
  • Terminal/Tray: 15304732/8
  • Core/Insulation Crimp: A/5
  • Release Tool/Test Probe: 15315247/J-35616-5 (PU)

X401 ABS Harness to Rear Chassis Harness (JE4)

Pin

Wire

Circuit

Function

Pin

Wire

Circuit

Function

A

2.0 L-GN/WH

1918

Right Rear Modulator Exhaust Control

A

1.0 L-GN/WH

1918

Right Rear Modulator Exhaust Control

B

2.0 PU

1920

Right Rear Modulator Supply Voltage

B

2.0 PU

1920

Right Rear Modulator Supply Voltage

C

2.0 PK/BK

1919

Right Rear Modulator Hold Control

C

1.0 PK/BK

1919

Right Rear Modulator Hold Control

D

2.0 GY/BK

1913

Left Rear Modulator Supply Voltage

D

1.0 GY/BK

1913

Left Rear Modulator Supply Voltage

E

0.8 PK

2668

Traction Control Valve (Air) Hi

E

1.0 PK

2668

Traction Control Valve (Air) Hi

F

0.8 BK

250

Ground

F

0.8 BK

250

Ground

G

0.8 PK/WH

2669

Traction Control Valve (Air) Lo

G

1.0 PK/WH

2669

Traction Control Valve (Air) Lo

H

0.8 D-BU

1944

Suspension Dump Valve Solenoid Control

H

0.8 D-BU

1944

Suspension Dump Valve Solenoid Control

J

2.0 L-BU/BK

1914

Left Rear Modulator Hold Control

J

1.0 L-BU/BK

1914

Left Rear Modulator Hold Control

K

2.0 OG

1915

Left Rear Modulator Supply Voltage

K

1.0 OG

1915

Left Rear Modulator Supply Voltage

L

0.8 D-BU/WH

1911

Left Rear Wheel Speed Sensor Signal

L

0.8 D-BU/WH

1911

Left Rear Wheel Speed Sensor Signal

M

0.8 D-GN/WH

1912

Left Rear Wheel Speed Sensor Low Reference

M

0.8 D-GN/WH

1912

Left Rear Wheel Speed Sensor Low Reference

N

--

--

Not Used

N

--

--

Not Used

P

0.8 GY/BK

1467

Shift Motor Relay - Control (HPZ) Air Shift Switch Signal (HR1 or HR2)

P

0.8 GY/BK

1467

Shift Motor Relay - Control (HPZ) Air Shift Switch Signal (HR1 or HR2)

R

2.0 BN

241

Ignition 3 Voltage

R

2.0 BN

241

Ignition 3 Voltage

S

2.0 BK

350

Ground

S

2.0 BK

350

Ground

X403 Rear Trailer Harness to Front Trailer Harness (U86)


Object Number: 525095  Size: CH

Object Number: 366087  Size: CH

Connector Part Information

  • OEM: 15354653
  • Service: 15306164
  • Description: 7-Way F Metri-Pack 280 Series (BK)

Connector Part Information

  • OEM: 15317327
  • Service: 15306117
  • Description: 7-Way M Metri-Pack 280 Series (BK)

Terminal Part Information

  • Pins: A, D
  • Terminal/Tray: 12110853/4
  • Core/Insulation Crimp: B/5
  • Release Tool/Test Probe: 15315247/J-35616-4A (PU)
  • Pins: C, E-G
  • Terminal/Tray: 12110845/4
  • Core/Insulation Crimp: F/5
  • Release Tool/Test Probe: 15315247/J-35616-4A (PU)

Terminal Part Information

  • Terminal/Tray: 12041351/2
  • Core/Insulation Crimp: See Terminal Repair Kit
  • Release Tool/Test Probe: See Terminal Repair Kit

X403 Rear Trailer Harness to Front Trailer Harness (U86)

Pin

Wire

Circuit

Function

Pin

Wire

Circuit

Function

A

5.0 RD

642

ABS Enable Relay - Contact

A

5.0 D-BU

1413

ABS Enable Relay - Contact

B

--

--

Not Used

B

--

--

Not Used

C

3.0 D-GN

319

Right Rear Trailer Stop/Turn Lamp Supply Voltage

C

3.0 D-GN

319

Right Rear Trailer Stop/Turn Lamp Supply Voltage

D

5.0 RD

1411

Trailer Stop Relay - Contact - NO

D

3.0 RD

1411

Trailer Stop Relay - Contact - NO

E

3.0 YE

318

Left Rear Trailer Stop/Turn Lamp Supply Voltage

E

3.0 YE

318

Left Rear Trailer Stop/Turn Lamp Supply Voltage

F

3.0 BK

1412

Marker Lamp Supply Voltage

F

3.0 BK

1412

Marker Lamp Supply Voltage

G

3.0 BN

9

Park Lamp Supply Voltage

G

3.0 BN

9

Park Lamp Supply Voltage

X406 ABS Harness to Axle Harness (HPZ/HR1/HR2)


Object Number: 697053  Size: CH

Object Number: 655689  Size: CH

Connector Part Information

  • OEM: 12129565
  • Service: 15306069
  • Description: 4-Way F Metri-Pack 280 Series Sealed (GY)

Connector Part Information

  • OEM: 12129600
  • Service: 15306162
  • Description: 4-Way M Metri-Pack 280 Series Sealed (D-GY)

Terminal Part Information

  • Pins: A, D
  • Terminal/Tray: 12077411/2
  • Core/Insulation Crimp: 2/5
  • Release Tool/Test Probe: 12094430/J-35616-4A (PU)
  • Pins: B-C
  • Terminal/Tray: 12129493/2
  • Core/Insulation Crimp: 4/5
  • Release Tool/Test Probe: 12094430/J-35616-4A (PU)

Terminal Part Information

  • Pins: A, D
  • Terminal/Tray: 12048159/2
  • Core/Insulation Crimp: 2/5
  • Release Tool/Test Probe: 12094430/J-35616-5 (PU)
  • Pins: B-C
  • Terminal/Tray: 12129497/1
  • Core/Insulation Crimp: 2/5
  • Release Tool/Test Probe: 12094430/J-35616-5 (PU)

X406 ABS Harness to Axle Harness (HPZ/HR1/HR2)

Pin

Wire

Circuit

Function

Pin

Wire

Circuit

Function

A

0.8 GY/BK

1467

Shift Motor Relay - Control (HPZ) Air Shift Switch Signal (HR1 or HR2)

A

0.8 GY/BK

1467

Shift Motor Relay - Control (HPZ) Air Shift Switch Signal (HR1 or HR2)

B

2.0 BN

241

Ignition 3 Voltage (HPZ)

B

2.0 BN

241

Ignition 3 Voltage (HPZ)

C

2.0 BK

350

Ground (HPZ)

C

2.0 BK

350

Ground (HPZ)

D

0.8 BK

250

Ground (HR1 or HR2)

D

0.8 BK

250

Ground (HR1 or HR2)

X408 Air Compressor Harness to Air Compressor (K16)


Object Number: 847206  Size: CH

Object Number: 887079  Size: CH

Connector Part Information

  • OEM: 12040977
  • Service: 12085492
  • Description: 3-Way F Metri-Pack 280 Series, Sealed (BK)

Connector Part Information

  • OEM: 15300003
  • Service: 15300003
  • Description: 3-Way M Metri-Pack 280 Series, Sealed (BK)

Terminal Part Information

  • Pins: A, C
  • Terminal/Tray: 12129493/2
  • Core/Insulation Crimp: 4/5
  • Release Tool/Test Probe: 12094430/J-35616-4A (PU)
  • Pins: B
  • Terminal/Tray: 12077411/2
  • Core/Insulation Crimp: 2/5
  • Release Tool/Test Probe: 12094430/J-35616-4A (PU)

Terminal Part Information

  • Terminal/Tray: See Terminal Repair Kit
  • Core/Insulation Crimp: See Terminal Repair Kit
  • Release Tool/Test Probe: See Terminal Repair Kit

X408 Air Compressor Harness to Air Compressor (K16)

Pin

Wire

Circuit

Function

Pin

Wire

Circuit

Function

A

3.0 OG

1840

Battery Positive Voltage

A

3.0 OG

1840

Battery Positive Voltage

B

0.8 GY

2672

Air Suspension Relay Control

B

0.8 GY

2672

Air Suspension Relay Control

C

3.0 BK

350

Ground

C

3.0 BK

350

Ground

X409 Fuel Tank Harness to Rear Chassis Harness (C4/C5)


Object Number: 646372  Size: CH

Object Number: 847234  Size: CH

Connector Part Information

  • OEM: 15326654
  • Service: 15306350
  • Description: 8-Way F GT 280 Series Sealed 5.8 (BK)

Connector Part Information

  • OEM: 15326655
  • Service: 15306424
  • Description: 8-Way M GT 280 Series Sealed 5.8 (BK)

Terminal Part Information

  • Pins: A-D, G-H
  • Terminal/Tray: 15304719/19
  • Core/Insulation Crimp: 2/5
  • Release Tool/Test Probe: 15315247/J-35616-4A (PU)
  • Pins: F
  • Terminal/Tray: 15304720/19
  • Core/Insulation Crimp: 4/5
  • Release Tool/Test Probe: 15315247/J-35616-4A (PU)

Terminal Part Information

  • Pins: A-D, G-H
  • Terminal/Tray: 15304731/19
  • Core/Insulation Crimp: C/5
  • Release Tool/Test Probe: 15315247/J-35616-5 (PU)
  • Pins: F
  • Terminal/Tray: 15304732/8
  • Core/Insulation Crimp: A/5
  • Release Tool/Test Probe: 15315247/J-35616-5 (PU)

X409 Fuel Tank Harness to Rear Chassis Harness (C4/C5)

Pin

Wire

Circuit

Function

Pin

Wire

Circuit

Function

A

TN

1465

Fuel Pump Relay Control - Secondary (L18)

A

TN

1465

Fuel Pump Relay Control - Secondary

B

0.8 BK

470

Low Reference

B

0.8 BK

470

Low Reference

C

0.8 PU

1589

Fuel Level Sensor Signal - Primary

C

0.8 PU

1589

Fuel Level Sensor Signal - Primary

D

0.8 D-BU

1936

Fuel Level Sensor Signal - Secondary

D

0.8 D-BU

1936

Fuel Level Sensor Signal - Secondary

E

--

--

Not Used

E

--

--

Not Used

F

2.0 GY

120

Fuel Pump Supply Voltage

F

2.0 GY

120

Fuel Pump Supply Voltage

G

0.8 D-BU/WH

1911

Left Rear Wheel Speed Sensor Signal

G

0.8 D-BU/WH

1911

Left Rear Wheel Speed Sensor Signal

H

0.8 D-GN/WH

1912

Left Rear Wheel Speed Sensor Low Reference

H

0.8 D-GN/WH

1912

Left Rear Wheel Speed Sensor Low Reference

X409 Fuel Tank Harness to Rear Chassis Harness (C6/C7/C8)


Object Number: 1664576  Size: CH

Object Number: 872519  Size: CH

Connector Part Information

  • OEM: 15326635
  • Service: 88953154
  • Description: 6-Way F GT 280 Series Sealed (BK)

Connector Part Information

  • OEM: 15326640
  • Service: 88953150
  • Description: 6-Way M GT 280 Series Sealed (BK)

Terminal Part Information

  • Pins: A-D
  • Terminal/Tray: 15304719/19
  • Core/Insulation Crimp: 2/5
  • Release Tool/Test Probe: 15315247/J-35616-4A (PU)
  • Pins: F
  • Terminal/Tray: 15304720/19
  • Core/Insulation Crimp: 4/5
  • Release Tool/Test Probe: 15315247/J-35616-4A (PU)

Terminal Part Information

  • Pins: A-D
  • Terminal/Tray: 15304731/19
  • Core/Insulation Crimp: C/5
  • Release Tool/Test Probe: 15315247/J-35616-5 (PU)
  • Pins: F
  • Terminal/Tray: 15304732/8
  • Core/Insulation Crimp: A/5
  • Release Tool/Test Probe: 15315247/J-35616-5 (PU)

X409 Fuel Tank Harness to Rear Chassis Harness (C6/C7/C8)

Pin

Wire

Circuit

Function

Pin

Wire

Circuit

Function

A

0.8 TN

1465

Fuel Pump Relay Control - Secondary (L18 w/Dual Tanks)

A

0.8 TN

1465

Fuel Pump Relay Control - Secondary (L18 w/Dual Tanks)

B

0.8 BK

470

Low Reference

B

0.8 BK

470

Low Reference

C

0.8 PU

1589

Fuel Level Sensor Signal - Primary

C

0.8 PU

1589

Fuel Level Sensor Signal - Primary

D

0.8 D-BU

1936

Fuel Level Sensor Signal - Secondary (w/Dual Tanks)

D

0.8 D-BU

1936

Fuel Level Sensor Signal - Secondary (w/Dual Tanks)

E

--

--

Not Used

E

--

--

Not Used

F

2.0 GY

120

Fuel Pump Supply Voltage (L18)

F

2.0 GY

120

Fuel Pump Supply Voltage (L18)

X410 Chassis Harness to Air Compressor Harness (K16)


Object Number: 847206  Size: CH

Object Number: 887079  Size: CH

Connector Part Information

  • OEM: 12040977
  • Service: 12085492
  • Description: 3-Way F Metri-Pack 280 Series Sealed (BK)

Connector Part Information

  • OEM: 15300003
  • Service: 15300003
  • Description: 3-Way M Metri-Pack 280 Series Sealed (BK)

Terminal Part Information

  • Pins: A, C
  • Terminal/Tray: 12129493/2
  • Core/Insulation Crimp: 4/5
  • Release Tool/Test Probe: 12094430/J-35616-4A (PU)
  • Pins: B
  • Terminal/Tray: 12077411/2
  • Core/Insulation Crimp: 2/5
  • Release Tool/Test Probe: 12094430/J-35616-4A (PU)

Terminal Part Information

  • Terminal/Tray: See Terminal Repair Kit
  • Core/Insulation Crimp: See Terminal Repair Kit
  • Release Tool/Test Probe: See Terminal Repair Kit

X410 Chassis Harness to Air Compressor Harness (K16)

Pin

Wire

Circuit

Function

Pin

Wire

Circuit

Function

A

3.0 OG

1840

Battery Positive Voltage

A

3.0 OG

1840

Battery Positive Voltage

B

0.8 BN

541

Ignition 3 Voltage (C4/C5)

B

0.8 BN

541

Ignition 3 Voltage (C4/C5)

0.8 GY

2672

Air Suspension Relay Control (C6/C7/C8)

0.8 GY

2672

Air Suspension Relay Control (C6/C7/C8)

C

3.0 BK

350

Ground

C

3.0 BK

350

Ground

X411 Backup Alarm Harness to Rear Chassis Harness (UZF)


Object Number: 831388  Size: CH

Object Number: 847234  Size: CH

Connector Part Information

  • OEM: 15326906
  • Service: 15306350
  • Description: 8-Way F GT 280 Series Sealed 5.8 (BK)

Connector Part Information

  • OEM: 15326655
  • Service: 15306424
  • Description: 8-Way M GT 280 Series Sealed 5.8 (BK)

Terminal Part Information

  • Terminal/Tray: 15304720/19
  • Core/Insulation Crimp: 4/5
  • Release Tool/Test Probe: 15315247/J-35616-4A (PU)

Terminal Part Information

  • Terminal/Tray: 15304732/8
  • Core/Insulation Crimp: A/5
  • Release Tool/Test Probe: 15315247/J-35616-5 (PU)

X411 Backup Alarm Harness to Rear Chassis Harness (UZF)

Pin

Wire

Circuit

Function

Pin

Wire

Circuit

Function

A

2.0 YE

618

Left Rear Turn Signal Lamp Supply Voltage

A

2.0 YE

618

Left Rear Turn Signal Lamp Supply Voltage

B

2.0 BN

2509

Left Rear Park Lamps Supply Voltage

B

2.0 BN

2509

Left Rear Park Lamps Supply Voltage

C

--

--

Not Used

C

--

--

Not Used

D

2.0 BN/WH

2609

Right Rear Park Lamps Supply Voltage

D

2.0 BN/WH

2609

Right Rear Park Lamps Supply Voltage

E

2.0 D-GN

619

Right Rear Turn Signal Lamp Supply Voltage

E

2.0 D-GN

619

Right Rear Turn Signal Lamp Supply Voltage

F

2.0 L-GN

24

Backup Lamp Supply Voltage

F

2.0 L-GN

24

Backup Lamp Supply Voltage

G

2.0 BK

350

Ground

G

2.0 BK

350

Ground

H

--

--

Not Used

H

--

--

Not Used

X412 Tail Lamp Harness to Rear Chassis Harness


Object Number: 831388  Size: CH

Object Number: 847234  Size: CH

Connector Part Information

  • OEM: 15326906
  • Service: 15306350
  • Description: 8-Way F GT 280 Series Sealed 5.8 (BK)

Connector Part Information

  • OEM: 15326655
  • Service: 15306424
  • Description: 8-Way M GT 280 Series Sealed 5.8 (BK)

Terminal Part Information

  • Terminal/Tray: 15304720/19
  • Core/Insulation Crimp: 4/5
  • Release Tool/Test Probe: 15315247/J-35616-4A (PU)

Terminal Part Information

  • Terminal/Tray: 15304732/8
  • Core/Insulation Crimp: A/5
  • Release Tool/Test Probe: 15315247/J-35616-5 (PU)

X412 Tail Lamp Harness to Rear Chassis Harness

Pin

Wire

Circuit

Function

Pin

Wire

Circuit

Function

A

2.0 YE

618

Left Rear Turn Signal Lamp Supply Voltage

A

2.0 YE

618

Left Rear Turn Signal Lamp Supply Voltage

B

2.0 BN

2509

Left Rear Park Lamps Supply Voltage

B

2.0 BN

2509

Left Rear Park Lamps Supply Voltage

C

--

--

Not Used

C

--

--

Not Used

D

2.0 BN/WH

2609

Right Rear Park Lamps Supply Voltage

D

2.0 BN/WH

2609

Right Rear Park Lamps Supply Voltage

E

2.0 D-GN

619

Right Rear Turn Signal Lamp Supply Voltage

E

2.0 D-GN

619

Right Rear Turn Signal Lamp Supply Voltage

F

2.0 L-GN

24

Backup Lamp Supply Voltage

F

2.0 L-GN

24

Backup Lamp Supply Voltage

G

2.0 BK

350

Ground

G

2.0 BK

350

Ground

H

--

--

Not Used

H

--

--

Not Used

X413 Tail Lamp Harness to Backup Alarm Harness (UZF)


Object Number: 831388  Size: CH

Object Number: 847234  Size: CH

Connector Part Information

  • OEM: 15326906
  • Service: 15306350
  • Description: 8-Way F GT 280 Series Sealed 5.8 (BK)

Connector Part Information

  • OEM: 15326655
  • Service: 15306424
  • Description: 8-Way M GT 280 Series Sealed 5.8 (BK)

Terminal Part Information

  • Terminal/Tray: 15304720/19
  • Core/Insulation Crimp: 4/5
  • Release Tool/Test Probe: 15315247/J-35616-4A (PU)

Terminal Part Information

  • Terminal/Tray: 15304732/8
  • Core/Insulation Crimp: A/5
  • Release Tool/Test Probe: 15315247/J-35616-5 (PU)

X413 Tail Lamp Harness to Backup Alarm Harness (UZF)

Pin

Wire

Circuit

Function

Pin

Wire

Circuit

Function

A

2.0 YE

618

Left Rear Turn Signal Lamp Supply Voltage

A

2.0 YE

618

Left Rear Turn Signal Lamp Supply Voltage

B

2.0 BN

2509

Left Rear Park Lamps Supply Voltage

B

2.0 BN

2509

Left Rear Park Lamps Supply Voltage

C

--

--

Not Used

C

--

--

Not Used

D

2.0 BN/WH

2609

Right Rear Park Lamps Supply Voltage

D

2.0 BN/WH

2609

Right Rear Park Lamps Supply Voltage

E

2.0 D-GN

619

Right Rear Turn Signal Lamp Supply Voltage

E

2.0 D-GN

619

Right Rear Turn Signal Lamp Supply Voltage

F

2.0 L-GN

24

Backup Lamp Supply Voltage

F

2.0 L-GN

24

Backup Lamp Supply Voltage

G

2.0 BK

350

Ground

G

2.0 BK

350

Ground

H

--

--

Not Used

H

--

--

Not Used