GM Service Manual Online
For 1990-2009 cars only

Caution: Wheel nuts that are not tight can work loose. If all the nuts on a wheel come off, the wheel can come off the vehicle, causing a crash. All wheel nuts must be properly tightened. Follow the rules in this section to be sure they are.

This section lets you know how often to check the tightness of the wheel nuts on your vehicle and how tight they must be.

First, use these pictures to decide what kind of wheels you have.

Hub-Piloted Type, 8-Hole


Object Number: 807665  Size: A2

Hub-Piloted Type, 10-Hole


Object Number: 807669  Size: A2

Then, refer to the following steps for the wheels you have.

Hub-Piloted Wheels, 8-Hole or 10-Hole

The studs and nuts used with these wheels have right-hand threads.

  1. With intermittent pilot pads, position a pad at 12 o'clock to center the wheel and reduce run-out.
  2. Put the tire and rim assembly on the axle hub. Install the outer rear tire and rim assembly so that its valve stem is exactly opposite the valve stem on the inner tire and rim assembly.
  3. Put on the wheel nuts.
  4. Finger-tighten the nuts.

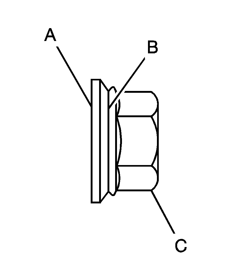
  5. Object Number: 1689625  Size: A3
  6. Oil the surfaces (B) between the nuts (C) and washers (A). Do not oil the studs or the threads of the nut.
  7. Tighten the nuts to 400 lb ft (542 N·m) if an 8-hole stud or 480 lb ft (650 N·m) if a 10-hole stud, using the following diagrams.

8-Hole


Object Number: 811149  Size: A3

10-Hole (Front)


Object Number: 807667  Size: A2

10-Hole (Rear)


Object Number: 807670  Size: A2

Caution: Never use oil or grease on studs or the threads of the wheel nuts. If you do, the wheel nuts might come loose and the wheel could fall off, causing a crash.

Caution: Wheel nuts that are improperly or incorrectly tightened can cause the wheels to become loose or come off. The wheel nuts should be tightened with a torque wrench to the proper torque specification after replacing. Follow the torque specification supplied by the aftermarket manufacturer when using accessory locking wheel nuts. See Capacities and Specifications for original equipment wheel nut torque specifications.

Notice: Improperly tightened wheel nuts can lead to brake pulsation and rotor damage. To avoid expensive brake repairs, evenly tighten the wheel nuts in the proper sequence and to the proper torque specification. See Capacities and Specifications for the wheel nut torque specification.

Caution: If wheel studs are damaged, they can break. If all the studs on a wheel broke, the wheel could come off and cause a crash. If any stud is damaged because of a loose-running wheel, it could be that all of the studs are damaged. To be sure, replace all studs on the wheel. If the stud holes in a wheel have become larger, the wheel could collapse in operation. Replace any wheel if its stud holes have become larger or distorted in any way. Inspect hubs and hub-piloted wheels for damage. Because of loose running wheels, piloting pad damage may occur and require replacement of the entire hub, for proper centering of the wheels. When replacing studs, hubs, wheel nuts or wheels, be sure to use GM original equipment parts.

Caution: Rust or dirt on a wheel, or on the parts to which it is fastened, can make wheel nuts become loose after a time. The wheel could come off and cause a crash. When you change a wheel, remove any rust or dirt from places where the wheel attaches to the vehicle. In an emergency, you can use a cloth or a paper towel to do this; but be sure to use a scraper or wire brush later, if you need to, to get all the rust or dirt off.

How Often to Check

Have a technician check the wheel nut tightness on all wheels with a torque wrench after your first 100 miles (160 km), and then 1,000 miles (1 600 km) after that. Be sure to repeat this service whenever you have a tire removed or serviced. See Scheduled Maintenance for further information.