GM Service Manual Online
For 1990-2009 cars only

Battery Tray Replacement C4/C5

Removal Procedure


    Object Number: 1869345  Size: SH
  1. Remove the batteries. Refer to Battery Replacement.
  2. Remove the battery tray support nuts (4).
  3. Remove the battery tray support.
  4. Remove the battery tray support anchor plates (1 and 2) and retainers (3), if required.

  5. Object Number: 1869346  Size: SH
  6. Remove the battery tray support step nuts (1) and step.

  7. Object Number: 1869347  Size: SH
  8. Remove the battery tray slide nuts (2) and slides (1).

  9. Object Number: 1869348  Size: SH
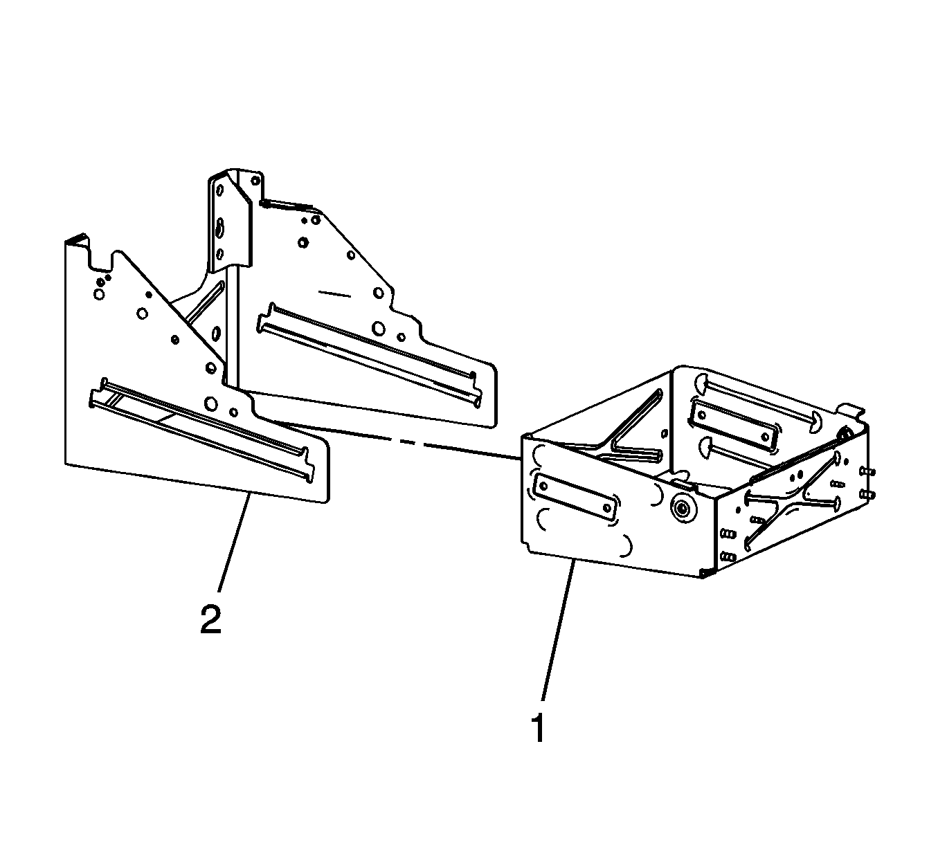
  10. Remove the battery tray (1) from the tray bracket (2).

Installation Procedure


    Object Number: 1869348  Size: SH
  1. Install the battery tray (1) to the tray bracket (2).
  2. Caution: Refer to Fastener Caution in the Preface section.


    Object Number: 1869347  Size: SH
  3. Install the battery tray slides (1) and nuts (2).
  4. Tighten
    Tighten the nuts to 50 N·m (37 lb ft).


    Object Number: 1869346  Size: SH
  5. Install the battery tray support step and nuts (1).
  6. Tighten
    Tighten the nuts to 80 N·m (60 lb ft).


    Object Number: 1869345  Size: SH
  7. Install the battery tray support anchor plates (1 and 2) and retainers (3), if required.
  8. Install the battery tray support.
  9. Install the battery tray support nuts (4).
  10. Tighten
    Tighten the nuts to 175 N·m (129 lb ft).

  11. Install the batteries. Refer to Battery Replacement.