GM Service Manual Online
For 1990-2009 cars only

Special Tools

    • J 44275 Wheel Nut Socket 1 1/8 in
    • J 44276 Wheel Nut Socket 2 1/8 in
    • J 44619 Wheel Nut Socket 1½ in
    • J 45107 Tone Ring Installer

Warning: Refer to Brake Dust Warning in the Preface section.

Removal Procedure

  1. Remove the tire and wheel assembly.
  2. Remove the brake caliper. Refer to Front Brake Caliper Replacement.
  3. Remove the dust cover.
  4. Remove the spindle high tension wheel nut using one of the following:
  5. • J 44275
    • J 44276
    • J 44619
  6. Remove the outer wheel bearing.
  7. Remove the hub/rotor assembly.
  8. Remove the wheel speed sensor ring using the J 45107 .

Installation Procedure


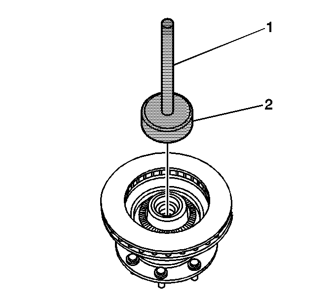
    Object Number: 795298  Size: SH
  1. Install the wheel speed sensor ring using the (1) J 44619 .

  2. Object Number: 795301  Size: SH
  3. Install the hub/rotor assembly.
  4. Install the outer wheel bearing.
  5. Install the spindle high tension wheel nut using one of the following:
  6. • J 44275
    • J 44276
    • J 44619
  7. Install the dust cover.
  8. Install the brake caliper. Refer to Front Brake Caliper Replacement.
  9. Install the tire/wheel assembly.