GM Service Manual Online
For 1990-2009 cars only

Removal Procedure

  1. Remove the cooling layer. Refer to Cooling Layer Removal.
  2. Remove the wires and the cables.
  3. Remove any other lines that are connected to the crossmember.
  4. Remove the brackets and the valves that may be attached to crossmember.

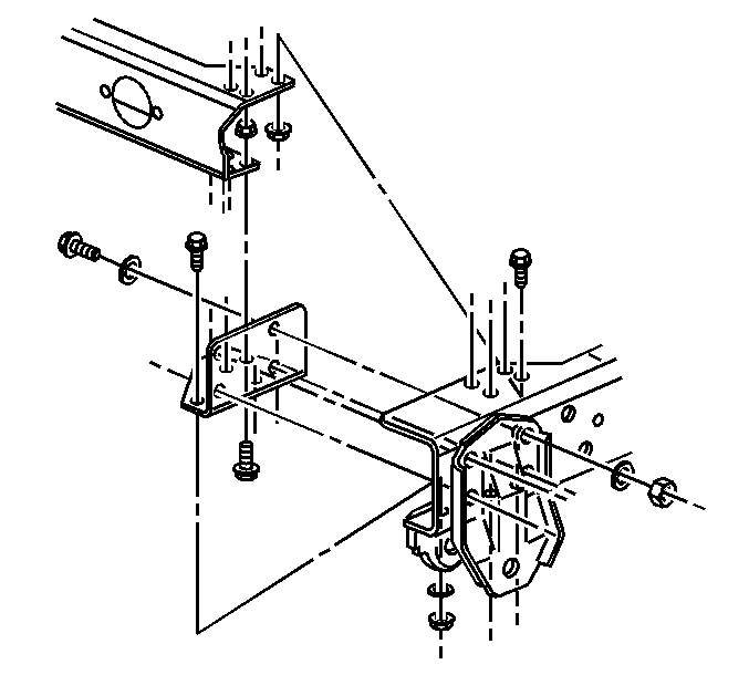
  5. Object Number: 816249  Size: SH
  6. Support the crossmember and the front spring hangers.
  7. Remove the bolts that are holding the crossmember to the frame rails.

  8. Remove the crossmember.

Installation Procedure

  1. Position and support the crossmember in the frame rails.
  2. Apply a medium strength threadlocker, GM P/N 12345382 (Canadian P/N 10953489) to the threads of the bolts.
  3. Caution: Refer to Fastener Caution in the Preface section.


    Object Number: 816249  Size: SH
  4. Connect the crossmember to the frame rails with the bolts, the washers, and the nuts.
  5. Tighten
    Tighten the bolts to 100 N·m (74 lb ft).

  6. Remove the supports for the crossmember and the front spring hangers.
  7. Install the brackets and the valves.
  8. Install any other lines that were previously removed.
  9. Install the wires and the cables.
  10. Install the cooling layer. Refer to Cooling Layer Installation.