GM Service Manual Online
For 1990-2009 cars only

Removal Procedure


    Object Number: 791976  Size: SH
  1. Remove the clutch engine brake switch. Refer to Clutch Pedal Position Switch Replacement.
  2. Remove the clutch cable retainer.
  3. Remove the clutch cable from the clutch pedal.
  4. Remove the brake pedal rod retaining clip.

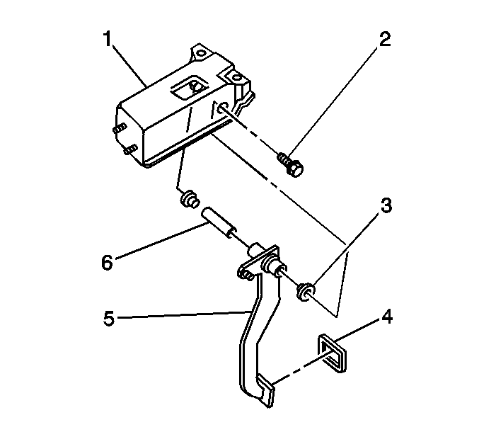
  5. Object Number: 791978  Size: SH
  6. Position the brake pedal to gain access to the clutch pedal bolt.
  7. Remove the clutch pedal.
  8. Remove the clutch pedal shoulder bolt (2), spring and clutch pedal.
  9. Remove the clutch pedal bushings (3) and pivot spacer (6), if required.
  10. Remove the clutch pedal cover (4), if required.

Installation Procedure


    Object Number: 791978  Size: SH
  1. Install the clutch pedal cover (4), if required.
  2. Note: Lubricate the spacer with chassis grease. Do not lubricate the bushings or the pedal shoulder bolt (2).

  3. Install the clutch pedal bushings (3), if required.
  4. Caution: Refer to Fastener Caution in the Preface section.

  5. Install the springs, clutch pedal (5) and shoulder bolt (2).
  6. Install the clutch pedal nut.
  7. Tighten
    Tighten the clutch pedal nut to 30 N·m (22 lb ft).


    Object Number: 791976  Size: SH
  8. Install the clutch cable to the clutch pedal.
  9. Install the clutch cable retainer.
  10. Install the clutch engine brake switch, if equipped. Refer to Clutch Pedal Position Switch Replacement.
  11. Reposition the brake pedal and install the brake pedal rod retaining clip.