GM Service Manual Online
For 1990-2009 cars only

Tail Pipe Replacement Horizontal

Removal Procedure


    Object Number: 869941  Size: SH
  1. Remove the clamp assembly.
  2. Remove the front tailpipe from the muffler .

  3. Object Number: 869940  Size: SH
  4. If equipped with RPO NIB, remove the clamp assembly.
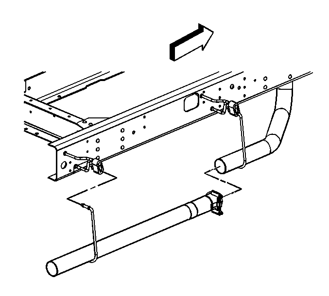
  5. Remove the rear tailpipe from the mid tailpipe.

  6. Object Number: 869934  Size: SH
  7. If equipped with RPO NI2, remove the clamp assembly .
  8. Remove the rear tailpipe from the mid tailpipe.

  9. Object Number: 869931  Size: SH
  10. Remove the mid tailpipe.

Installation Procedure


    Object Number: 869931  Size: SH
  1. Install the mid tailpipe onto the hangers.
  2. Notice: Refer to Fastener Notice in the Preface section.


    Object Number: 869934  Size: SH
  3. If equipped with RPO NI2, install the rear tailpipe to the mid tailpipe.
  4. Tighten
    Tighten the clamp nuts to 65 N·m (47 lb ft)


    Object Number: 869940  Size: SH
  5. If equipped with RPO NIB, install the rear tailpipe to the mid tailpipe.
  6. Tighten
    Tighten the clamp nuts to 65 N·m (47 lb ft).


    Object Number: 869941  Size: SH
  7. Install the front tailpipe to the muffler.
  8. Tighten
    Tighten the clamp nuts to 65 N·m (47 lb ft).

Tail Pipe Replacement Vertical

Removal Procedure


    Object Number: 206380  Size: SH
  1. Remove the upper tailpipe heat shield nuts.
  2. Remove the upper tailpipe heat shield.
  3. Remove the lower tailpipe heat shield nuts.
  4. Remove the lower tailpipe heat shield.
  5. Remove the upper coupling assembly.
  6. Remove the lower coupling assembly.

  7. Object Number: 206377  Size: SH
  8. Remove the exhaust flex tube.

  9. Object Number: 206373  Size: SH
  10. Remove the nuts from the lower U-bolt.
  11. Remove the lower U-bolt.
  12. Remove the nuts from the upper U-bolt.
  13. Remove the upper U-bolt.

  14. Object Number: 206375  Size: SH
  15. Remove the vertical tailpipe with the cap assembly.
  16. Remove the cap assembly from the vertical tailpipe.
  17. Slide the tailpipe brackets off of the vertical tailpipe.
  18. Inspect all of the components for the following conditions:
  19. • Cracks
    • Bends
    • Stripped threads
    • Corrosion damage
    • Leaks
  20. Replace any damaged components as necessary.

Installation Procedure


    Object Number: 206375  Size: SH
  1. Slide the tailpipe brackets onto the vertical tailpipe.
  2. Install the cap assembly onto the vertical tailpipe.
  3. Notice: Use the correct fastener in the correct location. Replacement fasteners must be the correct part number for that application. Fasteners requiring replacement or fasteners requiring the use of thread locking compound or sealant are identified in the service procedure. Do not use paints, lubricants, or corrosion inhibitors on fasteners or fastener joint surfaces unless specified. These coatings affect fastener torque and joint clamping force and may damage the fastener. Use the correct tightening sequence and specifications when installing fasteners in order to avoid damage to parts and systems.

  4. Tighten the cap assembly nut.
  5. Tighten
    Tighten the cap assembly nut to 5 N·m (44 lb in).

  6. Tighten the tailpipe bracket nuts.
  7. Tighten
    Tighten the tailpipe bracket nuts to 10 N·m (89 lb in).


    Object Number: 206373  Size: SH
  8. Install the upper U-bolt and the saddle around the tailpipe.

  9. Object Number: 206382  Size: SH
  10. Connect the upper U-bolt to the upper tailpipe bracket assembly.
  11. Install the nuts and the flat washers on the upper U-bolt.

  12. Object Number: 206373  Size: SH
  13. Connect the lower U-bolt and the saddle around the tailpipe.

  14. Object Number: 206385  Size: SH
  15. Connect the lower U-bolt to the lower tailpipe bracket assembly.
  16. Install the nuts and the flat washers on the lower U-bolt.
  17. Tighten
    Tighten the nuts on the U-bolts to 25 N·m (18 lb ft).


    Object Number: 206377  Size: SH
  18. Install the following components onto the vertical tailpipe and onto the muffler outlet:
  19. • The lower coupling assembly
    • The upper coupling assembly
    • The exhaust flex tube
  20. Tighten the bolts on the wide band clamps.
  21. Tighten
    Tighten the bolts on the wide band clamps to 73 N·m (54 lb ft).


    Object Number: 206380  Size: SH
  22. Install the lower tailpipe heat shield.
  23. Install the upper tailpipe heat shield.
  24. Tighten
    Tighten the nuts to 25 N·m (18 lb ft).