GM Service Manual Online
For 1990-2009 cars only

Starter Solenoid Switch Replacement 6.6L (LLY)

Removal Procedure


    Object Number: 1201127  Size: SH
  1. Remove the starter motor. Refer to Starter Motor Replacement .
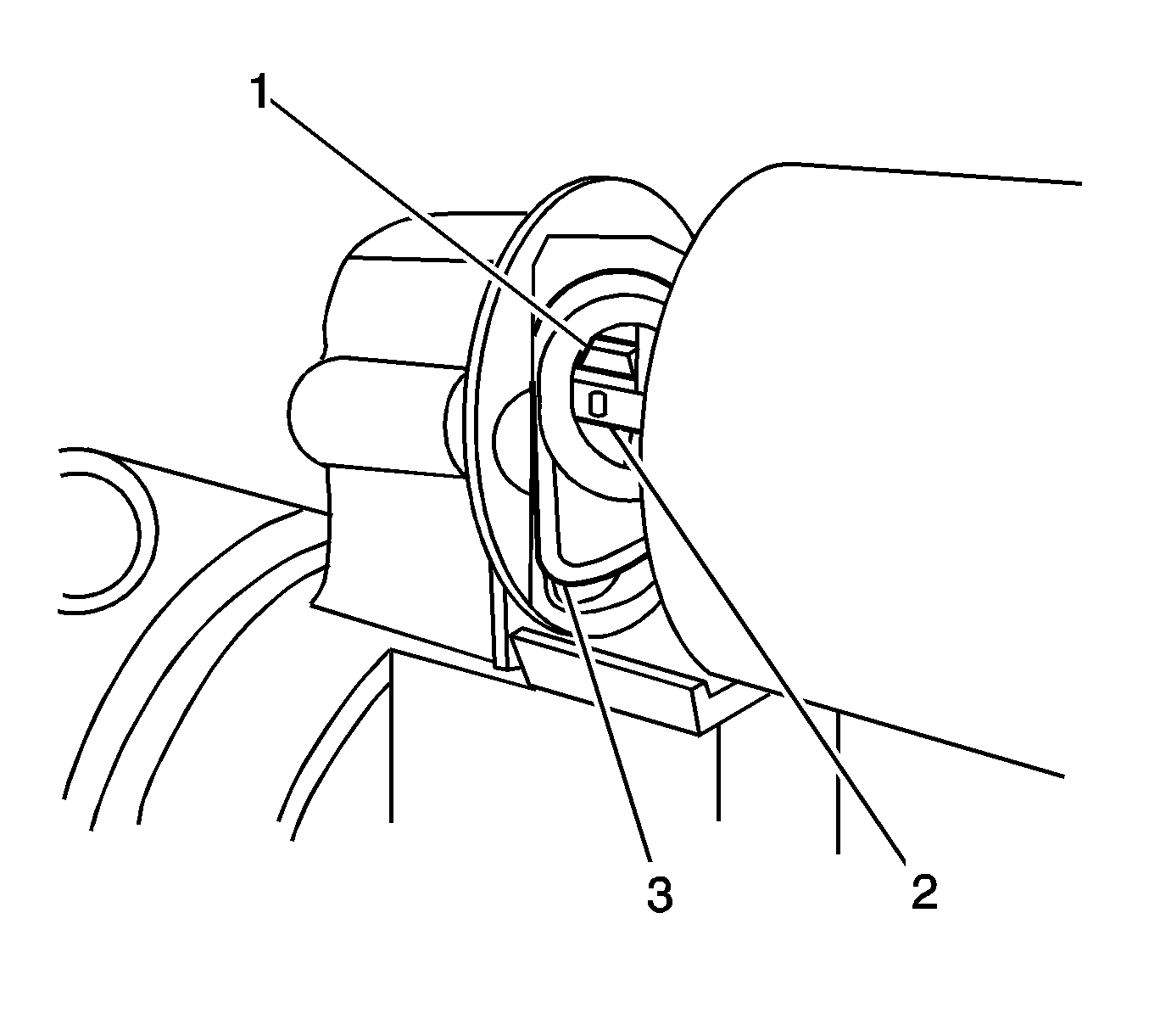
  2. Reposition the M-terminal stud weather cover (1).
  3. Clean the epoxy coating (2) from the M-terminal stud.

  4. Object Number: 1201128  Size: SH
  5. Loosen the M-terminal stud nut.
  6. Remove the cable from the M-terminal stud.

  7. Object Number: 1201129  Size: SH
  8. Remove the solenoid bolts.

  9. Object Number: 1201131  Size: SH
  10. Separate the solenoid from the housing and unhook the solenoid plunger (2) from the drive gear lever (1).

  11. Object Number: 1201135  Size: SH
  12. Note that the spring (3) is positioned against the drive gear lever (1) and the drive gear lever is placed inside the solenoid plunger loop (2).

  13. Object Number: 1201139  Size: SH
  14. Remove the solenoid housing.

  15. Object Number: 1201142  Size: SH
  16. If necessary, remove the solenoid plunger and spring.

Installation Procedure


    Object Number: 1201142  Size: SH
  1. If necessary, install the solenoid plunger and spring.

  2. Object Number: 1201144  Size: SH
  3. Using Three Bond silicone 1207B, GM P/N 97720043, seal the starter solenoid attachment area.

  4. Object Number: 1201131  Size: SH

    Important: Ensure that the drive gear lever (1) is properly installed into the solenoid plunger (2) loop. Improper installation of the drive gear lever will cause an abnormal or no operation condition of the starter.

  5. Install the solenoid, making sure to insert the drive gear lever (1) into the solenoid plunger (2) loop, perform the following:
  6. 3.1. Pull the gear lever (1) out away from the starter housing and pull the plunger (2) out away from the solenoid.
    3.2. Tip the solenoid and insert the lever into the loop, push the solenoid against the housing.

    Notice: Refer to Fastener Notice in the Preface section.


    Object Number: 1201129  Size: SH
  7. Install the solenoid bolts (1).
  8. Tighten
    Tighten the bolts to 10 N·m (89 lb in).

  9. Wipe the excess silicone pressed out during the solenoid installation from around the base of the solenoid to make a weather proof seal.

  10. Object Number: 1201128  Size: SH
  11. Install the cable to the M-terminal stud between the washers and terminal nut.
  12. Tighten the M-terminal stud nut.
  13. Tighten
    Tighten the nut to 8 N·m (71 lb in).


    Object Number: 1201127  Size: SH
  14. Using Three Bond silicone 1207B, GM P/N 97720043, seal the M-terminal stud connection (2).
  15. Reposition the M-terminal stud weather cover (1).
  16. Bench test the starter in a free-run condition prior to installation.
  17. Install the starter motor. Refer to Starter Motor Replacement .