GM Service Manual Online
For 1990-2009 cars only

Removal Procedure

    Caution: Refer to SIR Caution in the Preface section.

    Caution: Do not strike or jolt the inflatable restraint sensing and diagnostic module (SDM). Before applying power to the SDM, make sure that it is securely fastened with the arrow facing toward the front of the vehicle. Failure to observe the correct installation procedure could cause SIR deployment, personal injury, or unnecessary SIR system repairs.

  1. Disable the SIR system. Refer to SIR Disabling and Enabling .
  2. Remove the driver seat. Refer to Bucket Seat Replacement.
  3. Remove the center console. Refer to Console Replacement.
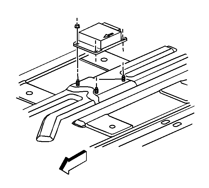
  4. Fold back the carpet to access the inflatable restraint sensing and diagnostic module (SDM).
  5. Remove the connector position assurance (CPA) from the SDM harness connector.

  6. Object Number: 808067  Size: SH
  7. Disconnect the harness connector from the SDM.
  8. Remove the SDM mounting fasteners .
  9. Remove the SDM from the vehicle floor studs .

Installation Procedure

    Important: Use the following repair procedures only in the event that the SDM mounting studs or fasteners are damaged to the extent that the SDM may no longer be properly mounted.

  1. Repair the fasteners using the following procedure:
  2. 1.1. Remove the stripped nut and discard the nut.
    1.2. Drill out the weld spots to the weld stud from the floor pan side, then remove and discard the stud.
    1.3. Condition the floor panel attaching surface where the new stud is to be installed.
    1.4. Install new weld stud GM P/N 115115602 and clamp the weld stud.
    1.5. Migweld the stud at the drilled holes from above or below the floor pan, as required.
    1.6. Apply body sealer GM P/N 9984248 around any exposed openings.
    1.7. Install a new fastener GM P/N 11515933.
  3. Remove any dirt, grease, or other contaminants from the mounting surface.

  4. Object Number: 808067  Size: SH
  5. Install the SDM horizontally to the vehicle floor studs .
  6. Point the arrow on the sensor toward the front of the vehicle.
  7. Notice: Refer to Fastener Notice in the Preface section.

  8. Install the SDM mounting fasteners.
  9. Tighten
    Tighten fasteners to 10 N·m (89 lb in).

  10. Install the SDM harness connector to the SDM .
  11. Install the CPA to the SDM harness connector.
  12. Position the carpet to cover the SDM.
  13. Install the center console Refer to Console Replacement .
  14. Install the driver seat. Refer to Bucket Seat Replacement.
  15. Important: The AIR BAG indicator may remain ON after the SDM has been replaced. DTC B1001 may set requiring the SDM part number to be set in multiple modules. If the indicator remains ON after enabling the SIR system, perform the diagnostic system check and follow the steps thoroughly to ensure that the SDM is set properly.

  16. Enable the SIR system. Refer to SIR Disabling and Enabling .
  17. Refer to Control Module References for programming and setup information.