GM Service Manual Online
For 1990-2009 cars only

Fuel System Pressure Test Oldsmobile


Object Number: 12723  Size: MF

Circuit Description

When the ignition switch is turned ON, the Powertrain Control Module (PCM) will turn ON the in-tank fuel pump. The in-tank fuel pump will remain ON as long as the engine is cranking or running and the PCM is receiving reference pulses. If there are no reference pulses, the PCM will turn the in-tank fuel pump OFF 2 seconds after the ignition switch is turned ON or 2 seconds after the engine stops running. The in-tank fuel pump is an electric pump, attached to the Fuel Sender Assembly. The in-tank fuel pump (5) supplies fuel through the fuel feed pipe (3), and in-line fuel filter (2) to the Fuel Rail Assembly (9). The fuel pump is designed to provide fuel at a pressure above the pressure needed by the fuel injectors (7). A fuel pressure regulator (6), attached to the Fuel Rail, keeps the fuel available to the fuel injectors at a regulated pressure. Unused fuel is returned to the fuel tank by a separate fuel return pipe (4). The fuel pressure gauge J 34730-1A (8) and fuel pipe shut off adapters J 37287 (1) are used for fuel system diagnosis.

Test Description

Number(s) below refer to the step number(s) on the Diagnostic Table.

  1. To relieve the fuel pressure, refer to Fuel Pressure Relief . With the ignition switch ON and the fuel pump running, the fuel pressure indicated by the fuel pressure gage should be 284-325 kPa (41-47 psi). This pressure is controlled by the amount of pressure the spring inside the fuel pressure regulator can provide.

  2. A fuel system that drops more than 34 kPa (5 psi) in 10 minutes has a leak in one or more of the following areas:

  3. • The fuel pump check valve.
    • The fuel pump pulse dampener.
    • The valve or valve seat within the fuel pressure regulator.
    • The fuel injector(s).
  4. Fuel pressure that drops-off during acceleration, cruise or hard cornering may cause a lean condition. A lean condition can cause a loss of power, surging, or misfire. A lean condition can be diagnosed using a scan tool. If an extremely lean condition occurs, the oxygen sensors(s) will stop toggling. The oxygen sensor output voltage(s) will drop below 500 mV. Also, the fuel injector width will increase.

Important: Make sure the fuel system is not operating in the Fuel Cut-Off Mode. This can cause false indications by the scan tool. Refer to Engine Scan Tool Data List

  1. When the engine is at idle, the manifold pressure is low (high vacuum). This low pressure (high vacuum) is applied to the fuel pressure regulator diaphragm. The low pressure (high vacuum) will offset the pressure being applied to the fuel pressure regulator diaphragm by the spring inside fuel pressure regulator. When this happens, the result is lower fuel pressure. The fuel pressure at idle will vary slightly as the barometric pressure changes, but the fuel pressure at idle should always be less than the fuel pressure noted in Step 2 with the Engine OFF.

  2. A rich condition may result from the fuel pressure being above 325 kPa (47psi). A rich condition may cause a DTC P0132 or a DTC P0172 to set. Driveability conditions associated with rich conditions can include hard starting (followed by black smoke) and a strong sulfur smell in the exhaust.

  3. This test determines if the high fuel pressure is due to a restricted fuel return pipe or if the high fuel pressure is due to a faulty fuel pressure regulator.

  4. A lean condition may result from the fuel pressure being below 284 kPa (41 psi). A lean condition may cause a DTC P0131 or a DTC P0171 to set. Driveability conditions associated with lean conditions can include hard starting (when the engine is cold), hesitation, poor driveability, lack of power, surging, and misfiring.

  5. Restricting the fuel return pipe with the J 37287 Fuel Pipe Shut-Off Adapter causes the fuel pressure to rise above the regulated fuel pressure. Using a scan tool to pressurize the system, the fuel pressure should rise above 325 kPa (47 psi) as the valve on the fuel pipe shutoff adapter connected to the fuel return pipe becomes partially closed.

    Notice: Do not allow the fuel pressure to exceed 450 kPa (65 psi). Fuel pressure in excess of 450 kPa (65 psi) may damage the Fuel Pressure Regulator.

  6. Check the spark plug associated with a particular fuel injector for fouling or saturation in order to determine if that particular fuel injector is leaking. If checking the spark plug associated with a particular fuel injector for fouling or saturation does not determine that a particular fuel injector is leaking, use the following procedure.

  7. 1. Remove the fuel rail, but leave the fuel pipes connected to the fuel rail. Refer to Fuel Injection Fuel Rail Assembly Replacement .
    2. Lift the fuel rail just enough to leave the fuel injector nozzles in the fuel injector ports.

            Caution: In order to reduce the risk of fire and personal injury that may result from fuel spraying on the engine, verify that the fuel rail is positioned over the fuel injector ports. Also verify that the fuel injector retaining clips are intact.

    2. Pressurize the fuel system by using a scan tool.
    3. Visually and physically inspect the fuel injector nozzles for leaks.

Fuel System Pressure Test

Step

Action

Value(s)

Yes

No

1

Was the Powertrain On-Board Diagnostic (OBD) System Check performed?

--

Go to Step 2

Go to Powertrain On Board Diagnostic (OBD) System Check

2

  1. Turn the ignition OFF.
  2. Turn the air conditioning system OFF.
  3. Caution: Wrap a shop towel around the fuel pressure connection in order to reduce the risk of fire and personal injury. The towel will absorb any fuel leakage that occurs during the connection of the fuel pressure gage. Place the towel in an approved container when the connection of the fuel pressure gage is complete.

  4. Install the J 34730-1A fuel pressure gage.
  5. Place the bleed hose of the fuel pressure gauge into an approved gasoline container.
  6. Turn the ignition ON.
  7. Bleed the air out of the fuel pressure gage into an approved gasoline container.
  8. Turn the ignition OFF for 10 seconds.
  9. Turn the ignition ON.
  10. Important:: The fuel pump will run for approximately 2 seconds. Cycle the ignition as necessary in order to achieve the highest possible fuel level.

  11. Observe the fuel pressure indicated by the fuel pressure gage with the fuel pump running.

Is the fuel pressure within the specified limits?

284-325 kPa (41-47 psi)

Go to Step 3

Go to Step 13

3

Important:: The fuel pressure may vary slightly when the fuel pump stops running, the fuel pressure should stabilize and remain constant.

  1. Note the fuel pressure after the fuel pump stops running.
  2. Does the fuel pressure drop more than the specified value in 10 minutes?

34 kPa (5 psi)

Go to Step 10

Go to Step 4

4

  1. Relieve the fuel pressure to the first specified value.
  2. Does the fuel pressure drop more than the second specified value in 10 minutes?

69 kPa (10 psi)

14 kPa (2 psi)

Go to Step 20

Go to Step 5

5

Is the fuel pressure suspected of dropping-off during acceleration, cruise, or hard cornering?

--

Go to Step 6

Go to Step 8

6

Visually and physically inspect the following items for a restriction:

    • The in-pipe fuel filter.
    • The fuel feed pipe.

Was a restriction found?

--

Go to Step 26

Go to Step 7

7

  1. Remove the fuel sender assembly. Refer to Fuel Sender Assembly Service
  2. Visually and physically inspect the following items:
  3. • The fuel pump strainer for a restriction.
    • The fuel pump strainer for correct position, and installation on the fuel sender assembly
    • The fuel pump pulse dampener for leaks.
    • Verify the fuel pump is the correct fuel pump for this vehicle.

Was a problem found in any of these areas?

--

Go to Step 26

Go to Step 20

8

  1. Turn the ignition OFF for 10 seconds.
  2. Turn the ignition ON.
  3. Important:: The fuel pump will run for approximately 2 seconds. Cycle the ignition as necessary in order to achieve the highest possible fuel level.

  4. Note this fuel pressure.
  5. Start the engine.
  6. Allow the engine to idle at normal operating temperature.

Is the fuel pressure less then noted pressure by the amount specified?

21-69 kPa (3-10 psi)

Go to Symptoms B

Go to Step 9

9

  1. Disconnect the vacuum hose from the fuel pressure regulator.
  2. With the engine idling, apply 12-14 inches of vacuum to the fuel pressure regulator.

Does the fuel pressure drop by the amount specified?

21-69 kPa (3-10 psi)

Go to Step 21

Go to Step 22

10

  1. Relieve the fuel pressure. Refer to Fuel Pressure Relief .
  2. Disconnect the fuel feed pipe and the fuel return pipe from the fuel rail. Refer to Servicing Quick Connect Fittings
  3. Notice: Do not allow the fuel pressure to exceed 450 kPa (65 psi). Fuel pressure in excess of 450 kPa (65 psi) may damage the Fuel Pressure Regulator.

  4. Install the J 37287 fuel pipe shut-off adapters between the fuel feed pipe and the fuel return pipe and the fuel rail.
  5. Open the valves on the Fuel Pipe Shut-Off Adapters.
  6. Turn the Ignition OFF.
  7. Pressurize the fuel system by using a scan tool.

  8. Place the bleed hose of the fuel pressure gauge into an approved gasoline container.
  9. Bleed the air out of the fuel pressure gauge.
  10. Wait for the fuel pressure to build.
  11. Close the valve in the fuel pipe shut-off adapter that is connected to the fuel feed pipe.

Does the fuel pressure remain constant?

--

Go to Step 11

Go to Step 12

11

  1. Remove the fuel sender assembly.Refer to Fuel Sender Assembly Replacement .
  2. Visually and physically inspect the fuel pump pulse dampener.

Is the fuel pump pulse dampener leaking?

--

Go to Step 23

Go to Step 20

12

  1. Open the valve in the fuel pipe shut-off adapter that is connected to the fuel feed pipe.
  2. Pressurize the fuel system by using a scan tool.
  3. Wait for the fuel pressure to build.
  4. Close the valve in the fuel pipe shut-off adapter that is connected to the fuel return pipe.

Does the fuel pressure remain constant?

--

Go to Step 22

Go to Step 24

13

Is the fuel pressure above the specified limit?

325 kPa (47 psi)

Go to Step 14

Go to Step 16

14

  1. Relieve the fuel pressure. Refer to Fuel Pressure Relief .
  2. Disconnect the fuel return pipe from the fuel rail. Refer to Servicing Quick Connect Fittings
  3. Attach a length of flexible fuel hose to the fuel rail return outlet passage.
  4. Place the open end of the flexible hose into an approved gasoline container.
  5. Turn the ignition OFF for approximately 10 seconds.
  6. Turn the ignition ON.
  7. Observe the fuel pressure gage with the fuel pump running.

Is the fuel pressure within the specified limits?

284-325kPa (41-47psi)

Go to Step 25

Go to Step 15

15

Visually and physically inspect the fuel rail outlet passages for a restriction.

Was a restriction found?

--

Go to Step 26

Go to Step 22

16

Is the fuel pressure above the specified value?

0 kPa (0 psi)

Go to Step 17

Go to Step 18

17

  1. Relieve the fuel pressure. Refer to Fuel Pressure Relief
  2. Disconnect the fuel return pipe from the fuel rail. Refer to Servicing Quick Connect Fittings
  3. Install the J 37287 fuel pipe shut-off adapter between the fuel return pipe and the fuel rail.
  4. Open the valve on the fuel pipe shut-off adapter.
  5. Turn the ignition OFF.
  6. Pressurize the fuel system by using a scan tool.
  7. Notice: Do not allow the fuel pressure to exceed 450 kPa (65 psi). Fuel pressure in excess of 450 kPa (65 psi) may damage the Fuel Pressure Regulator.

  8. Place the bleed hose of the fuel pressure gauge into an approved gasoline container.
  9. Bleed the air out of the fuel pressure gauge.
  10. Slowly close the valve in the Fuel Pipe Shut-Off Adapter that is connected to the Fuel Return Pipe.

Does the fuel pressure rise above the specified value?

284 -325 kPa (41-47)psi

Go to Step 22

Go to Step 7

18

Perform Fuel System Electrical Test. Refer to Fuel Pump Electrical Circuit Diagnosis

Was a problem found with the fuel pump electrical circuit?

--

Go to Step 26

Go to Step 19

19

Visually and physically inspect the following items:

    • The in-line fuel filter for obstructions.
    • The fuel feed pipe for a restriction.
    • The fuel pump strainer for obstructions.
    • The fuel pump strainer for correct positioning and installation on the fuel sender assembly.
    • The fuel pump pulse dampener for leaks.

Important: It will be necessary to remove the fuel sender assembly in order to inspect the fuel pump strainer and the fuel pump pulse dampener. Refer to Fuel Sender Assembly Replacement

Was a problem found in any of these areas?

--

Go to Step 26

Go to Step 20

20

Replace the fuel pump.

Is the action complete?

--

Go to Step 27

--

21

Locate and repair the loss of vacuum to the fuel pressure regulator.

Is the action complete?

--

Go to Step 27

--

22

Replace the fuel pressure regulator.

Is the action complete?

--

Go to Step 27

--

23

Replace the fuel pump pulse dampener.

Is the action complete?

--

Go to Step 27

--

24

Locate and replace any leaking fuel injector(s).

Is the action complete?

--

Go to Step 27

--

25

Locate and correct the restriction in the fuel return pipe.

Is the action complete?

--

Go to Step 27

--

26

Repair the problem as necessary.

Is the action complete?

--

Go to Step 27

--

27

  1. Turn the ignition OFF.
  2. Turn the air conditioning system OFF.
  3. Caution: Wrap a shop towel around the fuel pressure connection in order to reduce the risk of fire and personal injury. The towel will absorb any fuel leakage that occurs during the connection of the fuel pressure gage. Place the towel in an approved container when the connection of the fuel pressure gage is complete.

  4. Install the J 34730-1A fuel pressure gage.
  5. Place the bleed hose of the fuel pressure gauge into an approved gasoline container.
  6. Turn the ignition ON.
  7. Bleed the air out of the fuel pressure gage into an approved gasoline container.
  8. Turn the ignition OFF for 10 seconds.
  9. Turn the ignition ON.
  10. Important:: The fuel pump will run for approximately 2 seconds. Cycle the ignition as necessary in order to achieve the highest possible fuel level.

  11. Observe the fuel pressure indicated by the fuel pressure gage with the fuel pump running.

Is the fuel pressure within the specified limits?

284-325 kPa (41-47 psi)

Go to Step 28

Go to Step 13

28

Important:: The fuel pressure may vary slightly when the fuel pump stops running, the fuel pressure should stabilize and remain constant.

  1. Note the fuel pressure after the fuel pump stops running.
  2. Does the fuel pressure drop more than the specified value in 10 minutes?

34 kPa (5 psi)

Go to Step 10

System OK

Fuel System Pressure Test Chevrolet

Circuit Description


Object Number: 62599  Size: MF

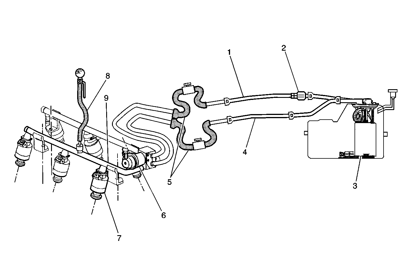
When the ignition switch is turned ON, the Powertrain Control Module (PCM) will turn ON the in-tank fuel pump. The in-tank fuel pump will remain ON as long as the engine is cranking or running and the PCM is receiving reference pulses. If there are no reference pulses, the PCM will turn the in-tank fuel pump OFF 2 seconds after the ignition switch is turned ON or 2 seconds after the engine stops running. The in-tank fuel pump is an electric pump, attached to the Fuel Sender Assembly. The in-tank fuel pump (3) supplies fuel through the fuel feed pipe (1), and in-line fuel filter (2) to the Fuel Rail Assembly (9). The fuel pump is designed to provide fuel at a pressure above the pressure needed by the fuel injectors (7). A fuel pressure regulator (6), attached to the Fuel Rail, keeps the fuel available to the fuel injectors at a regulated pressure. Unused fuel is returned to the fuel tank by a separate fuel return pipe (4). The fuel pressure gauge J 34730-1A (8) and fuel pipe shut off adapters J 37287 (5) are used for fuel system diagnosis.

Test Description

Number(s) below refer to the step number(s) on the Diagnostic Table.

  1. To relieve the fuel pressure, refer to Fuel Pressure Relief . With the ignition switch ON and the fuel pump running, the fuel pressure indicated by the fuel pressure gage should be 284-325 kPa (41-47 psi). This pressure is controlled by the amount of pressure the spring inside the fuel pressure regulator can provide.

  2. A fuel system that drops more than 5 psi in 10 minutes has a leak in one or more of the following areas:

  3. • The fuel pump check valve.
    • The fuel pump flex pipe.
    • The valve or valve seat within the fuel pressure regulator.
    • The fuel injector(s).
  4. Fuel pressure that drops-off during acceleration, cruise or hard cornering may cause a lean condition. A lean condition can cause a loss of power, surging, or misfire. A lean condition can be diagnosed using a scan tool. If an extremely lean condition occurs, the oxygen sensors(s) will stop toggling. The oxygen sensor output voltage(s) will drop below 500 mV. Also, the fuel injector width will increase.

Important: Make sure the fuel system is not operating in the Fuel Cut-Off Mode. This can cause false indications by the scan tool. Refer to Engine Scan Tool Data List

  1. When the engine is at idle, the manifold pressure is low (high vacuum). This low pressure (high vacuum) is applied to the fuel pressure regulator diaphragm. The low pressure (high vacuum) will offset the pressure being applied to the fuel pressure regulator diaphragm by the spring inside fuel pressure regulator. When this happens, the result is lower fuel pressure. The fuel pressure at idle will vary slightly as the barometric pressure changes, but the fuel pressure at idle should always be less than the fuel pressure noted in Step 2 with the Engine OFF.

  2. A rich condition may result from the fuel pressure being above 325 kPa (47 psi). A rich condition may cause a DTC P0132 or a DTC P0172 to set. Driveability conditions associated with rich conditions can include hard starting (followed by black smoke) and a strong sulfur smell in the exhaust.

  3. This test determines if the high fuel pressure is due to a restricted fuel return pipe or if the high fuel pressure is due to a faulty fuel pressure regulator.

  4. A lean condition may result from the fuel pressure being below 284 kPa (41 psi). A lean condition may cause a DTC P0131 or a DTC P0171 to set. Driveability conditions associated with lean conditions can include hard starting (when the engine is cold), hesitation, poor driveability, lack of power, surging, and misfiring.

  5. Restricting the fuel return pipe with the Fuel Pipe Shut-Off Adapter Refer toJ 37287 causes the fuel pressure to rise above the regulated fuel pressure. Using a scan tool to pressurize the system, the fuel pressure should rise above 325 kPa (47 psi) as the valve on the Fuel Pipe Shut-Off Adapter connected to the fuel return pipe becomes partially closed.

    Notice: Do not allow the fuel pressure to exceed 450 kPa (65 psi). Fuel pressure in excess of 450 kPa (65 psi) may damage the Fuel Pressure Regulator.

  6. Check the spark plug associated with a particular fuel injector for fouling or saturation in order to determine if that particular fuel injector is leaking. If checking the spark plug associated with a particular fuel injector for fouling or saturation does not determine that a particular fuel injector is leaking, use the following procedure.

  7. 1. Remove the fuel rail, but leave the fuel pipes connected to the fuel rail. Refer to Fuel Injection Fuel Rail Assembly Replacement portion of On-Vehical Service.
    2. Lift the fuel rail just enough to leave the fuel injector nozzles in the fuel injector ports.

            Caution: In order to reduce the risk of fire and personal injury that may result from fuel spraying on the engine, verify that the fuel rail is positioned over the fuel injector ports. Also verify that the fuel injector retaining clips are intact.

    3. Pressurize the fuel system by using a scan tool.
    4. Visually and physically inspect the fuel injector nozzles for leaks.

Step

Action

Value(s)

Yes

No

1

Was the Powertrain On-Board Diagnostic (OBD) System Check performed?

--

Go to Step 2

Go to Powertrain On Board Diagnostic (OBD) System Check

2

  1. Turn the ignition OFF.
  2. Turn the air conditioning system OFF.
  3. Caution: Wrap a shop towel around the fuel pressure connection in order to reduce the risk of fire and personal injury. The towel will absorb any fuel leakage that occurs during the connection of the fuel pressure gage. Place the towel in an approved container when the connection of the fuel pressure gage is complete.

  4. Install the J 34730-1A fuel pressure gage.
  5. Place the bleed hose of the fuel pressure gauge into an approved gasoline container.
  6. Turn the ignition ON.
  7. Bleed the air out of the fuel pressure gage into an approved gasoline container.
  8. Turn the ignition OFF for 10 seconds.
  9. Turn the ignition ON.
  10. Important:: The fuel pump will run for approximately 2 seconds. Cycle the ignition as necessary in order to achieve the highest possible fuel level

  11. Observe the fuel pressure indicated by the fuel pressure gage with the fuel pump running.

Is the fuel pressure within the specified limits?

284-325 kPa (41-47 psi)

Go to Step 3

Go to Step 12

3

Important: The fuel pressure may vary slightly when the fuel pump stops running, the fuel pressure should stabilize and remain constant.

  1. Note the fuel pressure after the fuel pump stops running.
  2. Does the fuel pressure drop more than the specified value in 10 minutes?

34 kPa (5 psi)

Go to Step 10

Go to Step 4

4

  1. Relieve the fuel pressure to the specified value.
  2. Does the fuel pressure drop more than the specified value in 10 minutes?

69 kPa (10 psi)

14 kPa (2 psi)

Go to Step 19

Go to Step 5

5

Is the fuel pressure suspected of dropping-off during acceleration, cruise, or hard cornering.

--

Go to Step 6

Go to Step 8

6

Visually and physically inspect the following items for a restriction:

    • The in-line fuel filter.
    • The fuel feed pipe.

Was a restriction found?

--

Go to Step 24

Go to Step 7

7

  1. Remove the modular sender assembly. Refer to Fuel Sender Assembly Replacement
  2. Visually and physically inspect the following items:
  3. • The fuel pump strainer for a restriction.
    • The fuel pump strainer for correct position, and installation on the fuel sender assembly
    • The fuel pump flex pipe for leaks.
    • Verify the fuel pump is the correct fuel pump for this vehicle.

Was a problem found in any of these areas?

--

Go to Step 24

Go to Step 19

8

  1. Turn the ignition OFF for 10 seconds.
  2. Turn the ignition ON.
  3. Important:: The fuel pump will run for approximately 2 seconds. Cycle the ignition as necessary in order to achieve the highest possible fuel level. Note this pressure.

  4. Start the engine.
  5. Allow the engine to idle at normal operating temperature.

Is the fuel pressure less than noted fuel pressure by the amount specified?

21-69 kPa (3-10 psi)

Go to Symptoms

Go to Step 9

9

  1. Disconnect the vacuum hose from the fuel pressure regulator.
  2. With the engine idling, apply 12-14 inches of vacuum to the fuel pressure regulator.

Does the fuel pressure drop by the amount specified?

21-69 kPa (3-10 psi)

Go to Step 20

Go to Step 21

10

  1. Relieve the fuel pressure. Refer to Fuel Pressure Relief
  2. Disconnect the fuel feed pipe and the fuel return pipe from the fuel rail. Refer to Servicing Quick Connect Fittings
  3. Install the J 37287 fuel pipe shut-off adapters between the fuel feed pipe and the fuel return pipe and the fuel rail.
  4. Notice: Do not allow the fuel pressure to exceed 450 kPa (65 psi). Fuel pressure in excess of 450 kPa (65 psi) may damage the Fuel Pressure Regulator.

  5. Open the valves on the Fuel Pipe Shut-Off Adapters.
  6. Turn the Ignition OFF.
  7. Pressurize the fuel system by using a scan tool.

  8. Place the bleed hose of the fuel pressure gauge into an approved gasoline container.
  9. Bleed the air out of the fuel pressure gauge.
  10. Wait for the fuel pressure to build.
  11. Close the valve in the fuel pipe shut-off adapter that is connected to the fuel feed pipe.

Does the fuel pressure remain constant?

--

Go to Step 19

Go to Step 11

11

  1. Open the valve in the fuel pipe shut-off adapter that is connected to the fuel feed pipe.
  2. Pressurize the fuel system by using a scan tool.
  3. Wait for the fuel pressure to build.
  4. Close the valve in the fuel pipe shut-off adapter that is connected to the fuel return pipe.

Does the fuel pressure remain constant?

--

Go to Step 21

Go to Step 22

12

Is the fuel pressure above the specified limit?

325 kPa (47 psi)

Go to Step 13

Go to Step 15

13

  1. Relieve the fuel pressure. Refer to Fuel Pressure Relief
  2. Disconnect the fuel return pipe from the fuel rail. Refer to Servicing Quick Connect Fittings
  3. Attach a length of flexible fuel hose to the fuel rail return outlet passage
  4. Place the open end of the flexible hose into an approved gasoline container.
  5. Turn the ignition OFF for approximately 10 seconds.
  6. Turn the ignition ON.
  7. Observe the fuel pressure gage with the fuel pump running.

Is the fuel pressure within the specified limits?

284-325 kPa (41-47 psi)

Go to Step 23

Go to Step 14

14

Visually and physically inspect the fuel rail outlet passages for a restriction.

Was a restriction found?

--

Go to Step 24

Go to Step 21

15

Is the fuel pressure above the specified value?

0 kPa (0 psi)

Go to Step 16

Go to Step 17

16

  1. Relieve the fuel pressure. Refer to Fuel Pressure Relief
  2. Disconnect the fuel return pipe from the fuel rail. Refer to Servicing Quick Connect Fittings
  3. Install theJ 37287 fuel pipe shut-off adapter between the fuel return pipe and the fuel rail.
  4. Open the valve on the fuel pipe shut-off adapter.
  5. Turn the ignition OFF.
  6. Pressurize the fuel system by using a scan tool.
  7. Notice: Do not allow the fuel pressure to exceed 450 kPa (65 psi). Fuel pressure in excess of 450 kPa (65 psi) may damage the Fuel Pressure Regulator.

  8. Place the bleed hose of the fuel pressure gauge into an approved gasoline container.
  9. Bleed the air out of the fuel pressure gauge.
  10. Slowly close the valve in the Fuel Pipe Shut-Off Adapter that is connected to the Fuel Return Pipe.

Does the fuel pressure rise above the specified value?

284-325 kPa (41-47 psi)

Go to Step 21

Go to Step 7

17

Perform Fuel System Electrical Test. Refer to Fuel Pump Electrical Circuit Diagnosis

Was a problem found with the fuel pump electrical circuit?

--

Go to Step 24

Go to Step 18

18

Visually and physically inspect the following items:

    • The in-line fuel filter for obstructions.
    • The fuel feed pipe for a restriction.
    • The fuel pump strainer for obstructions.
    • The fuel pump flex pipe for leaks.

Important: It will be necessary to remove the fuel sender assembly in order to inspect the fuel pump strainer and the fuel pump flex pipe. Refer to Fuel Sender Assembly Replacement

Was a problem found in any of these areas?

--

Go to Step 24

Go to Step 19

19

Replace the modular fuel sender assembly.

Is the action complete?

--

Go to Step 25

--

20

Locate and repair the loss of vacuum to the fuel pressure regulator.

Is the action complete?

--

Go to Step 25

--

21

Replace the fuel pressure regulator.

Is the action complete?

--

Go to Step 25

--

22

Locate and replace any leaking fuel injector(s).

Is the action complete?

--

Go to Step 25

--

23

Locate and correct the restriction in the fuel return pipe.

Is the action complete?

--

Go to Step 25

--

24

Repair the problem as necessary.

Is the action complete?

--

Go to Step 25

--

25

  1. Turn the ignition OFF.
  2. Turn the air conditioning system OFF.
  3. Caution: Wrap a shop towel around the fuel pressure connection in order to reduce the risk of fire and personal injury. The towel will absorb any fuel leakage that occurs during the connection of the fuel pressure gage. Place the towel in an approved container when the connection of the fuel pressure gage is complete.

  4. Install the J 34730-1A fuel pressure gage.
  5. Place the bleed hose of the fuel pressure gauge into an approved gasoline container.
  6. Turn the ignition ON.
  7. Bleed the air out of the fuel pressure gage into an approved gasoline container.
  8. Turn the ignition OFF for 10 seconds.
  9. Turn the ignition ON.
  10. Important:: The fuel pump will run for approximately 2 seconds. Cycle the ignition as necessary in order to achieve the highest possible fuel level

  11. Observe the fuel pressure indicated by the fuel pressure gage with the fuel pump running.
  12. Is the fuel pressure within the specified limits?

284-325 kPa (41-47 psi)

Go to Step26

Go to Step11

26

Important: The fuel pressure may vary slightly when the fuel pump stops running, the fuel pressure should stabilize and remain constant.

  1. Note the fuel pressure after the fuel pump stops running.
  2. Does the fuel pressure drop more than the specified value in 10 minutes?

34 kPa (5 psi)

Go to Step10

System OK