GM Service Manual Online
For 1990-2009 cars only
Makes
🢒
Chevrolet
🢒
1997
🢒
Lumina
🢒
Engine
🢒
Engine Controls - 3.4L (LQ1)
🢒 Emission Hose Routing Diagram
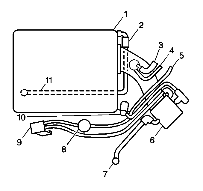
Figure
1:
Emission Hose Routing Diagram - W 3.4L (VIN X)
(1)
Intake Manifold
(2)
PCV Valve
(3)
To Vacuum Brake Booster
(4)
To Accessory
(5)
To EVAP Canister (AT Rear of Vehicle)
(6)
To Transaxle
(7)
Throttle Body
(8)
To Front Cam Cover
(9)
EVAP Vacuum Switch
(10)
Evap Canister Purge Valve
(11)
Fuel Pressure Regulator
(12)
Under Intake Manifold
Figure
2:
3.4L (VIN X) Chevrolet
(1)
Intake Manifold
(2)
PCV Valve
(3)
To Vacuum Brake Booster
(4)
To Accessory
(5)
To EVAP Canister (At Rear of Vehicle)
(6)
Throttle Body
(7)
To Front Cam Cover
(8)
EVAP Vacuum Switch
(9)
EVAP Canister Purge Valve
(10)
Fuel Pressure Regulator
(11)
Under Intake Manifold