GM Service Manual Online
For 1990-2009 cars only
Makes
🢒
Chevrolet
🢒
1997
🢒
Lumina
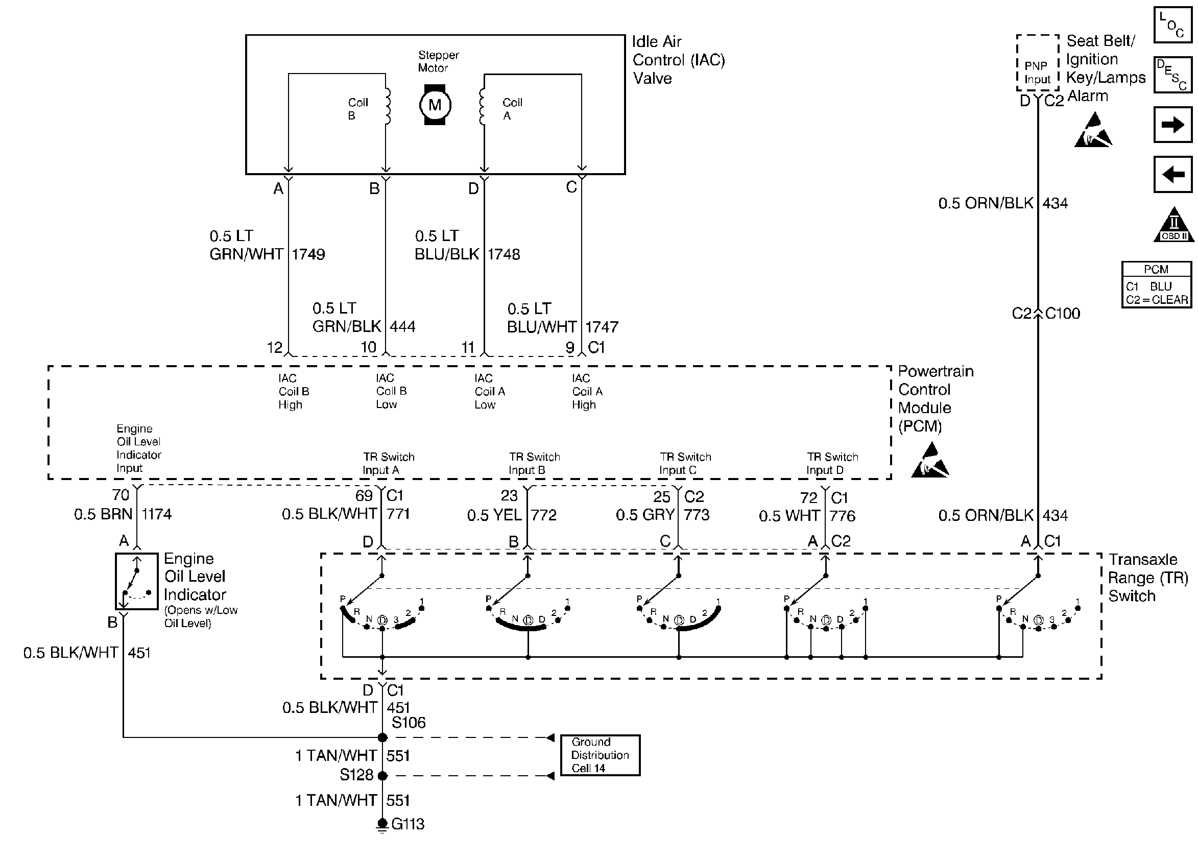
🢒 IAC Valve, Trans Range
IAC Valve, Trans Range
IAC Valve, Trans Range
Engine Controls Components
Information Sensors
VSS, Cruise Control Module
HO2S Sensors
OBD II Symbol Description Notice
Handling ESD Sensitive Parts Notice
Handling ESD Sensitive Parts Notice