GM Service Manual Online
For 1990-2009 cars only
Makes
🢒
Chevrolet
🢒
1997
🢒
Lumina
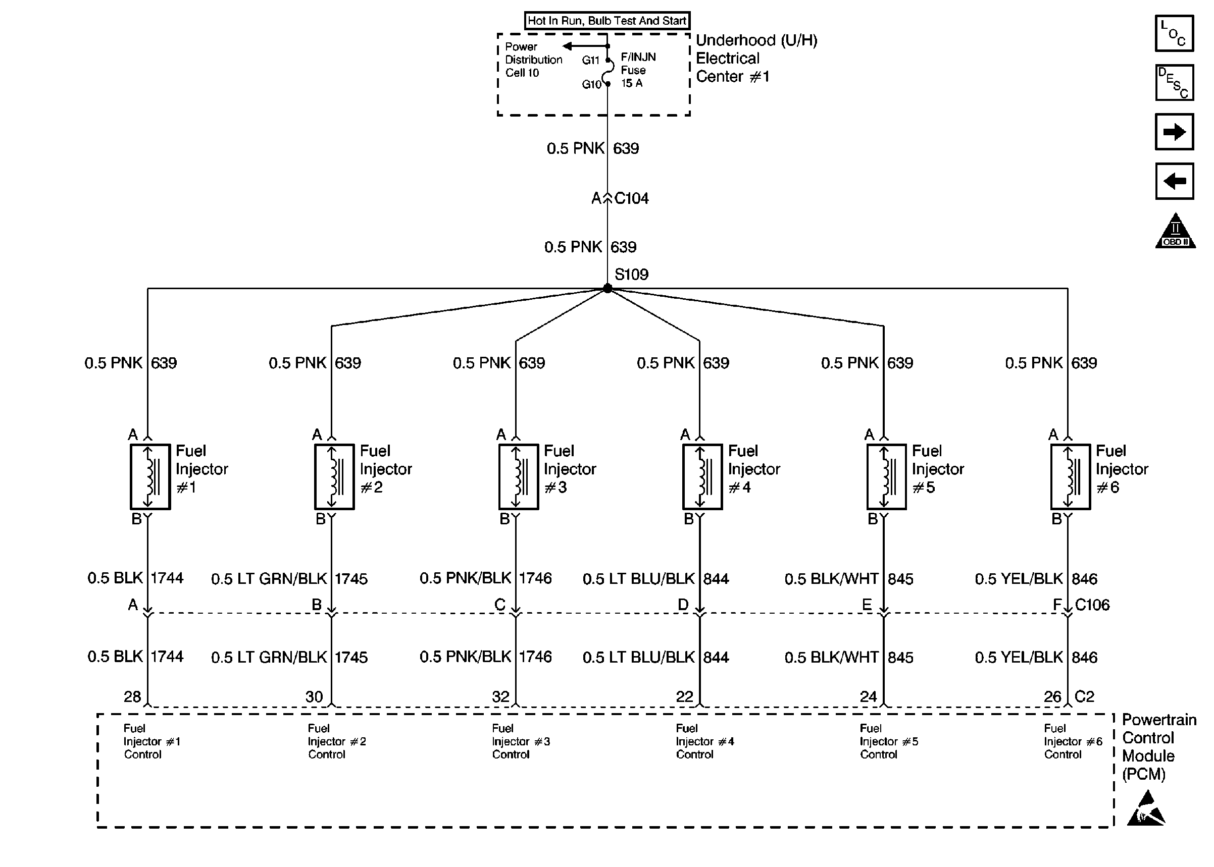
🢒 Fuel Injectors
Fuel Injectors
Fuel Injectors
Engine Controls Components 97
Information Sensors
Indicator Lamps
Fuel Control
OBD II Symbol Description Notice
Handling ESD Sensitive Parts Notice