GM Service Manual Online
For 1990-2009 cars only

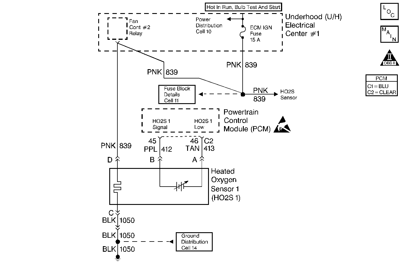
Object Number: 56325  Size: MF
Engine Controls Components
Engine Data Sensors-HO2S-1, HO2S-2
OBD II Symbol Description Notice
Handling ESD Sensitive Parts Notice

Circuit Description

The PCM supplies a bias voltage of about 450 mV between the HO2S signal and low circuits. When measured with a 10 megohm digital voltmeter, this may display as low as 320 mV. The oxygen sensor varies the voltage within a range of about 1000 mV when the exhaust is rich, down through about 10 mV when exhaust is lean. The PCM constantly monitors the HO2S signal during closed loop operation and compensates for a rich or lean condition by decreasing or increasing injector pulse width as necessary. If the HO2S 1 voltage remains at or near the 450 mV bias for an extended period of time, DTC P0134 will be set, indicating an open sensor signal or sensor low circuit.

Conditions for Running the DTC

    • No active Transaxle, TP sensor, EVAP system, EGR Pintle, ECT sensor, IAT sensor, CKP sensor, Misfire, Fuel Trim, Fuel Injector Circuit, MAF sensor, or AIR system DTC(s) present.
    • Engine run time longer than 3 minutes.

Conditions for Setting the DTC

HO2S 1 signal voltage remains between 400 mV and 500 mV for longer than 30 seconds.

Action Taken When the DTC Sets

    • The PCM will illuminate the MIL during the second consecutive trip in which the diagnostic test has been run and failed.
    • The PCM will store conditions which were present when the DTC set as Freeze Frame and Fail Records data.

Conditions for Clearing the MIL/DTC

    • The PCM will turn the MIL OFF during the third consecutive trip in which the diagnostic has been run and passed.
    • The history DTC will clear after 40 consecutive warm-up cycles have occurred without a malfunction.
    • The DTC can be cleared by using the scan tool Clear Info function or by disconnecting the PCM battery feed.

Diagnostic Aids

Check for the following conditions:

    • Poor connection or damaged harness. Inspect the harness connectors for backed out terminals, improper mating, broken locks, improperly formed or damaged terminals, poor terminal to wire connection, and damaged harness.
    • Faulty HO2S heater or heater circuit. With the ignition ON, engine OFF, the HO2S voltage displayed on a scan tool should gradually drop to below 250 mV or rise to above 600 mV.. If not, disconnect the HO2S and connect a test light between the HO2S ignition feed and heater ground circuits. If the test light does not light, repair the open ignition feed or sensor ground circuit as necessary. Refer to Repair Procedures in Electrical Diagnosis. If the test light lights and the HO2S signal and low circuits are OK, replace the HO2S. Refer to Heated Oxygen Sensor Replacement .
    • Intermittent test. With the ignition ON, monitor the HO2S signal voltage while moving the wiring harness and related connectors. If the fault is induced, the HO2S signal voltage will change. This may help isolate the location of the malfunction.

Reviewing the Fail Records vehicle mileage since the diagnostic test last failed may help determine how often the condition that caused the DTC to be set occurs. This may assist in diagnosing the condition.

Test Description

Number(s) below refer to the step number(s) on the Diagnostic Table.

  1. This vehicle is equipped with a PCM which utilizes an Electrically Erasable Programmable Read Only Memory (EEPROM). When the PCM is being replaced, the new PCM must be programmed.

DTC P0134 - HO2S Circuit Insufficient Activity Sensor 1

Step

Action

Value(s)

Yes

No

1

Was the Powertrain On-Board Diagnostic System Check performed?

--

Go to Step 2

Go to the Powertrain On Board Diagnostic (OBD) System Check

2

  1. Engine at operating temperature.
  2. Operate engine above 1200 rpm for two minutes while monitoring HO2S 1 voltage on the scan tool HO2S data list.

Does scan tool indicate HO2S 1 voltage varying outside the specified values?

400-500mV

Go to Step 3

Go to Step 4

3

  1. Turn ON the ignition switch engine OFF, review and record scan tool Fail Records data and note parameters.
  2. Operate vehicle within Fail Records conditions as noted.
  3. Using a scan tool, monitor Specific DTC info for DTC P0134 until the DTC P0134 test runs.

Note test result; does scan tool indicate DTC failed this ign?

--

Go to Step 4

Refer to Diagnostic Aids

4

  1. Turn ON the ignition switch, Engine OFF.
  2. Disconnect HO2S 1 and jumper the HO2S signal and low circuits (PCM side) to ground.
  3. Using a scan tool, monitor HO2S 1 voltage.

Is HO2S 1 voltage less than the specified value?

150mV

Go to Step 8

Go to Step 5

5

  1. Remove jumper wire.
  2. Using a DVM (J 39200), measure voltage between the HO2S 1 signal circuit (PCM side) and the HO2S 1 heater ground circuit.

Does HO2S 1 signal voltage measure near the specified value?

450mV

Go to Step 6

Go to Step 7

6

  1. Turn OFF the ignition switch.
  2. Disconnect the PCM and check continuity of the HO2S 1 low circuit.
  3. If the HO2S 1 low circuit measures over 5 ohms, repair open or poor connection as necessary. Refer to Repair Procedures Electrical Diagnosis.

Was an HO2S 1 low circuit problem found and corrected?

--

Go to Step 13

Go to Step 9

7

  1. Turn OFF the ignition switch.
  2. Disconnect the PCM and check continuity of the HO2S 1 signal circuit.
  3. If the HO2S 1 signal circuit measures over 5 ohms, repair open or poor connection as necessary. Refer to Repair Procedures Electrical Diagnosis.

Was a HO2S 1 signal circuit problem found and corrected?

--

Go to Step 13

Go to Step 10

8

Check for a poor HO2S 1 signal or low circuit terminal connection at the HO2S 1 harness connector and replace terminal(s) if necessary. Refer to Repair Procedures Electrical Diagnosis.

Did any terminals require replacement?

--

Go to Step 13

Go to Step 11

9

Check for poor HO2S 1 low circuit terminal connection at the PCM and replace terminal if necessary. Refer to Repair Procedures Electrical Diagnosis.

Did the terminal require replacement?

--

Go to Step 13

Go to Step 12

10

Check for poor HO2S 1 signal circuit terminal connection at the PCM and replace terminal if necessary. Refer to Repair Procedures Electrical Diagnosis.

Did the terminal require replacement?

--

Go to Step 13

Go to Step 12

11

Replace HO2S 1. Refer to Heated Oxygen Sensor Replacement .

Is action completed?

--

Go to Step 13

--

12

Replace the PCM.

Important: Replacement PCM must be programmed. Refer to Powertrain Control Module Replacement/Programming .

Is action complete?

--

Go to Step 13

--

13

  1. Turn ON the ignition switch engine OFF, review and record scan tool Fail Records data.
  2. Clear DTCs.
  3. Operate vehicle within Fail Records conditions as noted.
  4. Using a scan tool, monitor Specific DTC info for DTC P0134 until the DTC P0134 test runs.

Note test result; does scan tool indicate DTC failed this ign?

--

Go to Step 2

System OK