GM Service Manual Online
For 1990-2009 cars only

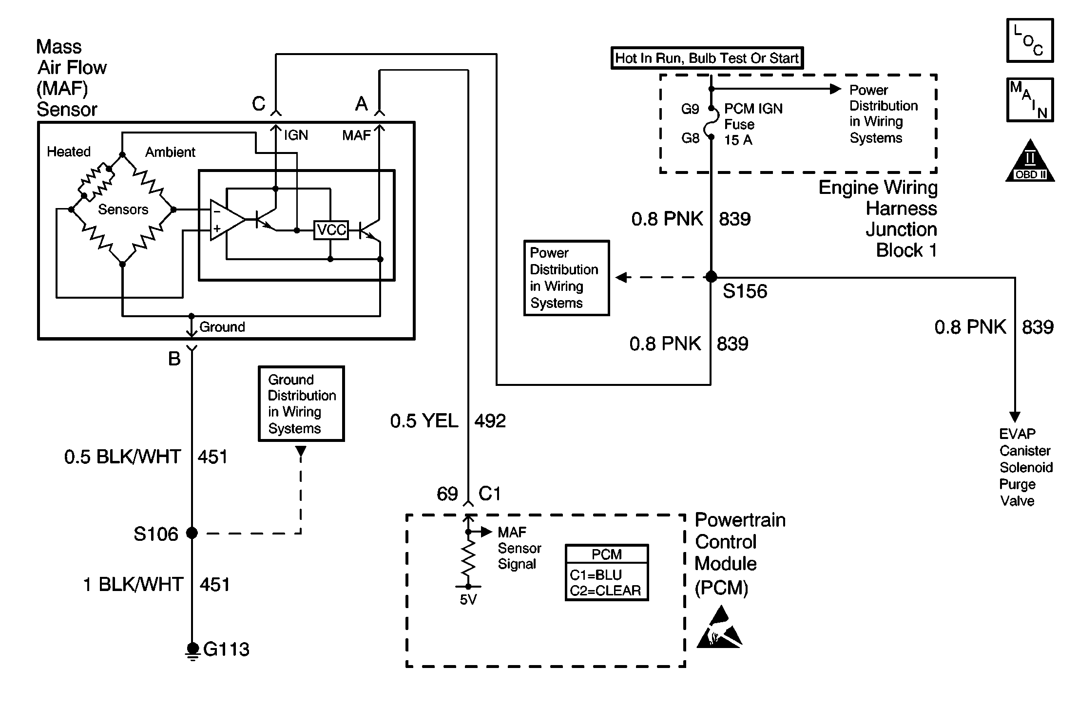
Object Number: 600927  Size: MF
Engine Controls Components
Engine Controls Schematics
OBD II Symbol Description Notice
Handling ESD Sensitive Parts Notice

Circuit Description

The Mass Air Flow (MAF) sensor measures the amount of air which passes through it into the engine. The PCM uses the mass air flow information to monitor engine operating conditions for fuel delivery calculations. A large quantity of air entering the engine indicates an acceleration or high load situation, while a small quantity of air indicates deceleration or idle.

The MAF sensor produces a frequency signal which can be monitored using a scan tool. The frequency will vary within a range of around 2000 Hertz at idle to near 8000 Hertz at maximum engine load. DTC P0101 will be set if the signal from the MAF sensor does not match a predicted value based on barometric pressure, air density, manifold pressure, throttle position, and engine RPM.

Conditions for Running the DTC

    •  The engine is running.
    •  Ignition voltage between 9.0 and 18.0 volts.
    •  Throttle angle less than 50 percent.
    •  MAP and TP steady for more than 10 seconds.

Conditions for Setting the DTC

The difference between actual airflow and predicted airflow is greater than a calibrated value.

Action Taken When the DTC Sets

    • The PCM will illuminate the malfunction indicator lamp (MIL) during the second consecutive trip in which the diagnostic test has been run and failed.
    • The PCM will store conditions which were present when the DTC set as Freeze Frame/Failure Records data.

Conditions for Clearing the MIL/DTC

    • The PCM will turn OFF the malfunction indicator lamp (MIL) during the third consecutive trip in which the diagnostic has run and passed.
    • The history DTC will clear after 40 consecutive warm-up cycles have occurred without a malfunction.
    • The DTC can be cleared by using a scan tool.

Diagnostic Aids

Inspect for the following conditions:

    •  Skewed or stuck TP sensor. A faulty TP sensor or TP sensor circuit can cause the PCM to incorrectly calculate the predicted mass air flow value. Observe Throttle Angle with the throttle closed. If the Throttle Angle reading is not 0 percent, inspect for the following conditions and repair as necessary:
       -  TP sensor signal circuit shorted to voltage. Refer to Wiring Repairs in Wiring Systems.
       -  Faulty connection or high resistance in the TP sensor ground circuit. Refer to Testing for Intermittent Conditions and Poor Connections in Wiring Systems .
    •  If none of the above conditions are noted and the Throttle Angle reading at closed throttle is not 0 percent, replace the TP sensor.
    •  Skewed MAP sensor. A skewed MAP sensor can cause the BARO reading to be incorrectly calculated. To inspect the MAP sensor, compare the MAP/BARO reading on the vehicle being diagnosed to the MAP/BARO reading on a normally operating vehicle. If a large difference is noted replace the MAP sensor.
    •  Misrouted harness-- Inspect the MAF sensor harness to ensure that it is not routed too close to high voltage wires such as spark plug leads.
    •  Plugged intake air duct or dirty air filter element.
    •  The actual Mass Air Flow is compared to a calculated Mass Air Flow based on the MAP, TP, and engine RPM readings (speed density). A skewed/unresponsive MAP sensor at key ON will cause the calculated Mass Air Flow value to be inaccurate. When the engine is started a calculated difference between actual Mass Air Flow and Calculated Mass Air Flow occurs. DTC P0101 will set, the vehicle will stall, a default Mass Air Flow based on the MAP sensor will occur. Because the MAP sensor is skewed/unresponsive the default Mass Air Flow values are incorrect and vehicle may not restart. If a fault occurs which causes the MAP sensor value to be incorrect (faulty vacuum connections, damaged vacuum source, or defective vacuum hoses, unmetered air into the manifold), DTC P0101 will set and the default mass airflow value will be substituted. Because the MAP sensor value is incorrect the vehicle may not start and run.

Many situations may lead to an intermittent condition. Perform each inspection or test as directed.

Important: :  Remove any debris from the connector surfaces before servicing a component. Inspect the connector gaskets when diagnosing or replacing a component. Ensure that the gaskets are installed correctly. The gaskets prevent contaminate intrusion.

    • Loose terminal connection
       -  Use a corresponding mating terminal to test for proper tension. Refer to Testing for Intermittent Conditions and Poor Connections , and to Connector Repairs in Wiring Systems for diagnosis and repair.
       -  Inspect the harness connectors for backed out terminals, improper mating, broken locks, improperly formed or damaged terminals, and faulty terminal to wire connection. Refer to Testing for Intermittent Conditions and Poor Connections , and to Connector Repairs in Wiring Systems for diagnosis and repair.
    • Damaged harness--Inspect the wiring harness for damage. If the harness inspection does not reveal a problem, observe the display on the scan tool while moving connectors and wiring harnesses related to the sensor. A change in the scan tool display may indicate the location of the fault. Refer to Wiring Repairs in Wiring Systems for diagnosis and repair.
    •  Inspect the powertrain control module (PCM) and the engine grounds for clean and secure connections. Refer to Wiring Repairs in Wiring Systems for diagnosis and repair.

If the condition is determined to be intermittent, reviewing the Snapshot or Freeze Frame/Failure Records may be useful in determining when the DTC or condition was identified.

Test Description

The numbers below refer to the step numbers on the diagnostic table.

  1. Only, if sent here from the Engine Cranks But Does Not Run, continue to follow diagnostic table even if DTC P0101 has NOT failed this ignition.

  2. This step inspects the MAP sensor. By disconnecting the MAF sensor, the vehicle is forced into speed density. Speed density is based on the MAP, TP, and engine RPM readings. With a skewed/unresponsive MAP sensor, the speed density calculation is incorrect and vehicle may not start. For further information refer to Diagnostic Aids.

  3. This step inspects for skewed or sticking MAP sensor. MAP sensor should respond smoothly and gradually as RPM is increased. Compare MAP sensor of affected vehicle to that of a normally operating vehicle if a large difference is noted replace the MAP sensor.

  4. Verifies that ignition feed voltage and a good ground are available at the MAF sensor.

Step

Action

Value(s)

Yes

No

1

Did you perform the Powertrain On Board Diagnostic (OBD) System Check?

--

Go to Step 2

Go to Powertrain On Board Diagnostic (OBD) System Check

2

Select the DTC function on the scan tool.

Does the scan tool display any other DTCs?

--

Go to the applicable DTC table

Go to Step 3

3

  1. With a scan tool observe and record scan tool Fail Records data.
  2. Operate vehicle within Fail Records conditions.
  3. With a scan tool, observe Specific DTC info for DTC P0101.

Does the scan tool indicate DTC P0101 failed this ignition?

--

Go to Step 4

Go to Diagnostic Aids

4

Important: :  DO NOT CLEAR DTCs.

  1. Disconnect MAF sensor.
  2. Attempt to start engine.

Does engine start and continue to run?

--

Go to Step 5

Go to Step 6

5

  1. Turn OFF the ignition.
  2. Reconnect MAF sensor.
  3. Start the engine.
  4. With a scan tool, observe the MAP sensor parameter on the scan tool while slowly increasing engine speed to 3000 RPM.

Does the MAP sensor parameter value change as engine speed increases?

--

Go to Step 7

Go to Step 6

6

Diagnose the MAP sensor. Refer to Manifold Absolute Pressure Sensor Circuit Diagnosis .

Did you find and correct the condition?

--

Go to Step 20

Go to Step 7

7

  1. Turn ON the ignition, with the throttle closed.
  2. With a scan tool, observe Throttle Angle parameter.

Does the scan tool display the specified value?

0%

Go to Step 8

Go to DTC P0121 Throttle Position (TP) Sensor Performance

8

  1. Turn OFF the ignition.
  2. Disconnect the MAF sensor.
  3. Turn ON the ignition, with the engine OFF.
  4. Connect a DMM between the signal circuit of the MAF sensor and a good ground.

Does the voltage measure near the specified value?

5.0V

Go to Step 9

Go to Step 10

9

Connect a test lamp between the ignition feed and ground circuits of the MAF sensor.

Does the test lamp illuminate?

--

Go to Step 13

Go to Step 12

10

Does the voltage measure less than the specified value?

4.5V

Go to Step 14

Go to Step 11

11

  1. Turn OFF the ignition.
  2. Disconnect the PCM.
  3. Turn ON the ignition, with the engine OFF.
  4. Connect a Digital Multimeter between the signal circuit of the MAF sensor and a good ground.

Does the voltage measure near the specified value?

0.0V

Go to Step 20

Go to Step 17

12

Connect a test lamp between the ignition feed circuit of the MAF sensor and a good ground.

Does the test lamp illuminate?

--

Go to Step 15

Go to Step 16

13

Inspect for a faulty connection at the MAF sensor. Refer to Testing for Intermittent Conditions and Poor Connections in Wiring Systems.

Did you find and correct the condition?

--

Go to Step 20

Go to Step 18

14

Inspect the MAF sensor circuits for the following conditions:

  1. Excessive resistance in the signal circuit of the MAF sensor.
  2. Excessive resistance in the ground circuit of the MAF sensor.
  3. Short to ground in the signal circuit of the MAF sensor.
  4. Faulty connection at the PCM.

Refer to Testing for Intermittent Conditions and Poor Connections , Connector Repairs and Wiring Repairs in Wiring Systems.

Did you find and correct the condition?

--

Go to Step 20

Go to Step 19

15

Repair the open or excessive resistance in the ground circuit of the MAF sensor. Refer to Wiring Repairs in Wiring Systems.

Did you complete the repair?

--

Go to Step 20

--

16

Repair the open or excessive resistance in the ignition feed circuit of the MAF sensor. Refer to and Wiring Repairs in Wiring Systems.

Did you complete the repair?

--

Go to Step 20

--

17

Locate and repair the short to voltage in the signal circuit of the MAF sensor. Refer to Wiring Repairs in Wiring Systems.

Did you complete the repair?

--

Go to Step 20

--

18

Replace the MAF sensor. Refer to Mass Airflow Sensor Replacement .

Did you complete the replacement?

--

Go to Step 20

--

19

Important: :  The replacement PCM must be programmed.

Replace the PCM. Refer to Powertrain Control Module Replacement/Programming .

Did you complete the replacement?

--

Go to Step 20

--

20

  1. Use the scan tool in order to record Fail Records and clear the DTCs.
  2. Operate vehicle within the Fail Record conditions as noted.

Does the DTC reset?

--

Go to Step 2

System OK