GM Service Manual Online
For 1990-2009 cars only
Figure 1:

Left and Right side of Radiator Support Rails


Object Number: 572440  Size: LF
(1)G101
(2)G102
Figure 2:

Front Left of Engine Compartment


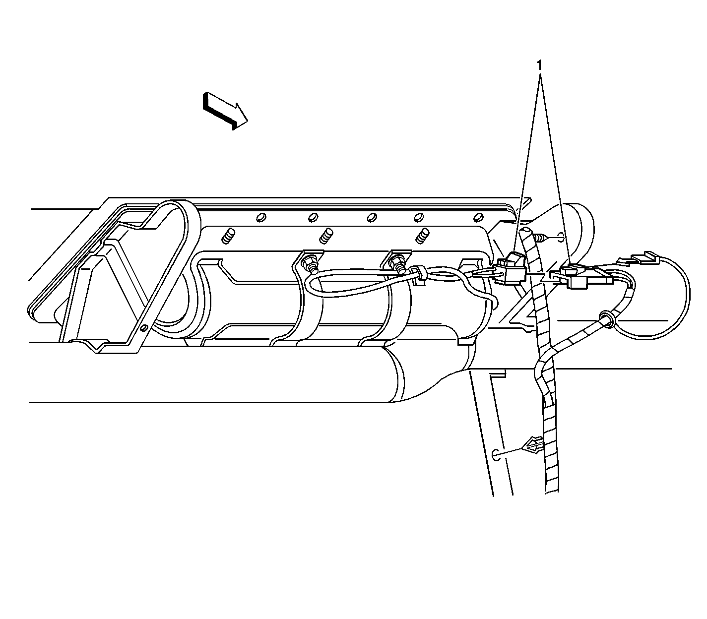
Object Number: 572432  Size: LF
(1)G100
(2)Engine Wiring Junction Block 2
(3)Battery Positive Thermial
(4)Battery Negitive Thermial
(5)G113
Figure 3:

Right Front Side of Engine Compartment


Object Number: 572633  Size: LF
(1)C130 (Inline from Right Engine Cooling Fan to Engine)
(2)Engine Coolant Level Indicator Module Connector
(3)Engine Coolantr Level Indicator Module
(4)Forward Lamp Harness
Figure 4:

Right Front Fender


Object Number: 572631  Size: LF
(1)P102
(2)Forward Lamp Harness
Figure 5:

Left Side of Engine Compartment


Object Number: 572312  Size: LF
(1)P101
(2)Lf Wheel Speed Sensor Connector
(3)Windshield Washer Pump Connector
(4)Windshield Washer Fluid Tank
(5)G205
Figure 6:

Right Side of Engine Compartment (RPO LG8)


Object Number: 572330  Size: LF
(1)C100 (Inline From Engine to IP Harness)
(2)Powertrain Control Module
Figure 7:

Right Side of Engine Compartment (RPO LG8)


Object Number: 572330  Size: LF
(1)C100 (Inline From Engine to IP Harness)
(2)Powertrain Control Module
Figure 8:

Top Front of Engine (RPO LG8)


Object Number: 572325  Size: LF
(1)C108 (Inline From Fuel Injector Harness to Engine)
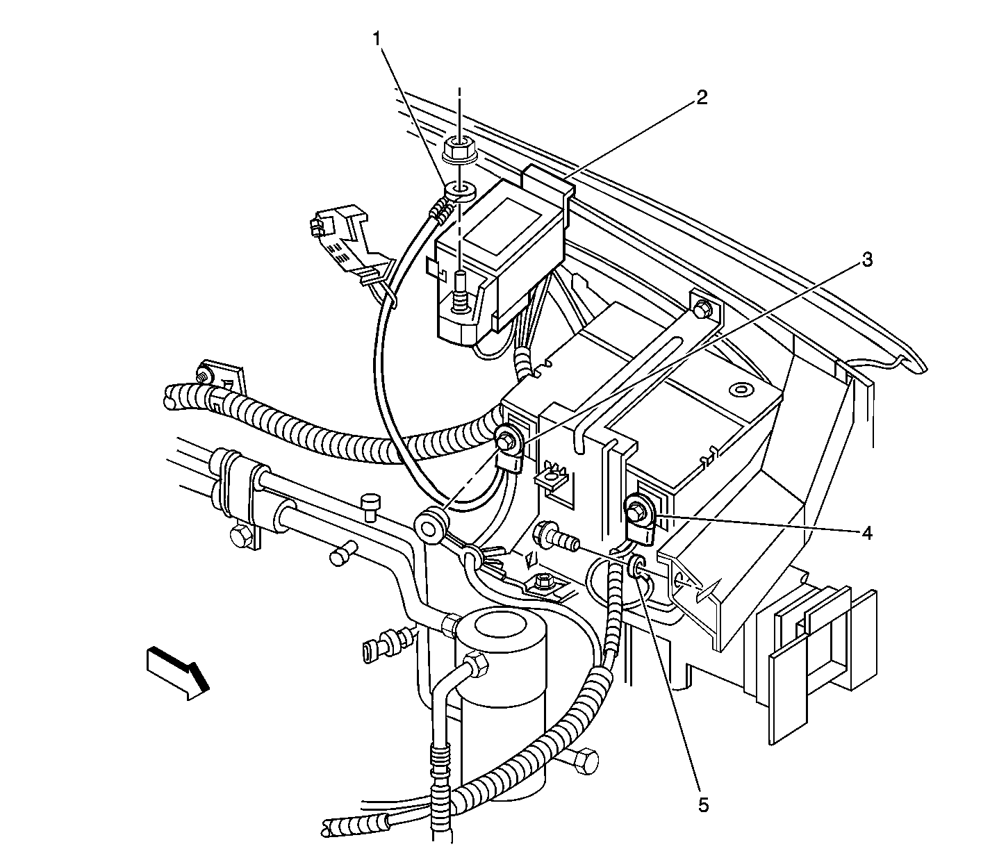
Figure 9:

Lower Right Side of Engine (RPO LG8)


Object Number: 572604  Size: LF
(1)G113, G117
(2)Starter Solenoid
(3)Positive B+ Connection
(4)Fusible LInks
Figure 10:

Rear of Enigne, Left Side of Enigne Compartment


Object Number: 572320  Size: LF
(1)C113 (Inline From A/T to Engine Harness)
(2)Park/Neutral Position Switch Connector, C1
(3)Park/Neutral Position Switch Connector, C2
Figure 11:

Left Side of Engine Compartment, In Front of Stud Tower


Object Number: 572635  Size: LF
(1)Cruise Control Module
(2)C156 (Inline From Washer/Wiper top Engine Harness)
(3)Cruise Control Module Connector
Figure 12:

Upper Left of Enigne Compartment


Object Number: 572623  Size: LF
(1)P103
(2)P104
Figure 13:

Right Side of the Dash Panel, Near the Stut Tower


Object Number: 572638  Size: LF
(1)C100 (Inline from Engine to IP Harness)
Figure 14:

Rear of Engine Compartment (Bulkhead)


Object Number: 572338  Size: LF
(1)
(2)C172 (Inline from RF Wheel Speed Sensor to Wiper/Washer Harness)
(3)P103
(4)
(5)P102
(6)RF Wheel Speed Sensor Connector
Figure 15:

Roof, Dome/Sunshade Lamps and Inside Rearview Mirror


Object Number: 590822  Size: LF
(1)Inside Rearview Mirror Connector
(2)Dome Lamp Connector
(3)Sunshade Lamp Connector
(4)Row 2, C200 (Inline Connector from IP to Body Harness)
Figure 16:

Below Steering Column, Left Side of Instrument Panel


Object Number: 572400  Size: LF
(1)C215 (Inline from Steering Column to IP Harness)
(2)C201 (Inline From Steering Column to IP Harness)
(3)C207 (Inline Form Theft Deterrent Key Resister to IP Harness)
Figure 17:

Behind IP, Right Side of Brake Pedal Bracket


Object Number: 572610  Size: LF
(1)G251
(2)G201
(3)C201 (Inline from Steering Column and IP Harness)
Figure 18:

Left Side of Brake Pedal Bracket (IP)


Object Number: 572402  Size: LF
(1)C219 (Inline From Wiper/Washer to IP Harness)
(2)G205
(3)Electronic Brake Control Module
(4)Electronic Brake Control Module Connector, C2
(5)Electronic Brake Control Module Connector, C1
(6)C213 (Inline From Wiper/Washer to IP Harness)
Figure 19:

Center of Instrument Panel (w/o RPO D55)


Object Number: 572641  Size: LF
(1)C240 (Inline from IP Ashtray Jumper to IP Harness)
Figure 20:

Behind Right Instrument Panel


Object Number: 572404  Size: LF
(1)C216 (Inline From Instrument Panel SIR to Instrument Panel)
Figure 21:

Lower Left Pillar A


Object Number: 572407  Size: LF
(1)C200, Row 2
(2)C200 (Inline From Body to Instrument Panel)
Figure 22:

Lower Left Pillar A


Object Number: 572412  Size: LF
(1)Body Harness
(2)Froward Lamp Harness)
(3)C200 (Inline from Body to Instrument Panel Harness)
Figure 23:

Right Side of Passenger Compartment


Object Number: 572334  Size: LF
(1)Door Lock Relay Connector
(2)C200 (Inline From Body to IP Harness)
(3)C302 (inline From LF Door to Body) RH Shown, C301 LH Similar
(4)G302
(5)C356 (Inline From Rear Door to Body) RH Shown, C355 LH Similar
(6)C372 (Inline From RR Wheel Speed Sensor to Body) RH Shown, C371 LH Similar
Figure 24:

Left Front Door


Object Number: 572405  Size: LF
(1)Door Lock Connector, C2 (Actuator)`
(2)Door Lock Key Cylinder Connector (w/ RPO AU6)
(3)Door Lock Connector, C1 (Ajar Switch)
(4)Window Switch Connector, C1
(5)Window Switch Connector, C2
(6)Window Regulator Motor Connector, LF
(7)Outside Remote Control Rearview Mirror Switch Connector
(8)P500
(9)C301 (inline from LF Door to Body Harness)
Figure 25:

Below Rear of Left Front Seat, Drivers


Object Number: 572645  Size: LF
(1)Seat Belt Switch Connector
Figure 26:

Left and Right Base of Pillar B


Object Number: 572616  Size: LF
(1)G302
(2)G301
Figure 27:

Right Side of Passenger Compartment and Crossbody


Object Number: 572620  Size: LF
(1)C200, ROW 2
(2)G301
(3)C313 (Inline from Power Seat, Driver to Body Harenss)
Figure 28:

Left Rear Door Shown, RR Door Similar


Object Number: 572416  Size: LF
(1)Door Lock Switch Connector, C1
(2)Door Lock Switch Connector, C2
(3)P700
(4)C355 (Inline from LR Door to Body)
(5)Door Lock Assembly
(6)Door Lock Connector, C1 (Actuator)
(7)Door Lock Connector, C2 (Ajar Switch)
Figure 29:

Below Rear of Vehicle


Object Number: 572649  Size: LF
(1)C405 (Inline from Fuel Tank to Body Harness)
Figure 30:

Below Left Rear Wheel Well


Object Number: 572650  Size: LF
(1)C371 (inline from LR Wheel Speed Sensor to Body Harness)
Figure 31:

Below Right Rear Wheel Well


Object Number: 572651  Size: LF
(1)C372 (Inline from RR Wheel Speed Sensor to Body Harness)
Figure 32:

Rear of Rear Compartment Lid


Object Number: 572460  Size: LF
(1)Rear Compartment LID
(2)Backup Lamp, RH
(3)C430 (Inline From Rear Compartment Lid to Rear Body Harness)
(4)Backup Lamp, LH
Figure 33:

Right Side of Rear Compartment


Object Number: 572653  Size: LF
(1)P400
Figure 34:

Below Rear Package Shelf


Object Number: 572424  Size: LF
(1)C400 (Inline from Body to Rear Body Harness)
(2)Radio Speaker, RR
(3)Radio Speaker, LR
Figure 35:

Rear of Vehicle


Object Number: 572627  Size: LF
(1)Park/Turn Signal Lamp, RH
(2)Backup Lamp, RH
(3)P400
(4)License Lamp
(5)Backup Lamp, LH
(6)Park/Turn Signal Lamp, LH
(7)C430 (Inline from Rear Body to Rear Compartment Harness)