GM Service Manual Online
For 1990-2009 cars only

Removal Procedure

  1. Disconnect the negative battery cable. Refer to Battery Negative Cable Disconnection and Connection in Engine Electrical.
  2. Disable the SIR system. Refer to Disabling the SIR System in SIR.
  3. Remove the instrument panel steering column opening filler. Refer to Steering Column Opening Filler Replacement .
  4. Remove the instrument panel driver knee bolster bracket. Refer to Knee Bolster Bracket Replacement .
  5. Remove the RH and LH instrument panel insulators.
  6. • For the RH side, refer to Instrument Panel Insulator Replacement .
    • For the LH side, refer to Instrument Panel Insulator Replacement
  7. Remove the instrument panel compartment. Refer to Instrument Panel Compartment Replacement .
  8. Remove the steering column. Refer to Steering Column Replacement in Steering Wheel and Column - Tilt.
  9. Remove the two cross car beam bolts at the brake pedal support bracket.

  10. Object Number: 479688  Size: SH
  11. Remove the lower brake pedal bracket brace bolts.
  12. Remove the instrument panel cluster trim plate. Refer to Instrument Cluster Trim Panel Replacement .
  13. Remove the instrument panel cluster trim plate. Refer to Instrument Cluster Trim Panel Replacement .
  14. Remove the radio. Refer to Radio Replacement in Entertainment.
  15. Remove the HVAC control assembly. Refer to Control Assembly Replacement in HVAC Systems - Manual.
  16. Remove the instrument cluster. Refer to Instrument Cluster Replacement .
  17. Remove the headlamp switch. Refer to Headlamp Switch Replacement .
  18. Remove instrument panel upper trim pad. Refer to Instrument Panel Upper Trim Pad Replacement .
  19. Remove the inflatable restraint instrument panel module. Refer to Inflatable Restraint Instrument Panel Module Replacement in SIR.
  20. Remove the RH instrument panel trim plate. Refer to Instrument Panel Trim Panel Replacement - Right Side .
  21. Remove the RH instrument panel air outlet vent panel. Refer to Instrument Panel Air Outlet Vent Replacement .
  22. Remove the windshield side upper garnish moldings. Refer to Garnish Molding Replacement - Upper in Interior Trim.
  23. Remove the front door inside carpet retainers. Refer to Carpet Retainer Replacement in Interior Trim.

  24. Object Number: 292435  Size: SH
  25. Remove the data link connector screws (3) and lower the data link connector away from the instrument panel.
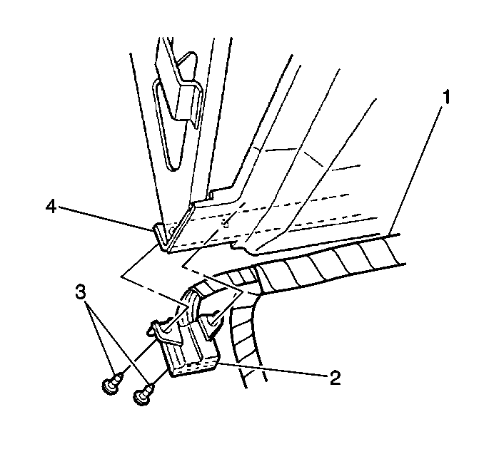
  26. Remove the LH front hinge pillar tie bar bolts.
  27. Remove the two instrument panel trim pad screws at the top of the instrument panel toward the front of the vehicle.
  28. Remove the RH front hinge pillar (A pillar) tie bar bolts.
  29. Remove the SIR connector from the instrument panel.
  30. Remove the instrument panel fuse block access opening cover.
  31. Release the retainers and reposition the fuse block inward, away from the instrument panel trim pad.
  32. Remove the instrument panel compartment lamp switch with the instrument panel compartment lamp switch bracket.
  33. Remove the HVAC module-to-instrument panel air duct HVAC tubes.
  34. Remove the wiring harness tie strap at the instrument panel.
  35. Disconnect the instrument panel wiring harness retaining clinstrument panels.
  36. Disconnect the instrument panel wiring harness at the cross car beam.
  37. Remove the instrument panel, with an assistant.
  38. Remove the main air distribution duct screws.
  39. Remove the main air distribution duct from the instrument panel.
  40. Remove the instrument panel lower tie bar screws.
  41. Remove the instrument panel center support screws.
  42. Remove the instrument panel lower trim panel screws and washers.
  43. Remove the cross car beam from the instrument panel.

Installation Procedure

  1. Install the cross car beam to the instrument panel.
  2. Notice: Use the correct fastener in the correct location. Replacement fasteners must be the correct part number for that application. Fasteners requiring replacement or fasteners requiring the use of thread locking compound or sealant are identified in the service procedure. Do not use paints, lubricants, or corrosion inhibitors on fasteners or fastener joint surfaces unless specified. These coatings affect fastener torque and joint clamping force and may damage the fastener. Use the correct tightening sequence and specifications when installing fasteners in order to avoid damage to parts and systems.

  3. Install the instrument panel lower trim panel washers and screws.
  4. Tighten
    Tighten the instrument panel lower trim panel screws to 2 N·m (18 lb in).

  5. Install the instrument panel center support screws.
  6. Tighten
    Tighten the instrument panel center support screws to 2 N·m (18 lb in).

  7. Install the instrument panel lower tie bar screws.
  8. Tighten
    Tighten the instrument panel lower tie bar screws to 2 N·m (18 lb in).

  9. Install the main air distribution duct to the instrument panel.
  10. Install the main air distribution duct screws.
  11. Tighten
    Tighten the main air distribution duct screws to 1.5 N·m (13 lb in).

  12. Install the instrument panel to the vehicle, with an assistant.
  13. Connect the instrument panel wiring harness at the cross car beam.
  14. Connect the instrument panel wiring harness retaining clips.
  15. Install a new tie strap around the instrument panel wiring harness at the instrument panel.
  16. Install the HVAC module-to-instrument panel air duct HVAC tubes.
  17. Install the instrument panel compartment lamp switch with the instrument panel compartment lamp switch bracket.
  18. Install the fuse block to the instrument panel.
  19. Install the instrument panel fuse block access opening cover.
  20. Install the SIR connector to the instrument panel.
  21. Install the RH front hinge pillar (A pillar) tie bar bolts.
  22. Tighten
    Tighten the front hinge pillar tie bar bolts to 12 N·m (106 lb in).

  23. Install the two instrument panel trim pad screws at the top of the instrument panel toward the front of the vehicle.
  24. Tighten
    Tighten the instrument panel trim pad screws to 10 N·m (89 lb in).

  25. Install the LH front hinge pillar tie bar bolts.
  26. Tighten
    Tighten the front hinge pillar tie bar bolts to 12 N·m (106 lb in).


    Object Number: 292435  Size: SH
  27. Position the data link connector to the instrument panel.
  28. Install the data link connector screws (3).

    Tighten
    Tighten the data link connector screws to 2 N·m (18 lb in).

  29. Install the front door inside carpet retainers. Refer to Carpet Retainer Replacement in Interior Trim.
  30. Install the windshield side upper garnish moldings. Refer to Garnish Molding Replacement - Upper in Interior Trim.
  31. Install the RH instrument panel air outlet vent panel. Refer to Instrument Panel Air Outlet Vent Replacement .
  32. Install the RH instrument panel trim plate. Refer to Instrument Panel Trim Panel Replacement - Right Side .
  33. Install the inflatable restraint instrument panel module. Refer to Inflatable Restraint Instrument Panel Module Replacement in SIR.
  34. Install the instrument panel upper trim pad. Refer to Instrument Panel Upper Trim Pad Replacement .
  35. Install the headlamp switch. Refer to Headlamp Switch Replacement in Lighting Systems.
  36. Install the instrument cluster. Refer to Instrument Cluster Replacement .
  37. Install the HVAC control assembly. Refer to Control Assembly Replacement in HVAC Systems - Manual.
  38. Install the radio. Refer to Radio Replacement in Entertainment.
  39. Install the instrument panel cluster trim plate. Refer to Instrument Cluster Trim Panel Replacement .

  40. Object Number: 479688  Size: SH
  41. Install the lower brake pedal bracket brace screws.
  42. Tighten
    Tighten the lower brake pedal bracket brace screws to 3 N·m (27 lb in).

  43. Install the two cross car beam bolts at the brake pedal support bracket.
  44. Install the steering column. Refer to Steering Column Replacement in Steering Wheel and Column - Tilt.
  45. Install the instrument panel compartment. Refer to Instrument Panel Compartment Replacement .
  46. Install the instrument panel driver knee bolster bracket. Refer to Knee Bolster Bracket Replacement .
  47. Install the instrument panel steering column opening filler. Refer to Steering Column Opening Filler Replacement .
  48. Install the RH and LH instrument panel insulators.
  49. • For the RH side, refer to Instrument Panel Insulator Replacement .
    • For the LH side, refer to Instrument Panel Insulator Replacement
  50. Enable the SIR system. Refer to Enabling the SIR System in SIR.
  51. Connect the negative battery cable. Refer to Battery Negative Cable Disconnection and Connection in Engine Electrical.