GM Service Manual Online
For 1990-2009 cars only
Makes
🢒
Chevrolet
🢒
2000
🢒
Lumina
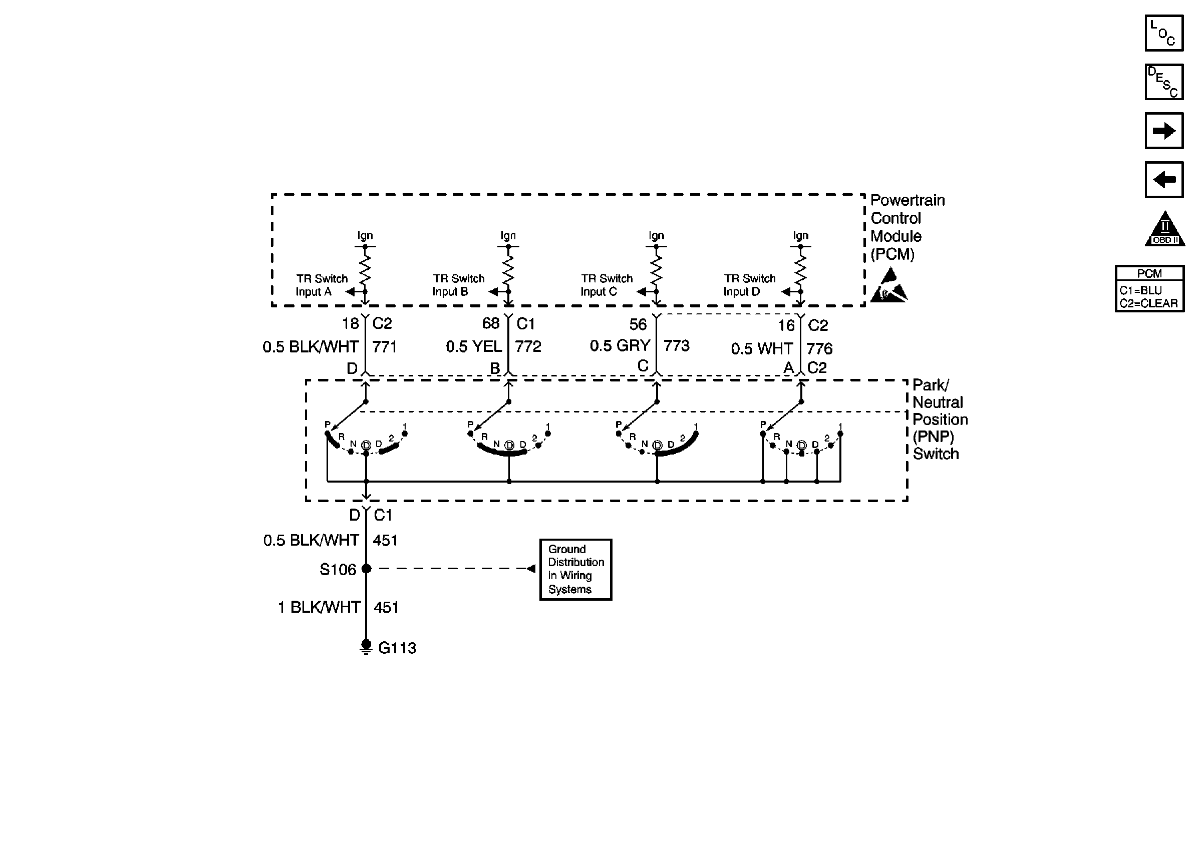
🢒 Park/Neutral Position Switch
Park/Neutral Position Switch
Park/Neutral Position Switch
G113
Handling ESD Sensitive Parts Notice
Engine Controls Components
Powertrain Control Module Description
Automatic Transaxle and Stop Lamp Switch
I/P and Generator
OBD II Symbol Description Notice