GM Service Manual Online
For 1990-2009 cars only

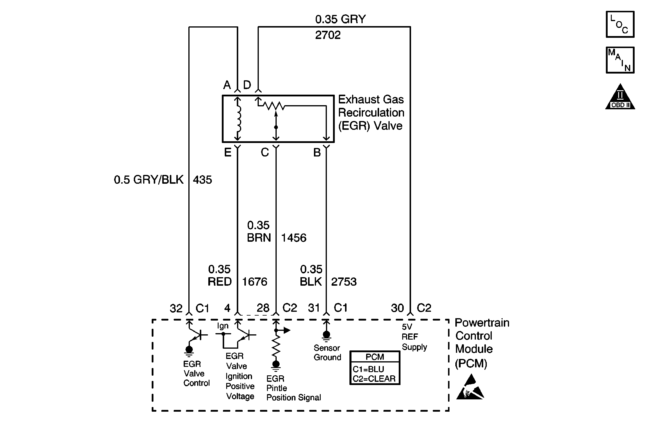
Object Number: 601058  Size: MF
Engine Controls Components
Engine Controls Schematics
OBD II Symbol Description Notice
Handling ESD Sensitive Parts Notice

Circuit Description

The PCM tests the EGR system during deceleration by momentarily commanding the EGR valve to open while monitoring the Manifold Absolute Pressure (MAP) sensor signal. When the EGR valve is opened, the PCM should see a proportional increase in MAP. If the expected increase in MAP is not seen, the PCM notes the amount of error that was detected and adjusts an internal fail counter towards a fail threshold level. When the fail counter exceeds the fail threshold level, the PCM will set DTC P0401. The number of test samples required to accomplish this may vary according to the amount of detected flow error.

Normally, the PCM will only allow one EGR flow test sample to be taken during an ignition cycle. To aid in verifying a repair, the PCM allows twelve test samples during the first ignition cycle following a scan tool Clear Info or a battery disconnect. Between nine and twelve samples should be sufficient for the PCM to determine adequate EGR flow and pass the EGR test.

Conditions for Running the DTC

    •  No TP, MAP, MAF, ECT, IAT, CKP sensor, VSS, injector circuit, Misfire, Idle speed, EGR Pintle Position, DTCs set.
    • The AC status does not change.
    • The transaxle range does not change.
    •  TP angle is less than 1 percent (deceleration).
    •  Engine coolant temperature is greater than 75°C (167°F).
    •  Engine speed is between 950 RPM and 1300 RPM.
    •  IAC position is steady.
    •  MAP steady between 15 and 70 kPa.
    •  Vehicle speed is greater than 35 mph during deceleration.
    •  BARO sensor greater than 70 kPa.
    • The vehicle will need to be driven above 50 mph, and then allowed to decelerate. When the vehicle is decelerating while meeting all of the criteria listed above, the PCM will enable the test to run. As the test is running, you will see the Desired EGR parameter and the Actual EGR position on the scan tool change from 0 to a calibrated value above 0.

Conditions for Setting the DTC

MAP changes monitored during EGR flow test indicate insufficient EGR flow.

Action Taken When the DTC Sets

    • The PCM will illuminate the malfunction indicator lamp (MIL) during the first trip in which the diagnostic test has been run and failed.
    • The PCM will store conditions which were present when the DTC set as Freeze Frame and Failure Records data.

Conditions for Clearing the MIL/DTC

    • The PCM will turn OFF the malfunction indicator lamp (MIL) during the third consecutive trip in which the diagnostic has run and passed.
    • The history DTC will clear after 40 consecutive warm-up cycles have occurred without a malfunction.
    • The DTC can be cleared by using a scan tool.

Diagnostic Aids

To verify a repair, clear info with the scan tool and run the EGR flow test keeping the following items in mind:

    •  The PCM will only run the EGR flow test during a gradual deceleration.
    •  The PCM will only run the EGR test during a closed throttle condition.
    •  The PCM will only run the EGR test at vehicle speeds above 30 mph.
    •  Several deceleration cycles will be necessary to run a sufficient number of EGR flow test samples (9-12).
    •  The EGR Test Counter displayed on the scan tool can be useful in determining that the EGR flow test is running and to keep track of the number of test samples taken. The counter will increment each time a test sample is taken.
    • If the EGR valve shows signs of excessive heat, inspect the exhaust system for blockage (possibly a plugged catalytic converter) using the Restricted Exhaust System Check .

Many situations may lead to an intermittent condition. Perform each inspection or test as directed.

Important: :  Remove any debris from the connector surfaces before servicing a component. Inspect the connector gaskets when diagnosing or replacing a component. Ensure that the gaskets are installed correctly. The gaskets prevent contaminate intrusion.

    • Loose terminal connection
       -  Use a corresponding mating terminal to test for proper tension. Refer to Testing for Intermittent Conditions and Poor Connections , and to Connector Repairs in Wiring Systems for diagnosis and repair.
       -  Inspect the harness connectors for backed out terminals, improper mating, broken locks, improperly formed or damaged terminals, and faulty terminal to wire connection. Refer to Testing for Intermittent Conditions and Poor Connections , and to Connector Repairs in Wiring Systems for diagnosis and repair.
    • Damaged harness--Inspect the wiring harness for damage. If the harness inspection does not reveal a problem, observe the display on the scan tool while moving connectors and wiring harnesses related to the sensor. A change in the scan tool display may indicate the location of the fault. Refer to Wiring Repairs in Wiring Systems for diagnosis and repair.
    •  Inspect the powertrain control module (PCM) and the engine grounds for clean and secure connections. Refer to Wiring Repairs in Wiring Systems for diagnosis and repair.

If the condition is determined to be intermittent, reviewing the Snapshot or Freeze Frame/Failure Records may be useful in determining when the DTC or condition was identified.

Step

Action

Value(s)

Yes

No

1

Did you perform the Powertrain On-Board Diagnostic (OBD) System Check?

--

Go to Step 2

Go to Powertrain On Board Diagnostic (OBD) System Check

2

Inspect the exhaust system for modification of original installed parts or leaks.

Was a condition present that required repair?

--

Go to Step 5

Go to Step 3

3

  1. Remove the EGR valve.
  2. Visually and physically inspect the following items:
  3. •  Pintle, valve passages and the adapter for excessive deposits or any kind of a restriction.
    •  EGR valve gasket and pipes for leaks.

Was a condition present that required repair?

--

Go to Step 5

Go to Step 4

4

  1. Remove the EGR inlet and outlet pipes from the exhaust manifold and the intake manifold.
  2. Inspect the manifold EGR ports and the EGR inlet and outlet pipes for a blockage caused by excessive deposits, casting flashing or other damage.

Was a condition present that required repair?

--

Go to Step 5

Go to Diagnostic Aids

5

  1. Review and record the scan tool Fail Records data.
  2. Clear DTC and monitor EGR Test Count display on the scan tool while operating the vehicle as specified in Diagnostic Aids.
  3. Continue operating the vehicle EGR Test Count until 9-12 test samples have been taken.
  4. Select scan tool Specific DTC information for DTC P0401.

Note test result does scan tool indicate DTC P0401 Test Ran and Passed?

--

System OK

Go to Step 2