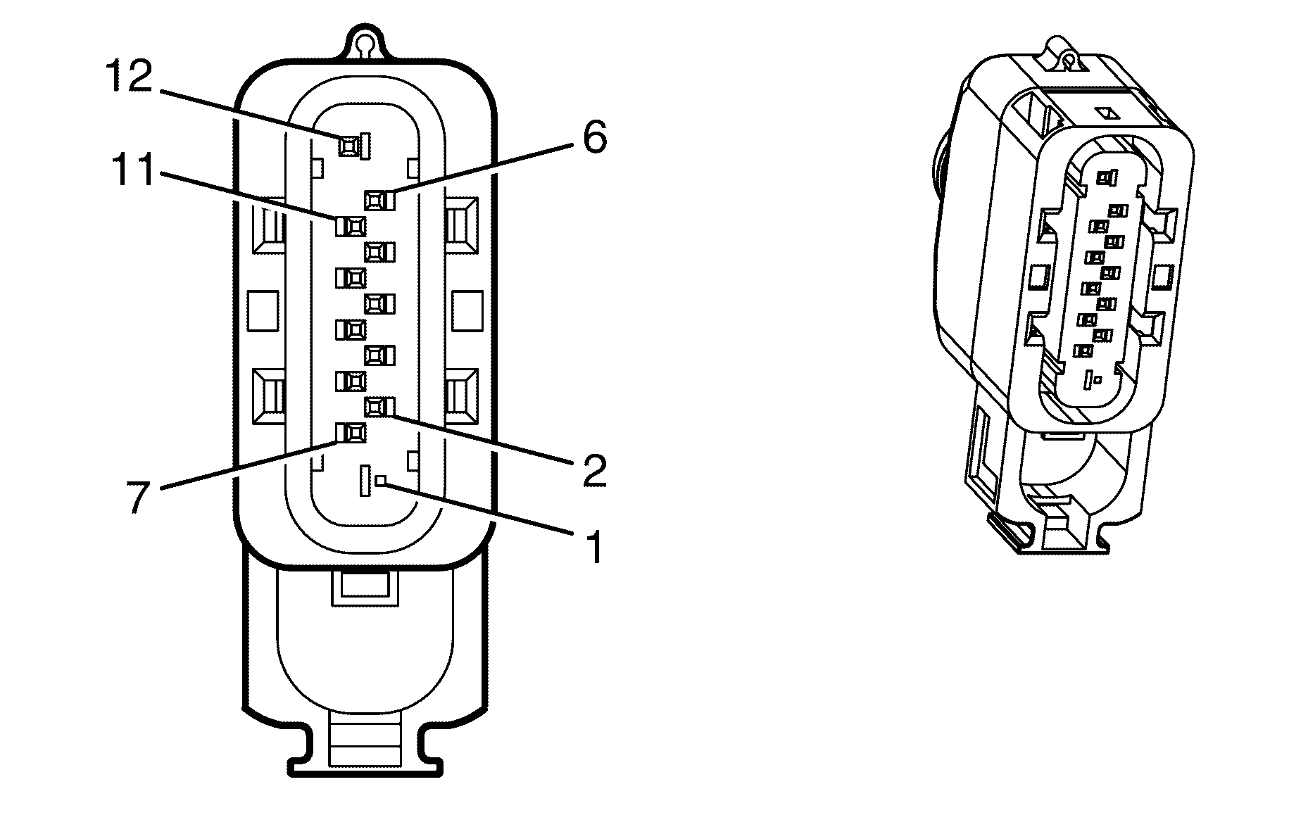
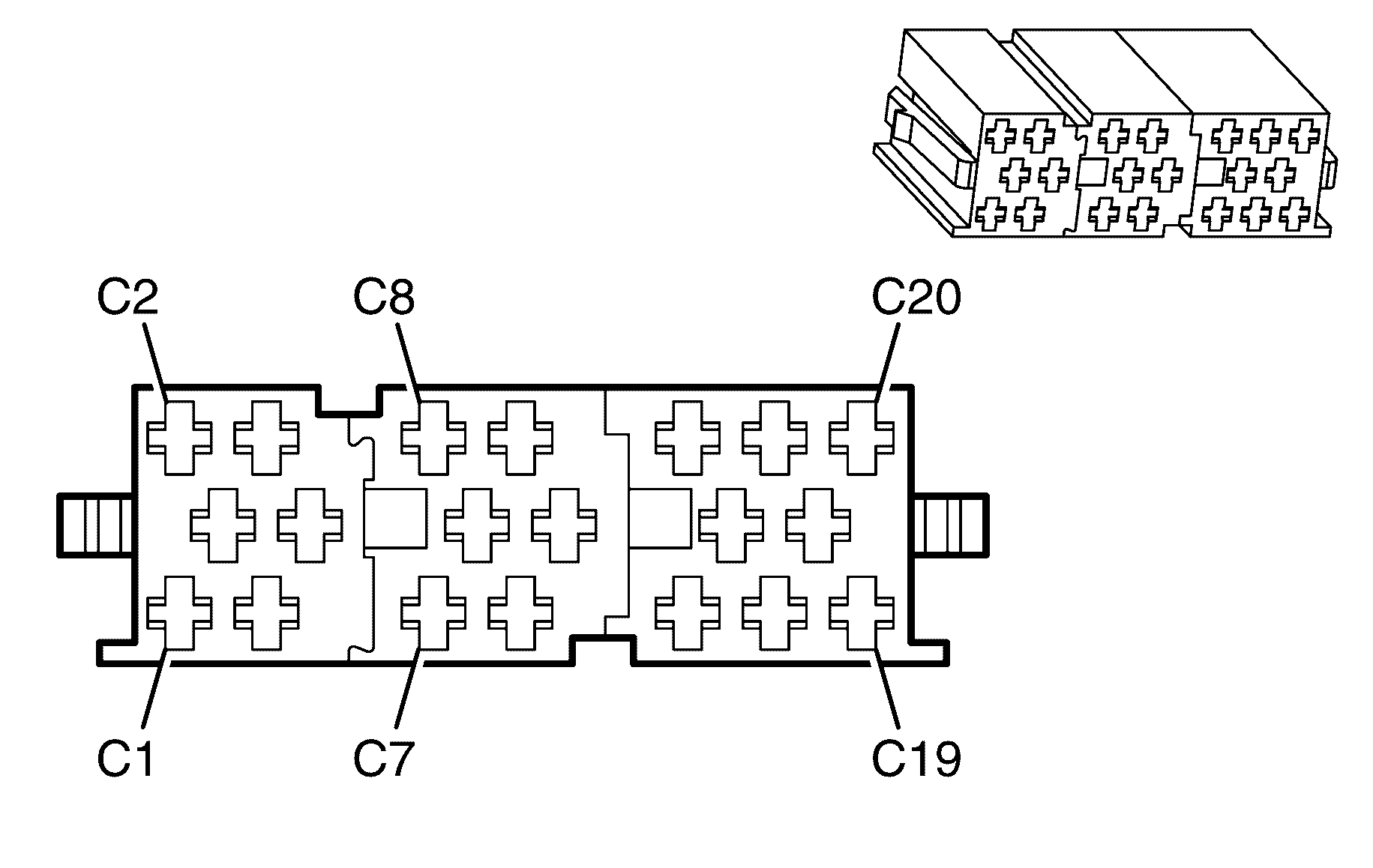
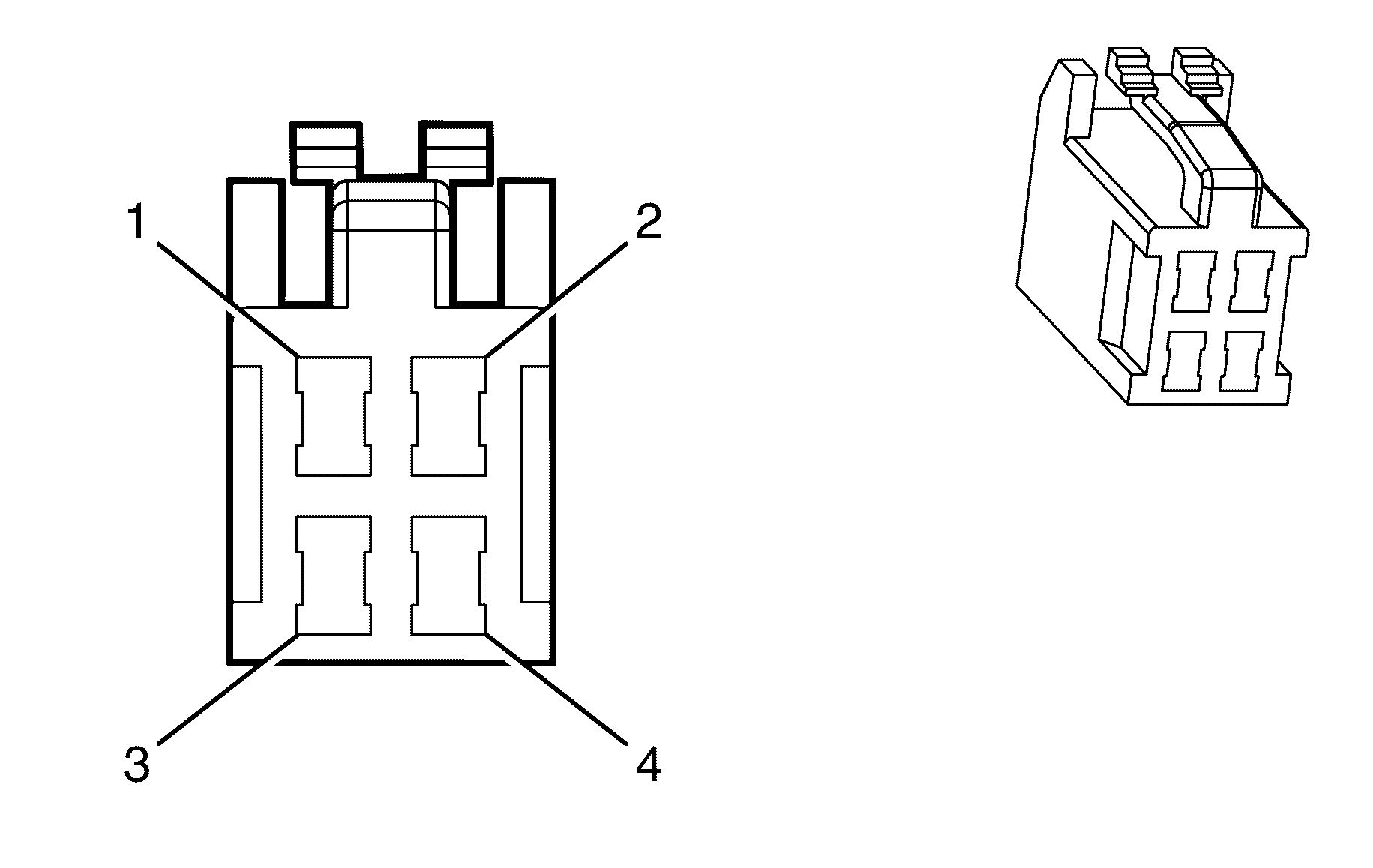
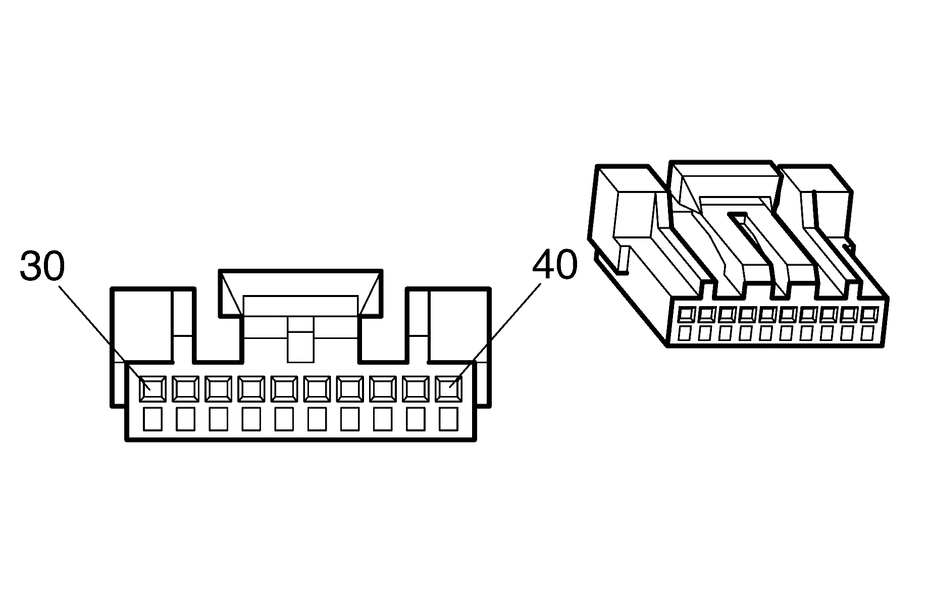
Connector Part Information
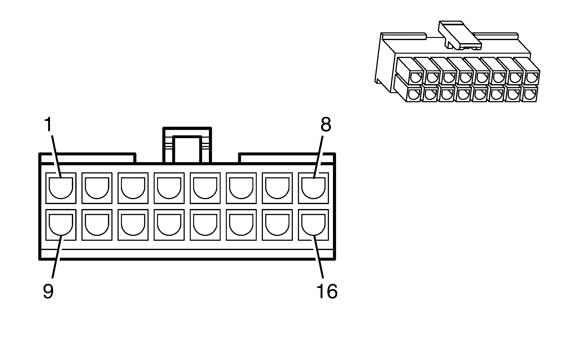
|
Terminal Part Information
|
Pin | Wire Color | Circuit No. | Function |
|---|---|---|---|
A | 0.5 BK | 1222 | Shift Solenoid A Valve Control |
B | 0.5 WH | 1525 | Clutch Pressure Control Solenoid Valve 1 High Control |
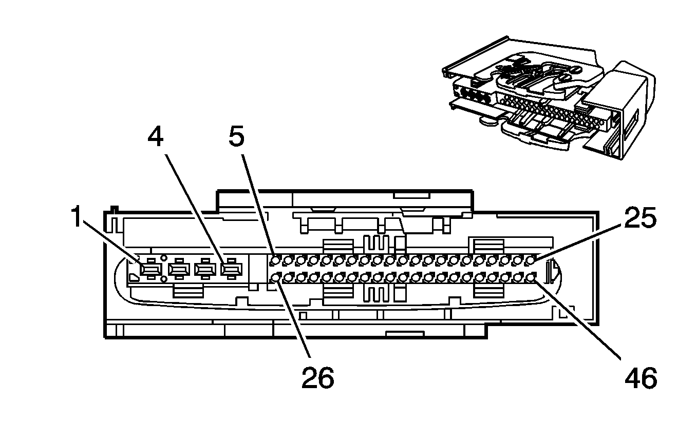
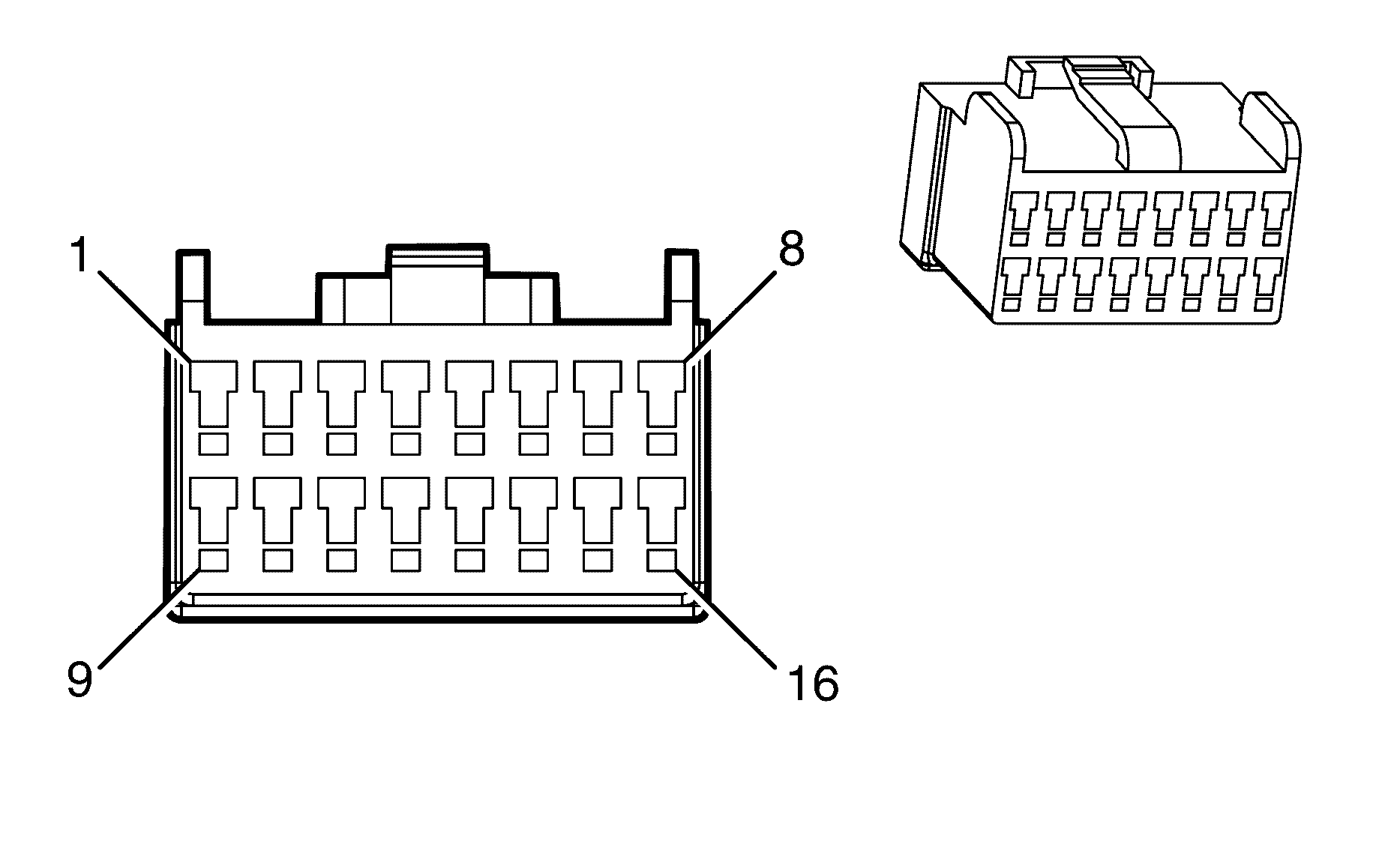
Connector Part Information
|
Terminal Part Information
|
Pin | Wire Color | Circuit No. | Function |
|---|---|---|---|
A | 0.5 GY | 898 | Shift Solenoid C Valve Control |
B | 0.5 WH | 1525 | Clutch Pressure Control Solenoid Valve 1 High Control |
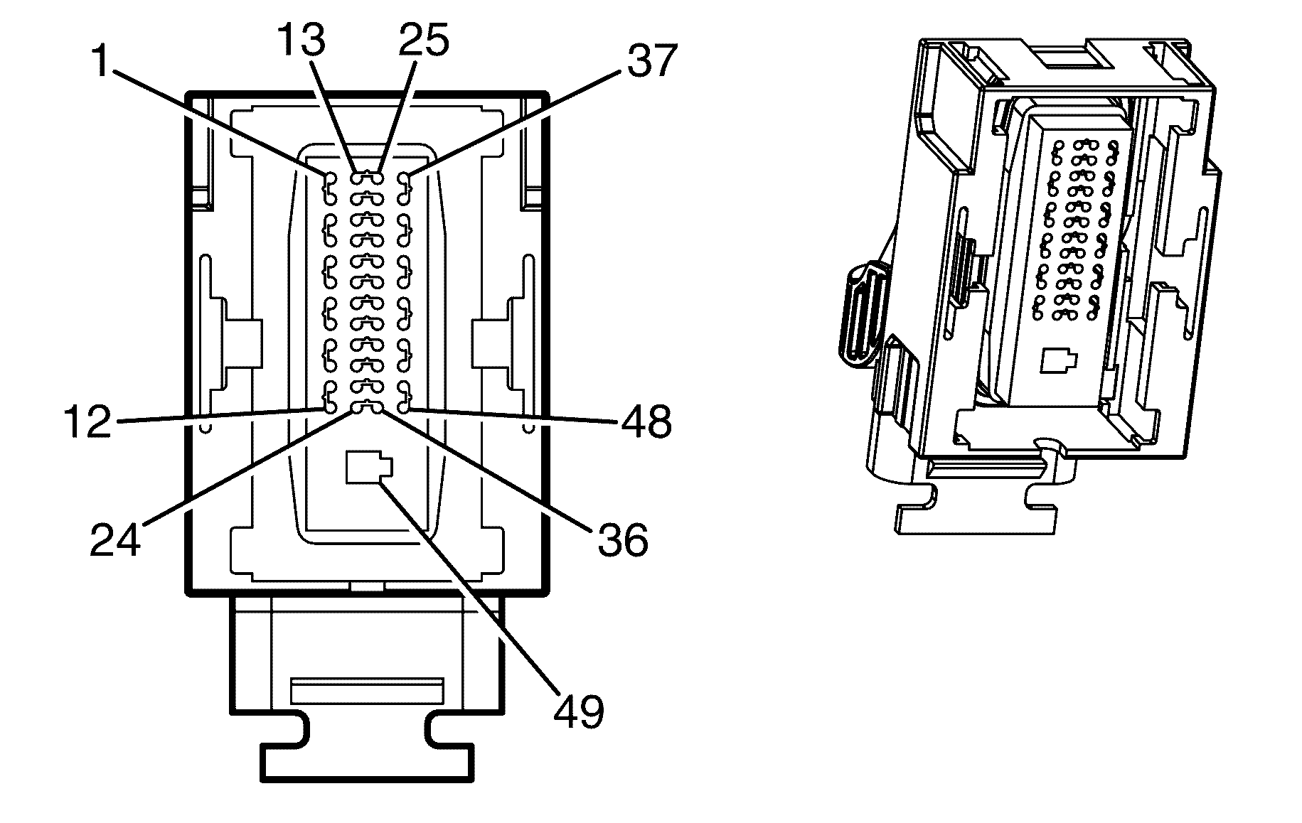
Connector Part Information
|
Terminal Part Information
|
Pin | Wire Color | Circuit No. | Function |
|---|---|---|---|
A | 0.5 D-BU | 1223 | Shift Solenoid B Valve Control |
B | 0.5 WH | 1525 | Clutch Pressure Control Solenoid Valve 1 High Control |
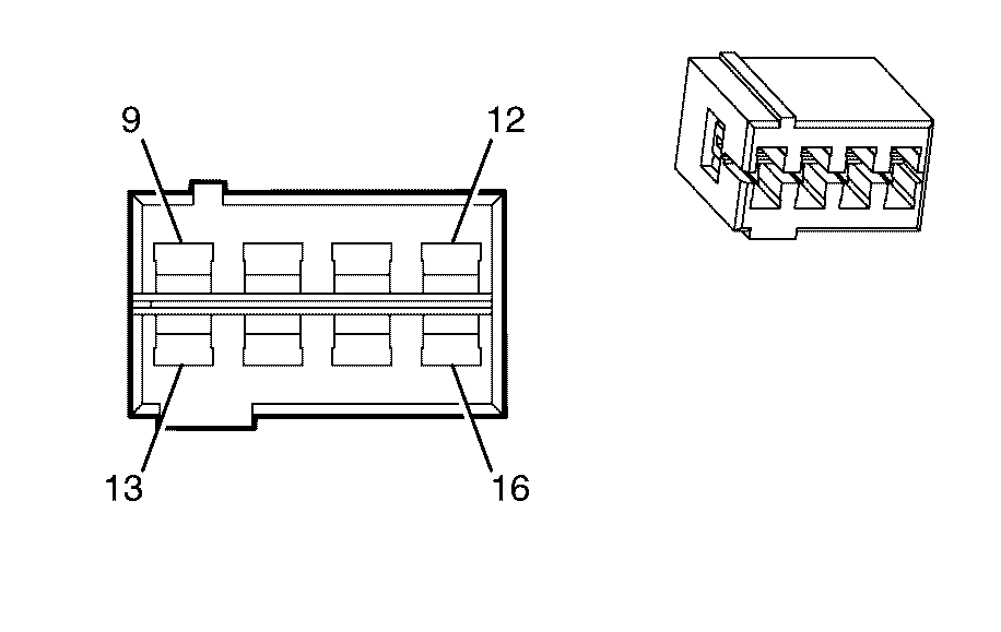
Connector Part Information
|
Terminal Part Information
|
Pin | Wire Color | Circuit No. | Function |
|---|---|---|---|
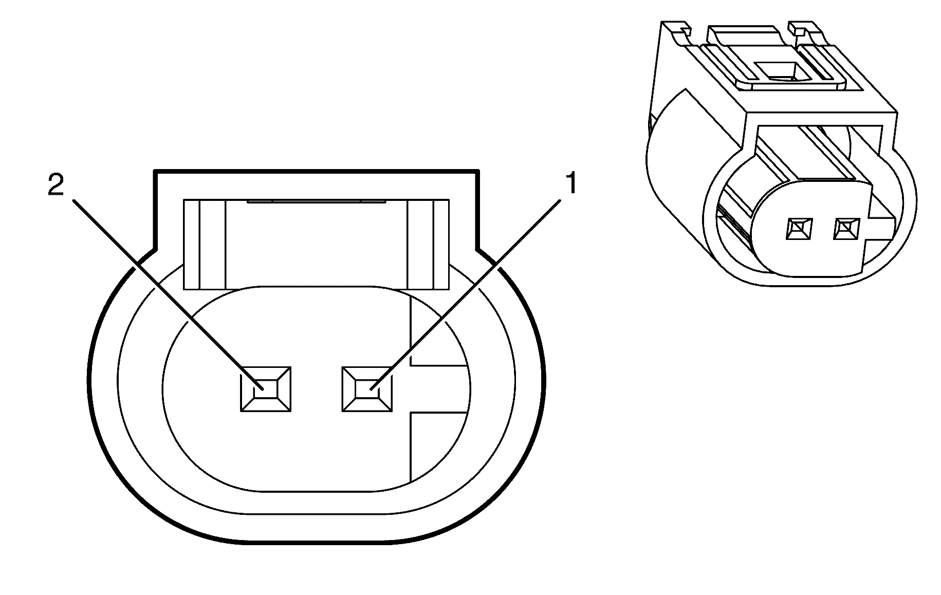
1 | 0.5 D-BU | 7393 | A/C Compressor Clutch Low Reference |
2 | 0.5 D-GN | 7392 | A/C Compressor Clutch Supply Voltage |
Connector Part Information
|
Terminal Part Information
|
Pin | Wire Color | Circuit No. | Function |
|---|---|---|---|
1 | 0.5 BN/GN | 2759 | Low Reference |
2 | 0.5 GY | 1688 | 5-Volt Reference |
3 | 0.5 OG/BK | 380 | A/C Refrigerant Pressure Sensor Signal |
Connector Part Information
|
Terminal Part Information
|
Pin | Wire Color | Circuit No. | Function |
|---|---|---|---|
1 | 0.5 BN/YE | 1274 | 5-Volt Reference |
2 | 0.5 WH/BK | 1164 | 5-Volt Reference |
3 | 0.5 D-BU/WH | 1161 | APP Sensor 1 Signal |
4 | 0.5 BN | 1271 | Low Reference |
5 | 0.5 PU | 1272 | Low Reference |
6 | 0.5 L-BU | 1162 | APP Sensor 2 Signal |
Connector Part Information
|
Terminal Part Information
|
Pin | Wire Color | Circuit No. | Function |
|---|---|---|---|
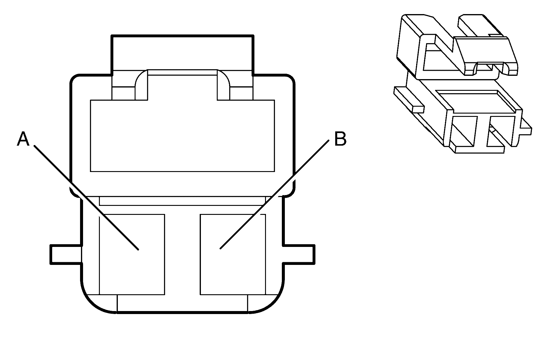
A | 1.25 BN/WH | 9301 | Accessory Voltage |
B | 1.25 BK | 2050 | Ground |
Connector Part Information
|
Terminal Part Information
|
Pin | Wire Color | Circuit No. | Function |
|---|---|---|---|
A | 1.25 GY | 8 | Instrument Panel Lamp Supply Voltage |
B | 1.25 BN/WH | 143 | Accessory Voltage |
C | 1.25 BK | 850 | Ground |
Connector Part Information
|
Terminal Part Information
|
Pin | Wire Color | Circuit No. | Function |
|---|---|---|---|
1 | 0.5 YE | 598 | 5-Volt Reference |
2 | -- | -- | Not Used |
3 | 0.5 GY | 1791 | Low Reference |
4 | -- | -- | Not Used |
5 | 0.5 WH | 733 | Air Temperature Door Position Signal |
6 | 0.5 D-BU/WH | 5954 | Air Temperature Motor Control |
7 | 0.5 RD/WH | 2210 | Air Temperature Door Control |
Connector Part Information
|
Terminal Part Information
|
Pin | Wire Color | Circuit No. | Function |
|---|---|---|---|
1 | 0.3 WH | 2778 | Passenger Air Temperature Motor Control |
2 | 0.3 YE | 1236 | Passenger Air Temperature Door Control |
3 | 0.3 BK/RD | 719 | Low Reference |
4 | 0.3 BK/YE | 1646 | Passenger Air Temperature Door Position Signal |
5 | 0.3 BK/WH | 598 | 5-Volt Reference |
Connector Part Information
|
Terminal Part Information
|
Pin | Wire Color | Circuit No. | Function |
|---|---|---|---|
1 | 0.3 D-BU/WH | 2148 | Passenger Temp B Signal |
2 | 0.3 YE/BK | 2147 | Passenger Temp A Signal |
3 | 0.3 BN/WH | 476 | Low Reference |
4 | 0.3 YE/BU | 2178 | Passenger Temp D Signal |
5 | 0.3 YE/RD | 2149 | Passenger Temp C Signal |
Connector Part Information
|
Terminal Part Information
|
Pin | Wire Color | Circuit No. | Function |
|---|---|---|---|
1 | 0.3 L-GN/RD | 5515 | Inside Air Temperature Sensor Assembly Control |
2 | 0.3 D-BU/OG | 5516 | Inside Air Temperature Sensor Assembly Control |
3 | 0.3 RD/BK | 552 | Low Reference |
4 | 0.3 PK/BK | 5517 | Low Reference |
5 | 0.3 D-BU/GN | 5518 | Auxiliary Inside Air Temperature Sensor Signal |
Connector Part Information
|
Terminal Part Information
|
Pin | Wire Color | Circuit No. | Function |
|---|---|---|---|
A | 0.5 GY | 1791 | Low Reference |
B | 0.5 GY | 1199 | Air Temperature Door Control |
Connector Part Information
|
Terminal Part Information
|
Pin | Wire Color | Circuit No. | Function |
|---|---|---|---|
A | 0.3 D-GN | 734 | Inside Ambient Temperature Sensor Low Reference |
B | 0.3 BN | 61 | Outside Air Temperature Sensor Signal |
Connector Part Information
|
Terminal Part Information
|
Pin | Wire Color | Circuit No. | Function |
|---|---|---|---|
1 | 0.35 BK | Battery Power | |
2 | 0.35 BK | Horn Signal Input | |
3 | 0.35 BK | Siren Battery Test Output | |
4 | 0.35 BK | Inclination Sensor Signal | |
5 | 0.35 BK | Siren Control Signal | |
6 | 0.35 BK | Ground | |
7 | 0.35 BK | Intrusion Sensor Signal | |
8 | 0.35 BK | Alarm System Status | |
9 | 0.35 BK | Alarm Control Module Power Control | |
10 | -- | -- | Not Used |
11 | 0.35 BK | Disable Signal | |
12 | -- | -- | Not Used |
Connector Part Information
|
Terminal Part Information
|
Pin | Wire Color | Circuit No. | Function |
|---|---|---|---|
A | 0.3 BN | 61 | Low Reference |
B | 0.3 L-GN/BK | 735 | 5-Volt Reference |
Connector Part Information
|
Terminal Part Information
|
Pin | Wire Color | Circuit No. | Function |
|---|---|---|---|
A | 0.3 L-GN/BK | 1137 | DRL Ambient Light Sensor Signal |
B | 0.3 BK | 850 | Ground |
Connector Part Information
|
Terminal Part Information
|
Pin | Wire Color | Circuit No. | Function |
|---|---|---|---|
1 | 0.5 BN | 199 | Left Rear Speaker Output (+) |
2 | 0.5 D-BU | 46 | Right Rear Speaker Output (+) |
3 | 1.25 D-BU/WH | 346 | Left or Rear Subwoofer Speaker Output (+) |
4 | 1.25 RD/WH | 2040 | Battery Positive Voltage (LHD) |
1.25 OG/WH | 2040 | Battery Positive Voltage (RHD) | |
5 | 1.25 BK | 2050 | Ground |
6 | 0.5 YE | 116 | Left Rear Speaker Output (-) (LHD) |
0.5 YE/RD | 116 | Left Rear Speaker Output (-) (RHD) | |
7 | 0.5 L-BU | 115 | Right Rear Speaker Output (-) |
8 | 1.25 L-GN/BK | 1794 | [Left or Rear] Subwoofer Speaker Output (-) |
9 | 1.25 D-GN | 1795 | Right Subwoofer Speaker Output (+) |
10 | 1.25 L-BU/BK | 315 | Right Subwoofer Speaker Output (-) |
11 | 1.25 RD/WH | 2040 | Battery Positive Voltage |
1.25 OG/WH | 2040 | Battery Positive Voltage | |
12 | 1.25 BK | 2050 | Ground |
Connector Part Information
|
Terminal Part Information
|
Pin | Wire Color | Circuit No. | Function |
|---|---|---|---|
1 | 0.5 BN | -- | Left Rear Speaker Output (+) |
2 | 0.5 D-BU | -- | Right Rear Speaker Output (+) |
3 | 1 D-BU/WH | -- | Left or Rear Subwoofer Speaker Output (+) |
4 | 2 RD/WH | -- | Battery Positive Voltage |
5 | 2 BK | -- | Ground |
6 | 0.5 YE | -- | Left Rear Speaker Output (-) |
7 | 0.5 L-BU | -- | Right Rear Speaker Output (-) |
8 | 1 L-GN/BK | -- | Subwoofer Speaker Output (-) |
9 | 1 D-GN | -- | Right Subwoofer Speaker Output (+) |
10 | 1 L-BU/BK | -- | Right Subwoofer Speaker Output (-) |
11 | 2 RD/WH | -- | Battery Positive Voltage |
12 | 2 BK | -- | Ground |
Connector Part Information
|
Terminal Part Information
|
Pin | Wire Color | Circuit No. | Function |
|---|---|---|---|
1-3 | -- | -- | Not Used |
4 | 0.3 BN/BU | 1946 | Right Rear Low Level Audio Signal (-) |
5 | 0.3 BN | 1999 | Left Rear Low Level Audio Signal (-) |
6 | 0.3 L-GN | 1948 | Right Front Low Level Audio Signal (-) |
7 | 0.3 D-GN | 1947 | Left Front Low Level Audio Signal (-) |
8 | 0.3 WH | 7066 | Amplifier Enable Signal |
9-10 | -- | -- | Not Used |
11 | 0.3 OG | 6978 | Amplifier Mute Control |
12 | 0.3 D-BU | 546 | Right Rear Low Level Audio Signal (+) |
13 | 0.3 BN/WH | 599 | Left Rear Low Level Audio Signal (+) |
14 | 0.3 L-GN/WH | 512 | Right Front Low Level Audio Signal (+) |
15 | 0.3 BN/OG | 511 | Left Front Low Level Audio Signal (+) |
16 | -- | -- | Not Used |
Connector Part Information
|
Terminal Part Information
|
Pin | Wire Color | Circuit No. | Function |
|---|---|---|---|
1 | 0.5 BN | -- | Left Rear Speaker Output (+) |
2 | 0.5 D-BU | -- | Right Rear Speaker Output (+) |
3 | 1 D-BU/WH | -- | Rear Subwoofer Speaker Output (+) |
4 | 2 RD/WH | -- | Battery Positive Voltage |
5 | 2 BK | -- | Ground |
6 | 0.5 YE | -- | Left Rear Speaker Output (-) |
7 | 0.5 L-BU | -- | Right Rear Speaker Output (-) |
8 | 1 L-GN/BK | -- | Subwoofer Speaker Output (-) |
9 | 1 D-GN | -- | Right Subwoofer Speaker Output (+) |
10 | 1 L-BU/BK | -- | Right Subwoofer Speaker Output (-) |
11 | 2 RD/WH | -- | Battery Positive Voltage |
12 | 2 BK | -- | Ground |
Connector Part Information
|
Terminal Part Information
|
Pin | Wire Color | Circuit No. | Function |
|---|---|---|---|
1 | 0.85 L-BU | 115 | Right Rear Speaker Output (-) |
2 | 0.85 D-BU | 46 | Right Rear Speaker Output (+) |
3 | 0.85 L-BU | 1960 | Front Center Speaker Output (-) |
4 | 0.85 YE | 1860 | Front Center Speaker Output (+) |
5 | 0.5 OG/BK | 5766 | Front Center Speaker Output (+) |
6 | 0.5 OG | 5756 | Roof Center Speaker Output (-) |
7 | 0.85 D-GN | 117 | Right Front Speaker Output (-) |
8 | 0.85 L-GN | 200 | Right Front Speaker Output (+) |
9-14 | -- | -- | Not Used |
15 | 0.85 BN | 199 | Left Front Speaker Output (-) |
16 | 0.85 YE/RD | 116 | Left Front Speaker Output (+) |
Connector Part Information
|
Terminal Part Information
|
Pin | Wire Color | Circuit No. | Function |
|---|---|---|---|
1 | 0.5 BN | -- | Left Rear Speaker Output (+) |
2 | 0.5 D-BU | -- | Right Rear Speaker Output (+) |
3 | 1 D-BU/WH | -- | Left or Rear Subwoofer Speaker Output (+) |
4 | 2 RD/WH | -- | Battery Positive Voltage |
5 | 2 BK | -- | Ground |
6 | 0.5 YE | -- | Left Rear Speaker Output (-) |
7 | 0.5 L-BU | -- | Right Rear Speaker Output (-) |
8 | 1 L-GN/BK | -- | Subwoofer Speaker Output (-) |
9 | 1 D-GN | -- | Right Subwoofer Speaker Output (+) |
10 | 1 L-BU/BK | -- | Right Subwoofer Speaker Output (-) |
11 | 2 RD/WH | -- | Battery Positive Voltage |
12 | 2 BK | -- | Ground |
Connector Part Information
|
Terminal Part Information
|
Pin | Wire Color | Circuit No. | Function |
|---|---|---|---|
1 | 0.85 GY | 118 | Left Front Speaker Output (-) |
2 | 1.25 L-BU/BK | 315 | Right Subwoofer Speaker Output (-) |
3 | 1.25 L-GN/BK | 1794 | Left Subwoofer Speaker Output (-) |
4 | 3 OG/WH | 2040 | Battery Positive Voltage |
5 | 0.85 TN | 201 | Left Front Speaker Output (+) |
6 | 1.25 D-GN | 1795 | Right Subwoofer Speaker Output (+) |
7 | 1.25 D-BU/WH | 346 | Left Subwoofer Speaker Output (+) |
8 | 3 BK | 351 | Ground |
Connector Part Information
|
Terminal Part Information
|
Pin | Wire Color | Circuit No. | Function |
|---|---|---|---|
1 | 0.75 OG/YE | 3640 | Battery Positive Voltage |
2 | 0.75 BK | 450 | Ground |
3 | 0.5 OG/BK | 1786 | Park/Neutral Signal |
4 | 0.75 OG/YE | 3640 | Battery Positive Voltage |
5 | 0.75 BK | 450 | Ground |
6 | 0.5 WH/BU | 17 | Stop Lamp Switch Signal |
7-8 | -- | -- | Not Used |
9 | 0.5 D-BU | 5985 | Accessory Wakeup Serial Data |
10 | 0.5 BN/BK | 9002 | High Speed GMLAN Serial Data Bus+ |
11 | 0.5 BN | 9003 | High Speed GMLAN Serial Data Bus- |
12 | 0.5 PK | 439 | Ignition 1 Voltage |
13 | 0.5 BN | 9001 | High Speed GMLAN Serial Data Bus- |
14 | 0.5 BN/BK | 9000 | High Speed GMLAN Serial Data Bus+ |
15-16 | -- | -- | Not Used |
Connector Part Information
|
Terminal Part Information
|
Pin | Wire Color | Circuit No. | Function |
|---|---|---|---|
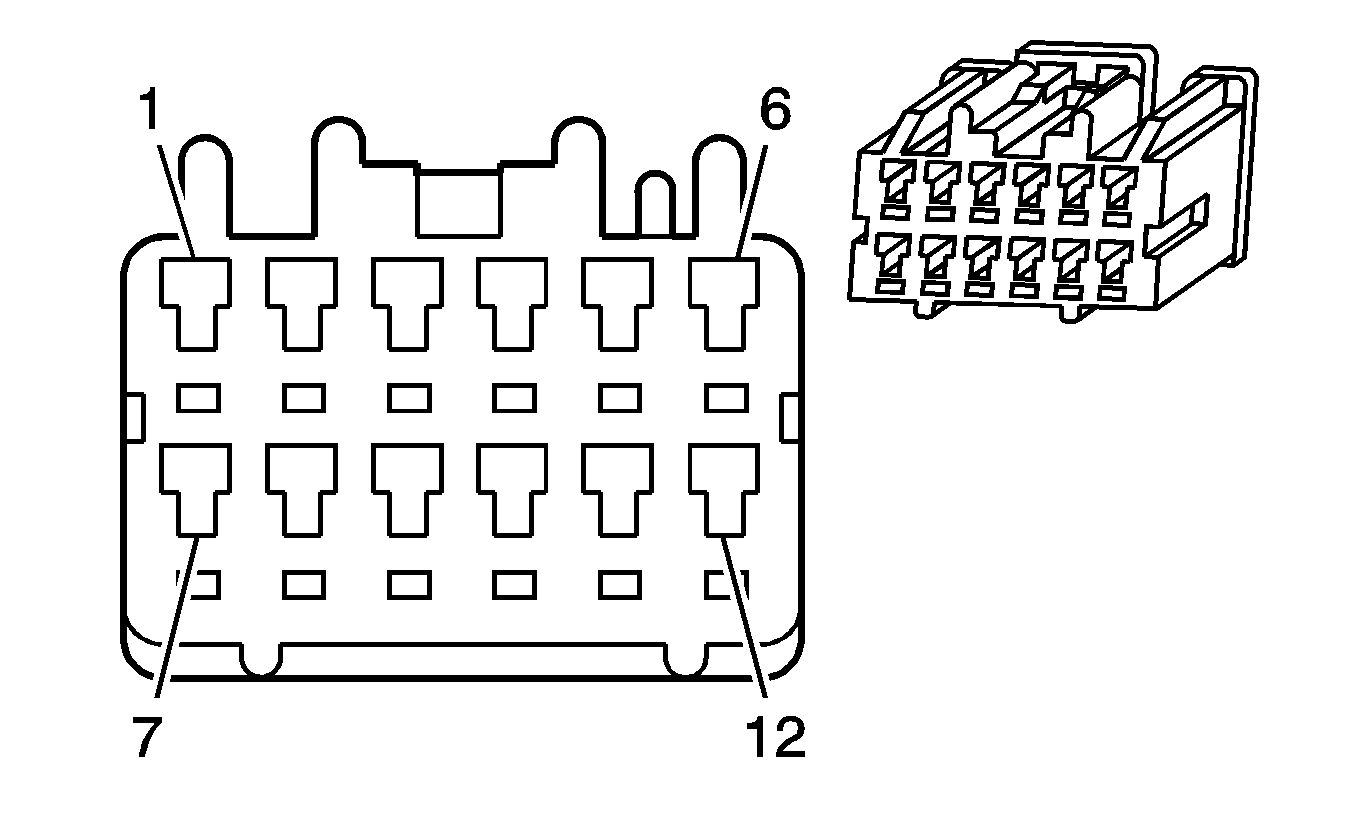
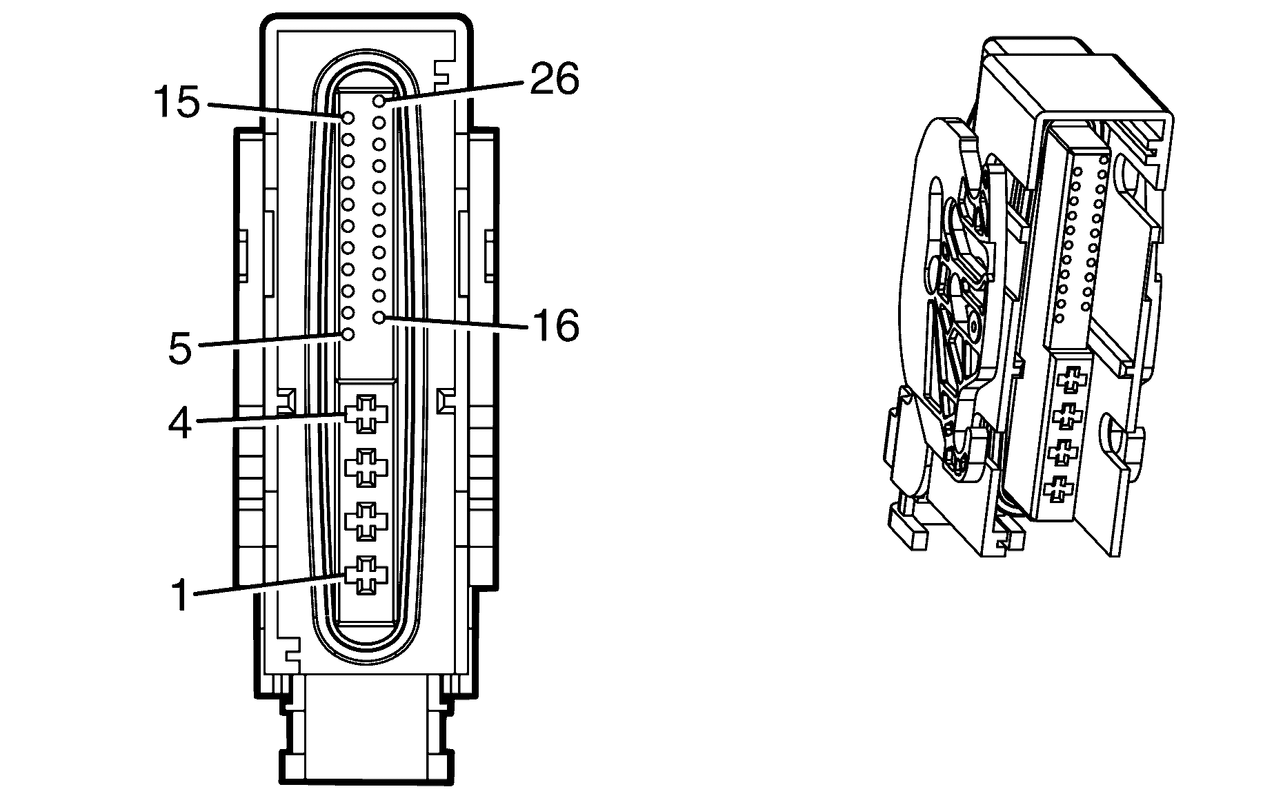
A | 0.5 L-GN | 1222 | Shift Solenoid A Valve Control |
B | 0.5 YE/BK | 1223 | Shift Solenoid B Valve Control |
C | 0.5 OG/BK | 1228 | PC Solenoid Valve High Control |
D | 0.5 L-BU/WH | 1229 | PC Solenoid Valve Low Control |
E | 0.5 PK | 439 | Ignition 1 Voltage |
F-J | -- | -- | Not Used |
K | 0.5 OG | 1983 | Transmission Turbine Speed Switch Signal |
L | 0.5 YE/BK | 1227 | TFT Sensor Signal |
M | 0.5 TN | 2762 | Low Reference |
N | 0.5 PK | 1224 | Transmission Fluid Pressure Switch Signal A |
P | 0.5 OG | 1226 | Transmission Fluid Pressure Switch Signal B |
R | 0.5 D-BU | 1225 | Transmission Fluid Pressure Switch Signal C |
S | 0.5 WH/GN | 687 | 3-2 Shift Solenoid Valve Control |
T | 0.5 BN/OG | 422 | TCC Solenoid Valve Control |
U | 0.5 BN | 418 | TCC PWM Solenoid Valve Control |
V | 0.5 L-BU | 1984 | Transmission Turbine Speed Switch Low Reference |
W | -- | -- | Not Used |
Connector Part Information
|
Terminal Part Information
|
Pin | Wire Color | Circuit No. | Function |
|---|---|---|---|
A | 0.5 YE | 1983 | Transmission Turbine Speed Switch Signal |
B | 0.5 WH | 1984 | Transmission Turbine Speed Switch Low Reference |
Connector Part Information
|
Terminal Part Information
|
Pin | Wire Color | Circuit No. | Function |
|---|---|---|---|
A | 0.5 OG | 822 | VSS Low Signal |
B | 0.5 WH | 821 | VSS High Signal |
Connector Part Information
|
Terminal Part Information
|
Pin | Wire Color | Circuit No. | Function |
|---|---|---|---|
1 | 0.3 PU | 1375 | Transmission Cruise Switch Reference |
2 | 0.3 D-GN/WH | 1135 | A/T Shift Lock Control Solenoid Supply Voltage |
3 | 0.3 BK | 850 | Ground |
4 | 0.3 PU/RD | 5526 | Transmission Range Select Reference |
5 | -- | -- | Not Used |
6 | 0.3 PU/WH | 1630 | Steering Column Key Cylinder Lock Solenoid Control |
7 | -- | -- | Not Used |
8 | 0.3 PU/WH | 6817 | LED Backlight Diming Control |
Connector Part Information
|
Terminal Part Information
|
Pin | Wire Color | Circuit No. | Function |
|---|---|---|---|
1 | 0.85 L-GN | -- | Backup Lamp Supply Voltage |
2 | 0.85 BK | -- | Ground |
Connector Part Information
|
Terminal Part Information
|
Pin | Wire Color | Circuit No. | Function |
|---|---|---|---|
1 | 0.85 L-GN | -- | Backup Lamp Supply Voltage |
2 | 0.85 BK | -- | Ground |
Connector Part Information
|
Terminal Part Information
|
Pin | Wire Color | Circuit No. | Function |
|---|---|---|---|
A | 0.5 L-GN | 5007 | Backup Lamp Switch Signal |
B | 0.5 BK | 450 | Ground |
Terminal Part Information
|
Pin | Wire Color | Circuit No. | Function |
|---|---|---|---|
- | 50 BK | 50 | Ground |
Terminal Part Information
|
Pin | Wire Color | Circuit No. | Function |
|---|---|---|---|
+ | 50 RD | 1 | Battery Positive |
Connector Part Information
|
Terminal Part Information
|
Pin | Wire Color | Circuit No. | Function |
|---|---|---|---|
A | 0.3 PK | 5076 | 5-Volt Reference |
B | 0.3 BN | 5077 | Low Reference |
C | 0.3 WH/GN | 5075 | Battery Current Signal |
Connector Part Information
|
Terminal Part Information
|
Pin | Wire Color | Circuit No. | Function |
|---|---|---|---|
1 | 0.3 YE | Low Speed GMLAN Serial Data | |
2 | 0.3 D-BU | Ground | |
3 | 0.3 D-BU/RD | Battery Positive Voltage | |
4 | 0.3 YE | Low Speed GMLAN Serial Data | |
5 | 0.3 D-BU | Ground | |
6 | 0.3 D-BU/RD | Battery Positive Voltage |
Connector Part Information
|
Terminal Part Information
|
Pin | Wire Color | Circuit No. | Function |
|---|---|---|---|
A | 3 OG | 5987 | Ground |
B | 3 PU | 65 | Blower Motor Supply Voltage |
Connector Part Information
|
Terminal Part Information
|
Pin | Wire Color | Circuit No. | Function |
|---|---|---|---|
A | 3 D-GN | 442 | Battery Positive Voltage |
B | 3 OG | 5987 | HVAC Blower Motor Control Circuit |
Connector Part Information
|
Terminal Part Information
|
Pin | Wire Color | Circuit No. | Function |
|---|---|---|---|
1 | 3 BK | 850 | Ground |
2 | 0.5 GY/BK | 754 | Blower Motor Speed Control |
3 | 3 PU | 65 | Blower Motor Supply Voltage |
4 | 3 OG | 5987 | Blower Motor Low Reference |
Connector Part Information
|
Terminal Part Information
|
Pin | Wire Color | Circuit No. | Function |
|---|---|---|---|
1 | 0.5 OG/WH | Battery Positive Voltage | |
2 | 0.5 PK/BU | Ignition 1 Voltage | |
3 | 0.5 L-GN | Backup Lamp Supply Voltage | |
4 | 0.3 D-GN | Low Speed GMLAN Serial Data | |
5 | 0.3 BN | Accessory Voltage | |
6 | 0.3 D-BU | Bluetooth Connector | |
7 | 0.3 OG/BK | Remote Playback Device Left Audio Signal | |
8 | 0.3 L-BU | Remote Playback Device Audio Common Signal | |
9 | 0.3 WH | Mute Signal | |
10 | 0.3 BK | Ground | |
11 | 0.3 D-BU | Cellular Telephone Voice Signal | |
12 | 0.3 L-BU/BK | Cellular Telephone Voice Low Reference | |
13 | 0.3 YE/BK | Cellular Telephone Mute Signal | |
14 | 0.5 GY | Left Front Speaker Output (-) | |
0.85 L-BU | Front Center Speaker Output (-) | ||
15 | 0.5 TN | Left Front Speaker Output (+) | |
0.85 YE | Front Center Speaker Output (+) | ||
16 | -- | -- | Not Used |
Connector Part Information
|
Terminal Part Information
|
Pin | Wire Color | Circuit No. | Function |
|---|---|---|---|
1 | 0.3 D-BU | 7043 | Microphone Signal |
2-3 | -- | -- | Not Used |
4 | 0.3 PK/BK | 7044 | Microphone Return |
Connector Part Information
|
Terminal Part Information
|
Pin | Wire Color | Circuit No. | Function |
|---|---|---|---|
1 | 0.3 L-BU/BK | 659 | Cellular Telephone Voice Low Reference |
2-3 | -- | -- | Not Used |
4 | 0.3 D-BU | 7148 | Not Used |
5 | 0.3 D-BU | 7043 | Microphone Signal |
6 | 0.3 YE/BK | 693 | Cellular Telephone Mute Signal |
7 | 0.3 YE | 443 | Accessory Voltage |
8 | -- | -- | Not Used |
9 | 0.3 D-BU | 658 | Cellular Telephone Voice Signal |
10-11 | -- | -- | Not Used |
12 | 0.3 PK/BK | 7044 | Microphone Return |
13-14 | -- | -- | Not Used |
15 | 0.5 BK | 1050 | Ground |
16 | 0.5 OG/WH | 2340 | Battery Positive Voltage |
Connector Part Information
|
Terminal Part Information
|
Pin | Wire Color | Circuit No. | Function |
|---|---|---|---|
1 | -- | -- | Not Used |
2 | 0.3 WH | 1390 | Ignition Key Resistor Low Reference |
3 | 0.5 GY | 1884 | Cruise Control Switch Signal |
4 | 0.3 WH/BK | 1073 | Ignition Key Resistor Signal |
5 | 0.3 L-GN | 1715 | Windshield Wiper Switch High Signal |
6-7 | -- | -- | Not Used |
8 | 0.3 BK/WH | 1251 | Wiper Switch Low Reference |
9 | 0.3 L-BU | 1714 | Windshield Wiper Switch Low Signal |
10-13 | -- | -- | Not Used |
14 | 0.3 PK | 3 | Run/Crank Voltage |
15 | 0.3 L-BU/WH | 1414 | Left Turn Signal Switch Signal |
16 | 0.3 D-BU/WH | 1415 | Right Turn Signal Switch Signal |
17 | 0.3 PU | 1375 | Remote Radio Control Supply Voltage |
18 | PU/YE | 524 | Headlamp Dimmer Switch High Beam Signal |
19 | -- | -- | Not Used |
20 | 0.3 PU/RD | 5526 | Transmission Electronic Range Select Signal |
21 | 0.3 BN | 4 | Ignition 1 Voltage |
22 | -- | -- | Not Used |
23 | 0.5 YE | 5356 | Left Tail Lamp Monitoring (HSV) |
24 | 0.3 OG | 94 | Windshield Washer Switch Signal |
25 | 0.3 BN/RD | 1356 | Flash To Pass Switch Signal |
26-27 | -- | -- | Not Used |
Connector Part Information
|
Terminal Part Information
|
Pin | Wire Color | Circuit No. | Function |
|---|---|---|---|
1 | 0.85 OG | 1732 | Inadvertent Power Supply Voltage |
2 | 0.85 OG/BU | 1240 | Battery Positive Voltage |
3 | 0.85 GY | 8 | Instrument Panel Lamp Supply Voltage |
4 | -- | -- | Not Used |
5 | 0.85 D-BU/WH | 149 | Courtesy Lamp Supply Voltage |
6-7 | -- | -- | Not Used |
8 | 0.3 BN/WH | 301 | Park Lamp Switch On Signal |
9 | -- | -- | Not Used |
10 | 0.3 D-BU | 6189 | Rear Compartment Relay Switch |
11 | 0.3 L-GN/BK | 1137 | DRL Ambient Light Sensor Signal |
12 | 0.3 WH | 103 | Headlamp Switch Headlamps On Signal |
13-16 | -- | -- | Not Used |
17 | 0.3 D-GN | 306 | Headlamp Switch Headlamps Off Signal |
18 | 0.3 PK/BK | 1597 | Courtesy Lamps Switch Signal |
19 | -- | -- | Not Used |
20 | 0.5 L-BU | 553 | Tow/Haul Switch Signal |
21 | 0.3 BN/OG | 1571 | Traction Control Switch Signal |
22 | 0.3 D-GN/WH | 1135 | A/T Shift Lock Control Solenoid Supply Voltage |
23-24 | -- | -- | Not Used |
25 | 0.3 PU | 328 | Interior Lamp Switch Signal |
Connector Part Information
|
Terminal Part Information
|
Pin | Wire Color | Circuit No. | Function |
|---|---|---|---|
1 | 0.85 BK | 850 | Ground |
2 | 0.85 OG/YE | 1640 | Battery Positive Voltage |
3 | 0.85 OG/RD | 2740 | Battery Positive Voltage |
4 | -- | -- | Not Used |
5 | 0.85 BK | 850 | Ground |
6 | -- | -- | Not Used |
7 | 0.3 GY | 728 | Security Indicator Control |
8 | 0.5 BN/BK | 9004 | High Speed GMLAN Serial Data Bus+ |
9 | 0.5 BN | 9005 | High Speed GMLAN Serial Data Bus- |
10 | D-GN | 9208 | Low Speed GMLAN Serial Data |
11-12 | -- | -- | Not Used |
13 | 0.5 L-GN | 526 | Stop Lamp Switch Signal |
14 | 0.5 BN/RD | 552 | Low Reference |
15 | 0.5 GY | 598 | 5-Volt Reference |
16 | 0.5 BN/BK | 9006 | High Speed GMLAN Serial Data Bus+ |
17 | 0.5 BN | 9007 | High Speed GMLAN Serial Data Bus- |
18 | 0.3 YE | 6817 | LED Backlight Dimming Control |
19 | 0.3 PU/WH | 5727 | Communication Enable Relay Control |
20 | -- | -- | Not Used |
21 | 0.3 OG | 192 | Fog Lamp Switch |
22-24 | -- | -- | Not Used |
25 | 0.3 PU/WH | 6816 | RPA Switch LED Backlight Dimming Control |
Connector Part Information
|
Terminal Part Information
|
Pin | Wire Color | Circuit No. | Function |
|---|---|---|---|
1 | 0.85 OG/RD | 340 | Battery Positive Voltage |
2 | 0.85 OG | 240 | Battery Positive Voltage |
3 | 0.85 OG/PU | 440 | Battery Positive Voltage |
4 | 0.85 OG/PU | 2140 | Battery Positive Voltage |
5 | 0.75 D-BU/WH | 1315 | Right Front Turn Signal Lamp Supply Voltage |
6 | -- | -- | Not Used |
7 | 0.3 YE | 196 | Windshield Wiper Motor Park Switch Signal |
8 | -- | -- | Not Used |
9 | 0.3 BK | 1850 | Ground |
10 | 0.3 OG/BU | 2440 | Battery Positive Voltage |
11 | 0.3 D-GN/WH | 1317 | Fog Lamp Relay Control |
12-13 | -- | -- | Not Used |
14 | 0.5 OG | 482 | Outside Moisture Sensor Signal 2 |
15 | 0.5 OG | 2268 | Washer Fluid Pump Relay Control |
16 | 0.3 BN/YE | 1969 | Headlamp High Beam Relay Control |
17 | 0.3 PK/BK | 109 | Hood Ajar Switch Signal |
18 | 0.3 BN | 481 | Outside Moisture Sensor Signal 1 |
19 | 0.3 D-BU | 5985 | Accessory Wakeup Serial Data |
20 | -- | -- | Not Used |
21 | 0.3 PK | 1439 | Run/Crank Control |
22 | 0.3 BN | 253 | Trunk Release Relay Control |
23 | -- | -- | Not Used |
24 | 0.3 D-GN | 646 | Backup Lamp Relay Control |
25 | -- | -- | Not Used |
Connector Part Information
|
Terminal Part Information
|
Pin | Wire Color | Circuit No. | Function |
|---|---|---|---|
1 | 0.85 YE/BK | 1334 | Left Rear Turn Signal Lamp Supply Voltage |
2 | 0.85 D-GN/WH | 1335 | Right Rear Turn Signal Lamp Supply Voltage |
3 | -- | -- | Not Used |
4 | 0.75 L-BU/WH | 1314 | Left Front Turn Signal Lamp Supply |
5 | 0.85 BN | 5998 | Puddle Lamp Supply Voltage |
6 | 0.5 WH/BU | 17 | Stop Lamp Switch Signal |
7 | -- | -- | Not Used |
8 | 0.3 PK | 5076 | 5-Volt Reference |
9 | 0.3 WH/GN | 5075 | Battery Current Signal |
10 | 0.3 BN | 5077 | Low Reference |
11 | 0.3 BN/YE | 707 | RAP Relay Coil Supply Voltage |
12-13 | -- | -- | Not Used |
14 | 0.3 YE | 43 | Accessory Power Relay Control |
15 | 0.3 PU | 5531 | Hood Closed Switch Signal |
16 | 0.5 OG/BK | 233 | Park Brake Switch Signal |
17 | 0.5 PU | 5357 | Right Tail Lamp Monitoring (HSV) |
18 | 0.3 BN/BK | 28 | Horn Relay Control |
19 | -- | -- | Not Used |
20 | 0.3 GY | 91 | Windshield Wiper Switch Signal 2 |
21 | 0.3 BN/RD | 860 | Front Windshield Wiper Switch High Signal |
22 | -- | -- | Not Used |
23 | 0.3 PK/WH | 1970 | Headlamp Low Beam Relay Control |
24 | 0.3 WH/YE | 1080 | Park Lamp Relay Control |
25 | -- | -- | Not Used |
Connector Part Information
|
Terminal Part Information
|
Pin | Wire Color | Circuit No. | Function |
|---|---|---|---|
1 | -- | -- | Not Used |
2 | 1.25 L-BU | 20 | Stop Lamp Supply Voltage |
3-7 | -- | -- | Not Used |
8 | 0.3 BN/WH | 746 | Passenger Front Door Ajar Switch Signal |
9 | -- | -- | Not Used |
10 | 0.3 GY/BK | 745 | Driver Door Ajar Switch Signal |
11-19 | -- | -- | Not Used |
20 | 0.3 PK | 781 | Driver Door Lock Switch Unlock Signal |
21 | -- | -- | Not Used |
22 | 0.3 OG/BK | 744 | Liftgate Ajar Switch Signal |
23 | 0.3 PK/BK | 780 | Driver Door Lock Switch Lock Signal |
24-25 | -- | -- | Not Used |
Connector Part Information
|
Terminal Part Information
|
Pin | Wire Color | Circuit No. | Function |
|---|---|---|---|
1 | -- | -- | Not Used |
2 | 0.3 WH | 2282 | Headlamp Washer Relay Control |
3-5 | -- | -- | Not Used |
6 | 0.3 L-BU | 5921 | Door Unlock Supply Voltage |
7 | 0.3 D-BU/WH | 195 | Door Lock Control |
8 | -- | -- | Not Used |
9 | 0.3 WH | 194 | Door Unlock Control |
10 | 0.3 GY/BU | 7388 | Headlamp Dimming Switch Up |
11 | 0.3 BN/BK | 254 | Power Door Unlock Fuse Supply Voltage |
12 | 0.3 GY/BK | 255 | Power Door Lock Fuse Supply Voltage |
13-15 | -- | -- | Not Used |
16 | 0.35 L-BU | 187 | Fog Lamp Switch - Output - Rear |
17-23 | -- | -- | Not Used |
24 | 0.3 GY/WH | 7389 | Headlamp Dimming Switch Down |
25-28 | -- | -- | Not Used |
Connector Part Information
|
Terminal Part Information
|
Pin | Wire Color | Circuit No. | Function |
|---|---|---|---|
1 | 0.3 BN/WH | 33 | Brake Warning Indicator Control |
2 | 0.3 BK | 350 | Ground |
Connector Part Information
|
Terminal Part Information
|
Pin | Wire Color | Circuit No. | Function |
|---|---|---|---|
A | 0.5 GY | 598 | 5-Volt Reference |
B | 0.5 L-GN | 526 | Stop Lamp Switch Signal |
C | 0.5 BN/RD | 552 | Low Reference |
Connector Part Information
|
Terminal Part Information
|
Pin | Wire Color | Circuit No. | Function |
|---|---|---|---|
1 | 0.75 PK/BU | 5293 | Ignition 1 Voltage |
2 | 0.75 L-GN | 5282 | CMP Actuator Solenoid Control - Exhaust Bank 1 |
Connector Part Information
|
Terminal Part Information
|
Pin | Wire Color | Circuit No. | Function |
|---|---|---|---|
1 | 0.75 PK/BU | 5293 | Ignition 1 Voltage |
2 | 0.75 PU | 5284 | CMP Actuator Solenoid Control - Intake Bank 1 |
Connector Part Information
|
Terminal Part Information
|
Pin | Wire Color | Circuit No. | Function |
|---|---|---|---|
1 | 0.75 PK/BU | 5293 | Ignition 1 Voltage |
2 | 0.75 WH/BK | 5283 | CMP Actuator Solenoid Control - Exhaust Bank 2 |
Connector Part Information
|
Terminal Part Information
|
Pin | Wire Color | Circuit No. | Function |
|---|---|---|---|
1 | 0.75 PK/BU | 5293 | Ignition 1 Voltage |
2 | 0.75 OG/BK | 5272 | CMP Actuator Solenoid Control - Intake Bank 2 |
Connector Part Information
|
Terminal Part Information
|
Pin | Wire Color | Circuit No. | Function |
|---|---|---|---|
1 | 0.75 PK/BK | 632 | Low Reference |
2 | 0.5 D-GN | 5273 | CMP Sensor Signal - Exhaust Bank 1 |
3 | 0.75 GY | 705 | 5-Volt Reference |
Connector Part Information
|
Terminal Part Information
|
Pin | Wire Color | Circuit No. | Function |
|---|---|---|---|
1 | 0.5 PK/BK | 632 | Low Reference |
2 | 0.5 OG/BU | 5275 | CMP Sensor Signal - Intake Bank 1 |
3 | 0.5 GY | 705 | 5-Volt Reference |
Connector Part Information
|
Terminal Part Information
|
Pin | Wire Color | Circuit No. | Function |
|---|---|---|---|
1 | 0.5 PK/BK | 632 | Low Reference |
2 | 0.5 PU | 5274 | CMP Sensor Signal - Exhaust Bank 2 |
3 | 0.5 GY | 705 | 5-Volt Reference |
Connector Part Information
|
Terminal Part Information
|
Pin | Wire Color | Circuit No. | Function |
|---|---|---|---|
1 | 0.5 PK/BK | 632 | Low Reference |
2 | 0.5 PU | 5276 | CMP Sensor Signal - Intake Bank 2 |
3 | 0.5 GY | 705 | 5-Volt Reference |
Connector Part Information
|
Terminal Part Information
|
Pin | Wire Color | Circuit No. | Function |
|---|---|---|---|
A | 0.5 OG | 631 | 5-Volt Reference |
B | 0.5 PK/BK | 632 | Low Reference |
C | 0.5 BN/WH | 633 | CMP Sensor Signal |
Connector Part Information
|
Terminal Part Information
|
Pin | Wire Color | Circuit No. | Function |
|---|---|---|---|
A | 0.85 OG | 1732 | Courtesy Lamps Supply Voltage |
Connector Part Information
|
Terminal Part Information
|
Pin | Wire Color | Circuit No. | Function |
|---|---|---|---|
A | 0.5 GY | 157 | Courtesy Lamp Control |
Connector Part Information
|
Terminal Part Information
|
Pin | Wire Color | Circuit No. | Function |
|---|---|---|---|
A | 0.5 GY | 157 | Courtesy Lamp Control |
Connector Part Information
|
Terminal Part Information
|
Pin | Wire Color | Circuit No. | Function |
|---|---|---|---|
A | 0.5 BK | 850 | Ground |
Connector Part Information
|
Terminal Part Information
|
Pin | Wire Color | Circuit No. | Function |
|---|---|---|---|
A | 0.5 L-BU | 20 | Stop Lamp Supply Voltage |
B | 0.5 BK/WH | 851 | Ground |
Connector Part Information
|
Terminal Part Information
|
Pin | Wire Color | Circuit No. | Function |
|---|---|---|---|
A | 0.5 BN/WH | CPP Switch Signal | |
B | 0.5 PK | Ignition 1 Voltage |
Connector Part Information
|
Terminal Part Information
|
Pin | Wire Color | Circuit No. | Function |
|---|---|---|---|
A | 0.5 D-GN | Clutch Start/Neutral Start (without LY7) | |
0.5 OG/BK | Clutch Start/Neutral Start (LY7) | ||
B | 0.5 BK | Ground |
Connector Part Information
|
Terminal Part Information
|
Pin | Wire Color | Circuit No. | Function |
|---|---|---|---|
A | 0.5 D-GN | Clutch Start/Neutral Start (without LY7) | |
0.5 OG/BK | Clutch Start/Neutral Start (LY7) | ||
B | 0.5 BK | Ground |
Connector Part Information
|
Terminal Part Information
|
Pin | Wire Color | Circuit No. | Function |
|---|---|---|---|
1 | 0.5 D-BU/WH | 149 | Courtesy Lamp Supply Voltage |
2 | 0.5 BK | 1450 | Ground |
Connector Part Information
|
Terminal Part Information
|
Pin | Wire Color | Circuit No. | Function |
|---|---|---|---|
1 | 0.5 D-BU/WH | 149 | Courtesy Lamp Supply Voltage |
2 | 0.5 BK | 850 | Ground |
Connector Part Information
|
Terminal Part Information
|
Pin | Wire Color | Circuit No. | Function |
|---|---|---|---|
A | 0.5 BN/WH | Clutch Disable Clutch SW Signal | |
B | 0.5 PK | Ignition 1 Voltage (LY7) | |
0.5 PK/BU | Ignition 1 Voltage (without LY7) |
Connector Part Information
|
Terminal Part Information
|
Pin | Wire Color | Circuit No. | Function |
|---|---|---|---|
1 | 0.5 PU | 574 | Low Reference |
2 | 0.5 YE/BU | 573 | CKP Sensor Signal |
3 | 0.5 PU/WH | 605 | 5-Volt Reference |
Connector Part Information
|
Terminal Part Information
|
Pin | Wire Color | Circuit No. | Function |
|---|---|---|---|
1 | 0.5 D-BU/WH | 1869 | CKP Sensor Signal |
2 | 0.5 YE/BK | 1868 | Low Reference |
3 | 0.5 L-GN | 1867 | 12-Volt Reference |
Connector Part Information
|
Terminal Part Information
|
Pin | Wire Color | Circuit No. | Function |
|---|---|---|---|
1 | 0.35 L-GN | 9200 | Low Speed GMLAN Serial Data |
2-3 | -- | -- | Not Used |
4 | 0.3 BK | 850 | Ground |
5 | 0.3 BK | 850 | Ground |
6 | 0.5 BN/BK | 9004 | High Speed GMLAN Serial Data Bus+ |
7-13 | -- | -- | Not Used |
14 | 0.5 BN | 9005 | High Speed GMLAN Serial Data Bus- |
15 | -- | -- | Not Used |
16 | 0.5 OG/WH | 1840 | Battery Positive Voltage |
Connector Part Information
|
Terminal Part Information
|
Pin | Wire Color | Circuit No. | Function |
|---|---|---|---|
A | 0.5 BN/BK | 9010 | High Speed GMLAN Serial Data Bus+ |
B | 0.5 BN | 9011 | High Speed GMLAN Serial Data Bus- |
Connector Part Information |
Terminal Part Information |
Pin | Wire Color | Circuit No. | Function |
|---|---|---|---|
1 | 0.5 BK | -- | Ground |
2 | 0.5 BK | -- | Ground |
3 | 0.75 PK/BU | -- | Ignition Voltage |
Connector Part Information
|
Terminal Part Information
|
Pin | Wire Color | Circuit No. | Function |
|---|---|---|---|
1 | 0.5 BN/WH | 372 | Remote Radio Audio Output (-) |
2 | 0.5 D-GN | 7007 | Left Radio Audio Output |
3 | 0.5 GY/BK | 7008 | Right Radio Audio Output |
4 | 0.5 GY | 388 | Remote Radio Right Audio Signal |
5 | 0.35 D-GN | 9213 | -- |
6-8 | -- | -- | Not Used |
9 | 0.5 BN | 1050 | Ground |
10-15 | -- | -- | Not Used |
16 | 0.5 OG/WH | 2340 | Battery Positive Voltage |
Connector Part Information
|
Terminal Part Information
|
Pin | Wire Color | Circuit No. | Function |
|---|---|---|---|
1 | -- | -- | Not Used |
2 | 0.3 D-GN | 5060 | Low Speed GMLAN Serial Data |
3 | 0.5 RD/WH | 4540 | Battery Positive Voltage (RHD) |
0.5 OG/YE | 4540 | Battery Positive Voltage (LHD) | |
4 | 0.5 RD/WH | 4540 | Battery Positive Voltage (RHD) |
0.5 OG/YE | 4540 | Battery Positive Voltage (LHD) | |
5-7 | -- | -- | Not Used |
8 | 0.5 BK | 1050 | Ground |
9 | 0.5 BK | 1050 | Ground |
10 | -- | -- | Not Used |
Connector Part Information
|
Terminal Part Information
|
Pin | Wire Color | Circuit No. | Function |
|---|---|---|---|
1 | 0.5 D-BU | 5841 | Auxiliary Audio Right Signal (+) (UWF) |
2 | 0.5 BN/WH | 5839 | Auxiliary Audio Left Signal (+) (UWF) |
3-7 | -- | -- | Not Used |
8 | 0.5 D-BU | 7001 | Common Auxiliary Audio Signal (-) (UWF) |
9-12 | -- | -- | Not Used |
Connector Part Information
|
Terminal Part Information
|
Pin | Wire Color | Circuit No. | Function |
|---|---|---|---|
1 | 0.18 PU | 5842 | Auxiliary Video Signal (-) (RHD) |
0.18 BARE | 5842 | Auxiliary Video Signal (-)(LHD) | |
2 | 0.18 WH/RD | 2058 | Auxiliary Audio Right Signal (+) (RHD) |
0.18 RD | 2058 | Auxiliary Audio Right Signal (+) (LHD) | |
3 | 0.18 YE | 2059 | Auxiliary Audio Left Signal (+) (RHD) |
0.18 WH | 2059 | Auxiliary Audio Left Signal (+) (LHD) | |
4 | -- | -- | Not Used |
5 | 0.18 PU | 5843 | Auxiliary Video Signal (+) (RHD) |
0.18 BK | 5843 | Auxiliary Video Signal (+) (LHD) | |
6 | 0.18 WH/RD | 5841 | Auxiliary Audio Right Signal (-) (RHD) |
0.18 D-GN | 5841 | Auxiliary Audio Right Signal (-) (LHD) | |
7 | 0.18 YE | 5839 | Auxiliary Audio Left Signal (-) (RHD) |
0.18 PK | 5839 | Auxiliary Audio Left Signal (-) (LHD) | |
8 | -- | -- | Not Used |
Connector Part Information
|
Terminal Part Information
|
Pin | Wire Color | Circuit No. | Function |
|---|---|---|---|
1 | 0.3 WH | 9412 | DVD Video Signal (-) (RHD and U56) |
0.3 GY | 9412 | DVD Video Signal (-) (without RHD and U56) | |
2 | 0.3 D-GN/WH | 9410 | DVD Audio Right Signal (+) (RHD and U56) |
0.3 WH | 9410 | DVD Audio Right Signal (+) (without RHD and U56) | |
3 | 0.3 L-GN | 9408 | DVD Audio Left Signal (+) (RHD and U56) |
0.3 L-BU | 9408 | DVD Audio Left Signal (+) (without RHD and U56) | |
4 | -- | -- | Not Used |
5 | 0.3 YE | 9407 | DVRX DVD IN (RHD and U56) |
0.3 YE/BK | 9407 | DVRX DVD IN (without RHD and U56) | |
6 | 0.3 L-BU | 6871 | DVD0V 1 DVD-1 |
7 | 0.3 OG | 9405 | DVD_IN_! DVD+1 |
8 | 0.3 WH | 6975 | DVD Video Signal (+) (RHD and U56) |
0.3 D-GN | 6975 | DVD Video Signal (+) (without RHD and U56) | |
9 | 0.3 D-GN/WH | 9411 | DVD Audio Right Signal (-) (RHD and U56) |
0.3 D-GN | 9411 | DVD Audio Right Signal (-) (without RHD and U56) | |
10 | 0.3 L-GN | 9409 | DVD Audio Left Signal (-) (RHD and U56) |
0.3 WH/BK | 9409 | DVD Audio Left Signal (-) (without RHD and U56) | |
11 | -- | -- | Not Used |
12 | 0.3 D-GN | 1096 | DVTX DVD IN (without LHD and U56) |
0.3 GY | 1096 | Passenger Door Lock Switch Low Reference (LHD and U56) | |
13 | 0.3 D-BU | 9406 | DVD0V 2 DVD-2 |
14 | 0.3 PK | 6875 | DVD_IN 2 DVD+2 |
Connector Part Information
|
Terminal Part Information
|
Pin | Wire Color | Circuit No. | Function |
|---|---|---|---|
1 | 0.18 WH | 6975 | DVD Video Signal (-) (without LHD and U56) |
0.18 BK | 6975 | DVD Video Signal (-) (LHD and U56) | |
2 | 0.18 D-GN/WH | 5828 | DVD Audio Right Signal (+) (without LHD and U56) |
0.18 RD | 5828 | DVD Audio Right Signal (+) (LHD and U56) | |
3 | 0.18 L-GN | 5826 | DVD Audio Left Signal (+) (without LHD and U56) |
0.18 WH | 5826 | DVD Audio Left Signal (+) (LHD and U56) | |
4 | 0.18 BARE | 5339 | Shield (without LHD and U56) |
0.18 BARE | 5339 | Drain Wire (LHD and U56) | |
5 | 0.18 YE | 5485 | RS485 TX (without LHD and U56) |
0.18 GY | 5485 | RS485 TX (LHD and U56) | |
6 | 0.18 L-BU | 6873 | Ground (without LHD and U56) |
0.18 PU | 6873 | Ground (LHD and U56) | |
7 | 0.18 OG | 6849 | Battery Positive (without LHD and U56) |
0.18 YE | 6849 | Battery Positive (LHD and U56) | |
8 | 0.18 WH | 6976 | DVD Video Signal (+) (without LHD and U56) |
0.18 BK | 6976 | Battery Positive (LHD and U56) | |
9 | 0.18 D-GN/WH | 5827 | DVD Audio Right Signal (-) (without LHD and U56) |
0.18 RD | 5827 | DVD Audio Right Signal (-) (LHD and U56) | |
10 | 0.18 L-GN | 5825 | DVD Audio Left Signal (-) (without LHD and U56) |
0.18 WH | 5825 | DVD Audio Left Signal (-) (LHD and U56) | |
11 | -- | -- | Not Used |
12 | 0.18 D-GN | 1098 | RS485 RX (without LHD and U56) |
0.18 D-BU | 1098 | RS485 RX (LHD and U56) | |
13-14 | -- | -- | Not Used |
Connector Part Information
|
Terminal Part Information
|
Pin | Wire Color | Circuit No. | Function |
|---|---|---|---|
1 | 0.18 WH | 6976 | DVD Video Signal (-) |
2 | 0.18 D-GN/WH | 5828 | DVD Audio Right Signal (+) |
3 | 0.18 L-GN | 5826 | DVD Audio Left Signal (+) |
4 | 0.18 BARE | 5339 | Shield |
5 | 0.18 YE | 5845 | RS485TX |
6 | 0.18 L-BU | 6873 | Ground |
7 | 0.18 OG | 6849 | Battery Positive |
8 | -- | -- | Not Used |
9 | 0.18 WH | 6975 | DVD Video Signal (+) |
10 | 0.18 D-GN/WH | 5827 | DVD Audio Right Signal (-) |
11 | 0.18 L-GN | 5825 | DVD Audio Left Signal (-) |
12 | -- | -- | Not Used |
13 | 0.18 D-GN | 1098 | RS485RX |
14-16 | -- | -- | Not Used |
Connector Part Information
|
Terminal Part Information
|
Pin | Wire Color | Circuit No. | Function |
|---|---|---|---|
1 | 0.18 D-GN | 9403 | RX (U56 and RHD) |
0.18 D-BU | 9403 | RX (U56 and LHD) | |
0.18 L-GN/BK | 9403 | RX (UWF) | |
2 | 0.18 L-BU | 9401 | Ground (U56) |
0.18 TN | 9401 | Ground (UW5) | |
3 | -- | -- | Not Used |
4 | 0.18 BARE | 9404 | Shield |
5 | 0.18 YE | 9402 | TX (U56 and RHD) |
0.18 GY | 9402 | TX (U56 and LHD) | |
0.18 YE/BK | 9402 | TX (UWF) | |
6 | 0.18 OG | 9400 | Video In (+) (without U56 and LHD) |
0.18 RD | 9400 | Video In (+) (U56 and LHD) |
Connector Part Information
|
Terminal Part Information
|
Pin | Wire Color | Circuit No. | Function |
|---|---|---|---|
1 | 0.5 BK | 5335 | DVD Video Signal (-) |
2 | -- | -- | Not Used |
3 | 0.5 RD | 368 | Right Audio Signal (+) (without RHD and U56) |
0.5 D-BU | 368 | Right Audio Signal (+) (RHD and U56) | |
4 | 0.5 WH | 367 | Left Audio Signal (+) (without RHD and U56) |
0.5 BN/WH | 367 | Left Audio Signal (+) (RHD and U56) | |
5 | -- | -- | Not Used |
6 | 0.5 BK | 5334 | DVD Video Signal (+) |
7 | -- | -- | Not Used |
8 | 0.5 WH/RD | 1547 | Common Audio Signal (-) (without RHD and U56) |
0.5 D-GN | 1547 | Common Audio Signal (-) (RHD and U56) |
Connector Part Information
|
Terminal Part Information
|
Pin | Wire Color | Circuit No. | Function |
|---|---|---|---|
1 | -- | -- | Not Used |
2 | 0.18 OG | 9400 | Video In (+) |
3 | 0.18 TN | 9401 | Ground (UWF) |
0.18 L-BU | 9401 | Ground (U56) | |
4 | 0.18 YE/BK | 9402 | TX (UWF) |
0.18 YE | 9402 | TX (U56) | |
5 | 0.18 L-GN/BK | 9403 | RX (UWF) |
0.18 D-GN | 9403 | RX (U56) | |
6 | -- | -- | Not Used |
Connector Part Information
|
Terminal Part Information
|
Pin | Wire Color | Circuit No. | Function |
|---|---|---|---|
1 | 0.18 PU | 5483 | Auxiliary Video Signal (+) (RHD) |
0.18 WH | 5483 | Auxiliary Audio Left Signal (+) (LHD) | |
2 | 0.18 WH/RD | 2058 | Auxiliary Audio Right Signal (+) (RHD) |
0.18 PK | 2058 | Auxiliary Audio Left Signal (-) (LHD) | |
3 | 0.18 YE | 2059 | Auxiliary Audio Left Signal (+) (RHD) |
0.18 RD | 2059 | Auxiliary Audio Right Signal (+) (LHD) | |
4 | 0.18 YE | 5389 | Auxiliary Audio Left Signal (-) (RHD) |
0.18 D-GN | 5389 | Auxiliary Audio Right Signal (-) (LHD) | |
5 | 0.18 PU | 5842 | Auxiliary Audio Signal (-) (RHD) |
0.18 BARE | 5842 | Auxiliary Video Signal (-) (LHD) | |
6 | 0.18 WH/RD | 5841 | Auxiliary Video Right Signal (-) (RHD) |
0.18 BK | 5841 | Auxiliary Video Signal (+) (LHD) |
Connector Part Information
|
Terminal Part Information
|
Pin | Wire Color | Circuit No. | Function |
|---|---|---|---|
1 | 0.3 D-GN | 1096 | DVTX DVDIN (RHD) |
0.3 GY | 1096 | DVTX DVDIN | |
2 | 0.3 YE | 9407 | DVRX DVDIN (RHD) |
0.3 YE/BK | 9407 | DVRX DVDIN | |
3 | -- | -- | Not Used |
4 | 0.3 BARE | 9413 | Shield |
5 | 0.3 L-GN | 9408 | DVD Audio Left Signal (+) (RHD) |
0.3 L-BU | 9408 | DVD Audio Left Signal (+) | |
6 | 0.3 L-GN | 9409 | DVD Audio Left Signal (-) (RHD) |
0.3 L-BU | 9409 | DVD Audio Left Signal (-) (RHD) | |
0.3 WH/BK | 9409 | DVD Audio Left Signal (-) (LHD) | |
7 | 0.3 D-GN/WH | 9410 | DVD Audio Right Signal (+) (RHD) |
0.3 WH | 9410 | DVD Audio Right Signal (+) | |
8 | 0.3 D-GN/WH | 9411 | DVD Audio Right Signal (-) (RHD) |
0.3 D-GN | 9411 | DVD Audio Right Signal (-) | |
9 | 0.3 WH | 9412 | DVD Video Signal (-) (RHD) |
0.3 GY | 9412 | DVD Video Signal (-) | |
10 | 0.3 WH | 6975 | DVD Video Signal (+) (RHD) |
0.3 D-GN | 6975 | DVD Video Signal (+) |
Connector Part Information
|
Terminal Part Information
|
Pin | Wire Color | Circuit No. | Function |
|---|---|---|---|
1 | 0.3 OG | 9405 | DVD IN 1 DVD+1 |
2 | 0.3 PK | 6875 | DVD IN 2 DVD+2 |
3 | 0.3 L-BU | 6871 | DVD IN 1 DVD-1 |
4 | 0.3 D-BU | 9406 | DVD IN 2 DVD-2 |
Connector Part Information
|
Terminal Part Information
|
Pin | Wire Color | Circuit No. | Function |
|---|---|---|---|
1 | 0.35 BK | 6 | Ground |
2 | 0.35 BK | 11 | Disable Signal |
Connector Part Information
|
Terminal Part Information
|
Pin | Wire Color | Circuit No. | Function |
|---|---|---|---|
1 | 0.5 BK/WH | 851 | Ground |
2 | 0.3 PK/BK | 1597 | Courtesy Lamp Supply Voltage |
3 | 0.3 PU | 328 | Interior Lamp Switch Signal |
4 | 0.5 D-BU/WH | 149 | Courtesy Lamp Supply Voltage |
Connector Part Information
|
Terminal Part Information
|
Pin | Wire Color | Circuit No. | Function |
|---|---|---|---|
1 | 0.5 BK/WH | 851 | Ground |
2 | 0.3 PK/BK | 1597 | Courtesy Lamps Switch on signal |
3 | 0.3 PU | 328 | Interior Lamp Switch Signal |
4 | 0.5 D-BU/WH | 149 | Courtesy Lamp Supply Voltage |
5 | 0.5 OG | 1732 | Courtesy Lamp Supply Voltage |
6 | 0.3 YE | 6817 | LED Backlight Dimming Control |
Connector Part Information
|
Terminal Part Information
|
Pin | Wire Color | Circuit No. | Function |
|---|---|---|---|
1 | -- | -- | Not Used |
2 | 0.3 PK/BK | 1597 | Courtesy Lamps Switch On Signal |
3 | 0.5 OG/WH | 1840 | Battery Positive Voltage |
4 | 0.3 WH/RD | 6821 | Courtesy Lamps Switch On Signal |
5-6 | -- | -- | Not Used |
7 | 0.3 PU | 328 | Interior Lamp Switch Signal |
8 | 0.5 D-BU/WH | 149 | Courtesy Lamp Supply Voltage |
9 | 0.85 OG | 1732 | Courtesy Lamps Supply Voltage |
10 | 0.5 BK/WH | 851 | Ground |
Connector Part Information
|
Terminal Part Information
|
Pin | Wire Color | Circuit No. | Function |
|---|---|---|---|
1 | 0.5 BK/WH | 851 | Ground |
2 | 0.5 D-BU/WH | 149 | Courtesy Lamp Supply Voltage |
3 | 0.5 OG | 1732 | Courtesy Lamp Supply Voltage |
4 | 0.3 YE | 6817 | LED Backlight Dimming Control |
Connector Part Information
|
Terminal Part Information
|
Pin | Wire Color | Circuit No. | Function |
|---|---|---|---|
1 | 0.5 BK/WH | 851 | Ground |
2 | 0.5 D-BU/WH | 149 | Courtesy Lamp Supply Voltage |
3-4 | -- | -- | Not Used |
Connector Part Information
|
Terminal Part Information
|
Pin | Wire Color | Circuit No. | Function |
|---|---|---|---|
A | 0.5 D-BU/WH | 149 | Courtesy Lamp Supply Voltage |
Connector Part Information
|
Terminal Part Information
|
Pin | Wire Color | Circuit No. | Function |
|---|---|---|---|
A | 0.5 BK | 2050 | Ground |
Connector Part Information
|
Terminal Part Information
|
Pin | Wire Color | Circuit No. | Function |
|---|---|---|---|
A | 0.5 D-BU/WH | 149 | Courtesy Lamp Supply Voltage |
Connector Part Information
|
Terminal Part Information
|
Pin | Wire Color | Circuit No. | Function |
|---|---|---|---|
A | 0.5 BK | 2050 | Ground |
Connector Part Information
|
Terminal Part Information
|
Pin | Wire Color | Circuit No. | Function |
|---|---|---|---|
A | 0.5 D-BU/WH | 149 | Courtesy Lamp Supply Voltage |
Connector Part Information
|
Terminal Part Information
|
Pin | Wire Color | Circuit No. | Function |
|---|---|---|---|
A | 0.5 BK | 1350 | Ground |
Connector Part Information
|
Terminal Part Information
|
Pin | Wire Color | Circuit No. | Function |
|---|---|---|---|
A | 0.5 D-BU/WH | 149 | Courtesy Lamp Supply Voltage |
Connector Part Information
|
Terminal Part Information
|
Pin | Wire Color | Circuit No. | Function |
|---|---|---|---|
A | 0.5 BK | 1350 | Ground |
Connector Part Information
|
Terminal Part Information
|
Pin | Wire Color | Circuit No. | Function |
|---|---|---|---|
1 | -- | -- | Not Used |
2 | 0.75 BN/RD | 294 | Door Lock Actuator Unlock Control |
3 | 0.75 GN/WH | 295 | Door Lock Actuator Lock Control |
4-5 | -- | -- | Not Used |
6 | 0.3 BN/WH | 746 | Driver Door Ajar Switch Signal |
7 | -- | -- | Not Used |
8 | 0.5 BK | 2050 | Ground |
9-10 | -- | -- | Not Used |
Connector Part Information
|
Terminal Part Information
|
Pin | Wire Color | Circuit No. | Function |
|---|---|---|---|
1 | -- | -- | Not Used |
2 | 0.75 BN/RD | 294 | Door Lock Actuator Unlock Control |
3 | 0.75 GN/WH | 295 | Door Lock Actuator Lock Control |
4 | 0.3 BN/WH | 746 | Passengers Door Ajar Switch Signal |
5 | -- | -- | Not Used |
6 | 0.5 BK | 2050 | Ground |
Connector Part Information
|
Terminal Part Information
|
Pin | Wire Color | Circuit No. | Function |
|---|---|---|---|
1 | 0.3 GY/BK | 745 | Passengers Door Ajar Switch Signal |
2 | -- | -- | Not Used |
3 | 0.5 BK | 1350 | Ground |
4 | 0.3 PK | 781 | Driver Door Lock Switch Unlock Signal |
5-6 | -- | -- | Not Used |
7 | 0.75 BN/RD | 694 | Driver Door Lock Actuator Unlock Control |
8 | 0.75 GN/WH | 295 | Door Lock Actuator Lock Control |
9 | 0.3 PK/BK | 780 | Driver Door Lock Switch Lock Signal |
10 | -- | -- | Not Used |
Connector Part Information
|
Terminal Part Information
|
Pin | Wire Color | Circuit No. | Function |
|---|---|---|---|
1 | 0.3 BN/WH | 746 | Passengers Door Ajar Switch Signal |
2 | -- | -- | Not Used |
3 | 0.5 BK | 1350 | Ground |
4 | -- | -- | Not Used |
5 | 0.75 BN/RD | 294 | Door Lock Actuator Unlock Control |
6 | 0.75 GN/WH | 295 | Door Lock Actuator Lock Control |
Connector Part Information
|
Terminal Part Information
|
Pin | Wire Color | Circuit No. | Function |
|---|---|---|---|
1-6 | -- | -- | Not Used |
7 | 2 PU | 169 | Power Window Master Switch Left Rear Down Signal |
8 | 2 D-GN | 168 | Power Window  Master Switch Left Rear Up Signal |
9 | 2 BK | 2050 | Ground |
10 | 2 D-GN | 1001 | RAP [X] Fuse Supply Voltage |
11 | 2 D-BU | 1307 | Power Window Master Switch Lockout Signal |
12 | 2 PU/WH | 171 | Power Window Master Switch Right Rear Down Signal |
13 | 2 L-GN | 170 | Power Window Master Switch Right Rear Up Signal |
Connector Part Information
|
Terminal Part Information
|
Pin | Wire Color | Circuit No. | Function |
|---|---|---|---|
1 | 0.5 D-GN | 1301 | RAP [X] Fuse Supply Voltage |
2 | 0.5 BN | 1300 | Power Window Master Switch Left Front Up Signal |
3 | 0.5 GY/BU | 1136 | Power Window Master Switch Left Front Down Signal |
4 | 0.5 BK | 2050 | Ground |
5 | 0.5 BN/BK | 254 | Power Door Unlock Fuse Supply Voltage |
6 | 0.5 WH/BK | 81 | Driver Mirror Motor Right Control |
7 | 0.5 L-GN/BK | 89 | Driver Mirror Motor Down Control |
8 | 0.5 WH/BU | 7391 | Power Window Switch Right and Up |
9 | 0.5 L-BU | 166 | Power Window Master Switch Right Front Up Signal |
10 | 0.5 GN/BK | 167 | Power Window Master Switch Right Front Down Signal |
11 | 0.3 YE | 6817 | LED Backlight Diming Control |
12 | 0.5 PU/WH | 889 | Passenger Mirror Motor Down Control |
13 | 0.5 OG/WH | 881 | Passenger Mirror Motor Right Control |
14 | 0.5 BK | 2050 | Ground |
15 | 0.3 GY/BK | 255 | Power Door Lock Fuse Supply Voltage |
16 | 0.5 BN/BU | 343 | Accessory Voltage |
Connector Part Information
|
Terminal Part Information
|
Pin | Wire Color | Circuit No. | Function |
|---|---|---|---|
1 | 0.35 YE | 2501 | High Speed GMLAN Serial Data Bus- |
2 | 0.35 YE | 2501 | High Speed GMLAN Serial Data Bus- |
3 | 0.35 YE | 2500 | High Speed GMLAN Serial Data Bus+ |
4 | 0.35 YE | -- | |
5-7 | -- | -- | Not Used |
8 | 0.35 BK/BU | Steering Wheel Position Sensor Low Reference | |
9-15 | -- | -- | Not Used |
16 | 0.35 YE | 2500 | High Speed GMLAN Serial Data Bus+ |
17 | 0.35 YE | -- | |
18-26 | -- | -- | Not Used |
|
Terminal Part Information
|
Pin | Wire Color | Circuit No. | Function |
|---|---|---|---|
1 | 0.3 D-GN | 5060 | Low Speed GMLAN Serial Data |
2-3 | -- | -- | Not Used |
4 | 0.5 RD/WH | 1840 | Battery Positive Voltage |
5-7 | -- | -- | Not Used |
8 | 0.3 BK | 1450 | Ground |
Connector Part Information
|
Terminal Part Information
|
Pin | Wire Color | Circuit No. | Function |
|---|---|---|---|
A | 0.75 PU | Front Driving Lamp Relay Supply Voltage | |
B | 0.75 BK | Ground |
Connector Part Information
|
Terminal Part Information
|
Pin | Wire Color | Circuit No. | Function |
|---|---|---|---|
A | 0.75 PU | Front Driving Lamp Relay Supply Voltage | |
B | 0.75 BK | Ground |
Connector Part Information
|
Terminal Part Information
|
Pin | Wire Color | Circuit No. | Function |
|---|---|---|---|
A | 0.3 D-BU | Ground | |
B | 0.3 RD/BU | Voltage Supply |
Connector Part Information
|
Terminal Part Information
|
Pin | Wire Color | Circuit No. | Function |
|---|---|---|---|
1 | 3 BK | 350 | Ground |
2 | 3 RD/BK | 142 | Battery Positive Voltage |
3 | 2 OG | 3540 | Battery Positive Voltage |
4 | 2 BK | 350 | Ground |
5 | 0.5 L-BU | 830 | Left Front Wheel Speed Sensor Signal |
6 | 0.5 GY | 7127 | Wheel Speed Sensor Supply Voltage Left Rear |
7 | 0.5 GY | 7128 | Wheel Speed Sensor Supply Voltage Right Rear |
8 | 0.5 BN | 882 | Right Rear Wheel Speed Sensor Signal |
9 | 0.5 GY | 7065 | Wheel Speed Sensor Supply Voltage Right Front |
10 | 0.5 D-GN | 872 | Wheel Speed Sensor Signal Right Front |
11-13 | -- | -- | Not Used |
14 | 0.5 BN | 9003 | High Speed GMLAN Serial Data Bus- |
15 | 0.5 BK/BU | 2088 | Steering Wheel Position Sensor Low Reference |
16 | 0.5 BN/WH | 2086 | Yaw Rate Sensor Test Control |
17 | -- | -- | Not Used |
18 | 0.5 D-GN | 2087 | Steering Wheel Position Sensor 5-V Reference |
19 | -- | -- | Not Used |
20 | 0.5 PU/WH | 1699 | Combined Vehicle Inertial Sensor Signal |
21-24 | -- | -- | Not Used |
25 | 0.5 BN | 9001 | High Speed GMLAN Serial Data Bus- |
26 | 0.5 GY | 7064 | Wheel Speed Sensor Supply Voltage Left Front |
27 | 0.5 BN/BK | 884 | Left Rear Wheel Speed Sensor Signal |
28 | 0.75 L-BU | 5986 | Communication Enable Relay Supply Voltage |
29-34 | -- | -- | Not Used |
35 | 0.5 BN/BK | 9002 | High Speed GMLAN Serial Data Bus+ |
36 | -- | -- | Not Used |
37 | 0.5 L-GN/BK | 5352 | Yaw Rate Sensor Test Control |
38-44 | -- | -- | Not Used |
45 | 0.5 BN/BK | 9000 | High Speed GMLAN Serial Data Bus+ (LY7) |
46 | -- | -- | Not Used |
Connector Part Information
|
Terminal Part Information
|
Pin | Wire Color | Circuit No. | Function |
|---|---|---|---|
1 | 3 BK | 350 | Ground |
2 | 3 RD/BK | 142 | Battery Positive Voltage |
3 | 2 OG | 3540 | Battery Positive Voltage |
4 | 2 BK | 350 | Ground |
5 | 0.5 L-BU | 830 | Left Front Wheel Speed Sensor Signal |
6 | 0.5 GY | 7127 | Left Rear Wheel Speed Sensor Supply Voltage |
7 | 0.5 GY | 7128 | Right Rear Wheel Speed Sensor Supply Voltage |
8 | 0.5 BN | 882 | Right Rear Wheel Speed Sensor Signal |
9 | 0.5 GY/WH | 7065 | Right Front Wheel Speed Sensor Supply Voltage |
10 | 0.5 D-GN | 872 | Right Front Wheel Speed Sensor Signal |
11-13 | -- | -- | Not Used |
14 | 0.5 BN | 2501 | High Speed GMLAN Serial Data Bus- |
15 | 0.5 BN | 2501 | High Speed GMLAN Serial Data Bus- |
16 | 0.5 GY | 7064 | Left Front Wheel Speed Sensor Supply Voltage |
17 | 0.5 BN/BK | 884 | Left Rear Wheel Speed Sensor Signal |
18 | 0.5 L-BU | 5986 | Communication Enable Relay Supply Voltage |
19-24 | -- | -- | Not Used |
25 | 0.5 BN/BK | 2500 | High Speed GMLAN Serial Data Bus+ |
25 | 0.5 BN/BK | 2500 | High Speed GMLAN Serial Data Bus+ |
Connector Part Information
|
Terminal Part Information
|
Pin | Wire Color | Circuit No. | Function |
|---|---|---|---|
1 | 0.35 L-BU | 5986 | Communication Enable Relay Supply Voltage |
2 | 0.35 BK | 850 | Ground |
3 | 0.35 YE/GN | 1437 | Firm LED Supply Voltage |
4 | 0.35 BK | 850 | Ground |
5 | 0.35 YE/RD | 1384 | Electronic Suspension Control Switch Signal |
6 | 0.35 BK | 6817 | Ground |
Connector Part Information
|
Terminal Part Information
|
Pin | Wire Color | Circuit No. | Function |
|---|---|---|---|
1 | -- | -- | Not Used |
2 | 0.3 D-BU/WH | 1205 | Left Front Suspension Position Sensor Voltage Reference |
3 | 0.3 D-GN/WH | 1211 | Right Front Suspension Position Sensor Voltage Reference |
4 | 0.3 GY/WH | 1208 | Left Rear Suspension Position Sensor Voltage Reference |
5 | 0.3 BN/WH | 1214 | Right Rear Suspension Position Sensor Voltage Reference |
6-7 | -- | -- | Not Used |
8 | 0.3 YE/BK | 370 | Module Signal Error |
9 | 0.3 YE/GN | 1437 | Firm LED Supply Voltage |
10 | -- | -- | Not Used |
11 | 0.3 BN/BK | 1215 | Right Rear Suspension Position Sensor Low Reference |
12-16 | -- | -- | Not Used |
17 | 0.3 D-BU | 1207 | Left Front Suspension Position Sensor Signal |
18 | 0.3 D-GN | 1213 | Right Front Suspension Position Sensor Signal |
19 | 0.3 BN | 1216 | Right Rear Suspension Position Sensor Signal |
20 | -- | -- | Not Used |
21 | 0.35 YE/RD | 1384 | Electronic Suspension Control Switch Signal |
22-23 | -- | -- | Not Used |
24 | 0.3 BN | 2501 | High Speed GMLAN Serial Data Bus- |
25 | 0.3 BN/BK | 2500 | High Speed GMLAN Serial Data Bus+ |
26 | 0.3 D-GN/BK | 1212 | Right Front Suspension Position Sensor Low Reference |
27 | 0.3 GY/BK | 1209 | Left Rear Suspension Position Sensor Low Reference |
28 | 0.85 WH/BK | 1115 | Left Rear Damper Low Reference |
29 | 0.85 PU/WH | 1117 | Right Front Damper Low Reference |
30 | 0.85 PK/BK | 1113 | Left Front Damper Low Reference |
31 | 0.5 L-BU | 5986 | Communication Enable Relay Supply Voltage |
32 | 2 RD/BU | 2640 | Battery Positive Voltage |
33 | 0.3 GY | 1210 | Left Rear Suspension Position Sensor Signal |
34-38 | -- | -- | Not Used |
39 | 0.3 BN | 2501 | High Speed GMLAN Serial Data Bus- |
40 | 0.3 BN/BK | 2500 | High Speed GMLAN Serial Data Bus+ |
41 | 0.3 D-BU/BK | 1206 | Left Front Suspension Position Sensor Low Reference |
42 | 0.85 L-GN/BK | 1119 | Right Rear Damper Control |
43 | 0.85 WH/RD | 1114 | Left Rear Damper Control |
44 | 0.85 L-GN/BK | 1118 | Right Rear Damper Low Reference |
45 | 0.85 PU | 1116 | Right Front Damper Control |
46 | 0.85 PK | 1107 | Left Front Damper Control |
47 | 2 BK | 850 | Ground |
Connector Part Information
|
Terminal Part Information
|
Pin | Wire Color | Circuit No. | Function |
|---|---|---|---|
1 | 0.5 OG/BK | 1786 | Park/Neutral Signal |
2-5 | -- | -- | Not Used |
6 | 0.5 BN/WH | Cruise Control Disable Clutch Switch Signal | |
7 | -- | -- | Not Used |
8 | 0.5 L-GN | 5007 | Backup Lamp Switch Signal |
9 | 0.5 WH/BU | 17 | Stop Lamp Switch Signal |
10 | 0.5 PU/WH | 1668 | HO2S High Signal (Bank 1 Sensor 2) |
11 | 0.5 BN/WH | 1669 | HO2S Low Signal (Bank 1 Sensor 2) |
12 | 0.5 OG/BK | 380 | A/C Refrigerant Pressure Sensor Signal |
13 | 0.5 BN/GN | 2759 | Low Reference |
14-15 | -- | -- | Not Used |
16 | 0.5 PU | 1589 | Fuel Level Sensor Signal (Primary) |
17 | 0.5 D-BU/BK | 473 | High Speed Cooling Fan Relay Control (L98) |
0.5 D-BU | 473 | High Speed Cooling Fan Relay Control (HSV) | |
18 | 0.5 D-BU | 5985 | Accessory Wakeup Serial Data |
19 | 0.5 PK | 439 | Ignition 1 Voltage |
20 | 0.75 OG/BK | 540 | Battery Positive Voltage |
21-22 | -- | -- | Not Used |
23 | 0.5 PU | 1272 | Low Reference |
24-26 | -- | -- | Not Used |
27 | 0.5 BN | 9001 | High Speed GMLAN Serial Data Bus- |
28 | 0.5 BN/BK | 9000 | High Speed GMLAN Serial Data Bus+ |
29 | 0.5 D-BU/WH | 1161 | APP Sensor 1 Signal |
30 | 0.5 BN | 1271 | Low Reference |
31 | 0.5 BN/YE | 452 | Low Reference |
32 | 0.5 L-BU | 1162 | APP Sensor 2 Signal |
33 | -- | -- | Not Used |
34 | 0.5 GY | 1688 | 5-Volt Reference |
35 | -- | -- | Not Used |
36 | 0.5 BN/YE | 1274 | 5-Volt Reference |
37 | 0.5 BN/RD | 472 | IAT Sensor Signal |
38 | 0.5 BN/WH | 2760 | Low Reference |
39-40 | -- | -- | Not Used |
41 | 0.5 YE | 492 | MAF Sensor Signal |
42 | -- | -- | Not Used |
43 | High Speed Cooling Fan Relay Control | ||
44-46 | -- | -- | Not Used |
47 | 0.75 PK/BK | 5290 | Ignition 1 Voltage (L98) |
0.75 BK | 5290 | Ignition 1 Voltage (HSV) | |
48 | -- | -- | Not Used |
49 | 0.5 BN/WH | 1671 | HO2S Low Signal (Bank 2 Sensor 2) |
50 | 0.5 D-GN/WH | 465 | Fuel Pump Relay Control (Primary) |
51 | -- | -- | Not Used |
52 | 0.5 YE | 447 | Starter Relay Coil Control |
53-55 | -- | -- | Not Used |
56 | 0.5 WH/BK | 1164 | 5-Volt Reference |
57 | -- | -- | Not Used |
58 | 0.5 D-GN | 335 | Low Speed Cooling Fan Relay Control |
59 | 0.5 BN | 5069 | Main Relay Control |
60-63 | -- | -- | Not Used |
64 | 0.5 OG/WH | 3223 | HO2S Heater Low Control (Bank 2 Sensor 2) |
65 | 0.5 BN | 2391 | HO2S Heater Low Control (Bank 1 Sensor 2) |
66-67 | -- | -- | Not Used |
68 | 0.5 BN/WH | 419 | MIL Control |
69 | 0.5 PU | 1670 | HO2S High Signal (Bank 2 Sensor 2) |
70 | 0.5 L-BU | 1937 | Fuel Level Sensor Signal (Secondary) |
71-72 | -- | -- | Not Used |
73 | 2 BK | 450 | Ground |
Connector Part Information
|
Terminal Part Information
|
Pin | Wire Color | Circuit No. | Function |
|---|---|---|---|
1 | -- | -- | Not Used |
2 | 0.5 L-GN | 1867 | 5-Volt Reference |
3 | 0.5 GY | 2701 | 5-Volt Reference |
4 | -- | -- | Not Used |
5 | 0.75 BN | 582 | TAC Motor Control - 2 |
6 | 0.75 YE | 581 | TAC Motor Control - 1 |
7 | -- | -- | Not Used |
8 | 0.75 D-GN/WH | 428 | EVAP Canister Purge Solenoid Control |
9-10 | -- | -- | Not Used |
11 | 0.75 L-GN | 5494 | Reverse Lockout Solenoid Control |
12 | 0.5 GY/WH | 3113 | HO2S Heater Low Control (Bank 1 Sensor 1) |
13 | 0.5 L-GN | 3212 | HO2S Heater Low Control (Bank 2 Sensor 1) |
14-16 | -- | -- | Not Used |
17 | 0.75 D-BU/WH | 878 | Fuel Injector 8 Control |
18 | 0.75 BN/WH | 845 | Fuel Injector 5 Control |
19 | 0.75 YE/BK | 846 | Fuel Injector 6 Control |
20 | 0.75 BN/BK | 1744 | Fuel Injector 1 Control |
21 | 0.5 YE/GN | 410 | ECT Sensor Signal |
22 | 0.5 BN/WH | 2761 | Low Reference |
23 | 0.5 D-GN/YE | 357 | Oil Temperature Sensor Signal |
24 | 0.5 BN/RD | 470 | Low Reference |
25 | -- | -- | Not Used |
26 | 0.5 D-BU | 496 | Knock Sensor 1 Signal |
27 | 0.5 GY | 1716 | Low Reference Knock Sensor Signal Return |
28 | -- | -- | Not Used |
29 | 0.5 L-BU | 1876 | Knock Sensor 2 Signal |
30 | 0.5 TN | 407 | Low Reference |
31 | -- | -- | Not Used |
32 | 0.5 PU/WH | 23 | Generator Field Duty Cycle Signal |
33 | 0.5 BN | 1174 | Oil Level Switch Signal |
34 | 0.5 BK | 2755 | Low Reference |
35 | 0.5 BN/BK | 2752 | Low Reference |
36 | -- | -- | Not Used |
37 | 0.75 L-GN/BK | 1745 | Fuel Injector 2 Control |
38 | 0.75 PK/BK | 1746 | Fuel Injector 3 Control |
39 | 0.75 L-BU/BK | 844 | Fuel Injector 4 Control |
40 | 0.75 OG/BK | 877 | Fuel Injector 7 Control |
41 | 0.5 GY | 2705 | 5-Volt Reference |
42 | -- | -- | Not Used |
43 | 0.5 GY | 2704 | 5-Volt Reference |
44 | 0.5 OG | 631 | 5-Volt Reference |
45-49 | -- | -- | Not Used |
50 | 0.5 BN/WH | 331 | Oil Pressure Sensor Signal |
51-52 | -- | -- | Not Used |
53 | 0.5 OG/BK | 469 | Low Reference |
54-55 | -- | -- | Not Used |
56 | 0.5 BN/YE | 1664 | HO2S Low Signal (Bank 1 Sensor 1) |
57 | 0.5 PU/WH | 1665 | HO2S High Signal (Bank 1 Sensor 1) |
58 | 0.5 L-GN | 432 | MAP Sensor Signal |
59 | 0.5 PU | 1666 | HO2S High Signal (Bank 2 Sensor 1) |
60 | 0.5 BN/RD | 1667 | HO2S Low Signal (Bank 2 Sensor 1) |
61 | 0.5 OG/WH | 225 | Generator Turn On Signal |
62 | -- | -- | Not Used |
63 | 0.5 PU | 486 | TP Sensor 2 Signal |
64 | 0.5 BN/WH | 633 | CMP Sensor Signal |
65 | 0.5 D-GN | 485 | TP Sensor 1 Signal |
66 | 0.5 PK/BK | 632 | Low Reference |
67 | -- | -- | Not Used |
68 | 0.5 D-BU/WH | 1869 | CKP Sensor Signal |
69 | 0.5 YE/BK | 1868 | Low Reference |
70 | 0.5 PU | 2121 | IC 1 Control |
71 | 0.5 PU/WH | 2128 | IC 8 Control |
72 | 0.5 OG | 2127 | IC 7 Control |
73 | 0.5 OG/WH | 2122 | IC 2 Control |
74 | 0.5 L-BU/WH | 2126 | IC 6 Control |
75 | 0.5 D-GN/RD | 2125 | IC 5 Control |
76 | 0.5 D-GN/WH | 2124 | IC 4 Control |
77 | 0.5 L-BU | 2123 | IC 3 Control |
78 | 0.5 BN | 2129 | Low Reference |
79 | 0.5 BN/WH | 2130 | Low Reference |
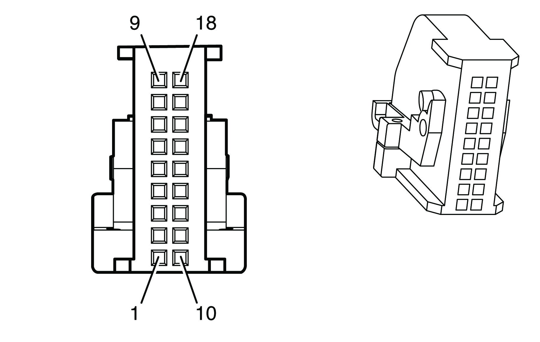
80 | -- | -- | Not Used |
Connector Part Information
|
Terminal Part Information
|
Pin | Wire Color | Circuit No. | Function |
|---|---|---|---|
1 | 0.75 L-GN | 5282 | Cam Phaser Exhaust 1 Signal |
2 | 0.75 PU | 5284 | Cam Phaser Intake 1 Signal |
3 | -- | -- | Not Used |
4 | 0.75 YE/BK | 846 | Fuel Injector 6 Control |
5 | 0.75 D-GN/WH | 428 | EVAP Canister Purge Solenoid Control |
6 | -- | -- | Not Used |
7 | 0.5 OG/BU | 5275 | Intake 1 Cam Position Sensor Signal |
8 | -- | -- | Not Used |
9 | 0.5 PU | 5274 | Exhaust 2 Cam Position Sensor Signal |
10 | 0.5 OG/WH | 225 | Generator Turn On Signal |
11 | 0.5 BN | 1174 | Oil Level Switch Signal |
12 | 0.75 L-BU/WH | VIM PWM Signal | |
13 | 0.5 PK | 6414 | Low Reference |
14 | -- | -- | Not Used |
15 | 0.75 GY | 705 | 5-Volt Reference |
16-23 | -- | -- | Not Used |
24 | 0.75 YE | 581 | TAC Motor Control - 1 |
25 | 0.75 WH/BK | 5283 | Cam Phaser Exhaust 2 Signal |
26 | 0.75 PK/BK | 1746 | Fuel Injector 3 Control |
27 | -- | -- | Not Used |
28 | 0.75 BN/WH | 845 | Fuel Injector 5 Control |
29 | -- | -- | Not Used |
30 | 0.5 PU/WH | 23 | Generator Field Duty Cycle Signal |
31-32 | -- | -- | Not Used |
33 | 0.5 YE/RD | 5276 | Intake 2 Cam Position Sensor Signal |
34 | 0.5 D-GN | 5273 | Exhaust 1 Cam Position Sensor Signal |
35 | 0.5 YE/BU | 573 | CKP Sensor 1 Signal |
36-38 | -- | -- | Not Used |
39 | 0.5 GY | 2701 | 5-Volt Reference |
40 | 0.5 GY | 596 | 5-Volt Reference |
41 | 0.75 PK/BK | 632 | Low Reference |
42 | -- | -- | Not Used |
43 | 0.5 BN/RD | 470 | Low Reference |
44 | 0.5 BK | 2755 | Low Reference |
45 | 0.5 PU/WH | 605 | 5-Volt Reference |
46 | 0.5 PU | 574 | Low Reference |
47 | -- | -- | Not Used |
48 | 0.75 BN | 582 | TAC Motor Control - 2 |
49 | 0.75 OG/BK | 5272 | Cam Phaser Intake 2 Signal |
50 | 0.75 L-BU/BK | 844 | Fuel Injector 4 Control |
51 | 0.75 BN/BK | 1744 | Fuel Injector 1 Control |
52 | 0.75 L-GN/BK | 1745 | Fuel Injector 2 Control |
53-54 | -- | -- | Not Used |
55 | 0.5 PU | 2121 | IC 1 Control |
56 | 0.5 L-BU | 2123 | IC 3 Control |
57 | 0.5 D-GN/RD | 2125 | IC 5 Control |
58 | -- | -- | Not Used |
59 | 0.5 D-BU | 496 | Knock Sensor 1 Signal |
60 | 0.5 BN | 407 | Low Reference |
61 | 0.5 BN/WH | 331 | Oil Pressure Sensor Signal |
62-66 | -- | -- | Not Used |
67 | 0.5 BN/YE | 1664 | HO2S Low Signal (Bank 1 Sensor 1) |
68 | 0.5 WH | HO2S Output Pump Current (Bank 1 Sensor 1) | |
69 | 0.5 OG | HO2S Input Pump Current (Bank 2 Sensor 1) | |
70 | 0.5 PU | 1666 | HO2S High Signal (Bank 2 Sensor 1) |
71 | -- | -- | Not Used |
72 | 0.75 L-GN | 3212 | HO2S Low Signal (Bank 2 Sensor 1) |
73-77 | -- | -- | Not Used |
78 | 0.5 PU | 6413 | Low Reference |
79 | 0.5 OG/WH | 2122 | IC 2 Control |
80 | 0.5 D-GN/WH | 2124 | IC 4 Control |
81 | 0.5 L-BU/WH | 2126 | IC 6 Control |
82 | 0.5 YE/GN | 410 | ECT Sensor Signal |
83 | 0.5 GY | 1716 | Low Reference |
84 | 0.5 L-BU | 1876 | Knock Sensor 2 Signal |
85 | 0.5 D-GN/YE | 357 | Oil Temperature Sensor Signal |
86-87 | -- | -- | Not Used |
88 | 0.5 BN/BK | 2752 | Low Reference |
89 | 0.5 PU | 486 | TP Sensor 2 Signal |
90 | 0.5 D-GN | 485 | TP Sensor 1 Signal |
91 | 0.5 L-GN | HO2S Input Pump Current (Bank 1 Sensor 1) | |
92 | 0.5 PU/WH | 1665 | HO2S High Signal (Bank 1 Sensor 1) |
93 | 0.5 BN/RD | 1667 | HO2S Low Signal (Bank 2 Sensor 1) |
94 | 0.5 PU/WH | HO2S Output Pump Current (Bank 2 Sensor 1) | |
95 | -- | -- | Not Used |
96 | 0.75 GY/WH | 3113 | HO2S Heater Low Control (Bank 1 Sensor 1) |
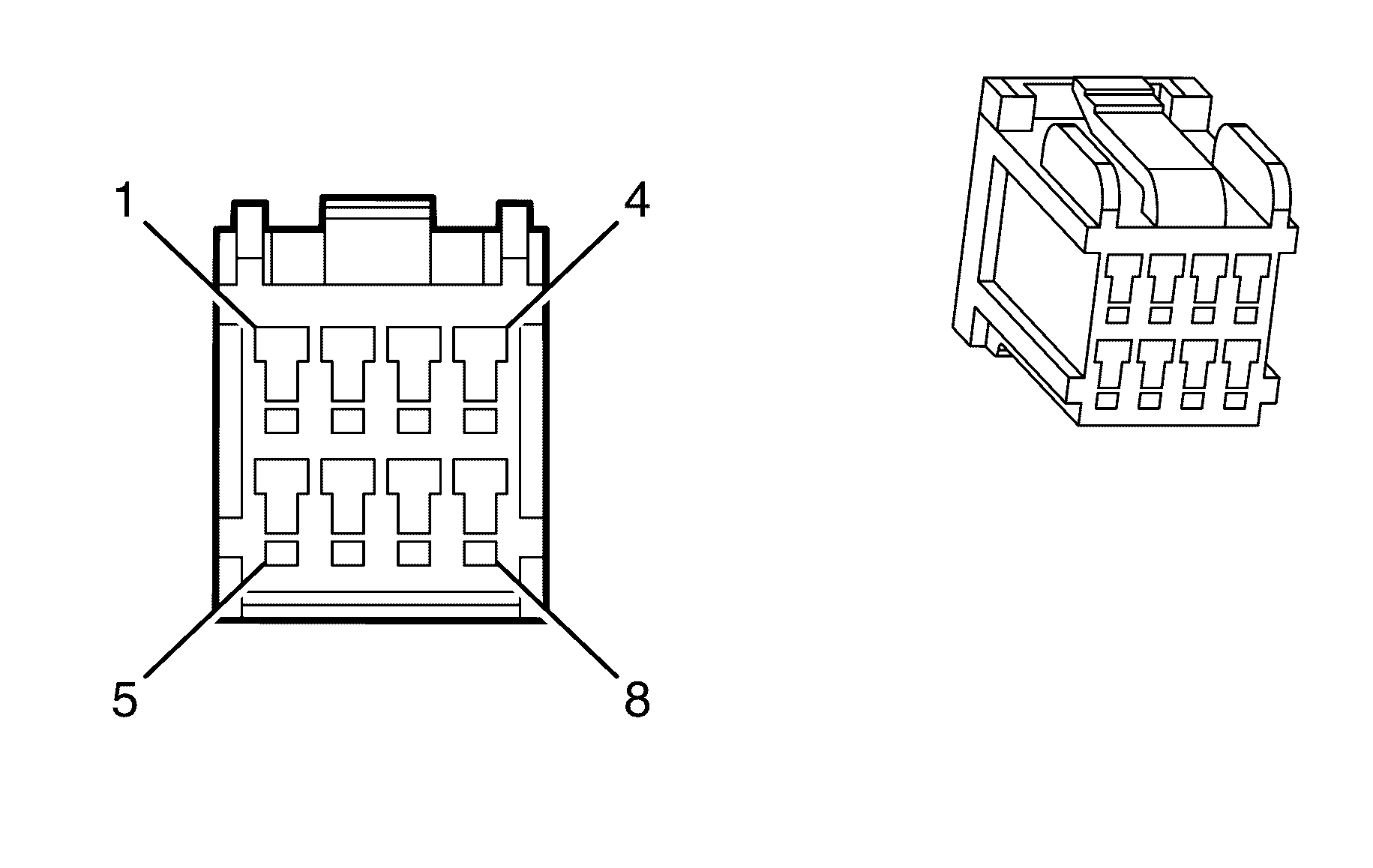
Connector Part Information
|
Terminal Part Information
|
Pin | Wire Color | Circuit No. | Function |
|---|---|---|---|
1 | 0.5 BK | 450 | Ground |
2 | 0.5 BK | 450 | Ground |
3 | 0.75 PK/BU | 5290 | Ignition 1 Voltage |
4 | 0.5 BK | 450 | Ground |
5 | 0.75 PK/BK | 5290 | Ignition 1 Voltage |
6 | 0.75 PK/BU | 5290 | Ignition 1 Voltage |
7 | 0.75 GY/WH | 3122 | HO2S Heater Low Control (Bank 1 Sensor 2) |
8 | -- | -- | Not Used |
9 | 0.5 BN/YE | 452 | Low Reference |
10 | 0.5 D-GN/WH | 465 | Fuel Pump Relay Control (Primary) |
11 | 0.5 BN/GN | 2759 | Low Reference |
12 | -- | -- | Not Used |
13 | 0.5 YE | 492 | MAF Sensor Signal |
14 | -- | -- | Not Used |
15 | 0.5 D-BU/WH | 1161 | APP Sensor 1 Signal |
16 | 0.5 BN/WH | CPP Switch Signal | |
17 | 0.5 D-GN | Park/Neutral/Clutch Safety Switch Signal | |
18 | 0.5 L-GN | Backup Lamp Switch Signal | |
19 | -- | -- | Not Used |
20 | 0.75 OG/WH | 3223 | HO2S Heater Low Control (Bank 2 Sensor 2) |
21 | 0.5 BN/WH | 419 | MIL Control |
22 | 0.5 BN/WH | 2760 | Low Reference |
23 | 0.5 BN/GN | 3121 | HO2S Low Signal (Bank 1 Sensor 2) |
24 | 0.5 BN/RD | 3221 | HO2S Low Signal (Bank 2 Sensor 2) |
25 | 0.5 L-BU | 1162 | APP Sensor 2 Signal |
26 | 0.5 L-BU | 1937 | Fuel Level Sensor Signal (1) |
27-33 | -- | -- | Not Used |
34 | 0.5 BN | 1271 | Low Reference |
35 | 0.5 GY | 2709 | 5-Volt Reference |
36 | 0.5 PU | 1589 | Fuel Level Sensor Signal (2) |
37 | -- | -- | Not Used |
38 | 0.5 PU | 3120 | HO2S High Signal (Bank 1 Sensor 2) |
39 | 0.5 OG/BK | 380 | A/C Refrigerant Pressure Sensor Signal |
40 | -- | -- | Not Used |
41 | 0.5 D-BU | 5985 | Accessory Wakeup Serial Data |
42 | 0.5 BN/BK | 9000 | High Speed GMLAN Serial Data Bus+ |
43-44 | -- | -- | Not Used |
45 | 0.5 D-BU/BK | 473 | High Speed Cooling Fan Relay Control |
46 | 0.5 D-GN | 335 | Low Speed Cooling Fan Relay Control |
47 | 0.5 PU | 1272 | Low Reference |
48 | 0.5 BN/YE | 1274 | 5-Volt Reference |
49 | 0.5 WH/BK | 1164 | 5-Volt Reference |
50 | 0.5 BN/RD | 472 | IAT Sensor Signal |
51 | 0.5 PU | 3220 | HO2S High Signal (Bank 2 Sensor 2) |
52 | 0.5 WH/BU | 17 | Stop Lamp Switch Signal |
53 | -- | -- | Not Used |
54 | 0.5 PK | 439 | Ignition 1 Voltage |
55 | 0.5 BN | 9001 | High Speed GMLAN Serial Data Bus- |
56 | 0.75 OG/BK | 540 | Battery Positive Voltage |
57 | 0.5 YE | 447 | Starter Relay Coil Control |
58 | 0.5 BN | 5069 | Main Relay Control |
Connector Part Information
|
Terminal Part Information
|
Pin | Wire Color | Circuit No. | Function |
|---|---|---|---|
A | 0.5 BN/WH | 2761 | Low Reference |
B | 0.5 YE/GN | 410 | ECT Sensor Signal |
Connector Part Information
|
Terminal Part Information
|
Pin | Wire Color | Circuit No. | Function |
|---|---|---|---|
1 | 0.5 YE/GN | 410 | ECT Sensor Signal |
2 | 0.5 BK | 2755 | Low Reference |
Connector Part Information
|
Terminal Part Information
|
Pin | Wire Color | Circuit No. | Function |
|---|---|---|---|
A | 3 BK | 250 | Ground |
B | 3 D-BU | 409 | Left Cooling Fan Motor Supply Voltage |
Connector Part Information
|
Terminal Part Information
|
Pin | Wire Color | Circuit No. | Function |
|---|---|---|---|
A | 3 GY | 532 | Right Cooling Fan Motor Low Reference |
B | 3 WH | 504 | Right Cooling Fan Motor Supply Voltage |
Connector Part Information
|
Terminal Part Information
|
Pin | Wire Color | Circuit No. | Function |
|---|---|---|---|
A | 0.5 BN | 1174 | Oil Level Switch Signal |
B | 0.5 D-GN/YE | 357 | Oil Temperature Sensor Signal (L98 or LY7) |
0.5 YE | 357 | Oil Temperature Sensor Signal (HSV) | |
C | 0.5 BN/RD | 470 | Low Reference (L98 or HSV) |
0.5 BK | 2755 | Low Reference (LY7) |
Connector Part Information
|
Terminal Part Information
|
Pin | Wire Color | Circuit No. | Function |
|---|---|---|---|
1 | 0.5 BK | 2755 | Low Reference (L98 or HSV) |
0.5 BN/RD | 470 | Low Reference (LY7) | |
2 | 0.5 GY | 2705 | 5-Volt Reference (L98 or HSV) |
0.5 GY | 596 | 5-Volt Reference (LY7) | |
3 | 0.5 BN/WH | 331 | Oil Pressure Sensor Signal (L98 or HSV) |
0.5 BN/WH | 331 | Oil Pressure Sensor Signal (LY7) |
Connector Part Information
|
Terminal Part Information
|
Pin | Wire Color | Circuit No. | Function |
|---|---|---|---|
A | 0.75 PK/BU | 5293 | Ignition 1 Voltage |
B | 0.75 D-GN/WH | 428 | EVAP Canister Purge Solenoid Control |
Connector Part Information
|
Terminal Part Information
|
Pin | Wire Color | Circuit No. | Function |
|---|---|---|---|
1 | 0.75 PK/BU | 5293 | Ignition 1 Voltage |
2 | 0.75 D-GN/WH | 428 | EVAP Canister Purge Solenoid Control |
Connector Part Information
|
Terminal Part Information
|
Pin | Wire Color | Circuit No. | Function |
|---|---|---|---|
A | 0.5 OG | 3140 | Battery Positive Voltage |
B | 0.5 WH | 1310 | EVAP Canister Vent Solenoid Control |
Connector Part Information
|
Terminal Part Information
|
Pin | Wire Color | Circuit No. | Function |
|---|---|---|---|
A | 0.75 PU | 34 | Fog Lamps Supply Voltage |
B | 0.75 BK | 350 | Ground |
Connector Part Information
|
Terminal Part Information
|
Pin | Wire Color | Circuit No. | Function |
|---|---|---|---|
1 | 0.5 OG | 122 | Rear Fog Lamp Supply Voltage |
2 | 0.5 BK | 1850 | Ground |
Connector Part Information
|
Terminal Part Information
|
Pin | Wire Color | Circuit No. | Function |
|---|---|---|---|
A | 0.75 PU | 34 | Fog Lamps Supply Voltage |
B | 0.75 BK | 350 | Ground |
Connector Part Information
|
Terminal Part Information
|
Pin | Wire Color | Circuit No. | Function |
|---|---|---|---|
1 | 0.85 OG/PU | 2140 | Battery Positive Voltage |
2 | 0.3 YE | 5247 | Object Detection Alarm Signal A |
3 | 0.3 BN | 5852 | Instrument Panel Lamp Supply Voltage |
4 | -- | -- | Not Used |
5 | 0.3 GY | 5248 | Object Detection Alarm Signal B |
6 | 0.35 D-GN | 5060 | Low Speed GMLAN Serial Data |
7 | 0.5 BK | 1850 | Ground |
8 | 0.3 GY | 2555 | Object Detection Disable Signal |
9-12 | -- | -- | Not Used |
Connector Part Information
|
Terminal Part Information
|
Pin | Wire Color | Circuit No. | Function |
|---|---|---|---|
1 | 0.3 PU | 2378 | RR Corner Object Sensor Signal |
2 | 0.3 D-GN | 2377 | RR Middle Object Sensor Signal |
3 | 0.3 OG | 2376 | LR Middle Object Sensor Signal |
4 | 0.3 D-BU | 2374 | Object Sensor Supply Voltage |
5 | 0.3 YE | 2375 | LR Corner Object Sensor Signal |
6-7 | -- | -- | Not Used |
8 | 0.3 GY | 2379 | Object Sensor Low Reference |
Connector Part Information
|
Terminal Part Information
|
Pin | Wire Color | Circuit No. | Function |
|---|---|---|---|
1 | 0.3 BN | 6581 | Object Sensor Supply Voltage |
2-3 | -- | -- | Not Used |
4 | 0.3 PU/WH | 5215 | LF Corner Object Sensor Signal |
5 | 0.3 WH | 5216 | LF Middle Object Sensor Signal |
6-7 | -- | -- | Not Used |
8 | 0.3 OG/BK | 5214 | Object Sensor Low Reference |
9 | -- | -- | Not Used |
10 | 0.3 WH | 5218 | RF Middle Object Sensor Signal |
11 | 0.3 BN/WH | 5217 | RF Corner Object Sensor Signal |
12-14 | -- | -- | Not Used |
Connector Part Information
|
Terminal Part Information
|
Pin | Wire Color | Circuit No. | Function |
|---|---|---|---|
1 | 0.3 YE | 5247 | Object Detection Alarm Signal A |
2 | 0.3 GY | 5248 | Object Detection Alarm Signal B |
Connector Part Information
|
Terminal Part Information
|
Pin | Wire Color | Circuit No. | Function |
|---|---|---|---|
1 | 1.25 D-GN/WH | 295 | Door Lock Actuator Lock Control |
2 | 1.25 BN/RD | 694 | Driver Door Lock Actuator Unlock Control |
Connector Part Information
|
Terminal Part Information
|
Pin | Wire Color | Circuit No. | Function |
|---|---|---|---|
A | 0.8 PK/BU | 5291 | Ignition 1 Voltage |
B | 0.5 BN/BK | 1744 | Fuel Injector 1 Control |
Connector Part Information
|
Terminal Part Information
|
Pin | Wire Color | Circuit No. | Function |
|---|---|---|---|
A | 0.75 PK/BU | 5291 | Ignition 1 Voltage |
B | 0.75 BN/BK | 1744 | Fuel Injector 1 Control |
Connector Part Information
|
Terminal Part Information
|
Pin | Wire Color | Circuit No. | Function |
|---|---|---|---|
A | 0.8 PK | 5292 | Ignition 1 Voltage |
B | 0.8 L-GN/BK | 1745 | Fuel Injector 2 Control |
Connector Part Information
|
Terminal Part Information
|
Pin | Wire Color | Circuit No. | Function |
|---|---|---|---|
A | 0.75 PK | 5292 | Ignition 1 Voltage |
B | 0.75 L-GN/BK | 1745 | Fuel Injector 2 Control |
Connector Part Information
|
Terminal Part Information
|
Pin | Wire Color | Circuit No. | Function |
|---|---|---|---|
A | 0.8 PK/BU | 5291 | Ignition 1 Voltage |
B | 0.8 PK/BK | 1746 | Fuel Injector 3 Control |
Connector Part Information
|
Terminal Part Information
|
Pin | Wire Color | Circuit No. | Function |
|---|---|---|---|
A | 0.75 PK/BU | 5291 | Ignition 1 Voltage |
B | 0.75 PK/BK | 1746 | Fuel Injector 3 Control |
Connector Part Information
|
Terminal Part Information
|
Pin | Wire Color | Circuit No. | Function |
|---|---|---|---|
A | 0.8 PK | 5292 | Ignition 1 Voltage |
B | 0.8 L-BU/BK | 844 | Fuel Injector 4 Control |
Connector Part Information
|
Terminal Part Information
|
Pin | Wire Color | Circuit No. | Function |
|---|---|---|---|
A | 0.75 PK | 5292 | Ignition 1 Voltage |
B | 0.75 L-BU/BK | 844 | Fuel Injector 4 Control |
Connector Part Information
|
Terminal Part Information
|
Pin | Wire Color | Circuit No. | Function |
|---|---|---|---|
A | 0.8 PK/BU | 5291 | Ignition 1 Voltage |
B | 0.8 BN/WH | 845 | Fuel Injector 5 Control |
Connector Part Information
|
Terminal Part Information
|
Pin | Wire Color | Circuit No. | Function |
|---|---|---|---|
A | 0.75 PK/BU | 5291 | Ignition 1 Voltage |
B | 0.75 BN/WH | 845 | Fuel Injector 5 Control |
Connector Part Information
|
Terminal Part Information
|
Pin | Wire Color | Circuit No. | Function |
|---|---|---|---|
A | 0.8 PK | 5292 | Ignition 1 Voltage |
B | 0.8 YE/BK | 846 | Fuel Injector 6 Control |
Connector Part Information
|
Terminal Part Information
|
Pin | Wire Color | Circuit No. | Function |
|---|---|---|---|
A | 0.75 PK | 5292 | Ignition 1 Voltage |
B | 0.75 YE/BK | 846 | Fuel Injector 6 Control |
Connector Part Information
|
Terminal Part Information
|
Pin | Wire Color | Circuit No. | Function |
|---|---|---|---|
A | 0.75 PK/BU | 5291 | Ignition 1 Voltage |
B | 0.75 OG/BK | 877 | Fuel Injector 7 Control |
Connector Part Information
|
Terminal Part Information
|
Pin | Wire Color | Circuit No. | Function |
|---|---|---|---|
A | 0.75 PK | 5292 | Ignition 1 Voltage |
B | 0.75 D-BU/WH | 878 | Fuel Injector 8 Control |
Connector Part Information
|
Terminal Part Information
|
Pin | Wire Color | Circuit No. | Function |
|---|---|---|---|
1 | 0.3 BN/YE | 452 | Fuel Return |
2 | 0.5 L-BU | 1937 | Fuel Level |
3-5 | -- | -- | Not Used |
Connector Part Information
|
Terminal Part Information
|
Pin | Wire Color | Circuit No. | Function |
|---|---|---|---|
A | 0.5 D-GN | 890 | Fuel Tank Pressure Sensor Signal |
B | 0.5 BN/YE | 452 | Low Reference |
C | 0.5 GY | 2709 | 5-Volt Reference |
Connector Part Information
|
Terminal Part Information
|
Pin | Wire Color | Circuit No. | Function |
|---|---|---|---|
1 | 2 GY | 120 | Fuel Pump Supply Voltage |
2 | 0.5 PU | 1589 | Fuel Level Sensor Signal (Primary) |
3 | 2 BK | 1350 | Ground |
4 | 0.5 BN/YE | 452 | Low Reference |
5 | -- | -- | Not Used |
Connector Part Information
|
Terminal Part Information
|
Pin | Wire Color | Circuit No. | Function |
|---|---|---|---|
1 | 0.5 OG/WH | 225 | Generator Turn On Signal |
2 | 0.5 PU/WH | 23 | Generator Field Duty Cycle Signal |
Connector Part Information
|
Terminal Part Information
|
Pin | Wire Color | Circuit No. | Function |
|---|---|---|---|
1 | 0.5 OG/WH | 225 | Generator Turn On Signal |
2 | 0.5 PU/WH | 23 | Generator Field Duty Cycle Signal |
Terminal Part Information
|
Pin | Wire Color | Circuit No. | Function |
|---|---|---|---|
+ | 19 RD | 2 | Battery Positive Voltage |
19 RD | 2 | Battery Positive Voltage |
Connector Part Information
|
Terminal Part Information
|
Pin | Wire Color | Circuit No. | Function |
|---|---|---|---|
1 | 0.3 WH | 103 | Headlamp Switch Headlamps On Signal |
2 | -- | -- | Not Used |
3 | 0.3 D-GN | 306 | Headlamp Switch Headlamps Off Signal |
4 | 0.3 BK | 850 | Ground |
5 | 0.3 BN/WH | 301 | Park Lamp Switch On Signal |
6 | 0.3 OG | 192 | Front Fog Lamp Switch Signal |
7 | 0.3 GY/WH | 7389 | Headlamp Dimming Switch Down |
8 | 0.3 YE | 6817 | Interior Lights Dimming Switch |
9 | -- | -- | Not Used |
10 | 0.5 PK/BU | 1339 | Ignition 1 Voltage |
11 | -- | -- | Not Used |
12 | 0.3 GY/BU | 7388 | Headlamp Dimming Switch Up |
Connector Part Information
|
Terminal Part Information
|
Pin | Wire Color | Circuit No. | Function |
|---|---|---|---|
1 | 0.5 BK | 250 | Ground (-TT7-TT8) |
1.25 BK | 250 | Ground (TT7/TT8) | |
2 | 2 BK | 350 | Ground |
3 | 0.5 BK | 250 | Ground |
4-5 | -- | -- | Not Used |
6 | 0.5 PU | 709 | Left Park Lamp Supply Voltage |
7 | 0.5 YE | 712 | Left Headlamp Low Beam Supply Voltage (-TT7-TT8) |
1.25 YE | 712 | Left Headlamp Low Beam Supply Voltage (TT7/TT8) | |
8 | 0.5 D-GN/WH | 711 | Left Headlamp High Beam Supply Voltage |
9 | 0.5 L-BU/WH | 1314 | Left Front Turn Signal Lamp Supply Voltage |
10 | -- | -- | Not Used |
Connector Part Information
|
Terminal Part Information
|
Pin | Wire Color | Circuit No. | Function |
|---|---|---|---|
1 | 0.5 BK | 250 | Ground (-TT7-TT8) |
1.25 BK | 250 | Ground (TT7/TT8) | |
2 | 2 BK | 350 | Ground |
3 | 0.5 BK | 250 | Ground |
4-5 | -- | -- | Not Used |
6 | 0.5 BN/WH | 309 | Right Park Lamp Supply Voltage |
7 | 0.5 BN/BK | 312 | Right Headlamp Low Beam Supply Voltage (-TT7-TT8) |
1.25 BN/WH | 312 | Right Headlamp Low Beam Supply Voltage (TT7/TT8) | |
8 | 0.5 L-GN/WH | 311 | Right Headlamp High Beam Supply Voltage |
9 | 0.5 D-BU/WH | 1315 | Right Front Turn Signal Lamp Supply Voltage |
10 | -- | -- | Not Used |
Connector Part Information
|
Terminal Part Information
|
Pin | Wire Color | Circuit No. | Function |
|---|---|---|---|
1 | 2 BN/WH | 6724 | Headlamp Washer Fluid Pump |
2 | 0.85 BK | 250 | Ground |
Connector Part Information
|
Terminal Part Information
|
Pin | Wire Color | Circuit No. | Function |
|---|---|---|---|
1 | 0.5 WH | HO2S Output Pump Current (Bank 1 Sensor 1) | |
2 | 0.5 BN/YE | HO2S Low Signal (Bank 1 Sensor 1) | |
3 | 0.75 GY/WH | HO2S Heater Low Control (Bank 1 Sensor 1) | |
4 | 0.75 PK/BU | Ignition 1 Voltage | |
5 | 0.5 L-GN | HO2S Input Pump Current (Bank 1 Sensor 1) | |
6 | 0.5 PU/WH | HO2S High Signal (Bank 1 Sensor 1) |
Connector Part Information
|
Terminal Part Information
|
Pin | Wire Color | Circuit No. | Function |
|---|---|---|---|
A | 0.5 BN/RD | 1664 | HO2S Low Signal [- Bank 1 Sensor 1] |
B | 0.5 PU/WH | 1665 | HO2S High Signal [- Bank 1 Sensor 1] |
C | 0.5 GY/WH | 3113 | HO2S Heater Low Control [- Bank 1 Sensor 1] |
D | 0.8 PK/BK | 5293 | Ignition 1 Voltage |
Connector Part Information
|
Terminal Part Information
|
Pin | Wire Color | Circuit No. | Function |
|---|---|---|---|
1 | 0.75 PK/BU | 5294 | Ignition 1 Voltage |
2 | 0.75 OG/WH | 3122 | HO2S Heater Low Control (Bank 1 Sensor 2) |
3 | 0.5 BN/RD | 3121 | HO2S Low Signal (Bank 1 Sensor 2) |
4 | 0.5 PU | 3120 | HO2S High Signal (Bank 1 Sensor 2) |
Connector Part Information
|
Terminal Part Information
|
Pin | Wire Color | Circuit No. | Function |
|---|---|---|---|
A | 0.5 BN/WH | 1669 | HO2S Low Signal [- Bank 1 Sensor 2] |
B | 0.5 PU/WH | 1668 | HO2S High Signal [- Bank 1 Sensor 2] |
C | 0.5 BN | 2391 | HO2S Heater Low Control [- Bank 1 Sensor 2] |
D | 0.78 PK/BU | 5294 | Ignition 1 Voltage |
Connector Part Information
|
Terminal Part Information
|
Pin | Wire Color | Circuit No. | Function |
|---|---|---|---|
1 | 0.5 PU/WH | HO2S Pump Output Current (Bank 2 Sensor 1) | |
2 | 0.5 BN/RD | HO2S Low Signal (Bank 2 Sensor 1) | |
3 | 0.75 L-GN | HO2S Heater Low Control (Bank 2 Sensor 1) | |
4 | 0.75 PK/BU | Battery 1 Voltage | |
5 | 0.5 OG | HO2S Input Pump Current (Bank 2 Sensor 1) | |
6 | 0.5 PU | HO2S High Signal (Bank 2 Sensor 1) |
Connector Part Information
|
Terminal Part Information
|
Pin | Wire Color | Circuit No. | Function |
|---|---|---|---|
A | 0.5 BN/RD | 1667 | HO2S Low Signal [- Bank 2 Sensor 1] |
B | 0.5 PU | 1666 | HO2S High Signal [- Bank 2 Sensor 1] |
C | 0.5 L-GN | 3212 | HO2S Heater Low Control [- Bank 2 Sensor 1] |
D | 0.8 PK/BU | 5293 | Ignition 1 Voltage |
Connector Part Information
|
Terminal Part Information
|
Pin | Wire Color | Circuit No. | Function |
|---|---|---|---|
1 | 0.75 PK/BU | 5294 | Battery 1 Voltage |
2 | 0.75 GY/WH | 3223 | HO2S Heater Low Control (Bank 2 Sensor 2) |
3 | 0.5 BN/GN | 3221 | HO2S Low Signal (Bank 2 Sensor 2) |
4 | 0.5 PU | 3220 | HO2S High Signal (Bank 2 Sensor 2) |
Connector Part Information
|
Terminal Part Information
|
Pin | Wire Color | Circuit No. | Function |
|---|---|---|---|
A | 0.5 BN/WH | 1671 | HO2S Low Signal [- Bank 2 Sensor 2] |
B | 0.5 PU | 1670 | HO2S High Signal [- Bank 2 Sensor 2] |
C | 0.5 OG/WH | 3223 | HO2S Heater Low Control (Bank 2 Sensor 2) |
D | 0.78 PK/BU | 5294 | Ignition 1 Voltage |
Connector Part Information
|
Terminal Part Information
|
Pin | Wire Color | Circuit No. | Function |
|---|---|---|---|
1 | -- | -- | Not Used |
2 | 0.5 RD/YE | 2050 | Low Reference |
3 | 0.5 PK | 1339 | Ignition 1 Voltage |
4 | PU/GN | -- | Low Reference |
5 | 0.35 BN | 1661 | Driver Heated Seat High Temperature Indicator Control |
6 | 0.35 OG/BK | 6177 | Passenger Heated Seat Intermediate Signal |
7 | -- | -- | Not Used |
8 | 0.5 D-GN/RD | 2077 | Heated Seat Cushion Element Supply Voltage |
9 | 0.35 PK/OG | 1501 | Driver Heated Seat High/Low Signal |
10 | -- | -- | Not Used |
11 | 0.35 WH/YE | 1662 | Driver Heated Seat Low Temperature Indicator Control |
12 | 0.35 WH/BK | 2079 | Heated Seat Cushion Temperature Sensor Signal |
Connector Part Information
|
Terminal Part Information
|
Pin | Wire Color | Circuit No. | Function |
|---|---|---|---|
1 | -- | -- | Not Used |
2 | 0.5 RD/YE | 2050 | Low Reference |
3 | 0.5 PK | 1339 | Ignition 1 Voltage |
4 | PU/GN | -- | Low Reference |
5 | 0.35 BN | 1661 | Driver Heated Seat High Temperature Indicator Control |
6 | 0.35 OG/BK | 6177 | Passenger Heated Seat Intermediate Signal |
7 | -- | -- | Not Used |
8 | 0.5 D-GN/RD | 2077 | Heated Seat Cushion Element Supply Voltage |
9 | 0.35 PK/OG | 1501 | Driver Heated Seat High/Low Signal |
10 | -- | -- | Not Used |
11 | 0.35 WH/YE | 1662 | Driver Heated Seat Low Temperature Indicator Control |
12 | 0.35 WH/BK | 2079 | Heated Seat Cushion Temperature Sensor Signal |
Connector Part Information
|
Terminal Part Information
|
Pin | Wire Color | Circuit No. | Function |
|---|---|---|---|
A | 0.3 PK/BK | 109 | Hood Ajar Switch Signal |
B | 0.3 PU | 5531 | Hood Closed Switch Signal |
C | 0.3 BK | 250 | Ground |
|
Terminal Part Information
|
Pin | Wire Color | Circuit No. | Function |
|---|---|---|---|
A | 0.75 D-GN | 1329 | Content Left Horn Control |
|
Terminal Part Information
|
Pin | Wire Color | Circuit No. | Function |
|---|---|---|---|
A | 0.75 BK | 250 | Ground |
|
Terminal Part Information
|
Pin | Wire Color | Circuit No. | Function |
|---|---|---|---|
A | 0.75 D-GN | 1329 | Content Right Horn Control |
|
Terminal Part Information
|
Pin | Wire Color | Circuit No. | Function |
|---|---|---|---|
A | 0.75 BK | 250 | Ground |
Connector Part Information
|
Terminal Part Information
|
Pin | Wire Color | Circuit No. | Function |
|---|---|---|---|
A1 | 0.3 RD/WH | 340 | Battery Positive Voltage |
A2 | 0.3 YE | 6817 | LED Backlight Dimming Control |
0.3 YE | 6817 | LED Backlight Dimming Control | |
A3 | -- | -- | Not Used |
A4 | 0.3 L-GN | 1478 | Coolant Level Switch Signal |
A5 | 0.3 BN | 247 | Medium Blower Motor Control |
A6 | -- | -- | Not Used |
A7 | 0.3 PU/WH | 5203 | Air Quality HC Sensor Signal (K14) |
A8 | 0.3 L-GN/BK | 735 | Outside Ambient Air Temperature Sensor Signal |
A9 | 0.3 GY | 731 | A/C Refrigerant Low Temperature Sensor Signal |
A10 | 0.3 L-BU/BK | 590 | Solar Sensor Driver Signal |
A11 | 0.3 WH | 278 | Ambient Light Sensor Signal |
A12 | 0.3 GY | 705 | 5-Volt Reference |
B1 | 0.3 PK | 1539 | Run/Crank Ignition 1 Voltage |
B2-B4 | -- | -- | Not Used |
B5 | 0.3 D-GN | 5060 | Low Speed GMLAN Serial Data |
B6 | 0.3 GY/BK | 754 | Blower Motor Speed Control |
B7 | 0.3 L-GN/WH | 6845 | Air Quality NOX Sensor Signal (K14) |
B8 | -- | -- | Not Used |
B9 | 0.3 D-GN | 734 | Inside Air Temperature Sensor Signal |
B10 | 0.3 GY | 1548 | Passenger Solar Sensor Signal |
B11 | 0.3 BK/WH | 451 | Ground |
B12 | 0.3 YE | 61 | Outside Ambient Temperature Sensor Low Reference |
Connector Part Information
|
Terminal Part Information
|
Pin | Wire Color | Circuit No. | Function |
|---|---|---|---|
1 | 3 OG | 5987 | HVAC Blower Motor Control Circuit |
2 | 3 BK | 1450 | Ground |
Connector Part Information
|
Terminal Part Information
|
Pin | Wire Color | Circuit No. | Function |
|---|---|---|---|
A1 | 0.3 L-BU | 733 | Air Temperature Door Position Signal |
A2 | 0.3 YE/BK | 1814 | Mode Door Position Signal |
A3 | 0.3 BN | 1838 | Recirculation Door Position Signal |
A4 | 0.3 GY | 2599 | Rear Mode Door Position Signal |
A5 | -- | -- | Not Used |
A6 | 0.3 L-BU | 2776 | Rear Passenger Air Temperature Door Control A |
A7 | 0.3 L-GN/WH | 5729 | Rear Mode Door Control A |
A8 | 0.3 YE | 1791 | Air Temperature Door Control Low Reference |
A9 | 0.3 GY/BK | 2778 | Passenger Air Temperature Motor Control |
A10 | 0.3 YE | 1318 | Mode Door Control B |
A11 | 0.3 GY | 5127 | After Boil Coolant Pump Relay Control |
A12 | 0.3 PU | 1648 | Recirculation Door Control A |
B1 | 0.3 D-BU | 1646 | Passenger Air Temperature Door Position Signal |
B2 | -- | -- | Not Used |
B3 | 0.3 D-GN | 2600 | Rear Passenger Air Temperature Door Position Signal |
B4 | 0.3 PU | 73 | Rear Mode Switch Signal (KA6) |
B5 | 0.3 L-BU | 72 | Rear Temperature Switch Signal (KA6) |
B6 | 0.3 BN | 2775 | Rear Passenger Air Temperature Door Control B |
B7 | 0.3 L-GN/BK | 5730 | Rear Mode Door Control B |
B8 | 0.3 D-BU | 1199 | Air Temperature Door Control |
B9 | 0.3 WH/BK | 1236 | Passenger Air Temperature Door Control |
B10 | 0.3 TN | 2273 | Mode Door Control A |
B11 | -- | -- | Not Used |
B12 | 0.3 D-GN | 1614 | Recirculation Door Control B |
Connector Part Information
|
Terminal Part Information
|
Pin | Wire Color | Circuit No. | Function |
|---|---|---|---|
1 | 0.3 BK | 119 | Mode Actuator 1 - Control |
2 | 0.3 BN | 2273 | Mode Actuator 1 - Power |
3 | 0.3 GY | 2275 | Mode Actuator 1 - Feedback |
4 | 0.3 RD | 1199 | Mode Actuator 2 - Feedback |
5 | 0.3 BK/YE | 1646 | Air Mix Actuator - Feedback |
6 | 0.3 WH/RD | 1838 | Recirculation Actuator - Feedback |
7 | 0.35 BK | 732 | Evaporator Temperature Sensor Signal |
8 | 0.35 BK | 731 | Evaporator Temperature Sensor Low Reference |
9 | 0.3 D-BU/BK | 718 | Low Reference |
10 | 0.3 BK/RD | 719 | Low Reference |
11 | 0.3 L-GN | 2210 | Mode Actuator 2 - Power |
12 | 0.3 OG | 1791 | Mode Actuator 2 - Control |
13 | 0.3 WH | 2778 | Air Mix Actuator - Power |
14 | 0.3 YE | 1236 | Air Mix Actuator - Control |
15 | 0.3 WH/BK | 2274 | Recirculation Actuator - Power |
16 | 0.3 WH/BU | 1614 | Recirculation Actuator - Control |
17 | 0.3 D-GN | 474 | 5-Volt Reference |
18 | 0.3 PK | 1236 | 5-Volt Reference |
19 | 0.3 BK/WH | 598 | 5-Volt Reference |
20 | 0.3 WH/GN | 597 | 5-Volt Reference |
21 | 0.3 D-BU | 1791 | Low Reference |
22 | 0.3 L-BU | 720 | Low Reference |
Connector Part Information
|
Terminal Part Information
|
Pin | Wire Color | Circuit No. | Function |
|---|---|---|---|
23 | 0.3 D-BU/WH | 2148 | Dual Zone Air Mix Actuator Power |
24 | 0.3 YE/BK | 2147 | Dual Zone Air Mix Actuator Control |
25 | 0.3 YE/BU | 2178 | Dual Zone Air Mix Actuator Feedback |
26 | 0.3 YE/RD | 2149 | 5-Volt Reference |
27 | -- | -- | Not Used |
28 | 0.3 BN/WH | 476 | Low Reference |
29 | -- | -- | Not Used |
Connector Part Information
|
Terminal Part Information
|
Pin | Wire Color | Circuit No. | Function |
|---|---|---|---|
28 | 0.3 D-GN/BU | 6555 | Mode Actuator Rear Power |
29 | 0.3 D-GN/RD | 6556 | Mode Actuator Rear Control |
30 | 0.3 D-BU/OG | 5516 | Tri-Zone Air Mix Actuator Control |
31 | 0.3 L-GN/RD | 5515 | Tri-Zone Air Mix Actuator Power |
32 | 0.3 D-GN/WH | 6558 | Mode Actuator Rear Feedback |
33 | 0.3 PK/BK | 5517 | Tri-Zone Air Mix Actuator Feedback |
34 | 0.3 D-GN/OG | 6718 | 5-Volt Reference |
35 | 0.3 D-BU/GN | 5518 | 5-Volt Reference |
36 | 0.3 D-GN/YE | 645 | Low Reference |
37 | 0.3 RD/BK | 552 | Low Reference |
Connector Part Information
|
Terminal Part Information
|
Pin | Wire Color | Circuit No. | Function |
|---|---|---|---|
A | 0.75 BK | 2550 | Ground |
B | 0.5 PU | 6413 | Low Reference |
C | 0.5 PU | 2121 | IC 1 Control |
D | 0.75 PK/BU | 5291 | Ignition 1 Voltage |
Connector Part Information
|
Terminal Part Information
|
Pin | Wire Color | Circuit No. | Function |
|---|---|---|---|
A | 0.8 BK | 151 | Ground |
B | 0.5 BN | 2129 | IC 1 Control |
C | 0.5 PU | 2121 | IC 1 Control |
D | 0.8 PK/BK | 39 | Ignition 1 Voltage |
Connector Part Information
|
Terminal Part Information
|
Pin | Wire Color | Circuit No. | Function |
|---|---|---|---|
A | 0.75 BK | 2650 | Ground |
B | 0.5 PK | 6414 | Low Reference |
C | 0.5 OG/WH | 2122 | IC 2 Control |
D | 0.75 PK | 5292 | Ignition 1 Voltage |
Connector Part Information
|
Terminal Part Information
|
Pin | Wire Color | Circuit No. | Function |
|---|---|---|---|
A | 0.8 BK | 151 | Ground |
B | 0.5 BN/WH | 2129 | IC 2 Control |
C | 0.5 OG/WH | 2127 | IC 2 Control |
D | 0.8 PK/BK | 39 | Ignition 1Voltage |
Connector Part Information
|
Terminal Part Information
|
Pin | Wire Color | Circuit No. | Function |
|---|---|---|---|
A | 0.75 BK | 2550 | Ground |
B | 0.5 PU | 6413 | Low Reference |
C | 0.5 L-BU | 2123 | IC 3 Control |
D | 0.75 PK/BU | 5291 | Ignition 1 Voltage |
Connector Part Information
|
Terminal Part Information
|
Pin | Wire Color | Circuit No. | Function |
|---|---|---|---|
A | 0.8 BK | 151 | Ground |
B | 0.5 BN | 2129 | IC 3 Control |
C | 0.5 L-BU | 2123 | IC 3 Control |
D | 0.8 PK/BK | 39 | Ignition 1Voltage |
Connector Part Information
|
Terminal Part Information
|
Pin | Wire Color | Circuit No. | Function |
|---|---|---|---|
A | 0.75 BK | 2650 | Ground |
B | 0.5 PK | 6414 | Low Reference |
C | 0.5 D-GN/WH | 2124 | IC 4 Control |
D | 0.75 PK | 5292 | Ignition 1 Voltage |
Connector Part Information
|
Terminal Part Information
|
Pin | Wire Color | Circuit No. | Function |
|---|---|---|---|
A | 0.8 BK | 151 | Ground |
B | 0.5 BN/WH | 2129 | IC 4 Control |
C | 0.5 D-GN/WH | 2125 | IC 4 Control |
D | 0.8 PK/BK | 39 | Ignition 1Voltage |
Connector Part Information
|
Terminal Part Information
|
Pin | Wire Color | Circuit No. | Function |
|---|---|---|---|
A | 0.75 BK | 2550 | Ground |
B | 0.5 PU | 6413 | Low Reference |
C | 0.5 D-GN/RD | 2125 | IC 5 Control |
D | 0.75 PK/BU | 5291 | Ignition 1 Voltage |
Connector Part Information
|
Terminal Part Information
|
Pin | Wire Color | Circuit No. | Function |
|---|---|---|---|
A | 0.8 BK | 151 | Ground |
B | 0.5 BN | 2129 | IC 5 Control |
C | 0.5 D-GN | 2125 | IC 5 Control |
D | 0.8 PK/BK | 39 | Ignition 1Voltage |
Connector Part Information
|
Terminal Part Information
|
Pin | Wire Color | Circuit No. | Function |
|---|---|---|---|
A | 0.75 BK | 2650 | Ground |
B | 0.5 PK | 6414 | Low Reference |
C | 0.5 L-BU/WH | 2126 | IC 6 Control |
D | 0.75 PK | 5292 | Ignition 1 Voltage |
Connector Part Information
|
Terminal Part Information
|
Pin | Wire Color | Circuit No. | Function |
|---|---|---|---|
A | 0.8 BK | 151 | Ground |
B | 0.5 BN/WH | 2129 | IC 6 Control |
C | 0.5 L-BU/WH | 2123 | IC 6 Control |
D | 0.8 PK/BK | 39 | Ignition 1Voltage |
Connector Part Information
|
Terminal Part Information
|
Pin | Wire Color | Circuit No. | Function |
|---|---|---|---|
A | 0.8 BK | 151 | Ground |
B | 0.5 BN | 2129 | IC 7 Control |
C | 0.5 OG | 2127 | IC 7 Control |
D | 0.8 PK/BK | 39 | Ignition 1Voltage |
Connector Part Information
|
Terminal Part Information
|
Pin | Wire Color | Circuit No. | Function |
|---|---|---|---|
A | 0.8 BK | 151 | Ground |
B | 0.5 BN/WH | 2129 | IC 8 Control |
C | 0.5 PU/WH | 2121 | IC 8 Control |
D | 0.8 PK/BK | 39 | Ignition 1 Voltage |
Connector Part Information
|
Terminal Part Information
|
Pin | Wire Color | Circuit No. | Function |
|---|---|---|---|
A | 0.5 D-BU/WH | 149 | Courtesy Lamp Supply Voltage |
B | 0.5 BK | 850 | Ground |
|
Terminal Part Information
|
Pin | Wire Color | Circuit No. | Function |
|---|---|---|---|
A | 0.5 BN | 443 | Accessory Voltage |
B | 0.3 PU/WH | 1630 | Steering Column Key Cylinder Lock Solenoid Control |
Connector Part Information
|
Terminal Part Information
|
Pin | Wire Color | Circuit No. | Function |
|---|---|---|---|
1 | 0.3 PK | 3 | Run/Crank Voltage |
2 | 0.5 OG/BK | 1040 | Battery Positive Voltage |
3 | 0.3 BN | 4 | Ignition 1 Voltage |
4 | 0.3 WH | 1390 | Ignition Key Resistor Low Reference |
5 | -- | -- | Not Used |
6 | 0.3 WH/BK | 1073 | Ignition Key Resistor Signal |
Connector Part Information
|
Terminal Part Information
|
Pin | Wire Color | Circuit No. | Function |
|---|---|---|---|
1 | 0.3 YE | 354 | Discriminating Sensor - Signal |
2 | 0.3 BN/YE | 5045 | Discriminating Sensor - Low Reference |
Connector Part Information
|
Terminal Part Information
|
Pin | Wire Color | Circuit No. | Function |
|---|---|---|---|
1 | 0.3 D-GN | 1409 | Discriminating Sensor - Right Signal |
2 | 0.3 GY | 5600 | Discriminating Sensor - Low Reference |
Connector Part Information
|
Terminal Part Information
|
Pin | Wire Color | Circuit No. | Function |
|---|---|---|---|
1 | 0.35 WH/PK | 3940 | PPS Supply Voltage |
2 | 0.5 BK/WH | 1751 | Ground |
3 | -- | -- | Not Used |
4 | 0.35 D-GN/RD | 5060 | Low Speed GMLAN Serial Data |
5-10 | -- | -- | Not Used |
Connector Part Information
|
Terminal Part Information
|
Pin | Wire Color | Circuit No. | Function |
|---|---|---|---|
1 | CLR | -- | -- |
2 | CLR | -- | -- |
3 | CLR | -- | -- |
4 | CLR | -- | -- |
5 | CLR | -- | -- |
Connector Part Information
|
Terminal Part Information
|
Pin | Wire Color | Circuit No. | Function |
|---|---|---|---|
1 | 0.5 D-BU | 3024 | I/P Module - Stage 1 - Low Control |
2 | 0.5 YE | 3025 | I/P Module - Stage 1 - High Control |
Connector Part Information
|
Terminal Part Information
|
Pin | Wire Color | Circuit No. | Function |
|---|---|---|---|
1 | 0.5 PU | 3026 | I/P Module - Stage 2 - Low Control |
2 | 0.5 D-GN | 3027 | I/P Module - Stage 2 - High Control |
Connector Part Information
|
Terminal Part Information
|
Pin | Wire Color | Circuit No. | Function |
|---|---|---|---|
1 | 0.5 BN/BK | 5019 | Roof Rail Module - Left - High Control |
2 | 0.5 PK | 5020 | Roof Rail Module - Left - Low Control |
Connector Part Information
|
Terminal Part Information
|
Pin | Wire Color | Circuit No. | Function |
|---|---|---|---|
1 | 0.5 PU/YE | 5021 | Roof Rail Module - Right - High Control |
2 | 0.5 WH/BK | 5022 | Roof Rail Module - Right - Low Control |
Connector Part Information
|
Terminal Part Information
|
Pin | Wire Color | Circuit No. | Function |
|---|---|---|---|
A | 0.3 PK/BU | 5055 | Seat Position Sensor- Left - Signal |
B | 0.3 PU/WH | 5057 | Seat Belt Switch - Right Front - Low Reference |
Connector Part Information
|
Terminal Part Information
|
Pin | Wire Color | Circuit No. | Function |
|---|---|---|---|
A | 0.3 PK/BU | 5056 | Seat Position Sensor- Right - Signal |
B | 0.3 PU/WH | 5057 | Seat Belt Switch - Right Front - Low Reference |
Connector Part Information
|
Terminal Part Information
|
Pin | Wire Color | Circuit No. | Function |
|---|---|---|---|
1 | 0.3 BN | 3020 | Steering Wheel Module - Stage1 - Low Control |
2 | 0.3 BN/RD | 3021 | Steering Wheel Module - Stage1 - High Control |
3 | 0.3 WH | 3023 | Steering Wheel Module - Stage2 - High Control |
4 | 0.3 PK | 3022 | Steering Wheel Module - Stage2 - Low Control |
5 | 0.3 YE/BK | 2138 | Side Impact Module -LF - Low Control |
6 | 0.3 BN | 2137 | Side Impact Module -LF - High Control |
7-18 | -- | -- | Not Used |
19 | 0.3 GY | 5045 | Discriminating Sensor - Low Reference |
20 | 0.3 D-GN | 354 | Discriminating Sensor - Signal |
21 | 0.5 PK/BU | 339 | Ignition 1 Voltage |
22 | 0.5 OG/YE | 1340 | Battery Positive Voltage |
23 | -- | -- | Not Used |
24 | 0.5 BK/WH | 1751 | Ground |
Connector Part Information
|
Terminal Part Information
|
Pin | Wire Color | Circuit No. | Function |
|---|---|---|---|
1 | 0.5 BN/BK | 5019 | Roof Rail Module - Left - High Control (LHD) |
0.5 PU/YE | 5021 | Roof Rail Module - Right - High Control (RHD) | |
2 | 0.5 PK | 5020 | Roof Rail Module - Left - Low Control (LHD) |
0.5 WH/BK | 5022 | Roof Rail Module - Right - Low Control (RHD) | |
3 | 0.5 WH/BK | 5022 | Roof Rail Module - Right - Low Control (LHD) |
0.5 PK | 5020 | Roof Rail Module - Left - Low Control (RHD) | |
4 | 0.5 PU/YE | 5021 | Roof Rail Module -Right - High Control (LHD) |
0.5 BN/BK | 2019 | (RHD) | |
5 | 0.3 BK/WH | 2135 | Side Impact Module -RF - High Control |
6 | 0.3 L-GN | 2136 | Side Impact Module - RF - Low Control |
7 | 0.3 PU | 3026 | I/P Module - Stage 2 - Low Control |
8 | 0.3 D-GN | 3027 | I/P Module - Stage 2 - High Control (LHD) |
9 | 0.3 YE | 3025 | I/P Module - Stage 1 - High Control |
10 | 0.3 D-BU | 3024 | I/P Module - Stage 1 - Low Control |
11-14 | -- | -- | Not Used |
15 | 0.3 BK/WH | 2118 | Seat Belt Pretensioner - Left High Control |
16 | 0.3 OG/BK | 2119 | Seat Belt Pretensioner - Left Low Control |
17 | 0.3 OG | 2117 | Seat Belt Pretensioner - Right Low Control |
18 | 0.3 L-GN | 2116 | Seat Belt Pretensioner - Right High Control |
19-22 | -- | -- | Not Used |
23 | 0.3 D-GN | 1409 | Discriminating Sensor - Right Signal (LHD) |
0.3 YE | 354 | Discriminating Sensor - Signal (RHD) | |
24 | 0.3 GY | 5600 | Discriminating Sensor - Low Reference (LHD) |
0.3 BN/YE | 5045 | Discriminating Sensor - Low Reference (RHD) | |
25 | 0.3 PU/WH | 6628 | Side Impact Sensing Module - Right - Low Reference (LHD) |
0.3 WH/BK | 6629 | Side Impact Sensing Module - Right - Low Reference (RHD) | |
26 | 0.3 WH | 2132 | Side Impact Sensing Module - Left - Signal (LHD) |
0.3 D-GN | 2134 | Side Impact Sensing Module - Right - Signal (RHD) | |
27 | 0.3 D-GN | 2134 | Side Impact Sensing Module - Right - Signal (LHD) |
0.3 WH | 2132 | Side Impact Sensing Module - Left - Signal (RHD) | |
28 | 0.3 WH/BK | 6629 | Side Impact Sensing Module - Left - Low Reference (LHD) |
0.3 PU/WH | 6628 | Side Impact Sensing Module - Left - Low Reference (RHD) | |
29-34 | -- | -- | Not Used |
35 | 0.3 L-GN | 5055 | Seat Position Sensor - Left - Signal (LHD) |
36 | 0.3 BK/WH | 238 | Seat Belt Switch - Left (LHD) |
37 | -- | -- | Not Used |
38 | 0.3 D-BU | 1363 | Seat Belt Switch - Left - Low Reference (LHD) |
39 | -- | -- | Not Used |
40 | 0.35 D-GN | 5060 | Low Speed GMLAN Serial Data (LHD) |
Connector Part Information
|
Terminal Part Information
|
Pin | Wire Color | Circuit No. | Function |
|---|---|---|---|
1 | 0.3 BK/WH | 2137 | Side Impact Module - Left Front - High Control |
2 | 0.3 L-GN | 2138 | Side Impact Module - Left Front - Low Control |
Terminal Part Information
|
Pin | Wire Color | Circuit No. | Function |
|---|---|---|---|
A | 0.3 BK/WH | 1751 | Ground |
Connector Part Information
|
Terminal Part Information
|
Pin | Wire Color | Circuit No. | Function |
|---|---|---|---|
1 | 0.3 BN | 2135 | Side Impact Module - Right Front - High Control |
2 | 0.3 YE/BK | 2136 | Side Impact Module - Right Front - Low Control |
Terminal Part Information
|
Pin | Wire Color | Circuit No. | Function |
|---|---|---|---|
A | 0.3 BK/WH | 1751 | Ground |
Connector Part Information
|
Terminal Part Information
|
Pin | Wire Color | Circuit No. | Function |
|---|---|---|---|
1 | 0.3 WH | 2132 | Side Impact Sensing Module - Left - Signal |
2 | 0.3 PU/WH | 6628 | Side Impact Sensing Module - Left - Low Reference |
Connector Part Information
|
Terminal Part Information
|
Pin | Wire Color | Circuit No. | Function |
|---|---|---|---|
1 | 0.3 D-GN | 2134 | Side Impact Sensing Module - Right - Signal |
2 | 0.3 WH/BK | 6629 | Side Impact Sensing Module - Right - Low Reference |
Connector Part Information
|
Terminal Part Information
|
Pin | Wire Color | Circuit No. | Function |
|---|---|---|---|
A | 0.3 GY/BU | 7367 | Steering Wheel Resistor Ladder Right Signal #2 |
B | 0.3 BN/GN | 7364 | Steering Wheel Resistor Ladder Right Signal #1 |
C | 0.3 BN | 7312 | Steering Wheel Resistor Ladder Left Signal #1 |
D | 0.3 L-BU | 7313 | Steering Wheel Resistor Ladder Left Signal #2 |
E | 0.3 BN/WH | 897 | DIC Switch Low Reference |
F | 0.3 OG/BK | 5201 | Steering Wheel Controls Signal |
G | 0.3 BK | 850 | Ground |
H | 0.3 PU/WH | 7005 | I/P Dimming Control |
J | 0.3 BN/BK | 28 | Horn Relay Control |
K | -- | -- | Not Used |
Connector Part Information
|
Terminal Part Information
|
Pin | Wire Color | Circuit No. | Function |
|---|---|---|---|
A1 | 0.3 BN/RD | 3021 | Steering Wheel Module - Stage1 - High Control |
A2 | 0.3 BN | 3020 | Steering Wheel Module - Stage1 - Low Control |
B1 | 0.3 WH | 3023 | Steering Wheel Module - Stage2 - High Control |
B2 | 0.3 PK | 3022 | Steering Wheel Module - Stage2 - Low Control |
|
Terminal Part Information
|
Pin | Wire Color | Circuit No. | Function |
|---|---|---|---|
1 | 0.3 GY/BU | 7367 | Steering Wheel Resistor Ladder Right Signal #2 |
2 | 0.3 YE | 7364 | Steering Wheel Resistor Ladder Right Signal #1 |
3 | 0.3 BN | 7312 | Steering Wheel Resistor Ladder Left Signal #1 |
4 | 0.3 L-BU | 7313 | Steering Wheel Resistor Ladder Left Signal #2 |
5 | 0.3 D-GN | 897 | DIC Switch Low Reference |
6 | 0.3 OG/BK | 5201 | Steering Wheel Controls Signal |
7 | 0.3 BK | 1551 | Ground |
Connector Part Information
|
Terminal Part Information
|
Pin | Wire Color | Circuit No. | Function |
|---|---|---|---|
1 | 0.3 BN | 3020 | Steering Wheel Module - Stage1 - Low Control |
2 | 0.3 TN | 3021 | Steering Wheel Module - Stage1 - High Control |
Connector Part Information
|
Terminal Part Information
|
Pin | Wire Color | Circuit No. | Function |
|---|---|---|---|
1 | 0.3 PK | 3022 | Steering Wheel Module - Stage2 - Low Control |
2 | 0.3 WH | 3023 | Steering Wheel Module - Stage2 - High Control |
Connector Part Information
|
Terminal Part Information
|
Pin | Wire Color | Circuit No. | Function |
|---|---|---|---|
1 | -- | -- | Not Used |
2 | 0.3 D-GN | 654 | Cellular Telephone Microphone Low Reference |
3-7 | -- | -- | Not Used |
8 | 0.3 BK | 1450 | Ground |
9 | 0.5 L-GN | 24 | Backup Lamp Supply Voltage |
10 | 0.3 GY | 655 | Cellular Microphone Signal |
11 | 0.3 D-GN/WH | 2514 | Keypad Signal |
12 | 0.3 L-GN/BK | 2515 | Keypad Supply Voltage |
13 | 0.5 BN | 1339 | Ignition Voltage 1 |
14 | 0.3 YE/BK | 2516 | Keypad Green LED Signal |
15 | 0.3 BN/WH | 2517 | Keypad Red LED Signal |
16 | -- | -- | Not Used |
Connector Part Information
|
Terminal Part Information
|
Pin | Wire Color | Circuit No. | Function |
|---|---|---|---|
1 | 0.5 BN | 443 | Ignition Voltage 1 |
2 | 0.3 BK | 1450 | Ground |
3 | 0.5 L-GN | 24 | Backup Lamp Supply Voltage |
Connector Part Information
|
Terminal Part Information
|
Pin | Wire Color | Circuit No. | Function |
|---|---|---|---|
1 | 0.5 OG/WH | 1840 | Battery Positive Voltage |
2 | 0.3 GY | 728 | Security Indicator Control |
3 | 0.3 D-BU | 7148 | Bluetooth Signal |
4 | -- | -- | Not Usedl |
5 | 0.5 BN | 185 | Low Washer Fluid Indicator Signal |
6 | 0.3 BN | 7312 | Left Steering Wheel Scroll 1 |
7 | 0.3 GY/BU | 7367 | Right Steering Wheel Scroll 2 |
8 | 0.3 BN/GN | 7364 | Right Steering Wheel Scroll 1 |
9 | 0.5 BK | 850 | Ground |
10 | 0.3 PK | 3 | Ignition 1 Voltage |
11 | 0.3 BN/WH | 419 | MIL Control |
12 | 0.3 OG/BK | 5201 | Steering Wheel Controls Signal |
13 | 0.3 BN/WH | 33 | Brake Warning Indicator Control |
14 | -- | -- | Not Used |
15 | 0.35 L-GN | 9203 | Low Speed GMLAN Serial Data |
16 | -- | -- | Not Used |
17 | 0.3 L-BU | 7313 | Left Steering Wheel Scroll 2 |
18 | 0.3 BN/WH | 897 | DIC Switch Low Reference |
Connector Part Information
|
Terminal Part Information
|
Pin | Wire Color | Circuit No. | Function |
|---|---|---|---|
A | 0.85 OG | 1732 | Courtesy Lamps Supply Voltage |
Connector Part Information
|
Terminal Part Information
|
Pin | Wire Color | Circuit No. | Function |
|---|---|---|---|
A | 0.5 PU | 175 | Glove Box Lamp Control |
Connector Part Information
|
Terminal Part Information
|
Pin | Wire Color | Circuit No. | Function |
|---|---|---|---|
A | 0.5 PU | 175 | Glove Box Lamp Control |
Connector Part Information
|
Terminal Part Information
|
Pin | Wire Color | Circuit No. | Function |
|---|---|---|---|
A | 0.5 BK/WH | 1450 | Ground |
Connector Part Information
|
Terminal Part Information
|
Pin | Wire Color | Circuit No. | Function |
|---|---|---|---|
1 | 0.75 PU/BK | 5293 | Ignition 1 Voltage |
2 | 0.75 BN | 1997 | EVAP Canister Vent Solenoid Valve Low Reference |
Connector Part Information
|
Terminal Part Information
|
Pin | Wire Color | Circuit No. | Function |
|---|---|---|---|
A | 0.5 BN | 1786 | Park/Neutral Signal |
B | 0.5 GY | 776 | Transmission Range Switch Signal P |
C | 0.5 BK | 772 | Transmission Range Switch Signal B |
D | 0.5 RD | 771 | Transmission Range Switch Signal A |
E | 0.5 D-BU | 773 | Transmission Range Switch Signal C |
F | 0.5 D-GN | 450 | Ground |
Connector Part Information
|
Terminal Part Information
|
Pin | Wire Color | Circuit No. | Function |
|---|---|---|---|
1 | 0.5 D-BU | 496 | Knock Sensor 1 Signal |
2 | 0.5 GY | 1716 | Low Reference Knock Sensor Signal Return |
Connector Part Information
|
Terminal Part Information
|
Pin | Wire Color | Circuit No. | Function |
|---|---|---|---|
1 | 0.5 D-BU | 496 | Knock Sensor 1 Signal |
2 | 0.5 GY | 1716 | Low Reference Knock Sensor Signal Return |
Connector Part Information
|
Terminal Part Information
|
Pin | Wire Color | Circuit No. | Function |
|---|---|---|---|
1 | 0.5 L-BU | 1876 | Knock Sensor 2 Signal |
2 | 0.5 BN | 407 | Low Reference Knock Sensor Signal Return |
Connector Part Information
|
Terminal Part Information
|
Pin | Wire Color | Circuit No. | Function |
|---|---|---|---|
1 | 0.5 L-BU | 1876 | Knock Sensor 2 Signal |
2 | 0.5 TN | 407 | Low Reference Knock Sensor Signal Return |
Connector Part Information
|
Terminal Part Information
|
Pin | Wire Color | Circuit No. | Function |
|---|---|---|---|
1 | 0.5 BN/WH | 309 | Right Park Lamp Supply Voltage |
2 | 0.5 BK | 1350 | Ground |
Connector Part Information
|
Terminal Part Information
|
Pin | Wire Color | Circuit No. | Function |
|---|---|---|---|
1 | 0.5 BN/WH | 309 | Right Park Lamp Supply Voltage |
2 | 0.5 BK | 1350 | Ground |
Connector Part Information |
Terminal Part Information |
Pin | Wire Color | Circuit No. | Function |
|---|---|---|---|
1 | 0.5 YE | -- | Regulator Temperature Signal |
2 | 0.5 BK | -- | Sensor Signal Supply +5V |
3 | 0.5 GN | -- | Gas Temperature Signal |
4-7 | -- | -- | Not Used |
8 | 0.5 GN/WH | -- | Power Relay Control |
9 | 0.5 WH | -- | Serial Diagnostic Connector |
10 | -- | -- | Not Used |
11 | 0.5 GY | -- | TACHO Signal |
12 | 0.5 RD | -- | Battery Voltage Positive |
13 | 0.5 GN | -- | Switch |
14 | 0.5 BK/GN | -- | Front Lock-Off Control |
15 | 0.5 BK/BU | -- | LPG Injector 1 Control |
16 | 0.5 BK/GN | -- | LPG Injector 2 Control |
17 | 0.5 BK/YE | -- | LPG Injector 3 Control |
18 | 0.5 BK/RD | -- | LPG Injector 4 Control |
19 | 0.5 BK | -- | LPG Injector Ground 1 |
20 | 0.5 GN | -- | Actuator Current Blow By |
21 | 0.5 BK/PU | -- | LPG Injector 5 Control |
22 | 0.5 BK/OG | -- | LPG Injector 6 Control |
23-24 | -- | -- | Not Used |
25 | 0.5 GN | -- | Petrol Injector 5 Control |
26 | 0.5 OG | -- | Petrol Injector 6 Control |
27-29 | -- | -- | Not Used |
30 | 0.5 WH | -- | Gas Temperature Signal |
31-35 | -- | -- | Not Used |
36 | 0.5 PU/WH | -- | Throttle Position Sensor Signal |
37-38 | -- | -- | Not Used |
39 | 0.5 BK | -- | Battery Ground |
40 | 0.5 GN/WH | -- | Petrol Injector Power |
41 | 0.5 BN | -- | +12V Key Contact |
42 | 0.5 BK/GN | -- | Rear Lock-Off Control |
43 | 0.5 YE/WH | -- | Petrol Injector 1 ECU Power Output |
44 | 0.5 YE | -- | Petrol Injector 1 Control |
45 | 0.5 BK/WH | -- | Petrol Injector 2 ECU Power Output |
46 | 0.5 BK | -- | Petrol Injector 2 Control |
47 | 0.5 BK | -- | LPG Injector Ground 2 |
48 | 0.5 GN | -- | Actuator Current Blow By |
49 | 0.5 BN/WH | -- | Petrol Injector 3 ECU Power Output |
50 | 0.5 BN | -- | Petrol Injector 3 Control |
51 | 0.5 BU/WH | -- | Petrol Injector 4 ECU Power Output |
52 | 0.5 BU | -- | Petrol Injector 4 Control |
53 | 0.5 GN/WH | -- | Petrol Injector 5 ECU Power Output |
54 | 0.5 OG/WH | -- | Petrol Injector 5 Control |
55-56 | -- | -- | Not Used |
Connector Part Information |
Terminal Part Information |
Pin | Wire Color | Circuit No. | Function |
|---|---|---|---|
1 | 0.5 BK/BU | -- | LPG Fuel Injector 1 Control |
2 | 0.5 GN | -- | Ignition Voltage |
Connector Part Information |
Terminal Part Information |
Pin | Wire Color | Circuit No. | Function |
|---|---|---|---|
1 | 0.5 BK/GN | -- | LPG Fuel Injector 2 Control |
2 | 0.5 GN | -- | Ignition Voltage |
Connector Part Information |
Terminal Part Information |
Pin | Wire Color | Circuit No. | Function |
|---|---|---|---|
1 | 0.5 BK/YE | -- | LPG Fuel Injector 3 Control |
2 | 0.5 GN | -- | Ignition Voltage |
Connector Part Information |
Terminal Part Information |
Pin | Wire Color | Circuit No. | Function |
|---|---|---|---|
1 | 0.5 BK/RD | -- | LPG Fuel Injector 4 Control |
2 | 0.5 GN | -- | Ignition Voltage |
Connector Part Information |
Terminal Part Information |
Pin | Wire Color | Circuit No. | Function |
|---|---|---|---|
1 | 0.5 BK/PU | -- | LPG Fuel Injector 5 Control |
2 | 0.5 GN | -- | Ignition Voltage |
Connector Part Information |
Terminal Part Information |
Pin | Wire Color | Circuit No. | Function |
|---|---|---|---|
1 | 0.5 BK/OG | -- | LPG Fuel Injector 6 Control |
2 | 0.5 GN | -- | Ignition Voltage |
Connector Part Information |
Terminal Part Information |
Pin | Wire Color | Circuit No. | Function |
|---|---|---|---|
1 | 0.5 BK/GN | -- | Front Lock-Off Control |
2 | 0.5 GN | -- | Ignition Voltage |
Connector Part Information |
Terminal Part Information |
Pin | Wire Color | Circuit No. | Function |
|---|---|---|---|
30 | 0.5 RD | -- | Battery Voltage |
85 | 0.5 GN/WH | -- | Power Relay Control |
86 | 0.75 RD | -- | Battery Voltage |
87 | 0.5 GN | -- | Relay Controlled Voltage |
Connector Part Information |
Terminal Part Information |
Pin | Wire Color | Circuit No. | Function |
|---|---|---|---|
1 | 0.5 RD | -- | +5 Voltage Input |
2 | 0.5 BK | -- | Ground |
3 | 0.75 GN | -- | Switch Signal |
4 | 0.5 WH | -- | Fuel Level Input |
Connector Part Information
|
Terminal Part Information
|
Pin | Wire Color | Circuit No. | Function |
|---|---|---|---|
A | 0.5 OG/BK | 469 | Low Reference |
B | 0.5 L-GN | 432 | MAP Sensor Signal |
C | 0.5 GY | 2704 | 5-Volt Reference |
Connector Part Information
|
Terminal Part Information
|
Pin | Wire Color | Circuit No. | Function |
|---|---|---|---|
A | 0.5 YE | 492 | MAF Sensor Signal |
B | 0.5 PK | 439 | Ignition 1 Voltage |
C | 0.5 BK | 450 | Ground |
D | 0.5 BN/RD | 472 | IAT Sensor Signal |
E | 0.5 BN/WH | 2760 | Low Reference |
Connector Part Information
|
Terminal Part Information
|
Pin | Wire Color | Circuit No. | Function |
|---|---|---|---|
1 | -- | -- | Not Used |
2 | 0.85 GY/RD | 285 | Driver Seat Horizontal Motor Forward Control |
3 | 0.85 D-BU | 283 | Driver Seat Rear Vertical Motor Down Control |
4 | 0.85 D-GN/YE | 282 | Driver Seat Rear Vertical Motor Up Control |
5 | 1.25 RD/BK | 4740 | Seat Module Supply Voltage |
6 | -- | -- | Not Used |
7 | 0.85 BN | 286 | Driver Seat Front Vertical Motor Up Control |
8 | 0.85 D-BU/RD | 287 | Driver Seat Front Vertical Motor Down Control |
9 | 0.85 GY | 284 | Driver Seat Horizontal Motor Rearward Control |
10 | 0.5 BK/OG | 1350 | Ground |
11 | 1.25 BK | 1350 | Ground |
12 | 0.3 D-BU/GN | 1674 | Driver Power Seat Select Switch Signal |
Connector Part Information
|
Terminal Part Information
|
Pin | Wire Color | Circuit No. | Function |
|---|---|---|---|
1 | 0.3 D-GN/BN | 570 | Driver Seat Recline Motor Position Sensor Signal |
2-5 | -- | -- | Not Used |
6 | 0.85 YE | 276 | Recline Forward Switch Signal |
7-10 | -- | -- | Not Used |
11 | 0.85 PU/GN | 277 | Recline Rearward Switch Signal |
12 | 0.85 D-GN/RD | 767 | Driver Seat Lumbar Down Switch Signal |
Connector Part Information
|
Terminal Part Information
|
Pin | Wire Color | Circuit No. | Function |
|---|---|---|---|
1 | 0.5 RD/OG | 6839 | Memory Mirror Voltage |
2 | 0.3 BN/WH | 1270 | Power Seat Recline Rearward Switch Signal |
3 | 0.3 TN | 1522 | Power Seat Horizontal Rearward Switch Signal |
4 | 0.3 D-GN/BU | 1523 | Power Seat Horizontal Forward Switch Signal |
5 | 0.3 BK/BU | 1518 | Power Seat Front Vertical Up Switch Signal |
6 | 0.3 OG/BN | 1064 | Driver Seat Lumbar Rearward Switch Signal |
7 | 0.3 RD/WH | 1520 | Power Seat Front Vertical Down Switch Signal |
8 | 0.3 D-GN/PK | 5979 | Memory 2 Switch Control Signal |
9 | 0.3 TN/BK | 5978 | Memory 1 Switch Control Signal |
10 | 0.3 PK/BU | 7363 | MOD_WK |
11 | 0.3 D-BU/WH | 7006 | Mirror Control Signal |
12 | 0.3 D-BU/BK | 1065 | Driver Seat Lumbar Forward Switch Signal |
13 | 0.3 YE/BU | 1521 | Power Seat Rear Vertical Down Switch Signal |
14 | 0.3 BN/RD | 1269 | Power Seat Recline Forward Switch Signal |
15 | -- | -- | Not Used |
16 | 0.3 PK | 1519 | Power Seat Rear Vertical Up Switch Signal |
17 | -- | -- | Not Used |
18 | 0.3 WH/RD | 612 | Right Front Adaptive Seat Switch / Mirror Dip Control Signal |
19 | 0.3 YE/RD | 782 | Memory 3 Switch Control Signal |
20 | 0.3 PU/WH | 1061 | UART Serial Data |
Connector Part Information
|
Terminal Part Information
|
Pin | Wire Color | Circuit No. | Function |
|---|---|---|---|
1-4 | -- | -- | Not Used |
5 | 0.3 WH/GY | 569 | Horizontal Seat Motor Position Sensor Signal |
6 | -- | -- | Not Used |
7 | 0.3 D-GN/PU | 2940 | Rear Vertical Seat Motor Position Sensor Voltage Reference |
8 | 0.3 D-GN/WH | 3040 | Front Vertical Seat Motor Position Sensor Voltage Reference |
9 | 0.3 RD/GN | 568 | Rear Vertical Seat Motor Position Sensor Signal |
10 | 0.3 BN/BU | 557 | Front Vertical Seat Motor Position Sensor Signal |
11-15 | -- | -- | Not Used |
16 | 0.5 BK/GY | 2851 | Memory Mirror Ground |
Connector Part Information
|
Terminal Part Information
|
Pin | Wire Color | Circuit No. | Function |
|---|---|---|---|
1 | 0.3 BN | 2273 | Mode Actuator 1 - Power |
2 | 0.3 BK | 119 | Mode Actuator 1 - Control |
3 | 0.3 D-BU | 1791 | Low Reference |
4 | 0.3 GY | 2275 | Mode Actuator 1 - Feedback |
5 | 0.3 D-GN | 474 | 5-Volt Reference |
Connector Part Information
|
Terminal Part Information
|
Pin | Wire Color | Circuit No. | Function |
|---|---|---|---|
1 | 0.3 L-GN | 2210 | Mode Actuator 2 - Power |
2 | 0.3 OG | 1791 | Mode Actuator 2 - Control |
3 | 0.3 L-BU | 720 | Low Reference |
4 | 0.3 RD | 1899 | Mode Actuator 2 - Feedback |
5 | 0.3 PK | 1236 | 5-Volt Reference |
Connector Part Information
|
Terminal Part Information
|
Pin | Wire Color | Circuit No. | Function |
|---|---|---|---|
1 | 0.3 D-GN/BU | 6555 | Mode Actuator Rear - Power |
2 | 0.3 D-GN/RD | 6556 | Mode Actuator Rear - Control |
3 | 0.3 D-GN/YE | 645 | Low Reference |
4 | 0.3 D-GN/WH | 6558 | Mode Actuator Rear - Feedback |
5 | 0.3 D-GN/OG | 5718 | 5-Volt Reference |
Connector Part Information
|
Terminal Part Information
|
Pin | Wire Color | Circuit No. | Function |
|---|---|---|---|
1 | 0.3 YE | 6817 | LED Backlight Dimming Control |
2 | 0.3 BK | 850 | Ground |
3 | 0.3 L-BU | 553 | Tow/Haul Switch Signal |
4 | -- | -- | Not Used |
5 | 0.3 BN/OG | 1571 | Traction Control Switch Signal |
6 | 0.3 GY | 2555 | Object Detection Disable Signal |
7 | 0.3 BN | 5852 | Instrument Panel Lamp Supply Voltage |
8 | 0.3 PU/WH | 6816 | Object Detection Disable Signal |
Connector Part Information
|
Terminal Part Information
|
Pin | Wire Color | Circuit No. | Function |
|---|---|---|---|
1 | 0.3 BN | 1171 | Navigation Display Serial Data High |
2 | 0.3 OG | 2354 | Navigation Display Serial Data High |
3 | 0.85 OG | 5748 | Mute Signal |
4 | -- | -- | Not Used |
5 | 0.5 L-GN | 5060 | Low Speed GMLAN Serial Data |
6 | 0.85 OG/WH | 2340 | Battery Positive Voltage |
7 | 0.3 YE | 1219 | Navigation Display Serial Data Low |
8 | 0.3 YE | 1491 | Backlight Lamps Control |
9-11 | -- | -- | Not Used |
12 | 0.5 BK/WH | 1050 | Ground |
Connector Part Information
|
Terminal Part Information
|
Pin | Wire Color | Circuit No. | Function |
|---|---|---|---|
A1-A3 | -- | -- | Not Used |
A4 | 0.85 OG/WH | 2340 | Battery Positive Voltage |
A5 | -- | -- | Not Used |
A6 | 0.3 YE | 1491 | Backlight Lamps Control |
A7 | 0.3 OG | 2354 | Navigation Control Signal |
A8 | 0.85 BK/WH | 1050 | Ground |
Connector Part Information
|
Terminal Part Information
|
Pin | Wire Color | Circuit No. | Function |
|---|---|---|---|
A1-A4 | -- | -- | Not Used |
A5 | 0.3 PK/BK | 2062 | Navigation Mono Audio Signal (+) |
A6 | 0.3 OG/BK | 2061 | Navigation Mono Audio Signal (-) |
A7-A8 | -- | -- | Not Used |
Connector Part Information
|
Terminal Part Information
|
Pin | Wire Color | Circuit No. | Function |
|---|---|---|---|
C1-C6 | -- | -- | Not Used |
C7 | 0.3 BN | 1171 | Navigation Display Serial Data High |
C8 | 0.3 YE | 1219 | Navigation Display Serial Data Low |
C9-C20 | -- | -- | Not Used |
Connector Part Information
|
Terminal Part Information
|
Pin | Wire Color | Circuit No. | Function |
|---|---|---|---|
A1-A3 | -- | -- | Not Used |
A4 | 0.85 OG | 5748 | Mute Signal |
A5-A10 | -- | -- | Not Used |
Connector Part Information
|
Terminal Part Information
|
Pin | Wire Color | Circuit No. | Function |
|---|---|---|---|
A | 0.5 OG | 5174 | Antenna Signal |
B | 0.5 GY | 5175 | Drain Wire |
Connector Part Information
|
Terminal Part Information
|
Pin | Wire Color | Circuit No. | Function |
|---|---|---|---|
1 | 0.3 RD | 2047 | Video Connector - R |
2 | 0.3 D-GN | 2048 | Video Connector - G |
3 | 0.3 WH | 2049 | Video Connector - B |
4 | 0.3 BK | 5231 | Ground |
5 | 0.3 YE | 2045 | Video Connector - Sync |
6 | 0.3 BK | 5346 | Drain Wire |
Connector Part Information
|
Terminal Part Information
|
Pin | Wire Color | Circuit No. | Function |
|---|---|---|---|
1 | 0.3 WH | Video Connector - B | |
2 | -- | -- | Not Used |
3 | 0.3 RD | 2047 | Video Connector - R |
4-9 | -- | -- | Not Used |
10 | 0.3 BK | 5231 | Ground |
11 | 0.3 D-GN | 2048 | Video Connector - G |
12 | -- | -- | Not Used |
13 | 0.3 YE | 2045 | Video Connector - Sync |
14-18 | -- | -- | Not Used |
Connector Part Information
|
Terminal Part Information
|
Pin | Wire Color | Circuit No. | Function |
|---|---|---|---|
1 | 0.3 BN | 6581 | Object Sensor Supply Voltage |
2 | 0.3 OG/BK | 5214 | Object Sensor Low Reference |
3 | 0.3 PU/WH | 5215 | LF Corner Object Sensor Signal |
Connector Part Information
|
Terminal Part Information
|
Pin | Wire Color | Circuit No. | Function |
|---|---|---|---|
1 | 0.3 BN | 6581 | Object Sensor Supply Voltage |
2 | 0.3 OG/BK | 5214 | Object Sensor Low Reference |
3 | 0.3 WH | 5216 | LF Middle Object Sensor Signal |
Connector Part Information
|
Terminal Part Information
|
Pin | Wire Color | Circuit No. | Function |
|---|---|---|---|
1 | 0.3 D-BU | 2374 | Object Sensor Supply Voltage |
2 | 0.3 GY | 2379 | Object Sensor Low Reference |
3 | 0.3 YE | 2375 | LR Corner Object Sensor Signal |
Connector Part Information
|
Terminal Part Information
|
Pin | Wire Color | Circuit No. | Function |
|---|---|---|---|
1 | 0.3 D-BU | 2374 | Object Sensor Supply Voltage |
2 | 0.3 GY | 2379 | Object Sensor Low Reference |
3 | 0.3 OG | 2376 | LR Middle Object Sensor Signal |
Connector Part Information
|
Terminal Part Information
|
Pin | Wire Color | Circuit No. | Function |
|---|---|---|---|
1 | 0.3 BN | 6581 | Object Sensor Supply Voltage |
2 | 0.3 OG/BK | 5214 | Object Sensor Low Reference |
3 | 0.3 BN/WH | 5217 | RF Corner Object Sensor Signal |
Connector Part Information
|
Terminal Part Information
|
Pin | Wire Color | Circuit No. | Function |
|---|---|---|---|
1 | 0.3 BN | 6581 | Object Sensor Supply Voltage |
2 | 0.3 OG/BK | 5214 | Object Sensor Low Reference |
3 | 0.3 PU/BK | 5218 | RF Middle Object Sensor Signal |
Connector Part Information
|
Terminal Part Information
|
Pin | Wire Color | Circuit No. | Function |
|---|---|---|---|
1 | 0.3 D-BU | 2374 | Object Sensor Supply Voltage |
2 | 0.3 GY | 2379 | Object Sensor Low Reference |
3 | 0.3 PU | 2378 | RR Corner Object Sensor Signal |
Connector Part Information
|
Terminal Part Information
|
Pin | Wire Color | Circuit No. | Function |
|---|---|---|---|
1 | 0.3 D-BU | 2374 | Object Sensor Supply Voltage |
2 | 0.3 GY | 2379 | Object Sensor Low Reference |
3 | 0.3 D-GN | 2377 | RR Middle Object Sensor Signal |
Connector Part Information
|
Terminal Part Information
|
Pin | Wire Color | Circuit No. | Function |
|---|---|---|---|
1 | 0.3 YE | Low Speed GMLAN Serial Data | |
2 | 0.3 D-BU | Ground | |
3 | 0.3 D-BU/RD | Battery Positive Voltage | |
4 | 0.3 YE | Low Speed GMLAN Serial Data | |
5 | 0.3 D-BU | Ground | |
6 | 0.3 D-BU/RD | Battery Positive Voltage |
Connector Part Information
|
Terminal Part Information
|
Pin | Wire Color | Circuit No. | Function |
|---|---|---|---|
1 | 0.3 YE | Low Speed GMLAN Serial Data | |
2 | 0.3 D-BU | Ground | |
3 | 0.3 D-BU/RD | Battery Positive Voltage | |
4 | 0.3 YE | Low Speed GMLAN Serial Data | |
5 | 0.3 D-BU | Ground | |
6 | 0.3 D-BU | Battery Positive Voltage |
Connector Part Information
|
Terminal Part Information
|
Pin | Wire Color | Circuit No. | Function |
|---|---|---|---|
1 | 0.3 L-GN | Outside Moisture Sensor Signal 2 | |
2 | 0.3 BN | Outside Moisture Sensor Signal 1 | |
3 | 0.5 BK/WH | Ground | |
4 | 0.5 BN | Ignition Voltage 1 |
Connector Part Information
|
Terminal Part Information
|
Pin | Wire Color | Circuit No. | Function |
|---|---|---|---|
1 | 0.5 WH | 7391 | Power Window Switch Right and Up |
2 | 0.5 WH/BK | 81 | Driver Mirror Motor Right Control |
3 | 0.5 BN | 5998 | Puddle Lamp Supply Voltage |
4 | 0.5 L-GN/BK | 89 | Driver Mirror Motor Down Control |
5 | -- | -- | Not Used |
6 | 0.5 BK | 2050 | Ground |
Connector Part Information
|
Terminal Part Information
|
Pin | Wire Color | Circuit No. | Function |
|---|---|---|---|
1 | 0.5 WH/BU | 7391 | Power Window Switch Right and Up |
2 | 0.5 OG/WH | 881 | Passenger Mirror Motor Right Control |
3 | 0.5 BN | 5998 | Puddle Lamp Supply Voltage |
4 | 0.5 PU/WH | 889 | Passenger Mirror Motor Down Control |
5 | -- | -- | Not Used |
6 | 0.5 BK | 1350 | Ground |
Connector Part Information
|
Terminal Part Information
|
Pin | Wire Color | Circuit No. | Function |
|---|---|---|---|
1 | 0.3 YE/GN | 7006 | Mirror Control Signal |
2 | -- | -- | Not Used |
3 | 0.5 WH | 1514 | Left Mirror Switch Down Signal |
4 | 0.5 D-BU | 1513 | Right Mirror Switch Right Signal |
5 | 0.5 RD | 5477 | Switch Voltage |
6 | 0.5 BK | 5478 | Ground |
7 | 0.5 OG | 1512 | Left Mirror Switch Right Signal |
8 | 0.3 YE | 5636 | Left/Right Mirror Selector Switch Signal |
9 | 0.5 D-GN | 1515 | Right Mirror Switch Down Signal |
10 | 0.5 BK/GN | 2851 | Memory Mirror Ground |
11 | -- | -- | Not Used |
12 | 0.5 RD/BU | 6839 | Memory Mirror Voltage |
Connector Part Information
|
Terminal Part Information
|
Pin | Wire Color | Circuit No. | Function |
|---|---|---|---|
B | 0.85 OG/BK | 233 | Park Brake Switch Signal |
Connector Part Information
|
Terminal Part Information
|
Pin | Wire Color | Circuit No. | Function |
|---|---|---|---|
1-2 | -- | -- | Not Used |
3 | 0.5 OG/BK | 1786 | Park/Neutral Signal |
4 | 0.5 YE | 772 | Transmission Range Switch Signal B |
5 | 0.5 BN/YE | 771 | Transmission Range Switch Signal A |
6 | 0.5 GY | 773 | Transmission Range Switch Signal C |
7 | 0.75 BK | 450 | Ground |
8 | 0.5 WH | 776 | Transmission Range Switch Signal P |
9-12 | -- | -- | Not Used |
Connector Part Information
|
Terminal Part Information
|
Pin | Wire Color | Circuit No. | Function |
|---|---|---|---|
A | 0.5 D-GN | 1228 | PC Solenoid Valve High Control |
B | 0.5 WH | 1229 | PC Solenoid Valve Low Control |
Connector Part Information
|
Terminal Part Information
|
Pin | Wire Color | Circuit No. | Function |
|---|---|---|---|
1 | 0.5 L-BU | 115 | Right Rear Speaker Output (-) (U65 or UW5) |
0.5 BN/BU | 1946 | Right Rear Speaker Output (-) (UQ7) | |
2 | 0.5 D-GN | 117 | Right Front Speaker Output (-) (U65 or UW5) |
0.5 L-GN | 1948 | Right Front Speaker Output (-) (UQ7) | |
3 | 0.5 GY | 118 | Left Front Speaker Output (-) (U65 or UW5) |
0.5 D-GN | 1947 | Left Front Speaker Output (-) (UQ7) | |
4 | 0.5 YE/RD | 116 | Left Rear Speaker Output (-) (U65 or UW5) |
0.5 BN | 1999 | Left Rear Speaker Output (-) (UQ7) | |
5 | 0.5 D-BU | 46 | Right Rear Speaker Output (+) (U65 or UW5) |
0.5 D-BU | 546 | Right Rear Speaker Output (+) (UQ7) | |
6 | 0.5 L-GN | 200 | Right Front Speaker Output (+) (U65 or UW5) |
0.5 L-GN/WH | 512 | Right Front Speaker Output (+) (UQ7) | |
7 | 0.5 BN | 201 | Left Front Speaker Output (+) (U65 or UW5) |
0.5 BN/OG | 511 | Left Front Speaker Output (+) (UQ7) | |
8 | 0.5 BN | 199 | Left Rear Speaker Output (+) (U65 or UW5) |
0.5 BN/WH | 599 | Left Rear Speaker Output (+) (UQ7) |
Connector Part Information
|
Terminal Part Information
|
Pin | Wire Color | Circuit No. | Function |
|---|---|---|---|
9 | 0.5 L-BU | 1860 | Front Center Speaker Output (+) |
10 | 0.85 OG/BU | 4340 | Battery Positive Voltage (RHD) |
0.85 RD/WH | 4340 | Battery Positive Voltage (LHD) | |
11 | -- | -- | Not Used |
12 | 1.25 BK | 1050 | Ground |
13 | 0.5 OG | 1860 | Front Center Speaker Output (+) |
14 | 0.85 OG/BU | 4340 | Battery Positive Voltage (RHD) |
0.85 RD/WH | 4340 | Battery Positive Voltage (LHD) | |
15 | -- | -- | Not Used |
16 | 1.25 BK | 1050 | Ground |
Connector Part Information
|
Terminal Part Information
|
Pin | Wire Color | Circuit No. | Function |
|---|---|---|---|
1 | -- | -- | Not Used |
2 | 0.3 D-BU/WH | 7001 | Common Auxiliary Audio Signal (-) (UQ7) |
3 | 0.3 RD | 5839 | Auxiliary Audio Left Signal (+) (UQ7) |
4 | 0.3 OG/BK | 2061 | Navigation Mono Audio Signal (-) |
5 | 0.3 PK | 367 | Left Audio Signal (+) |
6 | 0.3 D-GN/WH | 1547 | Common Audio Signal (-) |
7-8 | -- | -- | Not Used |
9 | 0.3 D-GN | 5841 | Auxiliary Audio Right Signal (+) (UQ7) |
10 | 0.3 PK/BK | 2062 | Navigation Mono Audio Signal (+) |
11 | 0.3 D-BU | 368 | Right Audio Signal (+) |
12 | -- | -- | Not Used |
Connector Part Information
|
Terminal Part Information
|
Pin | Wire Color | Circuit No. | Function |
|---|---|---|---|
1 | 0.3 L-BU | 659 | Telephone Audio Signal (-) |
2-3 | -- | -- | Not Used |
4 | 0.85 OG/BU | 1573 | Battery Positive Voltage (RHD) |
0.85 RD/WH | 1573 | Battery Positive Voltage (LHD) | |
5 | 0.3 WH | 700 | Telephone Audio Signal Mute |
6 | 0.35 D-GN | 5060 | Low Speed GMLAN Serial Data |
7 | 0.3 OG/BK | 658 | Telephone Audio Signal (+) |
8-9 | -- | -- | Not Used |
10 | 0.5 OG | 6978 | Amplifier Mute Control (UQ7) |
11 | 0.5 WH | 7066 | Amplifier Enable Signal (UQ7) |
12 | -- | -- | Not Used |
Connector Part Information |
Terminal Part Information |
Pin | Wire Color | Circuit No. | Function |
|---|---|---|---|
1 | 0.5 BK | -- | Ground |
2 | 0.5 GN | -- | Relay Controlled Voltage |
3 | 0.75 RD | -- | +5 Voltage Input |
4 | 0.5 WH | -- | Gas Temperature Signal |
Connector Part Information
|
Terminal Part Information
|
Pin | Wire Color | Circuit No. | Function |
|---|---|---|---|
A | 0.85 OG | 1732 | Courtesy Lamps Supply Voltage |
Connector Part Information
|
Terminal Part Information
|
Pin | Wire Color | Circuit No. | Function |
|---|---|---|---|
A | 0.5 D-BU | 737 | Rear Compartment Lamp Control |
Connector Part Information
|
Terminal Part Information
|
Pin | Wire Color | Circuit No. | Function |
|---|---|---|---|
1 | 0.3 OG/BK | 744 | Rear Compartment Lid Ajar Switch Signal |
2 | 0.5 D-BU | 737 | Rear Compartment Lamp Control |
3 | 0.85 BN/WH | 56 | Rear Compartment Lid Release Actuator |
4 | 0.85 BK | 1850 | Ground |
Connector Part Information
|
Terminal Part Information
|
Pin | Wire Color | Circuit No. | Function |
|---|---|---|---|
A | 0.5 D-BU | 6189 | Rear Compartment Relay Switch |
B | 0.5 BK/WH | 1450 | Ground |
Connector Part Information |
Terminal Part Information |
Pin | Wire Color | Circuit No. | Function |
|---|---|---|---|
1 | 0.5 BK | -- | Ground |
2 | 0.5 GN | -- | Relay Controlled Voltage |
3 | 0.75 WH | -- | Fuel Level Output |
4 | 0.5 BKGN | -- | Rear Lock-Off Control |
Connector Part Information
|
Terminal Part Information
|
Pin | Wire Color | Circuit No. | Function |
|---|---|---|---|
1 | 0.5 BN/BU | 343 | Accessory Voltage |
2 | 0.85 L-GN | 24 | Backup Lamp Supply Voltage |
3 | 0.5 BK | 1650 | Ground |
4 | -- | -- | Not Used |
Connector Part Information
|
Terminal Part Information
|
Pin | Wire Color | Circuit No. | Function |
|---|---|---|---|
1 | 1 BK | Ground | |
2 | 2 RD | Ultrasonic signal | |
3 | -- | -- | Not Used |
Connector Part Information
|
Terminal Part Information
|
Pin | Wire Color | Circuit No. | Function |
|---|---|---|---|
1 | 3 BK | Ground | |
2 | 4 RD | Ultrasonic signal | |
3 | -- | -- | Not Used |
Connector Part Information
|
Terminal Part Information
|
Pin | Wire Color | Circuit No. | Function |
|---|---|---|---|
1 | 5 BK | Ground | |
2 | 6 RD | Ultrasonic signal | |
3 | -- | -- | Not Used |
Connector Part Information
|
Terminal Part Information
|
Pin | Wire Color | Circuit No. | Function |
|---|---|---|---|
1 | 7 BK | Ground | |
2 | 8 RD | Ultrasonic signal | |
3 | -- | -- | Not Used |
Connector Part Information
|
Terminal Part Information
|
Pin | Wire Color | Circuit No. | Function |
|---|---|---|---|
1 | 8 BK | Ground |
Connector Part Information
|
Terminal Part Information
|
Pin | Wire Color | Circuit No. | Function |
|---|---|---|---|
1 | 8 BK | Ground |
Connector Part Information
|
Terminal Part Information
|
Pin | Wire Color | Circuit No. | Function |
|---|---|---|---|
A | 3 PU | 293 | Rear Defog Element Supply Voltage |
Connector Part Information
|
Terminal Part Information
|
Pin | Wire Color | Circuit No. | Function |
|---|---|---|---|
A | 3 BK | 1650 | Ground |
Connector Part Information
|
Terminal Part Information
|
Pin | Wire Color | Circuit No. | Function |
|---|---|---|---|
1 | 0.3 WH/BU | 1614 | Recirculation Door Control B |
2 | 0.3 WH/BK | 2274 | Recirculation Door Control Circuit |
3 | 0.3 D-BU/BK | 718 | Low Reference |
4 | 0.3 WH/RD | 1838 | Recirculation Door Position Signal |
5 | 0.3 WH/GN | 597 | 5-Volt Reference |
Connector Part Information |
Terminal Part Information |
Pin | Wire Color | Circuit No. | Function |
|---|---|---|---|
1 | 0.5 BU | -- | Ground |
2 | 0.5 YE | -- | Regulator Temperature Signal |
Connector Part Information
|
Terminal Part Information
|
Pin | Wire Color | Circuit No. | Function |
|---|---|---|---|
1 | 0.5 OG/WH | 1840 | Battery Positive Voltage |
2 | 0.35 D-GN | 5060 | Low Speed GMLAN Serial Data |
3 | -- | -- | Not Used |
4 | 0.5 BK | 1650 | Ground |
Connector Part Information
|
Terminal Part Information
|
Pin | Wire Color | Circuit No. | Function |
|---|---|---|---|
A | 0.75 L-GN | 1652 | Reverse Lockout Solenoid Control |
B | 0.75 PK/BK | 5705 | Reverse Lockout Solenoid Battery Power |
Connector Part Information
|
Terminal Part Information
|
Pin | Wire Color | Circuit No. | Function |
|---|---|---|---|
1 | -- | -- | Not Used |
2 | 0.3 BN/RD | 1269 | Driver Seat Recline Motor Forward Control |
3 | 0.3 TN | 1522 | Driver Seat Horizontal Motor Rearward Control |
4 | 0.3 BN/WH | 1270 | Driver Seat Recline Motor Rearward Control |
5 | 0.3 BN/GN | 1674 | Reference Voltage |
6 | 0.3 D-GN/BU | 1523 | Driver Seat Horizontal Motor Forward Control |
7 | 0.3 RD/WH | 1520 | Driver Seat Front Vertical Motor Down Control |
8 | 0.3 YE/BU | 1521 | Driver Seat Rear Vertical Motor Down Control |
9 | 0.3 PK | 1519 | Driver Seat Rear Vertical Motor Up Control |
10 | 0.3 BK/BU | 1518 | Driver Seat Front Vertical Motor Up Control |
Connector Part Information
|
Terminal Part Information
|
Pin | Wire Color | Circuit No. | Function |
|---|---|---|---|
1 | 2 OG | 1140 | Battery Positive Voltage |
2 | 2 BK | 2050 | Ground (LHD) |
2 BK | 1350 | Ground (RHD) | |
3 | 2 D-GN | 286 | Driver Seat Front Vertical Motor Up Control |
4 | 2 D-BU | 287 | Driver Seat Front Vertical Motor Down Control |
5 | 2 YE | 282 | Driver Seat Rear Vertical Motor Up Control |
6 | 2 L-BU | 283 | Driver Seat Rear Vertical Motor Down Control |
7 | 2 TN | 285 | Driver Seat Horizontal Motor Forward Control |
8 | 2 L-GN | 284 | Driver Seat Horizontal Motor Rearward Control |
9 | 2 L-GN | 276 | Driver Seat Recline Motor Forward Control |
10 | 2 L-BU | 277 | Driver Seat Recline Motor Rearward Control |
Connector Part Information
|
Terminal Part Information
|
Pin | Wire Color | Circuit No. | Function |
|---|---|---|---|
1 | 2 OG | 1140 | Battery Positive Voltage |
2 | 2 BK | 1350 | Ground (LHD) |
2 BK | 2050 | Ground (RHD) | |
3 | 2 D-GN | 297 | Passenger Seat Front Vertical Motor Up Control |
4 | 2 D-BU | 298 | Passenger Seat Front Vertical Motor Down Control |
5 | 2 YE | 288 | Passenger Seat Rear Vertical Motor Up Control |
6 | 2 L-BU | 289 | Passenger Seat Rear Vertical Motor Down Control |
7 | 2 TN | 296 | Passenger Seat Horizontal Motor Forward Control |
8 | 2 L-GN | 290 | Passenger Seat Horizontal Motor Rearward Control |
9 | 2 D-GN | 76 | Passenger Seat Recline Motor Forward |
10 | 2 D-BU | 77 | Passenger Seat Recline Motor Rearward |
Connector Part Information
|
Terminal Part Information
|
Pin | Wire Color | Circuit No. | Function |
|---|---|---|---|
1 | 0.3 L-GN | 2118 | Seat Belt Pretensioner - Left - High Control |
2 | 0.3 OG | 2119 | Seat Belt Pretensioner - Left - Low Control |
Connector Part Information
|
Terminal Part Information
|
Pin | Wire Color | Circuit No. | Function |
|---|---|---|---|
1 | 0.3 WH | 7206 | Driver Seat Belt Pretensioner Retractor - Low Control |
2 | 0.3 OG/GN | 7203 | Driver Seat Belt Pretensioner Retractor - High Control |
Connector Part Information
|
Terminal Part Information
|
Pin | Wire Color | Circuit No. | Function |
|---|---|---|---|
1 | 0.3 BK/WH | 2116 | Seat Belt Pretensioner - Right - High Control |
2 | 0.3 OG/BK | 2117 | Seat Belt Pretensioner - Right - Low Control |
Connector Part Information
|
Terminal Part Information
|
Pin | Wire Color | Circuit No. | Function |
|---|---|---|---|
1 | 0.3 PU/GN | 7205 | Passenger Seat Belt Pretensioner Retractor - High Control |
2 | 0.3 OG/BU | 7204 | Passenger Seat Belt Pretensioner Retractor - Low Control |
Connector Part Information
|
Terminal Part Information
|
Pin | Wire Color | Circuit No. | Function |
|---|---|---|---|
A | 0.3 D-BU | 238 | Seat Belt Switch - Left - Low Reference |
B | 0.3 BK/WH | 1363 | Seat Belt Switch - Left |
0.3 TN/WH | 1363 | Seat Belt Switch - Left |
Connector Part Information
|
Terminal Part Information
|
Pin | Wire Color | Circuit No. | Function |
|---|---|---|---|
A | 0.3 BK/WH | 1362 | Seat Belt Switch - Right - Signal |
B | 0.3 BK | 1363 | Seat Belt Switch - Left - Low Reference |
Connector Part Information
|
Terminal Part Information
|
Pin | Wire Color | Circuit No. | Function |
|---|---|---|---|
1 | 0.85 D-BU/RD | 287 | Driver Seat Front Vertical Motor Down Control (AG3) |
2 D-GN | 286 | Driver Seat Front Vertical Motor Up Control (AG1) | |
2 | 0.3 BK/OG | 1350 | Ground (AG3) |
3 | 0.3 BN/BU | 557 | Front Vertical Seat Motor Position Sensor Signal (AG3) |
4 | 0.3 D-GN/WH | 3040 | Battery Positive Voltage (AG3) |
5 | 0.85 BN | 286 | Driver Seat Front Vertical Motor Up Control (AG3) |
2 D-BU | 287 | Driver Seat Front Vertical Motor Down Control (AG1) |
Connector Part Information
|
Terminal Part Information
|
Pin | Wire Color | Circuit No. | Function |
|---|---|---|---|
1 | 2 D-GN | 297 | Passenger Seat Front Vertical Motor Up Control |
2-4 | -- | -- | Not Used |
5 | 2 D-BU | 298 | Passenger Seat Front Vertical Motor Down Control |
Connector Part Information
|
Terminal Part Information
|
Pin | Wire Color | Circuit No. | Function |
|---|---|---|---|
1 | 0.85 GY | 284 | Driver Seat Horizontal Motor Rearward Control (AG3) |
2 TN | 285 | Driver Seat Horizontal Motor Forward Control (AG1) | |
2 | 0.85 GY/RD | 285 | Driver Seat Horizontal Motor Forward Control (AG3) |
2 L-GN | 284 | Driver Seat Horizontal Motor Rearward Control (AG1) | |
3 | 0.3 BK/OG | 1350 | Ground (AG3) |
4 | 0.3 WH/GY | 569 | Horizontal Seat Motor Position Sensor Signal (AG3) |
Connector Part Information
|
Terminal Part Information
|
Pin | Wire Color | Circuit No. | Function |
|---|---|---|---|
1 | 2 TN | 296 | Passenger Seat Horizontal Motor Forward Control |
2 | 2 L-GN | 290 | Passenger Seat Horizontal Motor Rearward Control |
Connector Part Information
|
Terminal Part Information
|
Pin | Wire Color | Circuit No. | Function |
|---|---|---|---|
1 | 1.25 RD/BK | 4740 | Seat Module Supply Voltage |
2 | 0.3 D-BU/WH | 1985 | 5-Volt Reference |
3 | 2 RD | 1140 | Battery Positive Voltage |
4 | 0.3 WH/BK | 2293 | Right Front Adaptive Seat Switch / Mirror Dip Signal |
5 | 0.3 PU | 615 | Memory 1 Switch Signal |
6 | -- | -- | Not Used |
7 | 0.3 YE/WH | 616 | Memory 2 Switch Signal |
8 | -- | -- | Not Used |
9 | 0.3 D-BU/OG | 614 | Memory 3 Switch Signal |
10-11 | -- | -- | Not Used |
12 | 0.5 BK/OG | 1350 | Ground |
13 | 0.3 PK/BU | 7363 | MOD_WK |
14 | -- | -- | Not Used |
15 | 0.3 OG/BK | 1061 | UART Serial Data |
16-17 | -- | -- | Not Used |
18 | 0.3 WH/RD | 612 | Right Front Adaptive Seat Switch / Mirror Dip Control Signal |
19 | 0.3 TN/BK | 5978 | Memory 1 Switch Control Signal |
20 | 0.3 D-GN/PK | 5979 | Memory 2 Switch Control Signal |
21 | 0.3 YE/RD | 782 | Memory 3 Switch Control Signal |
22-24 | -- | -- | Not Used |
25 | 0.3 L-GN/BK | 5060 | Low Speed GMLAN Serial Data |
26 | -- | -- | Not Used |
Connector Part Information
|
Terminal Part Information
|
Pin | Wire Color | Circuit No. | Function |
|---|---|---|---|
1 | 0.85 D-GN/RD | 767 | Driver Seat Lumbar Motor Down Control |
2 | 0.3 RD/YE | 768 | Driver Seat Lumber Horizontal Position Sensor Signal |
Connector Part Information
|
Terminal Part Information
|
Pin | Wire Color | Circuit No. | Function |
|---|---|---|---|
1 | 0.3 PU/BU | 1062 | Driver Seat Lumbar Vertical Position Sensor Signal |
2 | 0.85 D-BU/YE | 1063 | Driver Seat Lumbar Motor Up Control |
Connector Part Information
|
Terminal Part Information
|
Pin | Wire Color | Circuit No. | Function |
|---|---|---|---|
1 | 0.85 D-BU | 283 | Driver Seat Rear Vertical Motor Down Control (AG3) |
2 YE | 282 | Driver Seat Rear Vertical Motor Up Control (AG1) | |
2 | 0.3 BK/OG | 1350 | Ground (AG3) |
3 | 0.3 RD/GN | 568 | Rear Vertical Seat Motor Position Sensor Signal (AG3) |
4 | 0.3 D-GN/PU | 2940 | Battery Positive Voltage (AG3) |
5 | 0.85 D-GN/YE | 282 | Driver Seat Rear Vertical Motor UP Control (AG3) |
2 L-BU | 283 | Driver Seat Rear Vertical Motor Down Control (AG1) |
Connector Part Information
|
Terminal Part Information
|
Pin | Wire Color | Circuit No. | Function |
|---|---|---|---|
1 | 2 YE | 288 | Passenger Seat Rear Vertical Motor Up Control |
2-4 | -- | -- | Not Used |
5 | 2 L-BU | 289 | Passenger Seat Rear Vertical Motor Down Control |
Connector Part Information
|
Terminal Part Information
|
Pin | Wire Color | Circuit No. | Function |
|---|---|---|---|
1 | 0.85 YE | 276 | Driver Seat Recline Motor Forward Control (AG3) |
2 L-GN | 276 | Driver Seat Recline Motor Forward Control (AG1) | |
2 | 0.3 BK/OG | 1350 | Ground (AG3) |
3 | -- | -- | Not Used |
4 | 0.3 D-GN/BN | 570 | Driver Seat Recline Motor Position Sensor Signal (AG3) |
5 | 0.85 PU/GN | 277 | Driver Seat Recline Motor Rearward Control (AG3) |
2 L-BU | 277 | Driver Seat Recline Motor Rearward Control (AG1) |
Connector Part Information
|
Terminal Part Information
|
Pin | Wire Color | Circuit No. | Function |
|---|---|---|---|
1 | 2 D-GN | 76 | Passenger Seat Recline Motor Forward |
2-4 | -- | -- | Not Used |
5 | 2 D-BU | 77 | Passenger Seat Recline Motor Rearward |
Connector Part Information
|
Terminal Part Information
|
Pin | Wire Color | Circuit No. | Function |
|---|---|---|---|
A | 0.35 PK | 1107 | Left Front Damper Control |
B | 0.35 PK/BK | 1113 | Left Front Damper Low Reference |
Connector Part Information
|
Terminal Part Information
|
Pin | Wire Color | Circuit No. | Function |
|---|---|---|---|
A | 0.35 WH/RD | 1114 | Left Rear Damper Control |
B | 0.35 WH/BK | 1115 | Left Rear Damper Low Reference |
Connector Part Information
|
Terminal Part Information
|
Pin | Wire Color | Circuit No. | Function |
|---|---|---|---|
A | 0.35 PU | 1116 | Right Front Damper Control |
B | 0.35 PU/WH | 1117 | Right Front Damper Low Reference |
Connector Part Information
|
Terminal Part Information
|
Pin | Wire Color | Circuit No. | Function |
|---|---|---|---|
A | 0.35 WH/RD | 1118 | Right Rear Damper Control |
B | 0.35 WH/BK | 1119 | Right Rear Damper Low Reference |
Connector Part Information
|
Terminal Part Information
|
Pin | Wire Color | Circuit No. | Function |
|---|---|---|---|
1 | 0.5 BK | 350 | Ground |
2 | 0.5 PU | 309 | Left Park Lamp Supply Voltage |
Connector Part Information
|
Terminal Part Information
|
Pin | Wire Color | Circuit No. | Function |
|---|---|---|---|
1 | 0.5 BN | 709 | Left Park Lamp Supply Voltage |
2 | 0.5 WH | 20 | Stop Lamp Supply Voltage |
Connector Part Information
|
Terminal Part Information
|
Pin | Wire Color | Circuit No. | Function |
|---|---|---|---|
1 | 0.5 BK | 350 | Ground |
2 | 0.5 BN/WH | 709 | Right Park Lamp Supply Voltage |
Connector Part Information
|
Terminal Part Information
|
Pin | Wire Color | Circuit No. | Function |
|---|---|---|---|
1 | 0.5 BN | 309 | Right Park Lamp Supply Voltage |
2 | 0.5 WH | 20 | Stop Lamp Supply Voltage |
Connector Part Information
|
Terminal Part Information
|
Pin | Wire Color | Circuit No. | Function |
|---|---|---|---|
1 | 0.35 BK | 31 | Accessory Power |
2 | 0.35 BK | 32 | Battery Power |
3 | 0.35 BK | 33 | Siren Control Signal |
4 | 0.35 BK | 34 | Ground |
Connector Part Information
|
Terminal Part Information
|
Pin | Wire Color | Circuit No. | Function |
|---|---|---|---|
1 | 0.5 GY | 118 | Left Front Speaker Output (-) |
2 | 0.5 BN | 201 | Left Front Speaker Output (+) |
Connector Part Information
|
Terminal Part Information
|
Pin | Wire Color | Circuit No. | Function |
|---|---|---|---|
1 | 0.5 D-GN | 117 | Right Front Speaker Output (-) |
2 | 0.5 L-GN | 200 | Right Front Speaker Output (+) |
Connector Part Information
|
Terminal Part Information
|
Pin | Wire Color | Circuit No. | Function |
|---|---|---|---|
A | 0.5 L-BU | 1960 | Front Center Speaker Output (-) |
B | 0.5 YE | 1860 | Front Center Speaker Output (+) |
Connector Part Information
|
Terminal Part Information
|
Pin | Wire Color | Circuit No. | Function |
|---|---|---|---|
A | 0.5 GY | 118 | Left Front Speaker Output (-) |
B | 0.5 BN | 201 | Left Front Speaker Output (+) (RHD) |
0.5 TN | 201 | Left Front Speaker Output (+) (LHD) |
Connector Part Information
|
Terminal Part Information
|
Pin | Wire Color | Circuit No. | Function |
|---|---|---|---|
1 | 0.5 GY | 118 | Left Front Speaker Output (-) |
2 | 0.5 BN | 201 | Left Front Speaker Output (+) |
|
Terminal Part Information
|
Pin | Wire Color | Circuit No. | Function |
|---|---|---|---|
1 | 0.5 BN | 201 | Left Front Speaker Output (+) |
2 | 0.3 GY | 118 | Left Front Speaker Output (-) |
Connector Part Information
|
Terminal Part Information
|
Pin | Wire Color | Circuit No. | Function |
|---|---|---|---|
A | 0.85 GY | 118 | Left Front Speaker Output (+) |
B | 0.85 TN | 201 | Left Front Speaker Output (-) |
Connector Part Information
|
Terminal Part Information
|
Pin | Wire Color | Circuit No. | Function |
|---|---|---|---|
1 | 0.5 YE/RD | 116 | Left Rear Speaker Output (-) |
2 | 0.5 BN | 199 | Left Rear Speaker Output (+) |
Connector Part Information
|
Terminal Part Information
|
Pin | Wire Color | Circuit No. | Function |
|---|---|---|---|
A | 0.5 YE/RD | 116 | Left Rear Speaker Output (-) |
B | 0.5 BN | 199 | Left Rear Speaker Output (+) |
Connector Part Information
|
Terminal Part Information
|
Pin | Wire Color | Circuit No. | Function |
|---|---|---|---|
A | 1.25 D-BU/WH | 346 | Left Rear Subwoofer Speaker Output (+) |
B | 1.25 L-GN/BK | 1794 | Left Rear Subwoofer Speaker Output (-) |
Connector Part Information
|
Terminal Part Information
|
Pin | Wire Color | Circuit No. | Function |
|---|---|---|---|
A | 0.5 D-GN | 117 | Right Front Speaker Output (-) |
B | 0.5 L-GN | 200 | Right Front Speaker Output (+) (LHD) |
Connector Part Information
|
Terminal Part Information
|
Pin | Wire Color | Circuit No. | Function |
|---|---|---|---|
1 | 0.5 D-GN | 117 | Right Front Speaker Output (-) |
2 | 0.5 L-GN | 200 | Right Front Speaker Output (+) |
|
Terminal Part Information
|
Pin | Wire Color | Circuit No. | Function |
|---|---|---|---|
1 | 0.5 BN | 201 | Right Front Speaker Output (+) |
2 | 0.3 GY | 118 | Right Front Speaker Output (-) |
Connector Part Information
|
Terminal Part Information
|
Pin | Wire Color | Circuit No. | Function |
|---|---|---|---|
A | 0.85 D-GN | 117 | Right Front Speaker Output (+) |
B | 0.85 L-GN | 200 | Right Front Speaker Output (-) |
Connector Part Information
|
Terminal Part Information
|
Pin | Wire Color | Circuit No. | Function |
|---|---|---|---|
1 | 0.5 L-BU | 115 | Right Rear Speaker Output (-) |
2 | 0.5 D-BU | 46 | Right Rear Speaker Output (+) |
Connector Part Information
|
Terminal Part Information
|
Pin | Wire Color | Circuit No. | Function |
|---|---|---|---|
A | 0.5 L-BU | 115 | Right Rear Speaker Output (-) |
B | 0.5 D-BU | 46 | Right Rear Speaker Output (+) |
Connector Part Information
|
Terminal Part Information
|
Pin | Wire Color | Circuit No. | Function |
|---|---|---|---|
A | 1.25 L-BU/BK | 315 | Right Rear Subwoofer Speaker Output (+) |
B | 1.25 D-GN | 1795 | Right Rear Subwoofer Speaker Output (-) |
Terminal Part Information
|
Pin | Wire Color | Circuit No. | Function |
|---|---|---|---|
A | 3 PU | 6 | Starter Solenoid Crank Voltage |
Terminal Part Information
|
Pin | Wire Color | Circuit No. | Function |
|---|---|---|---|
A | 50 RD | 1 | Battery Voltage |
|
Terminal Part Information
|
Pin | Wire Color | Circuit No. | Function |
|---|---|---|---|
1 | 0.5 PU/BN | 2501 | High Speed GMLAN Serial Data Bus (-) (without HSV) |
0.35 BN | 2501 | High Speed GMLAN Serial Data Bus- (HSV) | |
2 | 0.5 D-BU/BN | 2501 | High Speed GMLAN Serial Data Bus (-) (without HSV) |
0.35 BN | 2501 | High Speed GMLAN Serial Data Bus- (HSV) | |
3 | 0.5 GY | 2500 | High Speed GMLAN Serial Data Bus (+) (without HSV) |
0.35 BN/BK | 2500 | High Speed GMLAN Serial Data Bus+ (HSV) | |
4 | 0.5 BN | 2500 | High Speed GMLAN Serial Data Bus (+) (without HSV) |
0.35 BN/BK | 2500 | High Speed GMLAN Serial Data Bus+ (HSV) | |
5 | 0.5 L-BU | 5986 | Communication Enable Relay Supply Voltage (without HSV) |
0.5 L-BU | 5986 | Communication Enable Relay Supply Voltage (HSV) | |
6 | 0.5 OG | 2088 | Steering Wheel Position Sensor Low Reference (without HSV) |
0.5 BK/BU | 2088 | Steering Wheel Position Sensor Low Reference (HSV) |
|
Terminal Part Information
|
Pin | Wire Color | Circuit No. | Function |
|---|---|---|---|
1 | 0.3 GY/BU | 7367 | Steering Wheel Resistor Ladder Right Signal #2 |
2 | 0.3 YE | 7364 | Steering Wheel Resistor Ladder Right Signal #1 |
3 | 0.3 BN | 7312 | Steering Wheel Resistor Ladder Left Signal #1 |
4 | 0.3 L-BU | 7313 | Steering Wheel Resistor Ladder Left Signal #2 |
5 | 0.3 D-GN | 897 | Steering Wheel Controls Low Reference |
6 | 0.3 OG/BK | 5201 | Steering Wheel Controls Signal |
7 | 0.3 BK | 1551 | Ground |
8 | 0.3 PU | 7005 | I/P Dimming Control |
Connector Part Information
|
Terminal Part Information
|
Pin | Wire Color | Circuit No. | Function |
|---|---|---|---|
A | 0.3 L-BU/BK | 7425 | Left Solar Sensor |
B | 0.3 GY | 7424 | Right Solar Sensor |
C | 0.3 BK | 61 | Ground |
D | 0.3 L-GN/BK | 1137 | DRL Ambient Light Sensor Signal |
|
Terminal Part Information
|
Pin | Wire Color | Circuit No. | Function |
|---|---|---|---|
1 | 0.5 GY | Sunroof Switch Low Reference | |
2 | 0.3 D-GN | 5027 | Sunroof Switch - Data 1 |
3 | 0.3 YE | 5028 | Sunroof Switch - Data 2 |
4 | 0.3 OG | 5029 | Sunroof Switch - Data 3 |
5 | 0.3 WH | 5030 | Sunroof Switch - Data 4 |
6 | -- | -- | Not Used |
7 | 1.25 OG/BU | 3040 | Battery Positive Voltage |
8 | -- | -- | Not Used |
9 | 0.5 YE | 443 | Ignition Voltage 1 |
10 | 1.25 BK | 850 | Ground |
|
Terminal Part Information
|
Pin | Wire Color | Circuit No. | Function |
|---|---|---|---|
1 | 0.5 BK | 850 | Ground |
2 | 0.3 D-GN | 5027 | Sunroof Switch - Data 1 |
3 | 0.3 YE | 5028 | Sunroof Switch - Data 2 |
4 | -- | -- | Not Used |
5 | 0.3 OG | 5029 | Sunroof Switch - Data 3 |
6 | 0.3 WH | 5030 | Sunroof Switch - Data 4 |
|
Terminal Part Information
|
Pin | Wire Color | Circuit No. | Function |
|---|---|---|---|
1 | 0.5 BK/WH | 851 | Ground |
2 | 0.5 OG | 1732 | Courtesy Lamps Supply Voltage |
|
Terminal Part Information
|
Pin | Wire Color | Circuit No. | Function |
|---|---|---|---|
1 | 0.5 BK/WH | 851 | Ground |
2 | 0.5 OG | 1732 | Courtesy Lamps Supply Voltage |
Connector Part Information
|
Terminal Part Information
|
Pin | Wire Color | Circuit No. | Function |
|---|---|---|---|
A | 0.35 D-BU/WH | 1205 | Left Front Suspension Position Sensor Voltage Reference |
B | 0.35 D-BU | 1207 | Left Front Suspension Position Sensor Signal |
C | 0.35 D-BU/BK | 1206 | Left Front Suspension Position Sensor Low Reference |
Connector Part Information
|
Terminal Part Information
|
Pin | Wire Color | Circuit No. | Function |
|---|---|---|---|
A | 0.35 GY/WH | 1208 | Left Rear Suspension Position Sensor Voltage Reference |
B | 0.35 GY | 1210 | Left Rear Suspension Position Sensor Signal |
C | 0.35 GY/BK | 1209 | Left Rear Suspension Position Sensor Low Reference |
Connector Part Information
|
Terminal Part Information
|
Pin | Wire Color | Circuit No. | Function |
|---|---|---|---|
A | 0.35 D-GN/WH | 1211 | Right Front Suspension Position Sensor Voltage Reference |
B | 0.35 D-GN | 1213 | Right Front Suspension Position Sensor Signal |
C | 0.35 D-GN/BK | 1212 | Right Front Suspension Position Sensor Low Reference |
Connector Part Information
|
Terminal Part Information
|
Pin | Wire Color | Circuit No. | Function |
|---|---|---|---|
A | 0.35 BN/WH | 1214 | Right Rear Suspension Position Sensor Voltage Reference |
B | 0.35 BN | 1216 | Right Rear Suspension Position Sensor Signal |
C | 0.35 BN/BK | 1215 | Right Rear Suspension Position Sensor Low Reference |
Connector Part Information
|
Terminal Part Information
|
Pin | Wire Color | Circuit No. | Function |
|---|---|---|---|
1 | 0.85 BK/WH | 1851 | Ground |
2 | 0.85 BK | 1850 | Ground |
3 | 0.85 PU | 709 | Left Park Lamp Supply Voltage |
4 | 0.85 L-BU | 20 | Stop Lamp Switch Signal |
5 | 0.85 L-GN | 24 | Backup Lamp Supply Voltage |
6 | 0.85 YE/BK | 1334 | Left Rear Turn Signal Lamp Supply Voltage |
Connector Part Information
|
Terminal Part Information
|
Pin | Wire Color | Circuit No. | Function |
|---|---|---|---|
1 | 0.85 BK/WH | 1851 | Ground |
2 | 0.85 BK | 1850 | Ground |
3 | 0.85 PU | 709 | Left Park Lamp Supply Voltage |
4 | 0.85 L-BU | 20 | Stop Lamp Switch Signal |
5 | 0.85 L-GN | 24 | Backup Lamp Supply Voltage |
6 | 0.85 YE/BK | 1334 | Left Rear Turn Signal Lamp Supply Voltage |
Connector Part Information
|
Terminal Part Information
|
Pin | Wire Color | Circuit No. | Function |
|---|---|---|---|
1 | 0.85 BK/WH | 1851 | Ground |
2 | 0.85 BK | 1850 | Ground |
3 | 0.85 BN/WH | 709 | Right Park Lamp Supply Voltage |
4 | 0.85 L-BU | 20 | Stop Lamp Switch Signal |
5 | 0.85 L-GN | 24 | Backup Lamp Supply Voltage |
6 | 0.85 D-GN/WH | 1335 | Right Rear Turn Signal Lamp Supply Voltage |
Connector Part Information
|
Terminal Part Information
|
Pin | Wire Color | Circuit No. | Function |
|---|---|---|---|
1 | 0.85 BK/WH | 1851 | Ground |
2 | 0.85 BK | 1850 | Ground |
3 | 0.85 BN/WH | 709 | Right Park Lamp Supply Voltage |
4 | 0.85 L-BU | 20 | Stop Lamp Switch Signal |
5 | 0.85 L-GN | 24 | Backup Lamp Supply Voltage |
6 | 0.85 D-GN/WH | 1335 | Right Rear Turn Signal Lamp Supply Voltage |
Connector Part Information
|
Terminal Part Information
|
Pin | Wire Color | Circuit No. | Function |
|---|---|---|---|
1 | 0.5 BK | 1050 | Ground |
2 | -- | -- | Not Used |
3 | 0.3 L-GN | 5060 | Low Speed GMLAN Serial Data |
4-6 | -- | -- | Not Used |
7 | 0.5 OG/WH | 2340 | Battery Positive Voltage |
8 | 0.3 YE/BK | 2516 | Keypad Green LED Signal |
9 | 0.3 BN/WH | 2517 | Keypad Red LED Signal |
10-12 | -- | -- | Not Used |
Connector Part Information
|
Terminal Part Information
|
Pin | Wire Color | Circuit No. | Function |
|---|---|---|---|
13 | 0.3 D-GN/WH | 2514 | Keypad Signal |
14 | -- | -- | Not Used |
15 | 0.3 L-BU | 1405 | Telephone Audio Signal (+) |
16 | 0.3 OG/BK | 1406 | Telephone Audio Signal (-) |
17 | 0.3 L-BU | 1405 | Telephone Audio Signal (+) |
18 | 0.3 PK | 654 | Cellular Telephone Microphone Low Reference |
19 | 0.3 D-GN | 655 | Cellular Microphone Signal |
20 | 0.5 TN | 1860 | Left Front Speaker Output (+) |
0.5 OG | 1860 | Front Center Speaker Output (+) | |
21 | 0.3 L-GN/BK | 2515 | Keypad Supply Voltage |
22 | 0.5 PK | 1339 | Ignition 1 Voltage |
23 | 0.3 WH | 700 | Telephone Audio Signal Mute |
24 | -- | -- | Not Used |
25 | 0.3 OG/BK | 1406 | Telephone Audio Signal (-) |
26-27 | -- | -- | Not Used |
28 | 0.5 GY | 1960 | Left Front Speaker Output (-) |
0.5 L-BU | 1960 | Front Center Speaker Output (-) |
|
Terminal Part Information
|
Pin | Wire Color | Circuit No. | Function |
|---|---|---|---|
A | 0.75 D-GN | 1149 | Content Theft Horn Control |
|
Terminal Part Information
|
Pin | Wire Color | Circuit No. | Function |
|---|---|---|---|
A | 0.75 BK | 350 | Ground |
|
Terminal Part Information
|
Pin | Wire Color | Circuit No. | Function |
|---|---|---|---|
1 | 0.3 OG/BK | 1040 | Battery Positive Voltage |
2 | 0.3 BN | 4 | Ignition 1 Voltage |
3 | 0.3 BK | 850 | Ground |
4 | -- | -- | Not Used |
5 | 0.35 D-GN | 9206 | Low Speed GMLAN Serial Data |
|
Terminal Part Information
|
Pin | Wire Color | Circuit No. | Function |
|---|---|---|---|
A | 0.75 BN | 582 | TAC Motor Control - 2 |
B | 0.75 YE | 581 | TAC Motor Control - 1 |
C | 0.5 BN/BK | 2752 | Low Reference |
D | 0.5 D-GN | 485 | TP Sensor 1 Signal |
E | 0.5 GY | 2701 | 5-Volt Reference |
F | 0.5 PU | 486 | TP Sensor 2 Signal |
Connector Part Information
|
Terminal Part Information
|
Pin | Wire Color | Circuit No. | Function |
|---|---|---|---|
1 | 0.35 BK | 9 | Alarm Control Module Power Control |
2 | -- | -- | Not Used |
3 | 0.35 BK | 4 | Inclination Sensor Signal |
4 | 0.35 BK | 6 | Ground |
Connector Part Information
|
Terminal Part Information
|
Pin | Wire Color | Circuit No. | Function |
|---|---|---|---|
1 | 0.35 YE | 1 | Left Indicator Output |
2 | 0.35 BK | 2 | Backup Output |
3 | 0.35 WH | 19 | Ground |
4 | 0.35 D-GN | 19 | Right Indicator Output |
5 | 0.35 D-BU | 4 | Trailer Brake Output |
6 | 0.35 RD | 5 | Stop Output |
7 | 0.35 BN | 6 | Park Output |
8 | 0.35 WH | 7 | Ground |
9 | 0.35 GY | 30 | Object Detection/Rear Park Assist Ground |
Connector Part Information
|
Terminal Part Information
|
Pin | Wire Color | Circuit No. | Function |
|---|---|---|---|
1 | 0.35 RD | 6 | Stop Output |
2 | 0.35 BN | 7 | Park Output |
3 | 0.35 WH | 19 | Ground |
4 | 0.35 BN/WH | 309 | Right Park lamp Supply Voltage |
5 | 0.35 L-BU | 20 | Stop Lamp Supply Voltage |
6 | 0.35 RD/WH | 4440 | Battery Positive Voltage |
7 | 0.35 D-GN | 4 | Right Indicator Output |
8 | 0.35 YE | 1 | Left Indicator Output |
9 | 0.35 YE/BK | 1334 | Left Rear Turn Signal Lamp Supply Voltage |
10 | 0.35 D-GN/WH | 1335 | Right Rear Turn Signal Supply Voltage |
11 | 0.35 BK | 2 | Backup Output |
12 | 0.35 L-GN | 24 | Backup Supply Voltage |
Connector Part Information
|
Terminal Part Information
|
Pin | Wire Color | Circuit No. | Function |
|---|---|---|---|
1 | 0.35 BK | 5 | Electric Brakes |
2 | 0.35 RD | 6 | Trailer Stop |
Connector Part Information
|
Terminal Part Information
|
Pin | Wire Color | Circuit No. | Function |
|---|---|---|---|
1 | 0.35 GY | 30 | Object Detection/Rear Park Assist Ground |
Connector Part Information
|
Terminal Part Information
|
Pin | Wire Color | Circuit No. | Function |
|---|---|---|---|
A | 0.5 YE | 418 | TCC PWM Solenoid Valve Control |
B | 0.5 WH | 1525 | Clutch Pressure Control Solenoid Valve 1 High Control |
|
Terminal Part Information
|
Pin | Wire Color | Circuit No. | Function |
|---|---|---|---|
1 | 0.5 BN | 418 | TCC PWM Solenoid Valve Control |
2 | 0.5 L-GN | 1222 | Shift Solenoid A Valve Control |
3 | 0.5 OG | 1983 | Transmission Turbine Speed Switch Signal |
4-5 | -- | -- | Not Used |
6 | 0.5 BN | 2501 | High Speed GMLAN Serial Data Bus- |
7 | 0.5 BN/BK | 2500 | High Speed GMLAN Serial Data Bus+ |
8-10 | -- | -- | Not Used |
11 | 0.5 D-BU | 5985 | TCM Accessory Signal |
12-13 | -- | -- | Not Used |
14 | 0.5 WH/GN | 687 | 3-2 Shift Solenoid Valve Control |
15 | -- | -- | Not Used |
16 | 0.5 L-GN/BK | 822 | OSS Low Signal |
17 | 0.5 L-BU/WH | 1229 | PC Solenoid Valve Low Control |
18-19 | -- | -- | Not Used |
20 | 0.5 YE/BK | 1223 | Shift Solenoid B Valve Control |
21-22 | -- | -- | Not Used |
23 | 0.5 GY | 773 | Transmission Range Switch Signal C |
24 | 0.5 PK | 1224 | Transmission Fluid Pressure Switch Signal A |
25 | 0.5 BN/OG | 422 | TCC Solenoid Valve Control |
26-28 | -- | -- | Not Used |
29 | 0.5 BN/YE | 771 | Transmission Range Switch Signal A |
30 | 0.5 BN/WH | 2762 | Low Reference |
31 | 0.5 PK | 439 | Ignition 1 Voltage |
32 | 0.75 OG/YE | 3640 | Battery Positive Voltage |
33 | 0.5 OG | 1226 | Transmission Fluid Pressure Switch Signal C |
34 | -- | -- | Not Used |
35 | 0.5 YE/BK | 1227 | TFT Sensor Signal |
36 | -- | -- | Not Used |
37 | 0.5 BN | 2501 | High Speed GMLAN Serial Data Bus- |
38 | 0.5 BN/BK | 2500 | High Speed GMLAN Serial Data Bus+ |
39 | 0.5 WH | 776 | Transmission Range Switch Signal P |
40 | 0.5 OG/BK | 1228 | PC Solenoid Valve High Control |
41 | 0.5 PU/WH | 821 | OSS High Signal |
42 | 0.5 WH/BU | 17 | Stop Lamp Switch Signal |
43 | -- | -- | Not Used |
44 | 0.5 D-BU | 1225 | Transmission Fluid Pressure Switch Signal B |
45 | 0.5 L-BU | 1984 | Transmission Turbine Speed Switch Low Reference |
46 | 0.5 YE | 772 | Transmission Range Switch Signal B |
47-48 | -- | -- | Not Used |
49 | 0.75 BK | 450 | Ground |
Connector Part Information
|
Terminal Part Information
|
Pin | Wire Color | Circuit No. | Function |
|---|---|---|---|
1 | 0.3 BK | 850 | Ground |
2 | 0.3 BN/RD | 1356 | Flash To Pass Switch Signal |
3 | 0.3 PU/YE | 524 | Headlamp Dimmer Switch High Beam Signal |
4 | 0.3 BK | 850 | Ground |
5 | 0.5 GY | 1884 | Cruise Control Switch Signal |
6 | 0.3 PU | 1375 | Steering Wheel Control Supply Voltage |
7 | 0.3 D-BU/WH | 1415 | Right Front Turn Signal Switch Signal |
8 | 0.3 L-BU/WH | 1414 | Left Front Turn Signal Switch Signal |
Connector Part Information
|
Terminal Part Information
|
Pin | Wire Color | Circuit No. | Function |
|---|---|---|---|
1 | 0.35 BK | 9 | Alarm Control Module Power Control |
2 | 0.35 BK | 7 | Intrusion Sensor Signal |
3 | 0.35 BK | 6 | Gound |
4 | -- | -- | Not Used |
Connector Part Information
|
Terminal Part Information
|
Pin | Wire Color | Circuit No. | Function |
|---|---|---|---|
A | 0.75 OG | 5494 | Cylinder Shut Off Solenoid 4 |
B | 0.75 GY | 5493 | Cylinder Shut Off Solenoid 3 |
C | 0.75 D-BU | 5491 | Cylinder Shut Off Solenoid 1 |
D | 0.75 D-GN/BK | 5492 | Cylinder Shut Off Solenoid 2 |
E | 0.75 PK/BU | 5293 | Ignition 1 Voltage |
Connector Part Information
|
Terminal Part Information
|
Pin | Wire Color | Circuit No. | Function |
|---|---|---|---|
A | 0.75 PK/BU | Ignition 1 Voltage | |
B | 0.75 BN | PWM_OUT | |
C | 0.75 PU/BK | PWR_RTN | |
D | 0.75 L-BU/WH | PWM | |
E | 0.75 BK | Ground |
Connector Part Information
|
Terminal Part Information
|
Pin | Wire Color | Circuit No. | Function |
|---|---|---|---|
1 | 0.35 D-GN | 5060 | Low Speed GMLAN Serial Data |
2 | 0.3 BN/WH | 2517 | Keypad Red LED Signal |
3 | 0.3 YE/BK | 2516 | Keypad Green LED Signal |
4-5 | -- | -- | Not Used |
6 | 0.3 L-GN/BK | 2515 | Keypad Supply Voltage |
7 | 0.5 BK | 1050 | Ground |
8-9 | -- | -- | Not Used |
10 | 0.5 BN/BK | 9008 | High Speed GMLAN Serial Data Bus+ |
11 | 0.3 GN/WH | 2514 | Keypad Signal |
12 | 0.5 BN | 9009 | High Speed GMLAN Serial Data Bus- |
13 | 0.5 YE/BK | 950 | VCIM Battery Low Reference |
14 | 0.5 BN/WH | 9940 | VCIM Battery Power |
15 | 0.5 OG | 3340 | Battery Positive Voltage |
16 | -- | -- | Not Used |
Connector Part Information
|
Terminal Part Information
|
Pin | Wire Color | Circuit No. | Function |
|---|---|---|---|
1 | 0.3 D-BU | 658 | Cellular Telephone Voice Signal |
2 | 0.3 L-BU | 659 | Cellular Telephone Voice Low Reference |
3 | 0.5 BN/BK | 9010 | High Speed GMLAN Serial Data Bus+ |
4 | 0.5 BN | 9011 | High Speed GMLAN Serial Data Bus- |
5-7 | -- | -- | Not Used |
8 | 0.5 BK | -- | Ground |
9 | 0.3 D-GN | 0655 | Cellular Microphone Signal |
10 | 0.3 BK | 1782 | Drain Wire |
11 | -- | -- | Not Used |
12 | 0.3 WH | 700 | Telephone Audio Signal Mute |
Connector Part Information
|
Terminal Part Information
|
Pin | Wire Color | Circuit No. | Function |
|---|---|---|---|
A | 0.5 BN/WH | 9940 | VCIM Battery Power |
B | 0.5 YE/BK | 950 | VCIM Battery Low Reference |
Connector Part Information
|
Terminal Part Information
|
Pin | Wire Color | Circuit No. | Function |
|---|---|---|---|
A | 0.5 PU/WH | 821 | OSS High Signal |
B | 0.5 L-GN/BK | 822 | OSS Low Signal |
Connector Part Information
|
Terminal Part Information
|
Pin | Wire Color | Circuit No. | Function |
|---|---|---|---|
1 | 0.18 YE | 6889 | Battery Positive (LHD) |
0.18 OG | 6889 | Battery Positive (RHD) | |
2 | -- | -- | Not Used |
3 | 0.18 PU | 6903 | Ground (LHD) |
0.18 L-BU | 6903 | Ground (RHD) | |
4 | -- | -- | Not Used |
5 | 0.18 GY | 6900 | RSTX / DVTX DVDIN / TX (LHD) |
0.18 YE | 6900 | RSTX / DVTX DVDIN / TX (RHD) | |
6 | 0.18 D-BU | 6901 | RSRX / RS485RX / RX (LHD) |
0.18 D-GN | 6901 | RSRX / RS485RX / RX (RHD) | |
7 | 0.18 BARE | 6904 | Drain Wire (LHD) |
8 | -- | -- | Not Used |
9 | 0.18 WH | 6890 | DVD Audio Left Signal (+) (LHD) |
0.18 L-GN | 6890 | DVD Audio Left Signal (+) (RHD) | |
10 | 0.18 WH | 6892 | DVD Audio Left Signal (-) (LHD) |
0.18 L-GN | 6892 | DVD Audio Left Signal (-) | |
11 | 0.18 RD | 6891 | DVD Audio Right Signal (+) (LHD) |
0.18 D-GN/WH | 6891 | DVD Audio Right Signal (+) (RHD) | |
12 | 0.18 RD | 6979 | DVD Audio Right Signal (-) (LHD) |
0.18 D-GN/WH | 6979 | DVD Audio Right Signal (-) (RHD) | |
13 | 0.18 BK | 7394 | DVD Video Signal (-) (LHD) |
0.18 WH | 7394 | DVD Video Signal (-) (RHD) | |
14 | 0.18 BK | 7396 | DVD Video Signal (+) (LHD) |
0.18 WH | 7396 | DVD Video Signal (+) (RHD) |
Connector Part Information
|
Terminal Part Information
|
Pin | Wire Color | Circuit No. | Function |
|---|---|---|---|
1 | 0.18 OG | 6849 | Battery Positive |
2 | -- | -- | Not Used |
3 | 0.18 L-BU | 6873 | Ground |
4 | -- | -- | Not Used |
5 | 0.18 YE | 5845 | RS485TX |
6 | 0.18 D-GN | 1098 | RS485RX |
7 | 0.18 BARE | 5339 | Shield |
8 | -- | -- | Not Used |
9 | 0.18 L-GN | 5826 | DVD Audio Left Signal (+) |
10 | 0.18 L-GN | 5825 | DVD Audio Left Signal (-) |
11 | 0.18 D-GN/WH | 5828 | DVD Audio Right Signal (+) |
12 | 0.18 D-GN/WH | 5827 | DVD Audio Right Signal (-) |
13 | 0.18 WH | 6976 | DVD Video Signal (-) |
14 | 0.18 WH | 6975 | DVD Video Signal (+) |
Connector Part Information
|
Terminal Part Information
|
Pin | Wire Color | Circuit No. | Function |
|---|---|---|---|
1 | 0.18 YE | 2059 | Auxiliary Audio Left Signal (+) |
2 | 0.18 YE/BK | 5843 | Auxiliary Audio Left Signal (-) |
3 | 0.18 WH/RD | 2058 | Auxiliary Audio Right Signal (+) |
4 | 0.18 WH/RD | 5345 | Auxiliary Audio Right Signal (-) |
5 | 0.18 PU | 2057 | Auxiliary Video Signal (-) |
6 | 0.18 PU | 2056 | Auxiliary Video Signal (+) |
Connector Part Information
|
Terminal Part Information
|
Pin | Wire Color | Circuit No. | Function |
|---|---|---|---|
1 | 0.18 OG | 6889 | Battery Positive Voltage |
2 | -- | -- | Not Used |
3 | 0.18 L-BU | 6903 | Ground |
4 | -- | -- | Not Used |
5 | 0.18 YE | 6900 | RS485TX |
6 | 0.18 D-GN | 6901 | RS485RX |
7 | 0.18 BARE | 6904 | Shield |
8 | -- | -- | Not Used |
9 | 0.18 L-GN | 6890 | DVD Audio Left Signal (+) |
10 | 0.18 L-GN | 6892 | DVD Audio Left Signal (-) |
11 | 0.18 D-GN/WH | 6891 | DVD Audio Right Signal (+) |
12 | 0.18 D-GN/WH | 6979 | DVD Audio Right Signal (-) |
13 | 0.18 WH | 7394 | DVD Video Signal (-) |
14 | 0.18 WH | 7396 | DVD Video Signal (+) |
Connector Part Information
|
Terminal Part Information
|
Pin | Wire Color | Circuit No. | Function |
|---|---|---|---|
1 | 0.18 YE | 2059 | Auxiliary Audio Left Signal (+) |
2 | 0.18 YE/BK | 5843 | Auxiliary Audio Left Signal (-) |
3 | 0.18 WH/RD | 2058 | Auxiliary Audio Right Signal (+) |
4 | 0.18 WH/RD | 5345 | Auxiliary Audio Right Signal (-) |
5 | 0.18 PU | 2057 | Auxiliary Video Signal (-) |
6 | 0.18 PU | 2056 | Auxiliary Video Signal (+) |
Connector Part Information
|
Terminal Part Information
|
Pin | Wire Color | Circuit No. | Function |
|---|---|---|---|
1 | 0.75 BN | 830 | Wheel Speed Sensor Signal Left Front |
2 | 0.75 BK | 7064 | Wheel Speed Sensor Supply Voltage Left Front |
Connector Part Information
|
Terminal Part Information
|
Pin | Wire Color | Circuit No. | Function |
|---|---|---|---|
1 | 0.5 BN/BK | 884 | Wheel Speed Sensor Signal Left Rear |
2 | 0.5 GY | 7127 | Wheel Speed Sensor Supply Voltage Left Rear |
Connector Part Information
|
Terminal Part Information
|
Pin | Wire Color | Circuit No. | Function |
|---|---|---|---|
1 | 0.75 BN | 872 | Wheel Speed Sensor Signal Right Front |
2 | 0.75 BK | 7065 | Wheel Speed Sensor Supply Voltage Right Front |
Connector Part Information
|
Terminal Part Information
|
Pin | Wire Color | Circuit No. | Function |
|---|---|---|---|
1 | 0.5 BN | 882 | Wheel Speed Sensor Signal Right Rear |
2 | 0.5 GY | 7128 | Wheel Speed Sensor Supply Voltage Right Rear |
Connector Part Information
|
Terminal Part Information
|
Pin | Wire Color | Circuit No. | Function |
|---|---|---|---|
1 | 2 BU/WH | 666 | Power Window Motor Right Front Up Control |
2 | 2 BN/OG | 165 | Power Window Motor Left Front Down Control |
3 | 0.5 L-BU | 166 | Power Window Master Switch Right Front Up Signal |
4 | -- | -- | Not Used |
5 | 2 BK | 1350 | Ground |
6 | 0.5 BN | 1300 | Power Window Master Switch Left Front Up Signal |
7 | -- | -- | Not Used |
8 | 2 D-GN | 1001 | RAP Supply Voltage |
9 | 0.5 TN | 167 | Power Window Master Switch Right Front Down Signal |
10 | 2 BN | 667 | Power Window Motor Right Front Down Control |
11 | 2 D-BU | 164 | Power Window Motor Left Front Up Control |
12 | 0.5 GY | 1136 | Power Window Master Switch Left Front Down Control Signal |
Connector Part Information
|
Terminal Part Information
|
Pin | Wire Color | Circuit No. | Function |
|---|---|---|---|
A | 2 BN/OG | 165 | Power Window Motor Left Front Down Control |
B | 2 D-BU | 164 | Power Window Motor Left Front Up Control |
Connector Part Information
|
Terminal Part Information
|
Pin | Wire Color | Circuit No. | Function |
|---|---|---|---|
1 | 0.5 BN/RD | 1300 | Power Window Master Switch Left Front Up Signal |
2 | 0.5 D-GN | 1301 | RAP [X] Fuse Supply Voltage |
3 | 2 RD/WH | 1540 | Battery Positive Voltage |
4 | 0.5 BK | 2050 | Ground |
5 | -- | -- | Not Used |
6 | 0.5 GY/BU | 1136 | Power Window Motor Left Front Down Control |
Connector Part Information
|
Terminal Part Information
|
Pin | Wire Color | Circuit No. | Function |
|---|---|---|---|
A | 2 BN | 669 | Power Window Motor Left Rear Down Control |
B | 2 D-BU | 668 | Power Window Motor Left Rear Up Control |
Connector Part Information
|
Terminal Part Information
|
Pin | Wire Color | Circuit No. | Function |
|---|---|---|---|
1 | 0.5 L-BU | 166 | Power Window Master Switch Right Front Up Signal |
2 | 0.5 D-GN | 1301 | RAP [X] Fuse Supply Voltage |
3 | 2 RD/WH | 1540 | Battery Positive Voltage |
4 | 2 BK | 1350 | Ground |
5 | -- | -- | Not Used |
6 | 0.5 D-GN/BK | 167 | Power Window Master Switch Right Front Down Signal |
Connector Part Information
|
Terminal Part Information
|
Pin | Wire Color | Circuit No. | Function |
|---|---|---|---|
A | 2 BN | 667 | Power Window Motor Right Front Down Control |
B | 2 D-BU/WH | 666 | Power Window Motor Right Front Up Control |
Connector Part Information
|
Terminal Part Information
|
Pin | Wire Color | Circuit No. | Function |
|---|---|---|---|
A | 2 BN | 671 | Power Window Motor Right Rear Down Control |
B | 2 D-BU | 670 | Power Window Motor Right Rear Up Control |
Connector Part Information
|
Terminal Part Information
|
Pin | Wire Color | Circuit No. | Function |
|---|---|---|---|
1 | 2 D-BU | 668 | Power Window Motor Left Rear Up Control |
2 | 0.3 BK | Ground | |
3 | 2 D-GN | 168 | Power Window Master Switch Left Rear Up Signal |
4 | 2 D-BU | 1307 | Power Window Master Switch Lockout Signal |
5 | 2 BN | 669 | Power Window Motor Left Rear Down Control |
6 | 2 PU | 169 | Power Window Master Switch Left Rear Down Signal |
Connector Part Information
|
Terminal Part Information
|
Pin | Wire Color | Circuit No. | Function |
|---|---|---|---|
1 | 2 D-BU | 670 | Power Window Motor Right Rear Up Control |
2 | 0.3 BK | Ground | |
3 | 2 L-GN | 170 | Power Window Master Switch Right Rear Up Signal |
4 | 2 D-BU | 1307 | Power Window Master Switch Lockout Signal |
5 | 2 BN | 671 | Power Window Motor Right Rear Down Control |
6 | 2 PU/WH | 171 | Power Window Master Switch Right Rear Down Signal |
Connector Part Information
|
Terminal Part Information
|
Pin | Wire Color | Circuit No. | Function |
|---|---|---|---|
A | 0.3 BK | 250 | Ground |
B | 0.3 BN | 185 | Low Washer Fluid Indicator Signal |
Connector Part Information
|
Terminal Part Information
|
Pin | Wire Color | Circuit No. | Function |
|---|---|---|---|
1 | 0.75 OG | 228 | Windshield Washer Pump Control |
2 | 0.75 BK | 250 | Ground |
Connector Part Information
|
Terminal Part Information
|
Pin | Wire Color | Circuit No. | Function |
|---|---|---|---|
1 | 2 YE | 196 | Windshield Wiper Motor Park Switch Signal |
2 | 2 BK | 350 | Ground |
3 | 1.25 BN/WH | 92 | Windshield Wiper Motor High Speed |
4 | 0.3 D-GN | 95 | Windshield Wiper Motor Low Speed |
Connector Part Information
|
Terminal Part Information
|
Pin | Wire Color | Circuit No. | Function |
|---|---|---|---|
1 | -- | -- | Not Used |
2 | 0.3 OG | 94 | Windshield Washer Switch Signal (LHD) |
3 | 0.3 L-BU | 1714 | Windshield Wiper Switch Low Signal (LHD) |
4 | 0.3 BK/WH | 1715 | Windshield Wiper Switch High Signal (RHD) |
0.3 L-GN | 1715 | Windshield Wiper Switch High Signal (LHD) | |
5 | -- | -- | Not Used |
6 | 0.3 OG | 94 | Windshield Washer Switch Signal (RHD) |
7 | 0.3 L-BU | 1714 | Windshield Wiper Switch Low Signal (RHD) |
8 | 0.3 BK/WH | 1251 | Ground (RHD) |
0.3 L-GN | 1251 | Windshield Wiper Switch High Signal (LHD) |
Connector Part Information
|
Terminal Part Information
|
Pin | Wire Color | Circuit No. | Function |
|---|---|---|---|
1 | 0.5 D-GN | 2087 | 5-V Reference |
2 | 0.5 L-GN/BK | 5352 | Yaw Rate Sensor Test Control |
3 | 0.5 L-BU | 5986 | Communication Enable Relay Supply Voltage |
4 | 0.5 BN/WH | 2086 | Yaw Rate Signal |
5 | 0.5 PU/WH | 1699 | Combined Vehicle Inertial Sensor Signal |
6 | 0.5 BK/BU | 2088 | Low Reference |