GM Service Manual Online
For 1990-2009 cars only

Important: Brake disc thickness variation MUST be inspected BEFORE inspecting for assembled lateral runout (LRO). Thickness variation exceeding the maximum acceptable level can cause brake pulsation. Refer to Brake Rotor Thickness Variation Measurement.

Important: Brake disc and hub indexing is required so the minimum installed brake disc runout is achieved. Brake disc and hub indexing involves aligning the point of maximum runout on the hub with the point of least runout on the brake disc.

Important: The procedure is to be used when installing NEW brake discs or brake discs that have been removed for any reason and where the brake disc to hub matching is not evident.

The procedure consists of three parts:

    • Clean Mating Surfaces.
    • Indexing Brake Disc to Hub. If these measurements are not within specification, go to Hub Runout Inspection.
    • Hub Runout Inspection.

Clean Mating Surfaces

    Caution: Refer to Safety Glasses Caution in the Preface section.

    Caution: Refer to Vehicle Lifting Caution in the Preface section.

    Caution: Refer to Brake Dust Caution in the Preface section.

  1. Raise and support the vehicle. Refer to Lifting and Jacking the Vehicle.
  2. Remove wheels. Refer to Tire and Wheel Removal and Installation.
  3. Remove the brake caliper. Refer to Front Brake Rotor Replacement or Rear Brake Rotor Replacement.
  4. Make sure that brake disc and hub mating surfaces are free from dirt, corrosion, etc. If required, use fine emery paper to clean surfaces.

Indexing Brake Disc to Hub - Front

    Caution: Refer to Safety Glasses Caution in the Preface section.

    Caution: Refer to Vehicle Lifting Caution in the Preface section.

    Caution: Refer to Brake Dust Caution in the Preface section.


    Object Number: 1943417  Size: SH
  1. Install 2 wheel nuts in reverse to opposite wheel studs to retain the brake disc to the hub.
  2. Number each of the wheel stud holes on the front surface of the brake disc from 1 to 5.
  3. Place a chalk mark on the end of the wheel stud adjacent to the number "1" hole (1).

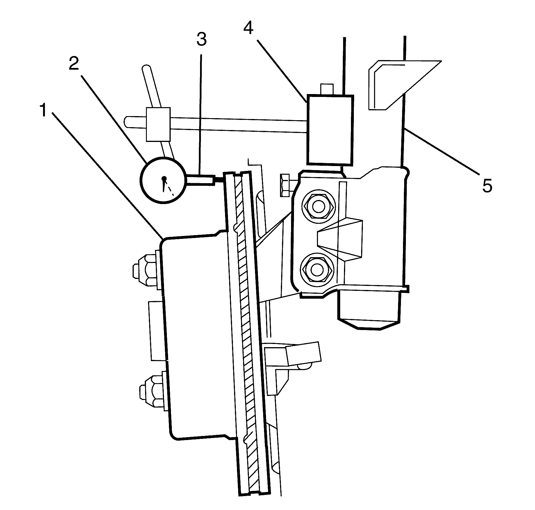
  4. Object Number: 1943424  Size: SH
  5. Set up a dial indicator (2) on a magnetic base (4) and attach to the front strut unit (5) above the brake disc (1).
  6. Position the pointer (3) about 10 mm (3/8 in), from the outer edge of the disc.
  7. Important: The number of divisions between the points of minimum and maximum runout on the dial indicator is the total indicated runout.

  8. Rotate the brake disc (1) and note the points of minimum and maximum runout on the dial indicator (2).
  9. Important: If the lowest assembled disc runout achieved is more than 0.05 mm (50 micron), then the hub runout should be inspected as detailed in the Hub Runout procedure.

  10. Record the figure together with the number on the brake disc aligned with the chalk-marked stud.
  11. Remove and reinstall the brake disc with hole number '2' over the marked stud. Repeat Steps 4 to 7. This procedure is to be repeated for all 5 hole positions.
  12. Specification
    The maximum assembled brake disc and hub runout at brake disc outer diameter equals 0.05 mm.

  13. Mount the brake disc to the hub in the stud position which recorded the least amount of runout.

Index Brake Disc to Hub - Rear

    Caution: Refer to Safety Glasses Caution in the Preface section.

    Caution: Refer to Vehicle Lifting Caution in the Preface section.

    Caution: Refer to Brake Dust Caution in the Preface section.


    Object Number: 1943428  Size: SH
  1. Install 2 wheel nuts in reverse to opposite wheel studs to retain the brake disc to the hub.
  2. Number each of the wheel stud holes on the front surface of the brake disc from 1 to 5.
  3. Place a chalk mark on the end of the wheel stud adjacent to the number "1" hole (1).
  4. Bolt the dial indicator plate (3) to the brake caliper attaching points on the rear knuckle. Refer to Dial Indicator Plate in Special Tools for dial indicator plate details.

  5. Object Number: 1943430  Size: SH
  6. Set up a dial indicator (1) on a magnetic mounting base (2) and attach to the dial indicator plate (3).
  7. Position the pointer (4) about 10 mm (3/8 in), from the outer edge of the brake disc (5).
  8. Important: The number of divisions between the points of minimum and maximum runout on the dial indicator is the total indicated runout.

  9. Carefully rotate the brake disc and note the points of minimum and maximum runout on the dial indicator.
  10. Important: If the lowest assembled brake disc runout achieved is more than 0.05 mm (50 micron), then the trunnion hub runout should be inspected as detailed in the Hub Runout procedure.

  11. Record this figure together with the number on the brake disc aligned with the chalk-marked stud.
  12. Remove and reinstall brake disc with hole number 2 over the marked stud and repeat Step 4. This procedure is to be repeated for all 5 hole positions.
  13. Specification
    Maximum assembled brake disc and hub runout at brake disc outer diameter [dash ] rear brake disc: 0.05 mm

    Mount the brake disc to the hub in the stud position which recorded the least amount of runout.

Hub Runout Inspection - Front

Caution: Refer to Safety Glasses Caution in the Preface section.

Caution: Refer to Vehicle Lifting Caution in the Preface section.

Caution: Refer to Brake Dust Caution in the Preface section.

  1. Clean the front hub face with fine emery paper.

  2. Object Number: 1943426  Size: SH
  3. Locate the dial indicator magnetic base (2) on the front strut unit (3) and position the pointer (4) on the hub face midway between the spigot (5) and the studs (6).
  4. Important: For this inspection to be performed with 100 percent accuracy, a flat parallel surface plate attached to the hub should be used. However, measuring runout between spigot (5) and the studs (6) should yield adequate results.

    Important: The number of divisions between the points of minimum and maximum runout on the dial indicator (1) is the total indicated runout.

  5. Rotate the hub by the hub spigot (5) (to avoid loading the bearing) and note the points of minimum and maximum runout on the dial indicator (1).
  6. Important: The maximum runout at hub face-front hub is 0.025 mm.

  7. If the runout measured in Step 3 exceeds 0.025 mm (25 micron), replace the hub unit. Refer to Front Wheel Bearing and Hub Replacement.

Hub Runout Inspection - Rear

    Caution: Refer to Safety Glasses Caution in the Preface section.

    Caution: Refer to Vehicle Lifting Caution in the Preface section.

    Caution: Refer to Brake Dust Caution in the Preface section.

  1. Clean the hub face by rubbing lightly with fine emery paper.

  2. Object Number: 1943433  Size: SH
  3. Set up a dial indicator (5) on a magnetic base (3) and attach to the pre-fabricated mounting plate (2).
  4. Position the pointer (4) on the hub face 5 mm (0.2 in) from the edge of the hub (1).
  5. Important: For this inspection to be performed with 100 percent accuracy, a flat parallel surface plate attached to the hub should be used. However, measuring runout on the hub face 5 mm (0.2 in) from the edge of the hub (1) should yield adequate results.

    Important: The number of divisions between the points of minimum and maximum runout on the dial indicator (5) is the total indicated runout.

  6. Rotate the hub by the wheel studs and note the points of minimum and maximum runout on the dial indicator (5).
  7. If the runout measured in Step 3 exceeds 0.025 mm (25 micron), replace the hub assembly.
  8. Specification
    Maximum hub total indicated runout (TIR): 0.25 mm