GM Service Manual Online
For 1990-2009 cars only

Front Bumper Fascia Replacement CSV SWBHSV VXR8

Removal Procedure

    Caution: Refer to Safety Glasses Caution in the Preface section.

    Caution: Refer to Vehicle Lifting Caution in the Preface section.

  1. Raise and support the vehicle. Refer to Lifting and Jacking the Vehicle.
  2. Remove the front wheelhouse liners. Refer to Front Wheelhouse Liner Replacement.

  3. Object Number: 1937333  Size: SH
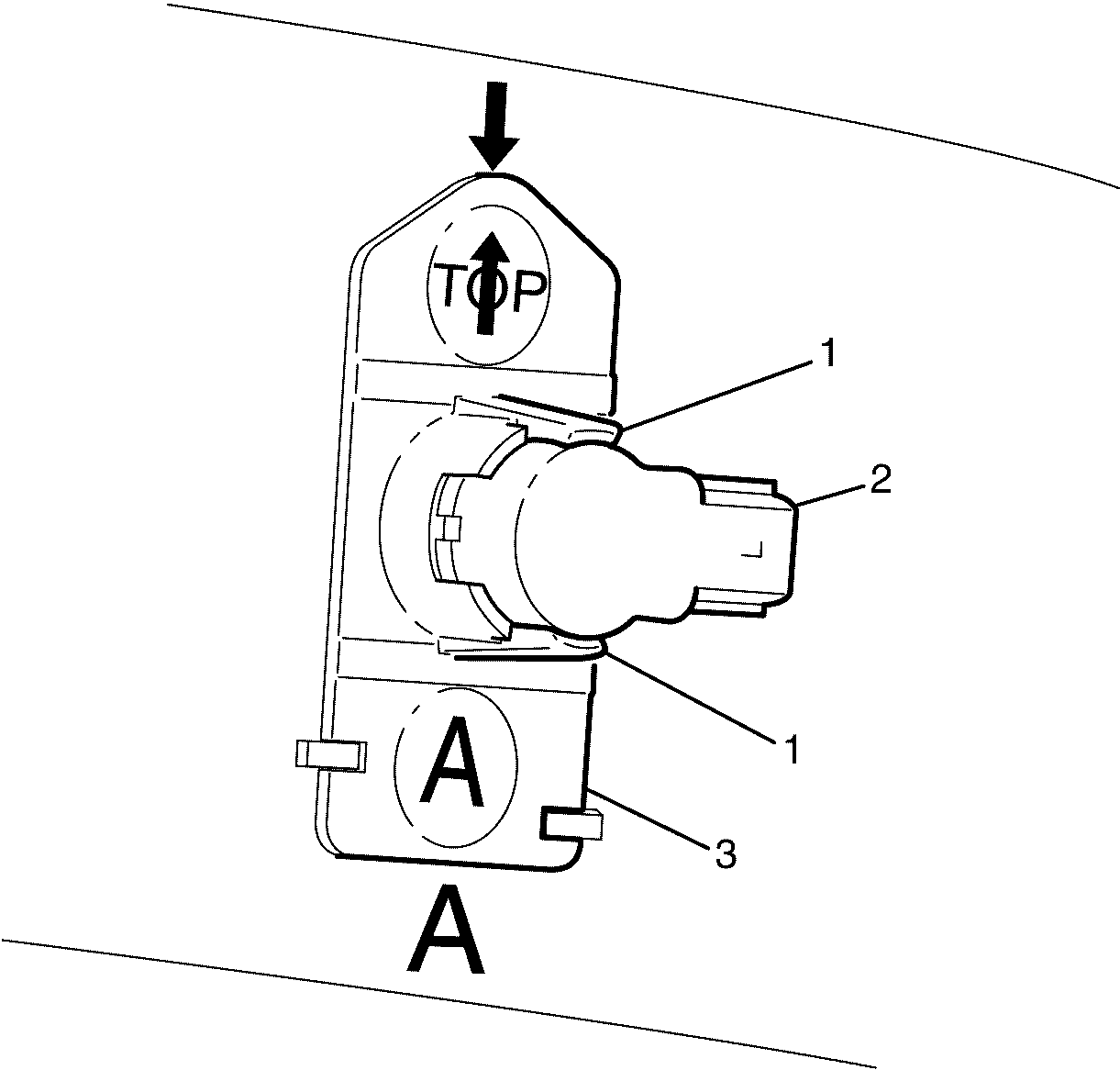
  4. Disconnect the front end module to front bumper fascia wiring harness (1).

  5. Object Number: 1937321  Size: SH
  6. Loosen the front bumper fascia to fender retaining bolts (1) approximately four turns. Repeat for opposite side.
  7. Push the front bumper fascia to fender retaining bolts (1) upwards to disengage from the fender.

  8. Object Number: 1937328  Size: SH
  9. Loosen the front bumper fascia from the key slots (1) at the fender attachments.
  10. Lower the vehicle.

  11. Object Number: 1937323  Size: SH
  12. With the aid of an assistant, disengage the locating pin (1) from the fender. Repeat for opposite side.

  13. Object Number: 1937339  Size: SH
  14. Remove the front bumper fascia upper retaining screws (1) and scrivets (2).

  15. Object Number: 1937326  Size: SH
  16. Disengage the front bumper fascia (1) from the front bumper fascia support bracket retaining tabs (2).
  17. Remove the front bumper fascia from the vehicle.

Disassembly Procedure


    Object Number: 1937343  Size: SH
  1. Disconnect the front bumper fascia wiring loom retaining clips (1).

  2. Object Number: 1937344  Size: SH
  3. Disconnect the front fog lamp and front driving lamp electrical connectors (1).

  4. Object Number: 1937346  Size: SH
  5. Disconnect the front object alarm sensor wiring connectors (1) from the front bumper fascia (2).
  6. Remove the front lower lamp assembly. Refer to Front Lower Lamp Assembly Replacement in Lighting Systems.

Assembly Procedure

  1. Install the front lower lamp assembly. Refer to Front Fog Lamp Replacement.

  2. Object Number: 1937346  Size: SH
  3. Connect the front object alarm sensor wiring connectors (1) to the front bumper fascia (2).

  4. Object Number: 1937343  Size: SH
  5. Connect the front bumper fascia wiring loom retaining clips (1).

  6. Object Number: 1937344  Size: SH
  7. Connect the front fog lamp and front driving lamp electrical connectors (1).

Installation Procedure


    Object Number: 1937326  Size: SH
  1. With the aid of an assistant, position the front bumper fascia (1) to the vehicle.
  2. Firmly press the front bumper fascia (1) to engage the front bumper fascia support bracket retaining tabs (2).
  3. Notice: Refer to Fastener Notice in the Preface section.


    Object Number: 1937339  Size: SH
  4. Install the front bumper fascia upper retaining screws (1) and scrivets (2).
  5. Tighten
    Tighten the screws to 2 - 4 Nm (18 - 36 lb. in).

  6. Raise and support the vehicle. Refer to Lifting and Jacking the Vehicle.

  7. Object Number: 1937328  Size: SH
  8. Position the front bumper fascia to the key slots (1) in the fender.

  9. Object Number: 1937323  Size: SH
  10. Engage the locating pin (1) to the locating hole in the fender.
  11. Push the front bumper fascia rearward in order to adjust the front bumper fascia position.
  12. Tighten the front bumper fascia to fender retaining bolts (1).
  13. Tighten
    Tighten the bolts to 12 Nm (106 lb. in).


    Object Number: 1937333  Size: SH
  14. Connect the front end module to front bumper fascia wiring harness (1).
  15. Install the front wheelhouse liners. Refer to Front Wheelhouse Liner Replacement.
  16. Lower the vehicle.

Front Bumper Fascia Replacement SWB

Removal Procedure

    Caution: Refer to Safety Glasses Caution in the Preface section.

    Caution: Refer to Vehicle Lifting Caution in the Preface section.

  1. Raise and support the vehicle. Refer to Lifting and Jacking the Vehicle.
  2. Remove the front wheelhouse liner. Refer to Front Wheelhouse Liner Replacement.

  3. Object Number: 1937333  Size: SH
  4. Disconnect the front end module to front bumper fascia wiring harness (1).

  5. Object Number: 1937331  Size: SH
  6. Remove the front bumper fascia (1) to front air deflector retaining screws (2).

  7. Object Number: 1937321  Size: SH
  8. Loosen the front bumper fascia to fender retaining bolts (1) approximately 4 turns. Repeat for opposite side.
  9. Push the front bumper fascia to fender retaining bolts (1) upwards to disengage from the fender.

  10. Object Number: 1937328  Size: SH
  11. Loosen the front bumper fascia from the key slots (1) at the fender attachments.
  12. Lower the vehicle.
  13. Remove the radiator grille. Refer to Radiator Grille Replacement.

  14. Object Number: 1937323  Size: SH
  15. With the aid of an assistant, disengage the locating pin (1) from the fender. Repeat for opposite side.

  16. Object Number: 1937326  Size: SH
  17. Disengage the front bumper fascia (1) from the front bumper fascia support bracket retaining tabs (2).
  18. Remove the front bumper fascia from the vehicle.

Disassembly Procedure

  1. Remove the front bumper fascia lower grille. Refer to Front Bumper Lower Fascia Grille Replacement.

  2. Object Number: 1937375  Size: SH
  3. Disconnect the front bumper fascia wiring loom retaining clips (1) to the front bumper fascia (2).
  4. Disconnect the front fog lamp wiring connectors (3) to the front fog lamps.

  5. Object Number: 1937377  Size: SH
  6. Disconnect the front object alarm sensor wiring connectors (1) from the front bumper fascia (2).
  7. Remove the front fog lamp covers. Refer to Front Fog Lamp Cover Replacement.
  8. Remove the front fog lamps. Refer to Front Fog Lamp Replacement.

Assembly Procedure

    Important: Prior to drilling the bumper fascia it is essential that the object detection bracket templates are aligned to their correct corresponding location within the bumper fascia. The location of the object detection bracket templates to the bumper fascia is alpha numeric, make sure that the letters correspond between the object detection bracket templates and the bumper fascia.

    Important: Each object detection bracket template has a tolerance of 0.5 mm and must be taken into consideration.

  1. Check each object detection bracket template.
  2. It is essential that the object detection bracket templates are aligned to their correct corresponding location within the bumper fascia.
  3. Important: The Object Detection Bracket Template, normally found in the service manual has been removed. A review of its accuracy due to the new delivery system, and different printing methods available from the web site is currently in progress. Please reference the Holden Service Information disc, Version 4.01 for a current template.

    Important: This graphic is used as an example only and must not be used as a template, it displays one of the varying object detection bracket templates for reference.

    Important: When aligning the object detection bracket template make sure that the locating tags align correctly and there is little or no movement, prior to drilling.


    Object Number: 1937350  Size: SH
  1. Install the object detection bracket templates (1) to the front bumper fascia.
  2. Mark out the sensor hole from the object detection bracket templates (1) to the front bumper fascia.
  3. Remove the object detection bracket templates (1) from the front bumper fascia.
  4. Drill the holes in the front bumper fascia 24.5 mm (0.96 in).
  5. Remove any swarf from the front bumper fascia.
  6. Clean the front bumper fascia with a suitable wax and grease remover.
  7. Remove the object detection bracket templates (1) from the front bumper fascia.

  8. Object Number: 1937353  Size: SH
  9. Apply the GM Specification 9982247 (Fusor 152-153) adhesive or equivalent to the ribs of the object detection bracket (1).

  10. Object Number: 1937350  Size: SH

    Important: This graphic is used as an example only and must not be used as a template, it displays one of the varying object detection bracket templates for reference.

    Important: The location of the object detection brackets to the bumper fascia is alpha numeric, make sure that the letters correspond between the object detection brackets and the bumper fascia.

  11. Install the object detection bracket (1) to the front bumper fascia.

  12. Object Number: 1937372  Size: SH

    Important: Allow 20 minutes for the adhesive to cure to the front bumper fascia.

    Important: Replacement front object alarm sensors (2) are not pre-painted, they will require painting before installation is carried out.

    Important: Ensure that the front object alarm sensor (2) is installed correctly.

  13. Locate the top and bottom housing tabs (1) to install the front object alarm sensor (2) to the front object alarm sensor housing (3).
  14. Press the front object sensor bezel flush to the fascia.
  15. Install the front fog lamps. Refer to Front Fog Lamp Replacement.
  16. Install the front fog lamp covers. Refer to Front Fog Lamp Cover Replacement.

  17. Object Number: 1937337  Size: SH
  18. Connect the front object alarm sensor wiring connectors (1) to the front bumper fascia (2).

  19. Object Number: 1937335  Size: SH
  20. Connect the front bumper fascia wiring loom retaining clips (1) to the front bumper fascia (2).
  21. Connect the front fog lamp wiring connectors (3) to the front fog lamps.
  22. Install the front bumper fascia lower grille. Refer to Front Bumper Lower Fascia Grille Replacement.

Installation Procedure

  1. With the aid of an assistant, position the front bumper fascia to the vehicle.

  2. Object Number: 1937326  Size: SH
  3. Firmly press the front bumper fascia support bracket retaining tabs (2) to front bumper fascia (1).
  4. Raise and support the vehicle. Refer to Lifting and Jacking the Vehicle.

  5. Object Number: 1937328  Size: SH
  6. Position the front bumper fascia to the key slots (1) in the fender.

  7. Object Number: 1937323  Size: SH
  8. Align the locating pin (1) to the locating hole in the fender.
  9. Push the front bumper fascia rearward in order to adjust.
  10. Notice: Refer to Fastener Notice in the Preface section.


    Object Number: 1937321  Size: SH
  11. Tighten the front bumper fascia to fender retaining bolts (1).
  12. Tighten
    Tighten the bolts to 10 N·m (89 lb in).


    Object Number: 1937331  Size: SH
  13. Install the front bumper fascia (1) to front air deflector retaining screws (2).
  14. Tighten
    Tighten the screws to 3 N·m (27 lb in).


    Object Number: 1937333  Size: SH
  15. Connect the front end module to front bumper fascia wiring harness (1).
  16. Install the front wheelhouse liner. Refer to Front Wheelhouse Liner Replacement.
  17. Lower the vehicle.
  18. Install the radiator grille. Refer to Radiator Grille Replacement.

Front Bumper Fascia Replacement LWB

Removal Procedure

    Caution: Refer to Safety Glasses Caution in the Preface section.

    Caution: Refer to Vehicle Lifting Caution in the Preface section.

  1. Raise and support the vehicle. Refer to Lifting and Jacking the Vehicle.
  2. Remove the front wheel house liner. Refer to Front Wheelhouse Liner Replacement.

  3. Object Number: 1937333  Size: SH
  4. Disconnect the front end module to front bumper fascia wiring harness (1)

  5. Object Number: 1937331  Size: SH
  6. Remove the front bumper fascia (1) to front air deflector retaining screws (2).

  7. Object Number: 1937321  Size: SH
  8. Loosen the front fascia to fender retaining bolts (1) approximately 4 turns. Repeat for opposite side.
  9. Push the front bumper fascia to fender retaining bolts (1) upwards to disengage from the fender.

  10. Object Number: 1937328  Size: SH
  11. Loosen the front bumper fascia from the key slots (1) at the fender attachments.
  12. Lower the vehicle.

  13. Object Number: 1937323  Size: SH
  14. With the aid of an assistant, disengage the locating pin (1) from the fender. Repeat for opposite side.

  15. Object Number: 1937326  Size: SH
  16. Disengage the front bumper fascia (1) from the front bumper fascia support bracket retaining tabs (2).
  17. Remove the front bumper fascia from the vehicle.

Disassembly Procedure

  1. Remove the front bumper fascia lower grille. Refer to Front Bumper Lower Fascia Grille Replacement.

  2. Object Number: 1937337  Size: SH
  3. Disconnect the front object alarm sensor wiring connectors (1) from the front bumper fascia (2).
  4. Remove the front fog lamps. Refer to Front Fog Lamp Replacement.

Assembly Procedure

    Important: Prior to drilling the bumper fascia it is essential that the object detection bracket templates are aligned to their correct corresponding location within the bumper fascia. The location of the object detection bracket templates to the bumper fascia is alpha numeric, make sure that the letters correspond between the object detection bracket templates and the bumper fascia.

    Important: Each object detection bracket template has a tolerance of 0.5 mm and must be taken into consideration.

  1. Check each object detection bracket template.
  2. It is essential that the object detection bracket templates are aligned to their correct corresponding location within the bumper fascia.
  3. Important: The Object Detection Bracket Template, normally found in the service manual has been removed. A review of its accuracy due to the new delivery system, and different printing methods available from the web site is currently in progress. Please reference the Holden Service Information disc, Version 4.01 for a current template.

    Important: This graphic is used as an example only and must not be used as a template, it displays one of the varying object detection bracket templates for reference.

    Important: When aligning the object detection bracket template make sure that the locating tags align correctly and there is little or no movement, prior to drilling.


    Object Number: 1937350  Size: SH
  1. Install the object detection bracket templates (1) to the front bumper fascia.
  2. Mark out the sensor hole from the object detection bracket templates (1) to the front bumper fascia.
  3. Remove the object detection bracket templates (1) from the front bumper fascia.
  4. Drill the holes in the front bumper fascia 24.5 mm (0.96 in).
  5. Remove any swarf from the front bumper fascia.
  6. Clean the front bumper fascia with a suitable wax and grease remover.
  7. Remove the object detection bracket templates (1) from the front bumper fascia.

  8. Object Number: 1937353  Size: SH
  9. Apply the GM Specification 9982247 (Fusor 152-153) adhesive or equivalent to the ribs of the object detection bracket (1).

  10. Object Number: 1937350  Size: SH

    Important: This graphic is used as an example only and must not be used as a template, it displays one of the varying object detection bracket templates for reference.

    Important: The location of the object detection brackets to the bumper fascia is alpha numeric, make sure that the letters correspond between the object detection brackets and the bumper fascia.

  11. Install the object detection bracket (1) to the front bumper fascia.

  12. Object Number: 1937372  Size: SH

    Important: Allow 20 minutes for the adhesive to cure to the front bumper fascia.

    Important: Replacement front object alarm sensors (2) are not pre-painted, they will require painting before installation is carried out.

    Important: Ensure that the front object alarm sensor (2) is installed correctly.

  13. Locate the top and bottom housing tabs (1) to install the front object alarm sensor (2) to the front object alarm sensor housing (3).
  14. Press the front object sensor bezel flush to the fascia.
  15. Install the front fog lamps. Refer to Front Fog Lamp Replacement.

  16. Object Number: 1937337  Size: SH
  17. Connect the front object alarm sensor wiring connectors (1) to the front bumper fascia (2).

  18. Object Number: 1937335  Size: SH
  19. Connect the front bumper fascia wiring loom retaining clips (1) to the front bumper fascia (2).
  20. Install the lower fascia grille to the front fascia.

  21. Object Number: 1937348  Size: SH
  22. Firmly press the retaining tabs (1) into the front fascia.

Installation Procedure

  1. Raise and support the vehicle. Refer to Lifting and Jacking the Vehicle.
  2. With an assistant, position the fascia to the vehicle.

  3. Object Number: 1937326  Size: SH
  4. Firmly press the front bumper fascia support bracket retaining tabs (2) from the front bumper fascia (1).

  5. Object Number: 1937328  Size: SH
  6. Position the front bumper fascia to the key slots (1) at the inner fender.

  7. Object Number: 1937323  Size: SH
  8. Align the locating pin (1) to the locating hole in the fender.
  9. Push the front bumper fascia rearward in order to adjust.
  10. Notice: Refer to Fastener Notice in the Preface section.


    Object Number: 1937321  Size: SH
  11. Tighten the front bumper fascia to fender retaining bolts (1).
  12. Tighten
    Tighten the bolts to 10 N·m (89 lb in).


    Object Number: 1937331  Size: SH
  13. Install the front bumper fascia (1) to front air deflector retaining screws (2).
  14. Tighten
    Tighten the screws to 2 N·m (18 lb in).


    Object Number: 1937333  Size: SH
  15. Connect the front end module to front bumper fascia wiring harness (1).
  16. Install the front wheelhouse liner. Refer to Front Wheelhouse Liner Replacement.
  17. Lower the vehicle.

Front Bumper Fascia Replacement LWBHSV

Removal Procedure

    Caution: Refer to Safety Glasses Caution in the Preface section.

    Caution: Refer to Vehicle Lifting Caution in the Preface section.

  1. Raise and support the vehicle. Refer to Lifting and Jacking the Vehicle.
  2. Remove the front wheel house liner. Refer to Front Wheelhouse Liner Replacement.

  3. Object Number: 1937333  Size: SH
  4. Disconnect the front end module to front bumper fascia wiring harness (1).

  5. Object Number: 1937331  Size: SH
  6. Remove the front bumper fascia (1) to front air deflector retaining screws (2).

  7. Object Number: 1937321  Size: SH
  8. Loosen the front fascia to fender retaining bolts (1) approximately 4 turns. Repeat for opposite side.
  9. Push the front bumper fascia to fender retaining bolts (1) upwards to disengage from the fender.

  10. Object Number: 1937328  Size: SH
  11. Loosen the front bumper fascia from the key slots (1) at the fender attachments.
  12. Lower the vehicle.

  13. Object Number: 1937323  Size: SH
  14. With the aid of an assistant, disengage the locating pin (1) from the fender. Repeat for opposite side.

  15. Object Number: 1937326  Size: SH
  16. Disengage the front bumper fascia (1) from the front bumper fascia support bracket retaining tabs (2).
  17. Remove the front bumper fascia from the vehicle.
  18. Remove the front bumper fascia grille. Refer to Front Bumper Fascia Insert Replacement.
  19. Remove the front fog lamps. Refer to Front Fog Lamp Replacement.

  20. Object Number: 2025884  Size: SH
  21. Disconnect the front object alarm sensor wiring connectors (1) from the front object alarm sensors (2) located in the front bumper fascia (3).

  22. Object Number: 2025886  Size: SH
  23. Remove the front bumper fascia wiring loom retaining clips (1) from the front bumper fascia (2).
  24. Remove the front bumper fascia wiring loom (3).

Installation Procedure


    Object Number: 2025886  Size: SH
  1. Install the front bumper fascia wiring loom retaining clips (1) onto the front bumper fascia (2).
  2. Install the front bumper fascia wiring loom (3) onto the front bumper fascia wiring loom retaining clips (1).

  3. Object Number: 2025884  Size: SH
  4. Connect the front object alarm sensor wiring connectors (1) to the front object alarm sensors (2) located in the front bumper fascia (3).
  5. Install the front bumper fascia grille. Refer to Front Bumper Fascia Insert Replacement.
  6. Install the front fog lamps. Refer to Front Fog Lamp Replacement.
  7. Raise and support the vehicle. Refer to Lifting and Jacking the Vehicle.
  8. With an assistant, position the fascia to the vehicle.

  9. Object Number: 1937326  Size: SH
  10. Firmly press the front bumper fascia support bracket retaining tabs (2) from the front bumper fascia (1).

  11. Object Number: 1937328  Size: SH
  12. Position the front bumper fascia to the key slots (1) at the inner fender.

  13. Object Number: 1937323  Size: SH
  14. Align the locating pin (1) to the locating hole in the fender.
  15. Push the front bumper fascia rearward in order to adjust.
  16. Notice: Refer to Fastener Notice in the Preface section.


    Object Number: 1937321  Size: SH
  17. Tighten the front bumper fascia to fender retaining bolts (1).
  18. Tighten
    Tighten the bolts to 10 Nm (89 lb in).


    Object Number: 1937331  Size: SH
  19. Install the front bumper fascia (1) to front air deflector retaining screws (2).
  20. Tighten
    Tighten the screws to 2 Nm (18 lb in).


    Object Number: 1937333  Size: SH
  21. Connect the front end module to front bumper fascia wiring harness (1).
  22. Install the front wheelhouse liner. Refer to Front Wheelhouse Liner Replacement.
  23. Lower the vehicle to the ground.