GM Service Manual Online
For 1990-2009 cars only

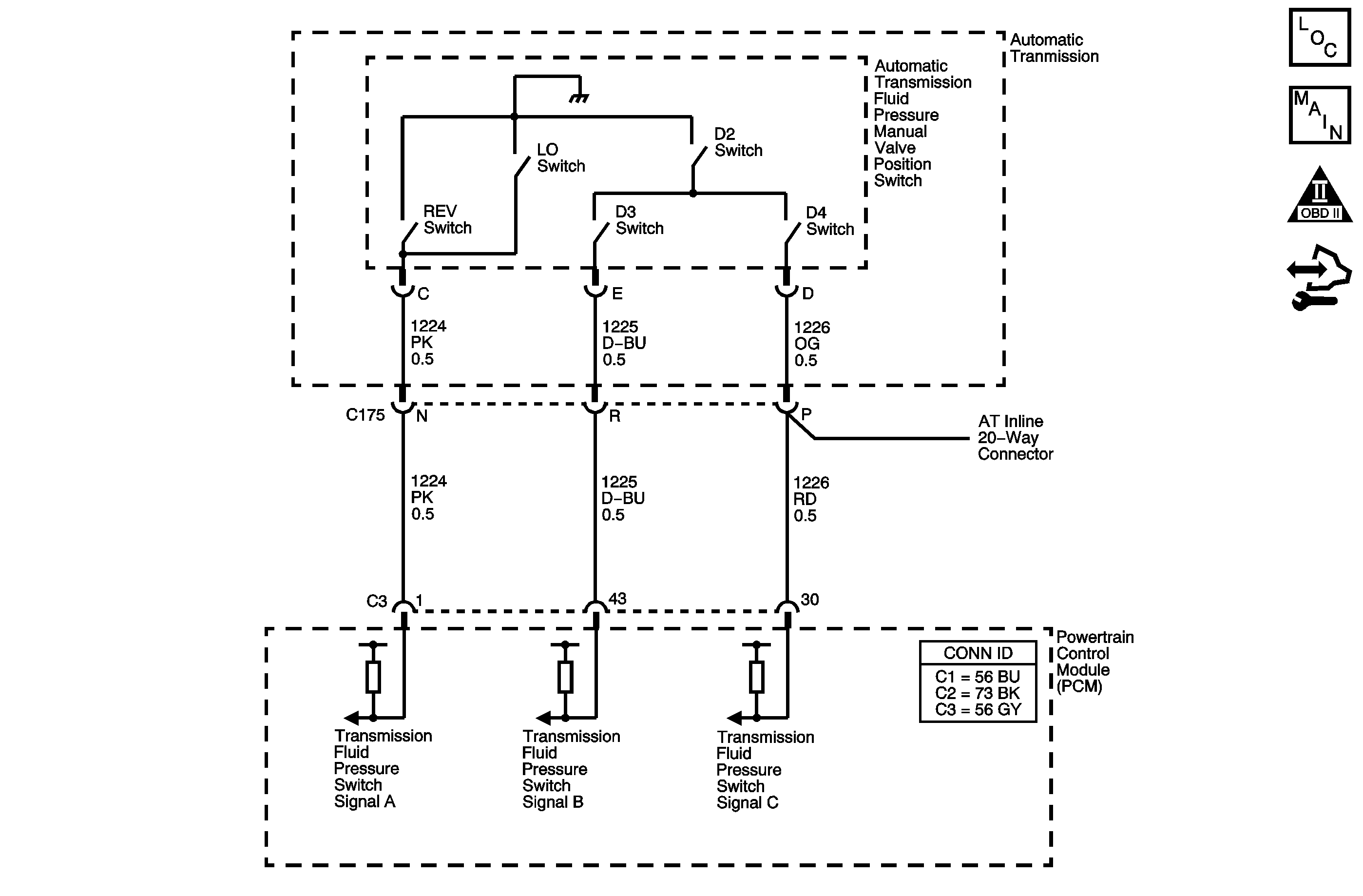
Object Number: 1819311  Size: MF
Master Electrical Component List
Automatic Transmission Controls Schematics
OBD II Symbol Description Notice
Control Module References

Circuit Description

The automatic transmission fluid pressure (TFP) manual valve position switch consists of five pressure switches, 2 normally-closed and 3 normally-open, and a transmission fluid temperature (TFT) sensor combined into one unit. The combined unit mounts on the valve body. The powertrain control module (PCM) supplies ignition voltage for each range signal. By grounding one or more of these circuits through various combinations of the pressure switches, the PCM detects which manual valve position you select. The PCM compares the actual voltage combination of the switches to a TFP manual valve position switch combination chart stored in memory.

The TFP manual valve position switch cannot distinguish between PARK and NEUTRAL because the monitored valve body pressures are identical. With the engine OFF and the ignition switch in the ON position, the TFP manual valve position switch indicates PARK/NEUTRAL. Disconnecting the AT inline 20-way connector removes the ground potential for the three range signals to the PCM. In this case, with the engine OFF, and the ignition switch in the ON position, D2 will be indicated.

When the PCM detects an invalid state of the TFP manual valve position switch circuit by deciphering the TFP manual valve position switch inputs, then DTC P1818 sets. DTC P1818 is a type B DTC.

DTC Descriptor

This diagnostic procedure supports the following DTC:

DTC P1818 Transmission Fluid Pressure (TFP) Valve Position Switch Indicates Drive without Drive Ratio

Conditions for Running the DTC

    • No output speed sensor (OSS) DTCs P0722 or P0723.
    • No transmission fluid pressure (TFP) DTCs P1810, P1815 or P1816.
    • The engine is running greater than 7 seconds.
    • The output (shaft) speed sensor (OSS) is 100 RPM or greater.
    • The throttle position sensor (TPS) is greater than 8 percent.
    • The engine torque is between 108-881 N·m (80-650 lb ft).

Conditions for Setting the DTC

The PCM detects drive without a drive ratio for 5 seconds.

Action Taken When the DTC Sets

    • The PCM illuminates the malfunction indicator lamp (MIL) during the second consecutive trip in which the Conditions for Setting the DTC are met.
    • The PCM commands maximum line pressure.
    • The PCM assumes a D4 shift pattern.
    • The PCM freezes transmission adaptive functions.
    • The PCM records the operating conditions when the Conditions for Setting the DTC are met. The PCM stores this information as Freeze Frame and Failure Records.
    • The PCM stores DTC P1818 in PCM history during the second consecutive trip in which the Conditions for Setting the DTC are met.

Conditions for Clearing the MIL/DTC

    • The PCM turns OFF the MIL during the third consecutive trip in which the diagnostic test runs and passes.
    • A scan tool can clear the MIL/DTC.
    • The PCM clears the DTC from PCM history if the vehicle completes 40 warm-up cycles without an emission-related diagnostic fault occurring.
    • The PCM cancels the DTC default actions when the ignition switch is OFF long enough in order to power down the PCM.

Test Description

The numbers below refer to the step numbers on the diagnostic table.

  1. This step tests the indicated range signal to the manual valve range actually selected.

  2. This step tests for correct voltage from the PCM.

DTC P1818

Step

Action

Values

Yes

No

1

Did you perform the Diagnostic System Check - Vehicle?

--

Go to Step 2

Go to Diagnostic System Check - Vehicle

2

Did you perform the Transmission Fluid Checking Procedure?

--

Go to Step 3

Go to Transmission Fluid Check

3

  1. Install a scan tool.
  2. Turn ON the ignition, with the engine OFF.
  3. Important: Before clearing the DTC, use the scan tool in order to record the Freeze Frame and Failure Records. Using the Clear Info function erases the Freeze Frame and Failure Records from the powertrain control module (PCM).

  4. Record the DTC Freeze Frame and Failure Records.
  5. Clear the DTC.
  6. Start the engine and idle at the normal operating temperature.
  7. Select TFP Sw. on the scan tool.
  8. Apply the brake pedal.
  9. Select each transmission range: P, R, N, D4, D3, D2 and D1.

Does each selected transmission range match the scan tool TFP switch display?

--

Go to Testing for Intermittent Conditions and Poor Connections

Go to Step 4

4

  1. Inspect the transmission linkage from the gear select lever to the manual valve for proper adjustment.
  2. Adjust the linkage as necessary.

Did the linkage require adjustment?

--

Go to Step 17

Go to Step 5

5

  1. Turn OFF the ignition.
  2. Disconnect the AT inline 20-way connector. Additional DTCs may set.
  3. Turn ON the ignition, with the engine OFF.

Does the scan tool TFP Switch A/B/C parameter indicate HI for all range states?

--

Go to Step 6

Go to Step 10

6

  1. Turn OFF the ignition.
  2. Install the J 44152 Jumper Harness (20 pins) on the engine side of the AT inline 20-way connector.
  3. Turn ON the ignition, with the engine OFF.
  4. Using the DMM and the J 35616 GM Terminal Test Kit, measure the voltage from the transmission fluid pressure switch signal A circuit of the J 44152 to ground. Refer to Automatic Transmission Inline 20-Way Connector End View.
  5. Measure the voltage from the transmission fluid pressure switch signal B circuit of the J 44152 to ground.
  6. Measure the voltage from the transmission fluid pressure switch signal C circuit of the J 44152 to ground.

Does the voltage measure ignition voltage at all three terminals?

--

Go to Step 7

Go to Step 11

7

Connect a fused jumper wire from the J 44152 , signal A circuit, to ground while monitoring the scan tool TFP Switch A/B/C parameter. Refer to Automatic Transmission Inline 20-Way Connector End View.

When the signal A circuit is grounded, do any other signal circuits indicate LOW?

--

Go to Step 12

Go to Step 8

8

Connect a fused jumper wire from the J 44152 , signal B circuit, to ground while monitoring the scan tool TFP Switch A/B/C parameter. Refer to Automatic Transmission Inline 20-Way Connector End View.

When the signal B circuit is grounded, do any other signal circuits indicate LOW?

--

Go to Step 12

Go to Step 9

9

Connect a fused jumper wire from the J 44152 , signal C circuit, to ground while monitoring the scan tool TFP Switch A/B/C parameter. Refer to Automatic Transmission Inline 20-Way Connector End View.

When the signal C circuit is grounded, do any other signal circuits indicate LOW?

--

Go to Step 12

Go to Step 13

10

Test the signal circuits of the transmission fluid pressure (TFP) manual valve position switch that did not indicate HI for a short to a ground between the PCM and the AT inline 20-way connector. Refer to Testing for Short to Ground and Wiring Repairs.

Did you find and correct a condition?

--

Go to Step 17

Go to Step 16

11

Test the signal circuits of the TFP manual valve position switch that did not indicate ignition voltage for an open between the PCM and the AT inline 20-way connector. Refer to Testing for Continuity and Wiring Repairs.

Did you find and correct a condition?

--

Go to Step 17

Go to Step 16

12

Test the affected signal circuits of the TFP manual valve position switch for a shorted together condition between the PCM and the AT inline 20-way connector. Refer to Circuit Testing and Wiring Repairs.

Did you find and correct a condition?

--

Go to Step 17

Go to Step 16

13

Test the affected signal circuits of the TFP manual valve position switch for an open or shorted condition between the AT inline 20-way connector and the TFP manual valve position switch. Refer to Circuit Testing.

Did you find the condition?

--

Go to Step 14

Go to Step 15

14

Replace the automatic transmission wiring harness. Refer to Valve Body and Pressure Switch Replacement.

Did you complete the replacement?

--

Go to Step 17

--

15

Replace the TFP manual valve position switch. Refer to Valve Body and Pressure Switch Replacement.

Did you complete the replacement?

--

Go to Step 17

--

16

Replace the PCM. Refer to Control Module References.

Is the replacement complete?

--

Go to Step 17

--

17

Perform the following procedure in order to verify the repair:

  1. Select DTC.
  2. Select Clear Info.
  3. Operate the vehicle under the following conditions:
  4. 3.1. Start the vehicle and idle in PARK for 10 seconds.
    3.2. Drive the vehicle in D4 with a throttle position (TP) angle greater than 10 percent.
    3.3. Allow the transmission to shift through all gears.
  5. Select Specific DTC.
  6. Enter DTC P1818.

Has the test run and passed?

--

Go to Step 18

Go to Step 2

18

With the scan tool, observe the stored information, capture info and DTC info.

Does the scan tool display any DTCs that you have not diagnosed?

--

Go to Diagnostic Trouble Code (DTC) List - Vehicle

System OK