GM Service Manual Online
For 1990-2009 cars only

Removal Procedure

  1. Remove the radiator air baffle and deflector. Refer to Radiator Air Upper Baffle and Deflector Replacement in Body Front End.

  2. Object Number: 1949709  Size: SH
  3. Disconnect the coolant recovery hose (2) from the coolant recovery reservoir filler neck (1).

  4. Object Number: 1949707  Size: SH
  5. Remove the coolant recovery reservoir filler neck (1).
  6. Caution: Refer to Safety Glasses Caution in the Preface section.

    Caution: Refer to Vehicle Lifting Caution in the Preface section.

  7. Raise and support the vehicle. Refer to Lifting and Jacking the Vehicle.
  8. Remove the right hand front wheel. Refer to Tire and Wheel Removal and Installation.
  9. Remove the wheel house liner. Refer to Front Wheelhouse Liner Replacement.
  10. Remove the air deflector. Refer to Front Air Deflector Replacement.

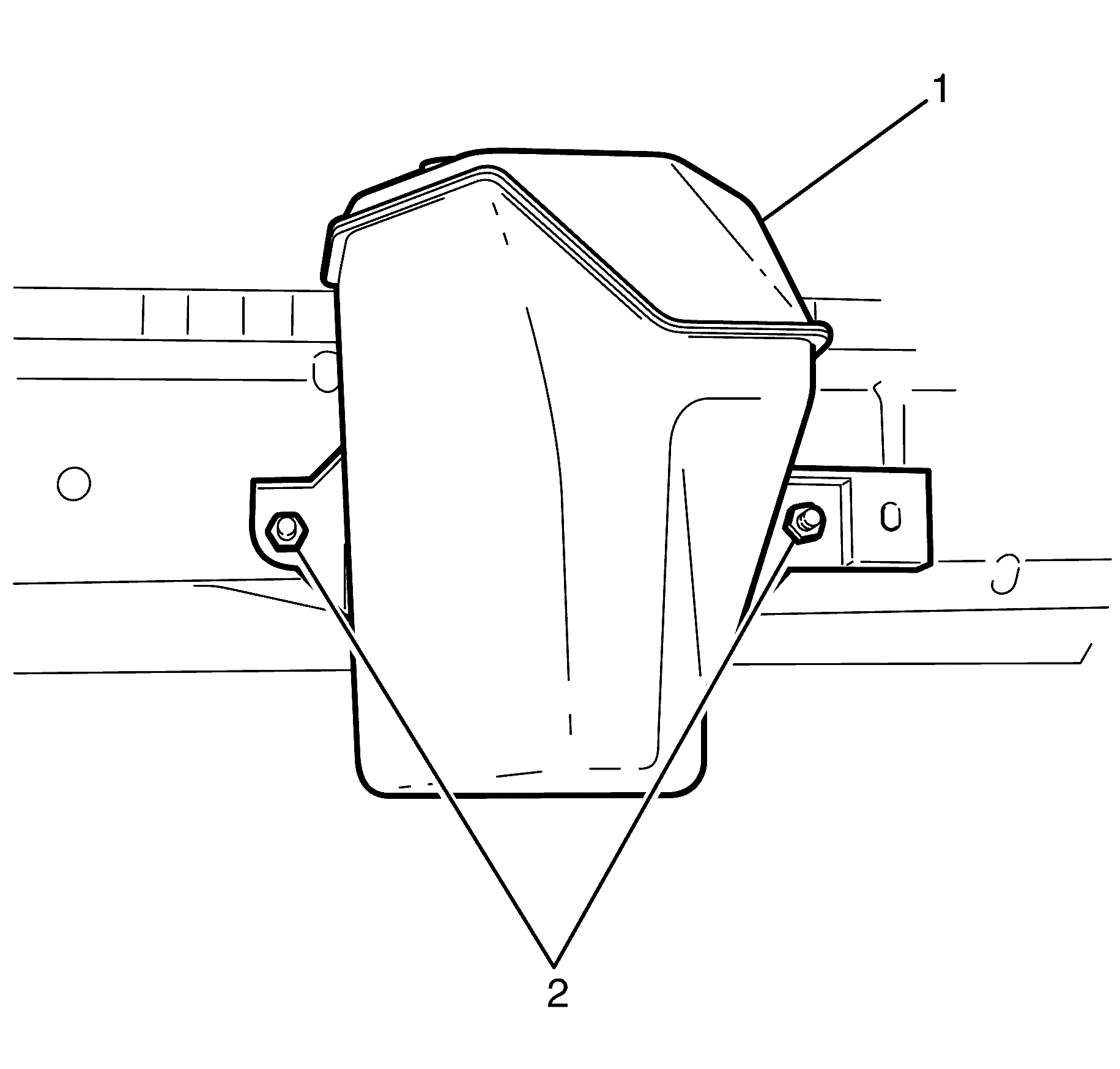
  11. Object Number: 1949708  Size: SH
  12. Remove the coolant recovery reservoir retaining nuts (2).
  13. Remove the coolant recovery reservoir (1).

Installation Procedure


    Object Number: 1949708  Size: SH
  1. Install the coolant recovery reservoir (1).
  2. Notice: Refer to Fastener Notice in the Preface section.

  3. Install the coolant recovery retaining nuts (2).
  4. Tighten
    Tighten the nuts to 17  N·m (13 lb ft).

  5. Install the air deflector. Refer to Front Air Deflector Replacement.
  6. Install the wheel house liner. Refer to Front Wheelhouse Liner Replacement.
  7. Install the right hand front wheel. Refer to Tire and Wheel Removal and Installation.
  8. Lower the vehicle.

  9. Object Number: 1949710  Size: SH
  10. Install the coolant recovery reservoir filler neck (1).

  11. Object Number: 1949709  Size: SH
  12. Connect the coolant recovery reservoir hose (2) to the coolant recovery reservoir filler neck (1)
  13. Install the radiator air baffle and deflector. Refer to Radiator Air Upper Baffle and Deflector Replacement in Body Front End.
  14. Fill the coolant reservoir to the fill level. Refer to Cooling System Draining and Filling.
  15. Inspect cooling system for leaks.