GM Service Manual Online
For 1990-2009 cars only

Shift Shaft Assemblies and Gear Clusters Installation

Tools Required

J 36850 Transjel® Assembly Lubricant.

  1. Lubricate all components as assembly progresses, using J 36850 .

  2. Object Number: 1955724  Size: SH
  3. Install the input shaft (1) in the adapter plate (2).

  4. Object Number: 1955715  Size: SH
  5. Assemble the shift shaft (2) to the mainshaft (1).
  6. Install the neutral return roll pin to the shift shaft (2).
  7. Install the mainshaft (1) and the shift shaft (2) assembly into the adapter plate (3).

  8. Object Number: 1956971  Size: SH
  9. Install the countershaft assembly (1) to the adapter plate (3) using the following sequence:
  10. 6.1. Lift up the mainshaft assembly (2) enough in order to install the countershaft assembly (1).
    6.2. Install the countershaft assembly (1).
    6.3. Lift the mainshaft assembly (2) enough in order to rotate the input shaft to engage the synchronizer keys with 4th gear blocking ring.

    Object Number: 1956973  Size: SH
  11. Install the 5th/6th and the reverse shift shaft (1).
  12. Align the slots of the shift shaft levers (2) with the interlock plate (3).

Reverse Lockout Assembly Assemble

    Caution: Refer to General Repair Instructions in the Preface section.


    Object Number: 1955713  Size: SH
  1. Install the reverse lockout outer spring (5) to reverse lockout plunger (6).
  2. Install the reverse lockout collar (4) to reverse lockout plunger (6).
  3. Compress the reverse lockout plunger and the collar (4) in a vise and install the retainer ring (3).
  4. Install the reverse lockout inner spring (2 to reverse lockout body (1)).
  5. Install the reverse lockout plunger assembly in the reverse lockout body (1).
  6. Install the circlip (7) to reverse lockoutbody (1).
  7. Install the O-ring (8) to reverse lockout body (1).

Transmission Case Installation

Tools Required

J 36850 .


    Object Number: 1956974  Size: SH

    Important: Lubricate all components as the assembly progresses. Use J 36850 or the equivalent.

  1. Apply LOCTITE™ "Ultrablack" 598 sealant or equivalent to the transmission case to adapter plate mating surface (1).

  2. Object Number: 1955708  Size: SH
  3. Do the following in order to install the transmission case and the offset lever:
  4. 2.1. Shift the transmission into NEUTRAL in order to keep the 3rd/4th shift shaft from engaging.
    2.2. Install the offset lever.
    2.3. Slide the transmission case onto the gear clusters and the shift rail components.

    Object Number: 1956975  Size: SH
  5. Apply thread sealer, LOCTITE™ 242 or equivalent to the threads of the shift lever guide bolts (1).
  6. Notice: Refer to Fastener Notice in the Preface section.


    Object Number: 1956968  Size: SH
  7. Install the shift lever guide bolts (1) and pull up on 5th/6th and reverse shift rail assembly. This will help align the slot of the shift interlock plate with the guide bolt hole.
  8. Tighten
    Tighten the bolts to 27 N·m (20 Ib ft).


    Object Number: 1956967  Size: SH
  9. Install the adapter plate to transmission case bolts (1).
  10. Tighten
    Tighten the bolts to 48 N·m (36 Ib ft).


    Object Number: 1956969  Size: SH
  11. Install the magnets (1) into the transmission case (2).

  12. Object Number: 1956966  Size: SH
  13. Install the shift detent plug (1), spring (2) and ball (3).

  14. Object Number: 1955705  Size: SH
  15. Install the shift detent assembly (1).
  16. Tighten
    Tighten the detent assembly to 40 N·m (30 Ib ft).

Countershaft Gear Installation

Tools Required

J 5590 Press Tube.


    Object Number: 1956965  Size: SH
  1. Install the spacer (3), caged needle bearing (2), and the 6th driven gear (1) to the countershaft (4).

  2. Object Number: 1956964  Size: SH
  3. Install the 5th/6th speed drive gear thrust washer (4), speed drive gear inner cone (3), speed drive gear friction cone (2) and speed drive gear synchronizer blocking ring (1).

  4. Object Number: 1956976  Size: SH
  5. Install the 5th/6th shift fork (3), synchronizer sleeve (1) and synchronizer hub (2) assembly using J 5590  (4) and a mallet.

  6. Object Number: 1956961  Size: SH
  7. Install the speed drive gear synchronizer blocking ring (4), speed drive gear friction cone (3), speed drive gear inner cone (2) and speed drive gear thrust washer (1).

  8. Object Number: 1956960  Size: SH
  9. Install the retainer clip (1) to the countershaft (2).

  10. Object Number: 1956959  Size: SH
  11. Install the spacer (1) to the countershaft (2).

  12. Object Number: 1956958  Size: SH
  13. Install the 5th/6th speed shift fork retainer ring (1).

  14. Object Number: 1956957  Size: SH
  15. Install the needle bearing (1) to the countershaft (2).

  16. Object Number: 1956956  Size: SH
  17. Install the 5th gear (1) to the countershaft (2).

  18. Object Number: 1956955  Size: SH
  19. Install the spacer (2) and the countershaft retainer (1).

  20. Object Number: 1956977  Size: SH
  21. Install the countershaft gear (1) using J 5590  (2) and a mallet.

  22. Object Number: 1956952  Size: SH
  23. Install the countershaft retainer clip (1).

  24. Object Number: 1956951  Size: SH
  25. Install the collar (2) and the reverse shift shaft pin (1).

5th/6th Speed Driven Gear Installation

Tools Required

    • J 39441 5th/6th Driven Gear Installer.
    • J 39441-10 5th Gear Installer Adapter.

Object Number: 1956999  Size: SH

Install the 5th/6th speed driven gear (3) using the J 39441  (1) and J 39441-10  (2). The smaller outside diameter (OD) of the gear faces down.

Reverse Shift Fork Installation


    Object Number: 1955699  Size: SH
  1. Install the reverse shift fork (3), the synchronizer (2) and the thrust washer (1).

  2. Object Number: 1955681  Size: SH
  3. Install a new shift fork retainer ring (1).

  4. Object Number: 1955680  Size: SH
  5. Install the reverse synchronizer retainer ring (1).

Reverse Speed Gear Installation


    Object Number: 1955679  Size: SH
  1. Install the reverse gear synchronizer blocking ring (6) to the mainshaft (7).
  2. Install the wave washer (5) to the mainshaft (7).
  3. Install the reverse gear caged needle bearing (4) to the mainshaft (7)
  4. Install the reverse gear (3) to the mainshaft (7).
  5. Install the reverse gear thrust washer (2) to the mainshaft (7).
  6. Install the mainshaft snap ring (1) to the mainshaft (7).

  7. Object Number: 1955678  Size: SH
  8. Install the mainshaft spacer (4) to the mainshaft (5).
  9. Install the mainshaft rear roller bearing (3) to the mainshaft (5).
  10. Install the mainshaft spacer (2) to the mainshaft (5).
  11. Install the mainshaft snap ring (1) to the mainshaft (5).

  12. Object Number: 1956978  Size: SH
  13. Install the shift shaft extension (1).
  14. Install the shift guide (2).
  15. Install NEW shift guide roll pins (3).

Extension Housing Assemble

Tools Required

J 44395 Transmission Holding Fixture.


    Object Number: 1956917  Size: SH
  1. Install the countershaft oil funnel (1) to the extension housing.
  2. Install the selective shims (2). Refer to Shimming Procedures .
  3. Install the countershaft bearing race (3) to the extension housing.
  4. Install the countershaft bearing race retaining circlip (4) to the extension housing.

  5. Object Number: 1956916  Size: SH
  6. Install the reverse idler shaft (1) to the extension housing.
  7. Install the roller bearing (2) to the reverse idler shaft.
  8. Install the reverse idler gear (3) to the reverse idler shaft.

  9. Object Number: 1957001  Size: SH
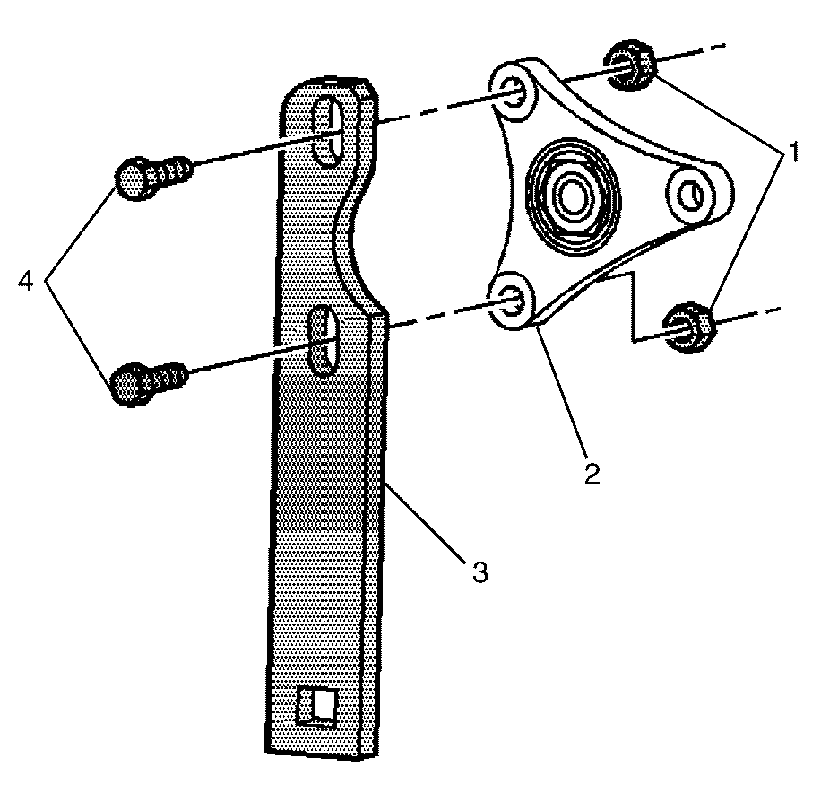
  10. Apply thread sealer, LOCTITE™ 242 or equivalent to the reverse idler shaft brackets bolt threads.
  11. Notice: Refer to Fastener Notice in the Preface section.


    Object Number: 1956915  Size: SH
  12. Install the reverse idler shaft bracket to the extension housing.
  13. Apply an approved threadlock to the reverse idler shaft brackets bolt threads.
  14. Install the reverse idler shaft bracket to extension housing retaining bolts.
  15. Tighten
    Tighten the bolts to 25 N·m (18 Ib ft).


    Object Number: 1957011  Size: SH

    Important: DO NOT damage the reverse lockout solenoid electrical connector (3).

  16. Install the reverse lockout solenoid (1) to the transmission extension housing.
  17. Install the reverse lockout solenoid to transmission extension housing retaining screw (2).

  18. Object Number: 1956938  Size: SH
  19. Apply LOCTITE™ "Ultrablack" 598 sealant or equivalent to the extension housing to the transmission case mating surface (1).

  20. Object Number: 1957001  Size: SH
  21. Apply thread sealer, LOCTITE™ 242 or equivalent to the top 2 extension housing bolts.

  22. Object Number: 1956993  Size: SH

    Important: Align the 5th/6th shift shaft to the extension housing bore in order to install the extension housing.

  23. Install the extension housing (2).
  24. Install the extension housing bolts (1).
  25. Tighten
    Tighten the bolts to 48 N·m (36 lb ft).


    Object Number: 1957010  Size: SH
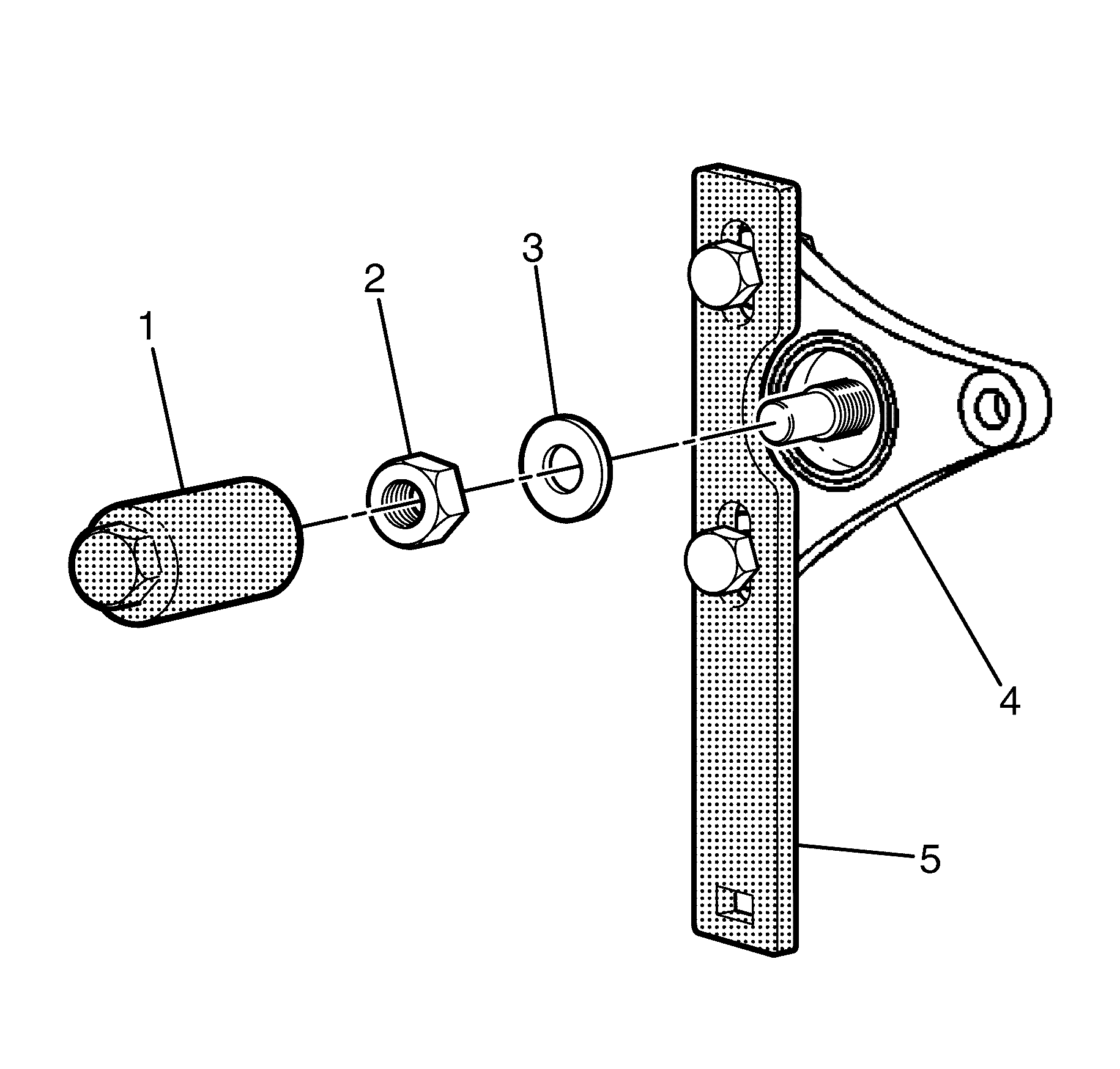
  26. Install the drive flange (2) to the transmission output shaft (1).

  27. Object Number: 1955627  Size: SH
  28. Install the J 45012  (3) to the drive flange (2).
  29. Install the J 45012 to drive flange retaining bolts (4) and nuts (1) and tighten until firm.

  30. Object Number: 1956985  Size: SH
  31. Install the drive flange thrust washer (3).
  32. Notice: Refer to Fastener Notice in the Preface section.

  33. While holding the J 45012  (5), install the NEW flange retaining nut (2) using the J 29873  (1) to the flange (4).
  34. Tighten
    Tighten the nut to 135 N·m (100 lb ft).


    Object Number: 1955627  Size: SH
  35. Remove the J 45012 to drive flange retaining bolts (4) and nuts (1).
  36. Remove the J 45012  (3) from the drive flange (2).

  37. Object Number: 1956950  Size: SH
  38. Install the shifter cover plate (1) to the transmission (3).
  39. Install the shifter cover plate to transmission retaining bolts (2).
  40. Install the transmission vent tube to the vent pipe.
  41. Notice: Refer to Fastener Notice in the Preface section.


    Object Number: 1957014  Size: SH
  42. Install the transmission vent tube to transmission case retaining bolt (1).
  43. Tighten
    Tighten the transmission vent tube retaining bolt to 48 N·m (35 lb ft).


    Object Number: 1956949  Size: SH
  44. Remove the J 44395 .

  45. Object Number: 1956979  Size: SH
  46. Install the remaining 2 adapter plate bolts (1) and (2).
  47. Tighten
    Tighten the adapter plate bolts to 48 N·m (36 lb ft).

  48. Install the concentric actuator from the transmission. Refer to Clutch Concentric Actuator Cylinder Replacement .