GM Service Manual Online
For 1990-2009 cars only

Body Tail Lamp Filler Panel Replacement With Extension Panel SWB

Removal Procedure

    Caution: Refer to Approved Equipment for Collision Repair Caution in the Preface section.

    Caution: Refer to Foam Sound Deadeners Caution in the Preface section.

  1. Disable the SIR system. Refer to SIR Disabling and Enabling.
  2. Caution: Refer to Battery Disconnect Caution in the Preface section.

  3. Disconnect the negative battery cable. Refer to Battery Negative Cable Disconnection and Connection.
  4. Remove the rear interior trims. Refer to Quarter Upper Trim Panel Replacement.
  5. Remove the rear compartment side trims. Refer to Rear Corner Trim Panel Carpet Replacement.
  6. Remove the battery. Refer to Battery Replacement.
  7. Remove the battery tray. Refer to Battery Tray Replacement.
  8. Caution: Refer to Vehicle Lifting Caution in the Preface section.

  9. Raise and support the vehicle. Refer to Lifting and Jacking the Vehicle.
  10. Remove the rear wheels. Refer to Tire and Wheel Removal and Installation.
  11. Remove the rear impact bar. Refer to Rear Bumper Fascia Insert Replacement.
  12. Remove the rear pressure relief valves. Refer to Pressure Relief Valve Replacement.
  13. Remove the tail lights. Refer to Parking and Turn Signal Lamp Replacement.

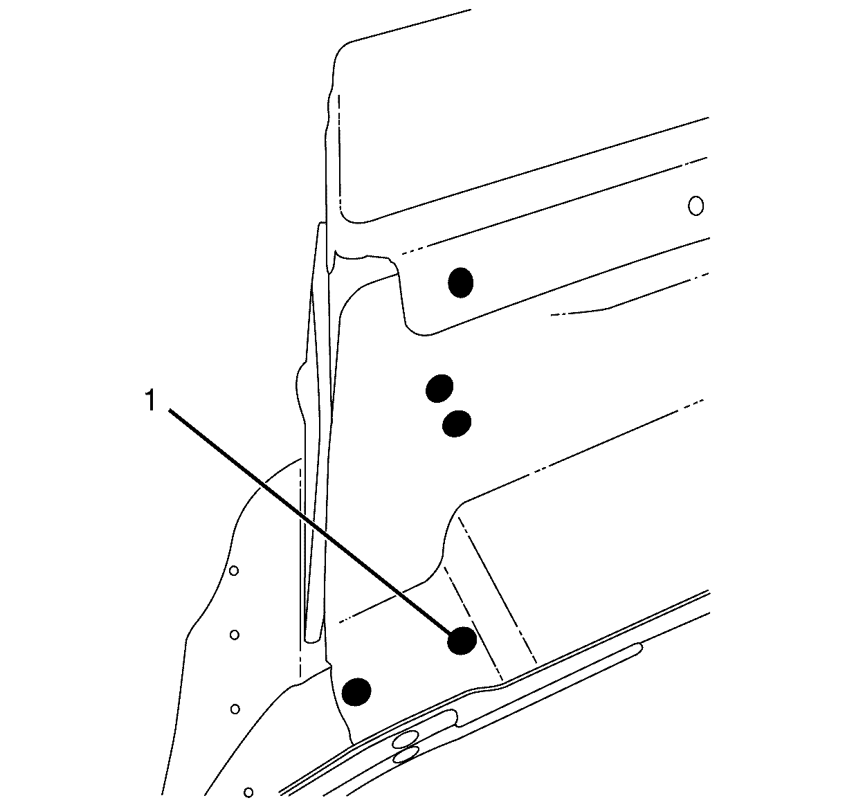
  14. Object Number: 1939832  Size: SH
  15. Locate, mark and drill out the spot welds (1) in the tail lamp filler and rear extension panel to rear quarter panel.
  16. Locate, mark and drill out the spot welds (3) in the rear extension panel to side extension panel.
  17. Locate, mark and drill out the spot welds in the tail lamp filler panel to side extension panel.
  18. Locate, mark and drill out the spot welds (2) in the tail lamp filler panel to rear end panel.

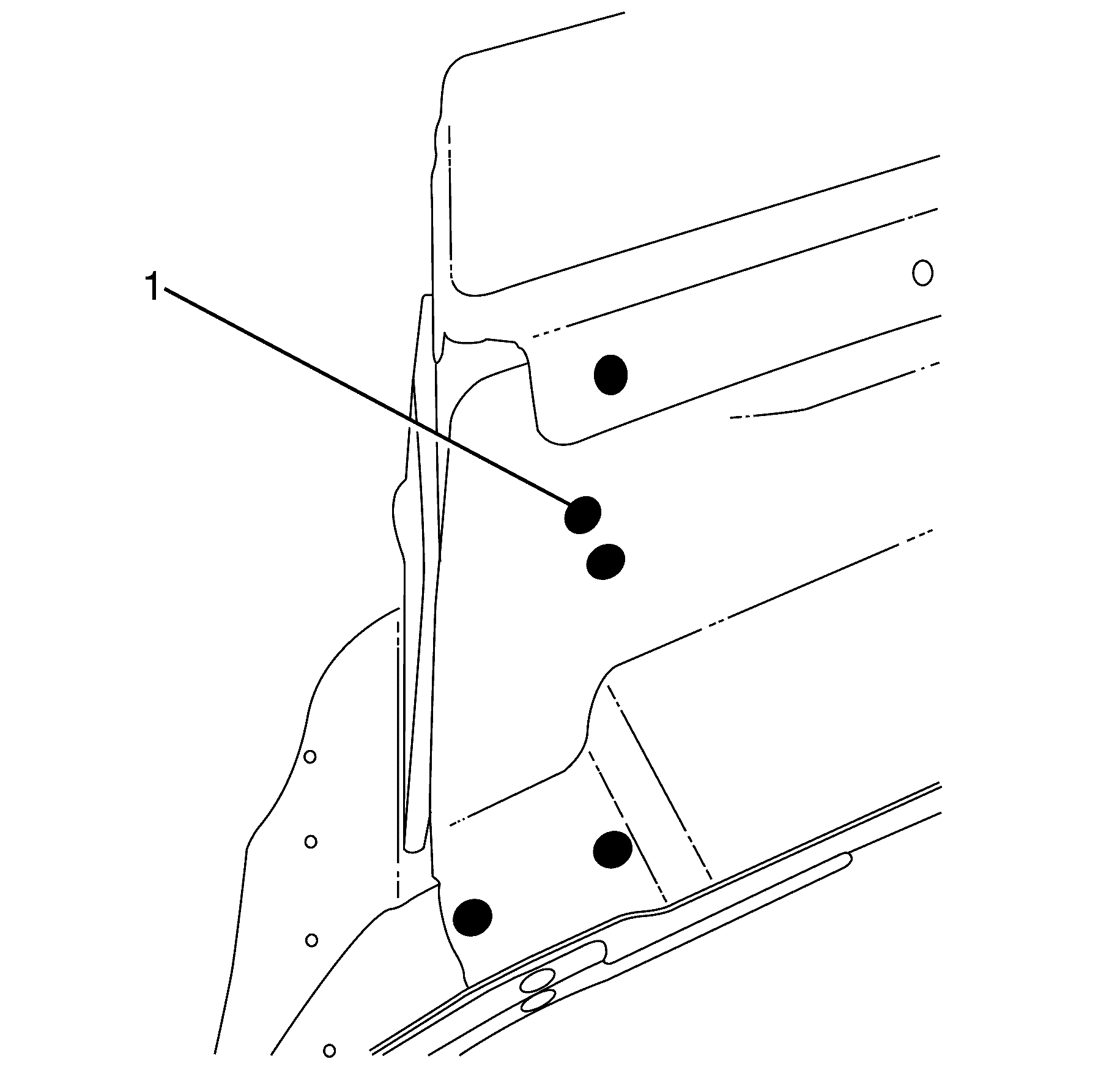
  19. Object Number: 1939830  Size: SH
  20. Locate, mark and drill out the spot welds (1) in the tail lamp filler panel to inner upper extension panel.
  21. Remove the tail lamp filler panel and extension panel from the vehicle.

Installation procedure

    Important: If the location of the original spot weld holes can not be determined, or if structural weld-thru adhesive is present, space the puddle weld holes every 32 mm (1¼ in).

    Important: Spot welding is the preferred method for attaching panels and should be used wherever possible. A puddle weld should be performed where your spot welder is unable to reach.


    Object Number: 1937452  Size: SH
  1. Apply the primary sealer (1) GM6449G or equivalent along the tail lamp filler panel and rear extension panel to the rear quarter panel.
  2. Position the tail lamp filler panel to the vehicle.

  3. Object Number: 1937450  Size: SH
  4. Align the datum hole alignment points at A, B and C.
  5. • Datum A is 10.5mm
    • Datum B is 10.2mm X 16.1mm
    • Datum C is 23.1mm

    Object Number: 1937286  Size: SH
  6. Weld (1) the tail light filler panel to the inner upper extension panel.

  7. Object Number: 1939833  Size: SH
  8. Weld the tail lamp filler panel to the rear end panel.
  9. Weld the tail lamp filler panel to the side extension.
  10. Weld the rear extension panel to the side extension panel.
  11. Weld the tail lamp filler panel and the rear extension panel to the rear quarter panel.

  12. Object Number: 1937452  Size: SH
  13. Apply the secondary sealer (1) GM specification 9984532 or equivalent along the tail lamp filler panel and side extension to the rear quarter panel.

  14. Object Number: 1937454  Size: SH
  15. Apply the secondary sealer (1) GM specification 9984532 or equivalent along the tail lamp filler panel to the rear end panel.
  16. Apply the sealers and anti-corrosion materials to the repair area, as necessary. Refer to Anti-Corrosion Treatment and Repair.
  17. Paint the repaired area. Refer to Basecoat/Clearcoat Paint Systems.
  18. Install the tail lights. Refer to Parking and Turn Signal Lamp Replacement.
  19. Install the pressure relief valves. Refer to Pressure Relief Valve Replacement .
  20. Install the rear bumper fascia. Refer to Rear Bumper Fascia Replacement.
  21. Install the rear wheels. Refer to Tire and Wheel Removal and Installation.
  22. Install the battery tray. Refer to Battery Tray Replacement.
  23. Install the battery. Refer to Battery Replacement.
  24. Install the rear compartment side trims. Refer to Rear Corner Trim Panel Carpet Replacement.
  25. Install the rear interior trims. Refer to Quarter Upper Trim Panel Replacement.
  26. Caution: Refer to Battery Disconnect Caution in the Preface section.

  27. Connect the negative battery cable. Refer to Battery Negative Cable Disconnection and Connection.
  28. Enable the SIR system. Refer to SIR Disabling and Enabling.
  29. If re-programming is required. Refer to Control Module References.

Body Tail Lamp Filler Panel Replacement SWB

Removal Procedure

    Caution: Refer to Approved Equipment for Collision Repair Caution in the Preface section.

    Caution: Refer to Foam Sound Deadeners Caution in the Preface section.

  1. Disable the SIR system. Refer to SIR Disabling and Enabling.
  2. Caution: Refer to Battery Disconnect Caution in the Preface section.

  3. Disconnect the negative battery cable. Refer to Battery Negative Cable Disconnection and Connection.
  4. Remove the rear compartment side trims. Refer to Rear Corner Trim Panel Carpet Replacement.
  5. Remove the rear interior trims. Refer to Quarter Upper Trim Panel Replacement.
  6. Remove the battery. Refer to Battery Replacement.
  7. Remove the rear bumper fascia. Refer to Rear Bumper Fascia Replacement.
  8. Remove the tail lights. Refer to Parking and Turn Signal Lamp Replacement.

  9. Object Number: 1939811  Size: SH
  10. Locate, mark and drill out the spot welds in the tail lamp filler panel to rear quarter panel.
  11. Locate, mark and drill out the spot welds in the tail lamp filler panel to rear end panel.
  12. Locate, mark and drill out the spot welds in the tail lamp filler panel to side extension.

  13. Object Number: 1939830  Size: SH
  14. Locate, mark and drill out the spot welds in the tail lamp filler panel to upper extension.
  15. Remove the tail lamp filler panel from the vehicle.

Installation procedure


    Object Number: 1937452  Size: SH
  1. Apply the primary sealer (1) GM6449G or equivalent path to the tail lamp filler panel.
  2. Install the tail lamp filler panel to the vehicle.

  3. Object Number: 1937450  Size: SH
  4. Align the datum hole alignment points at A, B and C.
  5. • Datum A is 4.1mm
    • Datum B is 10.2mm X 16.1mm
    • Datum C is 10.5mm

    Object Number: 1937286  Size: SH
  6. Weld (1) the tail light filler panel to the upper extension.

  7. Object Number: 1937493  Size: SH
  8. Weld (1) the tail light filler panel to the side extension.

  9. Object Number: 1939809  Size: SH
  10. Weld (1) the tail lamp filler panel to the rear end panel.

  11. Object Number: 1939806  Size: SH
  12. Weld (1) the tail lamp filler panel to the rear quarter panel.

  13. Object Number: 1937454  Size: SH
  14. Apply the secondary sealer (1) GM specification 9984532 or equivalent along the tail lamp filler panel to the rear quarter panel.
  15. Apply the secondary sealer (1) GM specification 9984532 or equivalent along the tail lamp filler panel to the rear end panel.
  16. Apply the secondary sealer (1) GM specification 9984532 or equivalent along the tail lamp filler panel to the side extension panel.
  17. Apply the sealers and anti-corrosion materials to the repair area, as necessary. Refer to Anti-Corrosion Treatment and Repair.
  18. Paint the repaired area. Refer to Basecoat/Clearcoat Paint Systems.
  19. Install the tail lights. Refer to Parking and Turn Signal Lamp Replacement.
  20. Install the rear bumper fascia. Refer to Rear Bumper Fascia Replacement.
  21. Install the battery. Refer to Battery Replacement.
  22. Install the rear compartment side trims. Refer to Rear Corner Trim Panel Carpet Replacement.
  23. Install the rear interior trims. Refer to Quarter Upper Trim Panel Replacement.
  24. Caution: Refer to Battery Disconnect Caution in the Preface section.

  25. Connect the negative battery cable. Refer to Battery Negative Cable Disconnection and Connection.
  26. Enable the SIR system. Refer to SIR Disabling and Enabling.
  27. If re-programming is required. Refer to Control Module References.

Body Tail Lamp Filler Panel Replacement With Extension Panel LWB

Removal Procedure

    Caution: Refer to Approved Equipment for Collision Repair Caution in the Preface section.

    Caution: Refer to Foam Sound Deadeners Caution in the Preface section.

  1. Disable the SIR system. Refer to SIR Disabling and Enabling.
  2. Caution: Refer to Battery Disconnect Caution in the Preface section.

  3. Disconnect the negative battery cable. Refer to Battery Negative Cable Disconnection and Connection.
  4. Remove the rear interior trims. Refer to Quarter Upper Trim Panel Replacement.
  5. Remove the rear compartment side trims. Refer to Rear Corner Trim Panel Carpet Replacement.
  6. Remove the battery. Refer to Battery Replacement.
  7. Remove the battery tray. Refer to Battery Tray Replacement.
  8. Caution: Refer to Vehicle Lifting Caution in the Preface section.

  9. Raise and support the vehicle. Refer to Lifting and Jacking the Vehicle.
  10. Remove the rear wheels. Refer to Tire and Wheel Removal and Installation.
  11. Remove the rear impact bar. Refer to Rear Bumper Fascia Insert Replacement.
  12. Remove the rear pressure relief valves. Refer to Pressure Relief Valve Replacement.
  13. Remove the tail lights. Refer to Parking and Turn Signal Lamp Replacement.

  14. Object Number: 1939824  Size: SH
  15. Locate, mark and drill out the spot welds in the tail lamp filler and rear extension panel to rear quarter panel.
  16. Locate, mark and drill out the spot welds in the rear extension panel to side extension panel.
  17. Locate, mark and drill out the spot welds in the tail lamp filler panel to side extension panel.
  18. Locate, mark and drill out the spot welds in the tail lamp filler panel to rear end panel.

  19. Object Number: 1939830  Size: SH
  20. Locate, mark and drill out the spot welds (1) in the tail lamp filler panel to inner upper extension panel.
  21. Remove the tail lamp filler panel and extension panel from the vehicle.

Installation procedure

    Important: If the location of the original spot weld holes can not be determined, or if structural weld-thru adhesive is present, space the puddle weld holes every 32 mm (1¼ in).

    Important: Spot welding is the preferred method for attaching panels and should be used wherever possible. A puddle weld should be performed where your spot welder is unable to reach.


    Object Number: 1937295  Size: SH
  1. Apply the primary sealer (1) GM6449G or equivalent along the tail lamp filler panel and rear extension panel to the rear quarter panel.
  2. Position the tail lamp filler panel to the vehicle.

  3. Object Number: 1937304  Size: SH
  4. Align the datum hole alignment points at A, B and C.
  5. • Datum A is 10.5mm
    • Datum B is 10.2mm X 16.1mm
    • Datum C is 23.1mm

    Object Number: 1937286  Size: SH
  6. Weld (1) the tail light filler panel to the inner upper extension panel.

  7. Object Number: 1939822  Size: SH
  8. Weld (1) the tail lamp filler panel to the rear end panel.

  9. Object Number: 1939821  Size: SH
  10. Weld (1) the tail lamp filler panel to the side extension.

  11. Object Number: 1939819  Size: SH
  12. Weld (1) the rear extension panel to the side extension panel.

  13. Object Number: 1939814  Size: SH
  14. Weld (1) the tail lamp filler panel and the rear extension panel to the rear quarter panel.

  15. Object Number: 1937295  Size: SH
  16. Apply the secondary sealer (1) GM specification 9984532 or equivalent along the tail lamp filler panel and side extension to the rear quarter panel.

  17. Object Number: 1937297  Size: SH
  18. Apply the secondary sealer (1) GM specification 9984532 or equivalent along the tail lamp filler panel to the rear end panel.
  19. Apply the sealers and anti-corrosion materials to the repair area, as necessary. Refer to Anti-Corrosion Treatment and Repair.
  20. Paint the repaired area. Refer to Basecoat/Clearcoat Paint Systems.
  21. Install the tail lights. Refer to Parking and Turn Signal Lamp Replacement
  22. Install the pressure relief valves. Refer to Pressure Relief Valve Replacement.
  23. Install the rear bumper fascia. Refer to Rear Bumper Fascia Replacement.
  24. Install the rear wheels. Refer to Tire and Wheel Removal and Installation.
  25. Install the battery tray. Refer to Battery Tray Replacement.
  26. Install the battery. Refer to Battery Replacement.
  27. Install the rear compartment side trims. Refer to Rear Corner Trim Panel Carpet Replacement.
  28. Install the rear interior trims. Refer to Quarter Upper Trim Panel Replacement.
  29. Caution: Refer to Battery Disconnect Caution in the Preface section.

  30. Connect the negative battery cable. Refer to Battery Negative Cable Disconnection and Connection.
  31. Enable the SIR system. Refer to SIR Disabling and Enabling.

Body Tail Lamp Filler Panel Replacement LWB

Removal Procedure

    Caution: Refer to Approved Equipment for Collision Repair Caution in the Preface section.

    Caution: Refer to Foam Sound Deadeners Caution in the Preface section.

  1. Disable the SIR system. Refer to SIR Disabling and Enabling.
  2. Caution: Refer to Battery Disconnect Caution in the Preface section.

  3. Disconnect the negative battery cable. Refer to Battery Negative Cable Disconnection and Connection.
  4. Remove the rear compartment side trims. Refer to Rear Compartment Side Trim Panel Replacement.
  5. Remove the rear interior trims. Refer to Quarter Upper Trim Panel Replacement.
  6. Remove the battery. Refer to Battery Replacement.
  7. Remove the rear bumper fascia. Refer to Rear Bumper Fascia Replacement.
  8. Remove the tail lights. Refer to Parking and Turn Signal Lamp Replacement.

  9. Object Number: 1939768  Size: SH
  10. Locate, mark and drill out the spot welds in the tail lamp filler panel to rear quarter panel.
  11. Locate, mark and drill out the spot welds in the tail lamp filler panel to rear end panel.
  12. Locate, mark and drill out the spot welds in the tail lamp filler panel to side extension.

  13. Object Number: 1939830  Size: SH
  14. Locate, mark and drill out the spot welds in the tail lamp filler panel to upper extension.
  15. Remove the tail lamp filler panel from the vehicle.

Installation procedure


    Object Number: 1937298  Size: SH
  1. Apply the primary sealer (1) GM6449G or equivalent path to the tail lamp filler panel.
  2. Install the tail lamp filler panel to the vehicle.

  3. Object Number: 1937302  Size: SH
  4. Align the datum hole alignment points at A, B and C.
  5. • Datum A is 4.1mm
    • Datum B is 10.2mm X 16.1mm
    • Datum C is 10.5mm

    Object Number: 1937286  Size: SH
  6. Weld (1) the tail light filler panel to the upper extension.

  7. Object Number: 1937284  Size: SH
  8. Weld the tail light filler panel to the side extension.
  9. Weld the tail lamp filler panel to the rear end panel.
  10. Weld the tail lamp filler panel to the rear quarter panel.

  11. Object Number: 1937300  Size: SH
  12. Apply the secondary sealer (1) GM specification 9984532 or equivalent along the tail lamp filler panel to the rear quarter panel.
  13. Apply the secondary sealer (1) GM specification 9984532 or equivalent along the tail lamp filler panel to the rear end panel.
  14. Apply the secondary sealer (1) GM specification 9984532 or equivalent along the tail lamp filler panel to the side extension panel.
  15. Apply the sealers and anti-corrosion materials to the repair area, as necessary. Refer to Anti-Corrosion Treatment and Repair.
  16. Paint the repaired area. Refer to Basecoat/Clearcoat Paint Systems.
  17. Install the tail lights. Refer to Parking and Turn Signal Lamp Replacement
  18. Install the rear bumper fascia. Refer to Rear Bumper Fascia Replacement.
  19. Install the battery. Refer to Battery Replacement.
  20. Install the rear compartment side trims. Refer to Rear Compartment Side Trim Panel Replacement.
  21. Install the rear interior trims. Refer to Quarter Upper Trim Panel Replacement.
  22. Caution: Refer to Battery Disconnect Caution in the Preface section.

  23. Connect the negative battery cable. Refer to Battery Negative Cable Disconnection and Connection.
  24. Enable the SIR system. Refer to SIR Disabling and Enabling.