GM Service Manual Online
For 1990-2009 cars only

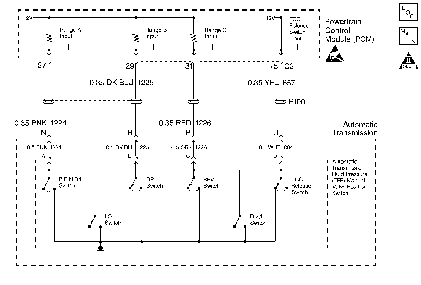
DTC P1810 TFP Valve Position Switch Circuit 2.4L

Table 1: TFP Valve Position Switch Logic Table
Table 2: DTC P1810 TFP Manual Valve Position Switch Assembly Circuit Malfunction

Object Number: 100679  Size: MF

Circuit Description

The Automatic Transmission Fluid Pressure Manual Valve Position Switch (TFP Val. Position Sw.) consists of six pressure switches. Five of the switches are normally-open, and determine gear range selection. The sixth switch is normally-closed, and detects Torque Converter Clutch (TCC) release fluid pressure. The TFP Val. Position Sw. also contains the Automatic Transmission Fluid Temperature (TFT) sensor. These components are combined into one unit, mounted on the valve body.

The Powertrain Control Module (PCM) provides battery voltage on the three range signal circuits. By grounding one or more of the switches with fluid pressure from the manual shift valve, the PCM detects the selected gear range. When you disconnect the transmission electrical connector and the ignition is ON, the ground potential for three range signals from the PCM will be removed, and an illegal gear will be indicated (Refer to the TFP Val. Position Sw. Logic table).

When the PCM detects any of the following conditions, DTC P1810 sets.

    • An invalid gear state
    • A drive range after start up
    • An incorrect gear ratio

DTC P1810 is a type B DTC.

Conditions for Setting the DTC

DTC P1810 sets when any one of the following three conditions occur:

Condition 1

    • The engine is running.
    • The gear range is illegal for 5 seconds (Refer to the TFP Val. Position Sw. Logic table).

Condition 2

    • No A/T OSS DTCs P0502 or P0503.
    • The engine speed is in transition from 0 RPM to greater than 500 RPM.
    • The vehicle speed is less than 3 km/h (2 mph).
    • D2, D4, or Reverse gear is indicated after start-up for 2 seconds.

Condition 3

    • No TP Sensor DTCs P0121, P0122, or P0123.
    • No A/T OSS DTCs P0502 or P0503.
    • No A/T ISS DTCs P0716 or P0717.
    • No shift solenoid DTCs P0751, P0753, P0756, or P0758.
    • The engine is running.
    • The vehicle speed is at least 8 km/h (5 mph).
    • The TP is at least 10%.
    • Engine torque is greater than 13N·m (10 lb. ft.)
    • The MAP is 10-105 kPa.

And any one of the following three conditions occurs:

    • The TFP Val. Position Sw. indicates Park/Neutral when the gear ratio is less than 1:0.72 (4th gear) for 5 seconds.
    • The TFP Val. Position Sw. indicates Reverse when the gear ratio is greater than 1:2.23, or less than 1:2.02, for 5 seconds.
    • The TFP Val. Position Sw. indicates D, 3, 2, or 1 when the gear ratio indicates Reverse for 5 seconds.

Action Taken When the DTC Sets

    • The PCM illuminates the Malfunction Indicator Lamp (MIL).
    • The PCM elevates line pressure.
    • The PCM inhibits TCC engagement.
    • The PCM assumes a D4 shift pattern.
    • The PCM freezes shift adapts from being updated.
    • DTC P1810 is stored in the PCM history.

Conditions for Clearing the MIL/DTC

    • The PCM turns OFF the MIL after three consecutive trips without a failure reported.
    • A scan tool can clear the DTC from the PCM history. The PCM clears the DTC from the PCM history if the vehicle completes 40 warm-up cycles without a failure reported.
    • The PCM cancels the DTC default actions when the fault no longer exists and the ignition is OFF long enough in order to power down the PCM.

Diagnostic Aids

    • A pressure regulator problem could set DTC P1810.
    • Inspect the wiring at the PCM, the transmission 20-way connector, the TFP Val. Position Sw. 6-way connector, and all other circuit connecting points for the following conditions:
       - A bent terminal
       - A backed out terminal
       - A damaged terminal
       - Poor terminal tension
       - A chafed wire
       - A broken wire inside the insulation
       - Moisture intrusion
       - Corrosion
    • When diagnosing for an intermittent short or open condition, massage the wiring harness while watching the test equipment for a change.

TFP Valve Position Switch Logic Table

Gear Position

Range Signal A

Range Signal B

Range Signal C

PARK

ON

OFF

OFF

REVERSE

ON

OFF

ON

NEUTRAL

ON

OFF

OFF

DRIVE/OD

ON

ON

OFF

D3/3rd

OFF

ON

OFF

D2/2nd

OFF

ON

ON

D1/Lo

ON

ON

ON

Illegal

OFF

OFF

OFF

Illegal

OFF

OFF

ON

Test Description

The numbers below refer to the step numbers on the diagnostic table.

  1. This step tests the PCM's ability to recognize an open circuit on signal A, B, and C ranges.

  2. This step verifies signal A circuit from the PCM.

  3. This step verifies signal B circuit from the PCM.

  4. This step verifies signal C circuit from the PCM.

DTC P1810 TFP Manual Valve Position Switch Assembly Circuit Malfunction

Step

Action

Value(s)

Yes

No

1

Was the Powertrain On-Board Diagnostic (OBD) System Check performed?

--

Go to Step 2

Go to Powertrain OBD System Check

2

Have you performed the transmission fluid checking procedure?

--

Go to Step 3

Go to Transmission Fluid Check

3

  1. Install the Scan Tool .
  2. With the engine OFF, turn the ignition switch to the RUN position.
  3. Important: Before clearing the DTC(s), use the scan tool in order to record the Freeze Frame and Failure Records for reference. Using the Clear Info function will erase the stored Freeze Frame and Failure Records from the PCM.

  4. Record the DTC Freeze Frame and Failure Records, then clear the DTC(s).
  5. Apply the parking brake.
  6. Start the engine.
  7. Apply the brakes.
  8. Select each transmission range (P, R, N, 1, 2, 3, D) while monitoring the scan tool TFP Switch.

Refer to Automatic Transmission Fluid Pressure Manual Valve Position Switch (TFP Val. Position Sw.) Logic Table.

Does each selected transmission range match the scan tool display?

--

Go to Diagnostic Aids

Go to Step 4

4

  1. Turn the ignition OFF.
  2. Disconnect the transmission 20-way connector (additional DTCs will set).
  3. With the engine OFF, turn the ignition switch to the RUN position.

Does the TFP Switch display match the specified values?

A Off

B Off

C Off

Go to Step 11

Go to Step 5

5

Does TFP Switch indicate range signal A is On?

--

Go to Step 8

Go to Step 6

6

Does TFP Switch indicate range signal B is On?

--

Go to Step 9

Go to Step 7

7

Does TFP Switch indicate range signal C is On?

--

Go to Step 10

--

8

Inspect circuit 1224 of the engine harness for a short to ground.

Refer to Troubleshooting Procedures in the Electrical Diagnosis Section.

Did you find and correct the condition?

--

Go to Step 29

Go to Step 28

9

Inspect circuit 1225 of the engine harness for a short to ground.

Refer to Troubleshooting Procedures in the Electrical Diagnosis Section.

Did you find and correct the condition?

--

Go to Step 29

Go to Step 28

10

Inspect circuit 1226 of the engine harness for a short to ground.

Refer to Troubleshooting Procedures in the Electrical Diagnosis Section.

Did you find and correct the condition?

--

Go to Step 29

Go to Step 28

11

Important: If, while performing Steps 11, 12, or 13, two (or more) signal ranges indicate On, those circuits are shorted together.

  1. Install the J 39775 Jumper Harness to the engine side of the 20-way connector.
  2. Using the J 35616-A Connector Test Adapter Kit, connect a fused jumper wire from terminal N to a good ground.

Does the TFP Switch indicate signal A is On?

A On

Go to Step 12

Go to Step 14

12

Connect the fused jumper wire from terminal R to a good ground.

Does the TFP Switch indicate signal B is On?

B On

Go to Step 13

Go to Step 15

13

Connect the fused jumper wire from terminal P to a good ground.

Does the TFP Switch indicate signal C is On?

C On

Go to Step 17

Go to Step 16

14

Inspect circuit 1224 of the engine harness for an open.

Refer to Troubleshooting Procedures in the Electrical Diagnosis Section.

Did you find and correct the condition?

--

Go to Step 29

Go to Step 28

15

Inspect circuit 1225 of the engine harness for an open.

Refer to Troubleshooting Procedures in the Electrical Diagnosis Section.

Did you find and correct the condition?

--

Go to Step 29

Go to Step 28

16

Inspect circuit 1226 of the engine harness for an open.

Refer to Troubleshooting Procedures in the Electrical Diagnosis Section.

Did you find and correct the condition?

--

Go to Step 29

Go to Step 28

17

  1. Turn the ignition OFF.
  2. Disconnect the J 39775 Jumper Harness from the engine side of the 20-way connector.
  3. Install the J 39775 Jumper Harness on the transmission side of the 20-way connector.
  4. Using the J 35616-A Connector Test Adapter Kit, connect the J 39200 Digital Multimeter (DMM) from terminal N to a good ground and measure the resistance.

Is the resistance greater than the specified value?

1000 ohms

Go to Step 18

Go to Step 20

18

Measure the resistance from terminal R to a good ground.

Is the resistance greater than the specified value?

1000 ohms

Go to Step 19

Go to Step 21

19

Measure the resistance from terminal P to a good ground.

Is the resistance greater than the specified value?

1000 ohms

Go to Step 23

Go to Step 22

20

Inspect circuit 1224, from the transmission 20-way connector to the TFP Val. Position Sw., for a short to ground.

Refer to Troubleshooting Procedures in the Electrical Diagnosis Section.

Did you find the condition?

--

Go to Step 26

Go to Step 27

21

Inspect circuit 1225, from the transmission 20-way connector to the TFP Val. Position Sw., for a short to ground.

Refer to Troubleshooting Procedures in the Electrical Diagnosis Section.

Did you find the condition?

--

Go to Step 26

Go to Step 27

22

Inspect circuit 1226, from the transmission 20-way connector to the TFP Val. Position Sw., for a short to ground.

Refer to Troubleshooting Procedures in the Electrical Diagnosis Section.

Did you find the condition?

--

Go to Step 26

Go to Step 27

23

Inspect circuit 1224 from the transmission 20-way connector to the TFP Val. Position Sw. for an open.

Refer to Troubleshooting Procedures in the Electrical Diagnosis Section.

Did you find the condition?

--

Go to Step 26

Go to Step 27

24

Inspect circuit 1225 from the transmission 20-way connector to the TFP Val. Position Sw. for an open.

Refer to Troubleshooting Procedures in the Electrical Diagnosis Section.

Did you find the condition?

--

Go to Step 26

Go to Step 27

25

Inspect circuit 1226 from the transmission 20-way connector to the TFP Val. Position Sw. for an open.

Refer to Troubleshooting Procedures in the Electrical Diagnosis Section.

Did you find the condition?

--

Go to Step 26

Go to Step 27

26

Replace the Automatic Transmission Wiring Harness.

Refer to Automatic Transmission Wiring Harness Replacement in the Automatic Transmission On-Vehicle Service Section.

Is the replacement complete?

--

Go to Step 29

--

27

Replace the TFP Val. Position Sw.

Refer to Automatic Transmission Fluid Pressure Manual Valve Position Switch Replacement, in the Automatic Transmission On-Vehicle Service Section.

Is the replacement complete?

--

Go to Step 29

--

28

Replace the PCM.

Refer to PCM Replacement/Programming.

Is the replacement complete?

--

Go to Step 29

--

29

In order to verify your repair, perform the following procedure:

  1. Select DTC.
  2. Select Clear Info.
  3. Operate the vehicle under the following conditions:
  4. • Drive the vehicle in D4 with the throttle greater than 10%.
    • Allow the transmission to shift through all gears.
  5. Select Specific DTC. Enter DTC P1810.

Has the test run and passed?

--

System OK

Begin the diagnosis again. Go to Step 1

DTC P1810 TFP Valve Position Switch Circuit 3.1L

Table 1: TFP Valve Position Switch Logic Table
Table 2: DTC P1810 TFP Manual Valve Position Switch Assembly Circuit Malfunction

Object Number: 100683  Size: MF

Circuit Description

The Automatic Transmission Fluid Pressure Manual Valve Position Switch (TFP Val. Position Sw.) consists of six pressure switches. Five of the switches are normally-open, and determine gear range selection. The sixth switch is normally-closed, and detects Torque Converter Clutch (TCC) release fluid pressure. The TFP Val. Position Sw. also contains the Automatic Transmission Fluid Temperature (TFT) sensor. These components are combined into one unit, mounted on the valve body.

The Powertrain Control Module (PCM) provides battery voltage on the three range signal circuits. By grounding one or more of the switches with fluid pressure from the manual shift valve, the PCM detects the selected gear range. When you disconnect the transmission electrical connector and the ignition is ON, the ground potential for three range signals from the PCM will be removed, and an illegal gear will be indicated (Refer to the TFP Val. Position Sw. Logic table).

When the PCM detects any of the following conditions, DTC P1810 sets.

    • An invalid gear state
    • A drive range after start up
    • An incorrect gear ratio

DTC P1810 is a type B DTC.

Conditions for Setting the DTC

DTC P1810 sets when any one of the following three conditions occur:

Condition 1

    • The engine is running.
    • The system voltage is 9-16 volts.
    • The gear range is illegal for 5 seconds (Refer to the TFP Val. Position Sw. Logic table).

Condition 2

    • No A/T OSS DTCs P0502 or P0503.
    • The engine speed is in transition from 0 RPM to greater than 500 RPM.
    • The system voltage is 9-16 volts.
    • The vehicle speed is less than 3 km/h (2 mph).
    • D2, D4 or Reverse gear is indicated after start-up for 2 seconds.

Condition 3

    • No TP Sensor DTCs P0121, P0122 or P0123.
    • No A/T OSS DTCs P0502 or P0503.
    • No A/T ISS DTCs P0716 or P0717.
    • No shift solenoid DTCs P0751, P0753, P0756 or P0758.
    • The engine is running.
    • The vehicle speed is at least 8 km/h (5 mph).
    • The TP is at least 10%.
    • The system voltage is 9-16 volts.
    • Engine torque is greater than 13N·m (10 lb. ft.)
    • The MAP is 10-105 kPa.

And any one of the following three conditions occurs:

    • The TFP Val. Position Sw. indicates Park/Neutral when the gear ratio is less than 1:0.72 (4th gear) for 5 seconds.
    • The TFP Val. Position Sw. indicates Reverse when the gear ratio is greater than 1:2.23, or less than 1:2.02, for 5 seconds.
    • The TFP Val. Position Sw. indicates D, 3, 2 or 1 when the gear ratio indicates Reverse for 5 seconds.

Action Taken When the DTC Sets

    • The PCM illuminates the Malfunction Indicator Lamp (MIL).
    • The PCM elevates line pressure.
    • The PCM inhibits TCC engagement.
    • The PCM assumes a D4 shift pattern.
    • The PCM freezes shift adapts from being updated.
    • DTC P1810 is stored in the PCM history.

Conditions for Clearing the MIL/DTC

    • The PCM turns OFF the MIL after three consecutive trips without a failure reported.
    • A scan tool can clear the DTC from the PCM history. The PCM clears the DTC from the PCM history if the vehicle completes 40 warm-up cycles without a failure reported.
    • The PCM cancels the DTC default actions when the fault no longer exists and the ignition is OFF long enough in order to power down the PCM.

Diagnostic Aids

    • A pressure regulator problem could set DTC P1810.
    • Inspect the at the PCM, the transmission 20-way connector, the TFP Val. Position Sw. 6-way connector, and all other circuit connecting points for the following conditions:
       - A bent terminal
       - A backed out terminal
       - A damaged terminal
       - Poor terminal tension
       - A chafed wire
       - A broken wire inside the insulation
       - Moisture intrusion
       - Corrosion
    • When diagnosing for an intermittent short or open condition, massage the wiring harness while watching the test equipment for a change.

TFP Valve Position Switch Logic Table

Gear Position

Range Signal A

Range Signal B

Range Signal C

PARK

ON

OFF

OFF

REVERSE

ON

OFF

ON

NEUTRAL

ON

OFF

OFF

DRIVE/OD

ON

ON

OFF

D3/3rd

OFF

ON

OFF

D2/2nd

OFF

ON

ON

D1/Lo

ON

ON

ON

Illegal

OFF

OFF

OFF

Illegal

OFF

OFF

ON

Test Description

The numbers below refer to the step numbers on the diagnostic table.

  1. This step tests the PCM's ability to recognize an open circuit on signal A, B, and C ranges.

  2. This step verifies signal A circuit from the PCM.

  3. This step verifies signal B circuit from the PCM.

  4. This step verifies signal C circuit from the PCM.

DTC P1810 TFP Manual Valve Position Switch Assembly Circuit Malfunction

Step

Action

Value(s)

Yes

No

1

Was the Powertrain On-Board Diagnostic (OBD) System Check performed?

--

Go to Step 2

Go to Powertrain OBD System Check

2

Have you performed the transmission fluid checking procedure?

--

Go to Step 3

Go to Transmission Fluid Check

3

  1. Install the Scan Tool .
  2. With the engine OFF, turn the ignition switch to the RUN position.
  3. Important: Before clearing the DTC(s), use the scan tool in order to record the Freeze Frame and Failure Records for reference. Using the Clear Info function will erase the stored Freeze Frame and Failure Records from the PCM.

  4. Record the DTC Freeze Frame and Failure Records, then clear the DTC(s).
  5. Apply the parking brake.
  6. Start the engine.
  7. Apply the brakes.
  8. Select each transmission range (P, R, N, 1, 2, 3, D) while monitoring the scan tool TFP Switch.

Refer to Automatic Transmission Fluid Pressure Manual Valve Position Switch (TFP Val. Position Sw.) Logic Table.

Does each selected transmission range match the scan tool display?

--

Go to Diagnostic Aids

Go to Step 4

4

  1. Turn the ignition OFF.
  2. Disconnect the transmission 20-way connector (additional DTCs will set).
  3. With the engine OFF, turn the ignition switch to the RUN position.

Does the TFP Switch display match the specified values?

A Off

B Off

C Off

Go to Step 11

Go to Step 5

5

Does TFP Switch indicate range signal A is On?

--

Go to Step 8

Go to Step 6

6

Does TFP Switch indicate range signal B is On?

--

Go to Step 9

Go to Step 7

7

Does TFP Switch indicate range signal C is On?

--

Go to Step 10

--

8

Inspect circuit 1224 of the engine harness for a short to ground.

Refer to Troubleshooting Procedures in the Electrical Diagnosis Section.

Did you find and correct the condition?

--

Go to Step 29

Go to Step 28

9

Inspect circuit 1225 of the engine harness for a short to ground.

Refer to Troubleshooting Procedures in the Electrical Diagnosis Section.

Did you find and correct the condition?

--

Go to Step 29

Go to Step 28

10

Inspect circuit 1226 of the engine harness for a short to ground.

Refer to Troubleshooting Procedures in the Electrical Diagnosis Section.

Did you find and correct the condition?

--

Go to Step 29

Go to Step 28

11

Important: If, while performing Steps 11, 12, or 13, two (or more) signal ranges indicate On, those circuits are shorted together.

  1. Install the J 39775 Jumper Harness to the engine side of the 20-way connector.
  2. Using the J 35616-A Connector Test Adapter Kit, connect a fused jumper wire from terminal N to a good ground.

Does the TFP Switch indicate signal A is On?

A On

Go to Step 12

Go to Step 14

12

Connect the fused jumper wire from terminal R to a good ground.

Does the TFP Switch indicate signal B is On?

B On

Go to Step 13

Go to Step 15

13

Connect the fused jumper wire from terminal P to a good ground.

Does the TFP Switch indicate signal C is On?

C On

Go to Step 17

Go to Step 16

14

Inspect circuit 1224 of the engine harness for an open.

Refer to Troubleshooting Procedures in the Electrical Diagnosis Section.

Did you find and correct the condition?

--

Go to Step 29

Go to Step 28

15

Inspect circuit 1225 of the engine harness for an open.

Refer to Troubleshooting Procedures in the Electrical Diagnosis Section.

Did you find and correct the condition?

--

Go to Step 29

Go to Step 28

16

Inspect circuit 1226 of the engine harness for an open.

Refer to Troubleshooting Procedures in the Electrical Diagnosis Section.

Did you find and correct the condition?

--

Go to Step 29

Go to Step 28

17

  1. Turn the ignition OFF.
  2. Disconnect the J 39775 Jumper Harness from the engine side of the 20-way connector.
  3. Install the J 39775 Jumper Harness on the transmission side of the 20-way connector.
  4. Using the J 35616-A Connector Test Adapter Kit, connect the J 39200 Digital Multimeter (DMM) from terminal N to a good ground and measure the resistance.

Is the resistance greater than the specified value?

1000 ohms

Go to Step 18

Go to Step 20

18

Measure the resistance from terminal R to a good ground.

Is the resistance greater than the specified value?

1000 ohms

Go to Step 19

Go to Step 21

19

Measure the resistance from terminal P to a good ground.

Is the resistance greater than the specified value?

1000 ohms

Go to Step 23

Go to Step 22

20

Inspect circuit 1224, from the transmission 20-way connector to the TFP Val. Position Sw., for a short to ground.

Refer to Troubleshooting Procedures in the Electrical Diagnosis Section.

Did you find the condition?

--

Go to Step 26

Go to Step 27

21

Inspect circuit 1225, from the transmission 20-way connector to the TFP Val. Position Sw., for a short to ground.

Refer to Troubleshooting Procedures in the Electrical Diagnosis Section.

Did you find the condition?

--

Go to Step 26

Go to Step 27

22

Inspect circuit 1226, from the transmission 20-way connector to the TFP Val. Position Sw., for a short to ground.

Refer to Troubleshooting Procedures in the Electrical Diagnosis Section.

Did you find the condition?

--

Go to Step 26

Go to Step 27

23

Inspect circuit 1224 from the transmission 20-way connector to the TFP Val. Position Sw. for an open.

Refer to Troubleshooting Procedures in the Electrical Diagnosis Section.

Did you find the condition?

--

Go to Step 26

Go to Step 27

24

Inspect circuit 1225 from the transmission 20-way connector to the TFP Val. Position Sw. for an open.

Refer to Troubleshooting Procedures in the Electrical Diagnosis Section.

Did you find the condition?

--

Go to Step 26

Go to Step 27

25

Inspect circuit 1226 from the transmission 20-way connector to the TFP Val. Position Sw. for an open.

Refer to Troubleshooting Procedures in the Electrical Diagnosis Section.

Did you find the condition?

--

Go to Step 26

Go to Step 27

26

Replace the Automatic Transmission Wiring Harness.

Refer to Automatic Transmission Wiring Harness Replacement in the Automatic Transmission On-Vehicle Service Section.

Is the replacement complete?

--

Go to Step 29

--

27

Replace the TFP Val. Position Sw.

Refer to Automatic Transmission Fluid Pressure Manual Valve Position Switch Replacement, in the Automatic Transmission On-Vehicle Service Section.

Is the replacement complete?

--

Go to Step 29

--

28

Replace the PCM.

Refer to PCM Replacement/Programming.

Is the replacement complete?

--

Go to Step 29

--

29

In order to verify your repair, perform the following procedure:

  1. Select DTC.
  2. Select Clear Info.
  3. Operate the vehicle under the following conditions:
  4. • Drive the vehicle in D4 with the throttle greater than 10%.
    • Allow the transmission to shift through all gears.
  5. Select Specific DTC. Enter DTC P1810.

Has the test run and passed?

--

System OK

Begin the diagnosis again. Go to Step 1