GM Service Manual Online
For 1990-2009 cars only

Trim Height Low or Uneven

    • Inspect for broken or sagging springs.
    • Inspect for an overloaded vehicle.
    • Inspect for incorrect or weak springs.

Trim Height Measurements

  1. Prior to measuring the vehicle trim height, prepare the vehicle as follows:
  2. 1.1. Fill the gas tank.
    1.2. Properly locate the spare tire and tools.
    1.3. Remove any ice, snow or mud from the vehicle.
    1.4. Set the front and rear tires pressures within plus or minus 20 kPa (3 psi) of the recommended pressure. If two different load conditions are shown on the placard, use the lower load condition.
    1.5. Close the engine compartment hood and all the doors.
    1.6. Up to 7 kg (15.5 lb) may be left in the trunk if it is located approximately on the vehicle centerline. Remove any items necessary to meet these requirements.

    Object Number: 174434  Size: SH
  3. In order to measure the trim height for the J dimension (1), lift the front bumper of the vehicle up approximately 38.0 mm (1½ in).
  4. Remove hands gently.
  5. Allow the vehicle to settle.
  6. Repeat this procedure a total of 3 times.

  7. Object Number: 174438  Size: SH
  8. Measure the dimension (1). Refer to Trim Height Specifications
  9. Push the front bumper down approximately 38.00 mm (1½ in)
  10. Repeat this procedure a total of 3 times.
  11. Measure the dimension (1).
  12. Calculate the average of the high and low measurements in order to determine the true heights.

  13. Object Number: 174441  Size: SH
  14. In order to measure the trim height for the Z dimension (1), lift the front bumper of the vehicle up approximately 38.0 mm (1½ in).
  15. Remove hands gently.
  16. Allow the vehicle to settle.
  17. Repeat this procedure a total of 3 times.
  18. Measure the distance between the frame rail (2) and the parallel offball joint (3).
  19. Measure the (1) dimension. Refer to Trim Height Specifications .
  20. Push the front bumper down approximately 38.00 mm (1½ in)
  21. Repeat this procedure a total of 3  times.
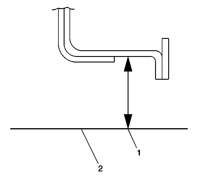
  22. Measure the dimension (1) from the rocker panel to the ground (2).
  23. Calculate the average of the high and low measurements in order to determine the true heights.

  24. Object Number: 174434  Size: SH
  25. To measure the trim height for the K dimension (1), lift the rear bumper of the vehicle up to approximately 38.0 mm (1½ in). Remove hands gently.
  26. Let the vehicle settle.
  27. Repeat this procedure a total of 3 times.

  28. Object Number: 174438  Size: SH
  29. Measure the dimension (1). Refer to Trim Height Specifications .

  30. Object Number: 236864  Size: SH
  31. Measure distance (1).
  32. Push the rear bumper down approximately 38.0 mm (1½ in).
  33. Gently remove hand and let vehicle rise on its own.
  34. Repeat twice for a total of 3 times.
  35. Measure the dimension (1).
  36. Calculate the average of the high and low measurements in order to determine the true heights.

  37. Object Number: 174438  Size: SH
  38. In order to measure the trim height for the D dimension (1), lift the rear bumper of the vehicle up to approximately 38.0 mm (1½ in).
  39. Gently remove your hands.
  40. Let the vehicle settle.
  41. Repeat this procedure a total of 3  times.
  42. Measure the dimension (1). Refer to Trim Height Specifications .
  43. Push the rear bumper down approximately 38.0 mm (1½ in).
  44. Gently remove hand and let vehicle rise on its own.
  45. Repeat twice for a total of 3 times.
  46. Measure the dimension (1) from the rocker panel to the ground (2).
  47. Calculate the average of the high and low measurements in order to determine the true heights.