GM Service Manual Online
For 1990-2009 cars only

Disassembly Procedure

Tools Required

    • J 23653-SIR Lock Plate Compressor
    • J 42137 Lock Plate Compressor Adapter
    • J 21854-01 Pivot Pin Remover
  1. Remove the SIR coil assembly. Refer to Inflatable Restraint Steering Wheel Module Coil Disassemble - Off Vehicle .

  2. Object Number: 371185  Size: SH
  3. Remove the bearing retainer with J 23653-SIR and the J 42137 and dispose of it.

  4. Object Number: 371187  Size: SH
  5. Remove the cam orientation plate (1).
  6. Remove the turn signal cancel cam assembly (2).

  7. Object Number: 372070  Size: SH
  8. Remove the upper bearing spring (1).
  9. Remove the upper bearing inner race seat (2).
  10. Remove the inner race (3).

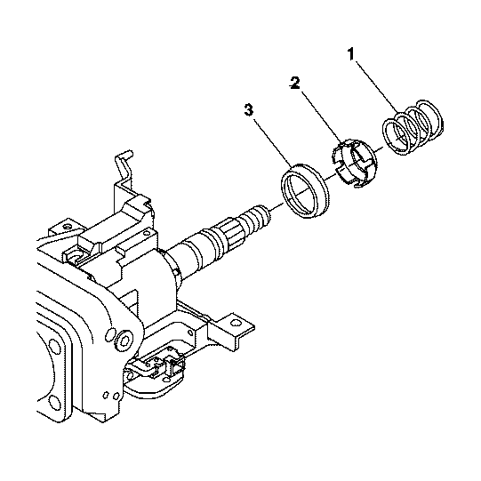
  11. Object Number: 372071  Size: SH
  12. Remove the 2 pivot pins using J 21854-01 .
  13. Remove the tilt spring assembly only. Refer to Tilt Spring - Disassemble - Off Vehicle .

  14. Object Number: 371251  Size: SH
  15. Pull tilt arm to disengage steering wheel lock shoes from the dowel pins in steering column support assembly and remove the bearing and housing assembly.

  16. Object Number: 371190  Size: SH
  17. Remove the bearing and housing assembly.