GM Service Manual Online
For 1990-2009 cars only

Removal Procedure

    • The cruise control module assembly is mounted on the right front inner fender well.
    • The module assembly varies the throttle with each cruise control mode using the following components:
       - An electric controller
       - An electric stepper motor
    • Service the module as an assembly.

    Caution: Unless directed otherwise, the ignition and start switch must be in the OFF or LOCK position, and all electrical loads must be OFF before servicing any electrical component. Disconnect the negative battery cable to prevent an electrical spark should a tool or equipment come in contact with an exposed electrical terminal. Failure to follow these precautions may result in personal injury and/or damage to the vehicle or its components.

  1. Disconnect the negative battery cable.
  2. Remove the cruise control cable at the engine bracket and the throttle body injection (TBI) cam. Refer to Cruise Control Cable Replacement .
  3. Remove the cruise control cable from the module assembly. Refer to Cruise Control Cable Replacement .
  4. Disconnect the electrical connector from the module assembly.

  5. Object Number: 276308  Size: SH
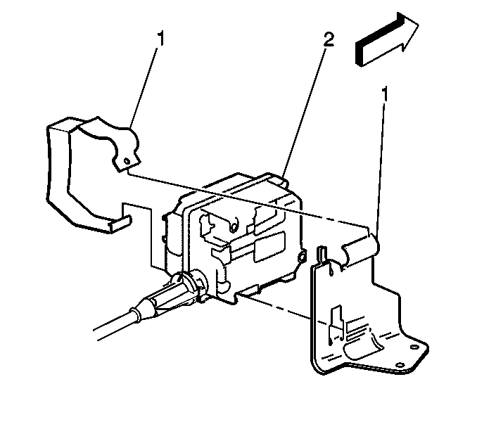
  6. Unclip the hinged retaining strap from the bracket (1) at the top of the module.

  7. Object Number: 276315  Size: SH
  8. Remove the module (3) from the mounting bracket.
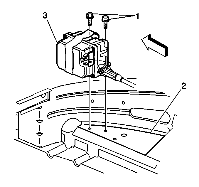
  9. Remove the bolts (1) from the mounting bracket.
  10. Remove the mounting bracket from the right front inner fender well (2).

Installation Procedure


    Object Number: 276315  Size: SH
  1. Install the mounting bracket to the front inner fender well (2).
  2. Install the bolts (1) to the mounting bracket.
  3. Notice: Use the correct fastener in the correct location. Replacement fasteners must be the correct part number for that application. Fasteners requiring replacement or fasteners requiring the use of thread locking compound or sealant are identified in the service procedure. Do not use paints, lubricants, or corrosion inhibitors on fasteners or fastener joint surfaces unless specified. These coatings affect fastener torque and joint clamping force and may damage the fastener. Use the correct tightening sequence and specifications when installing fasteners in order to avoid damage to parts and systems.

    Tighten
    Tighten the mounting bracket retaining bolts to 10 N·m (89 lb in).


    Object Number: 276308  Size: SH
  4. Install the module assembly (2) to the mounting bracket (1).
  5. Connect the electrical connector to the module (2).
  6. Connect the cruise control cable to the module assembly.
  7. Connect the cruise control cable to the engine bracket and the TBI cam.
  8. Adjust the cruise control cable. Refer to Cruise Control Cable Adjustment .
  9. Connect the negative battery cable.