GM Service Manual Online
For 1990-2009 cars only
Figure 1:

Cell 10: IGN SW -- BATT 1 and IGN SW -- BATT 2 Fuses


Object Number: 264783  Size: FS
Power and Grounding Component Views
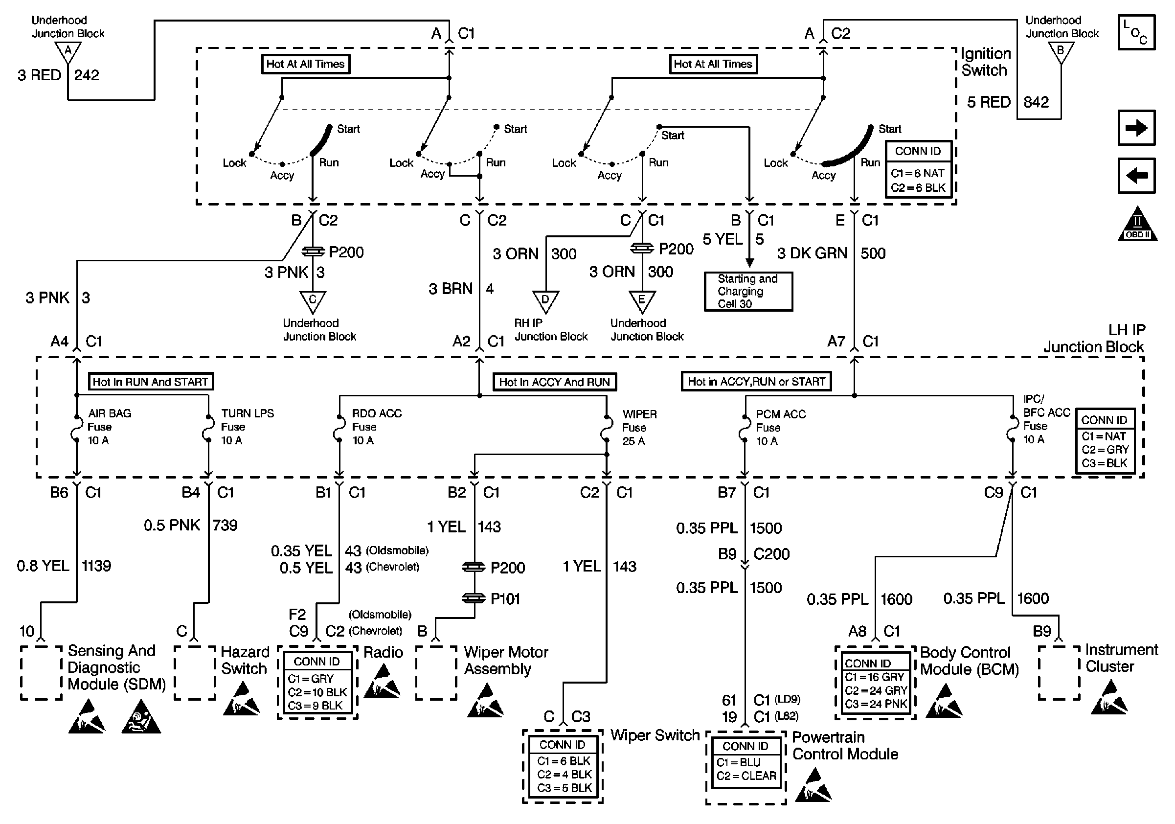
Cell 10: AIR BAG, TURN LPS, RDO ACC, WIPER, PCM ACC and IPC/BFC ACC Fuses
Handling ESD Sensitive Parts Notice
Cell 10: AIR BAG, TURN LPS, RDO ACC, WIPER, PCM ACC and IPC/BFC ACC Fuses
Cell 10: AIR BAG, TURN LPS, RDO ACC, WIPER, PCM ACC and IPC/BFC ACC Fuses
Figure 2:

Cell 10: AIR BAG, TURN LPS, RDO ACC, WIPER, PCM ACC and IPC/BFC ACC Fuses


Object Number: 264785  Size: FS
Power and Grounding Component Views
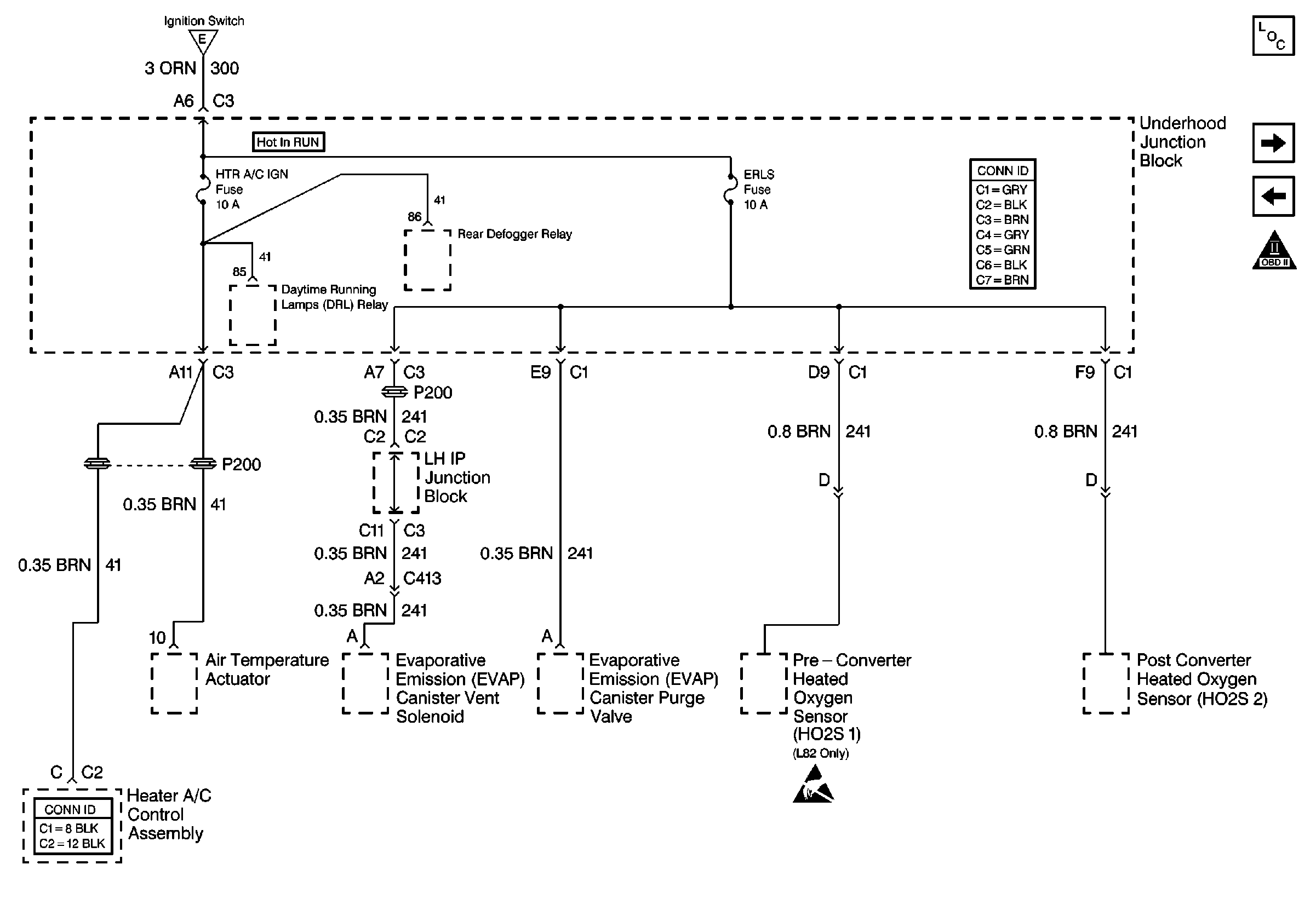
Cell 10: HTR A/C IGN and ERLS Fuses
Cell 10: IGN SW - BATT 1 and IGN SW - BATT 2Fuses
OBD II Symbol Description Notice
SIR Handling Caution
Handling ESD Sensitive Parts Notice
Handling ESD Sensitive Parts Notice
Handling ESD Sensitive Parts Notice
Handling ESD Sensitive Parts Notice
Handling ESD Sensitive Parts Notice
Cell 10: IGN SW - BATT 1 and IGN SW - BATT 2Fuses
Cell 10: IGN SW - BATT 1 and IGN SW - BATT 2Fuses
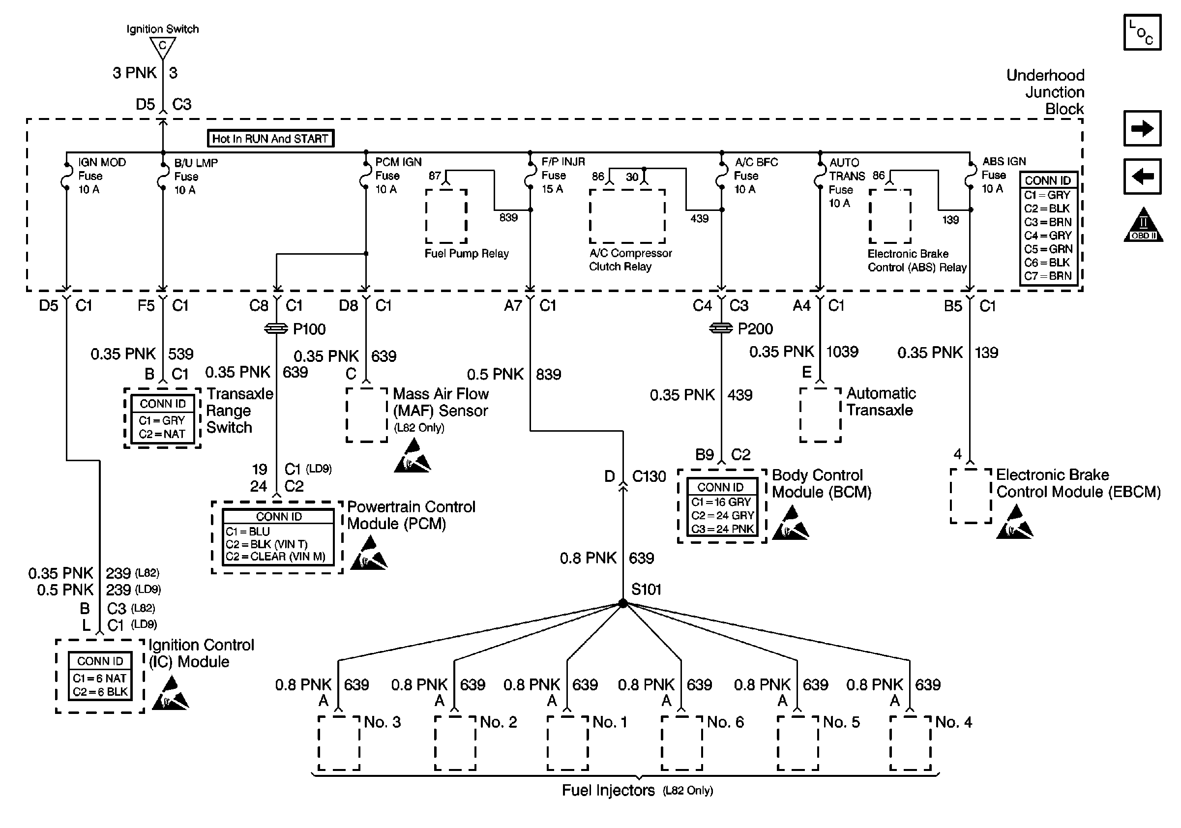
Cell 10: IGN MOD, NSBU, PCM IGN, F/P INJR, A/C BFC, AUTO TRANS andICC IGN Fuses
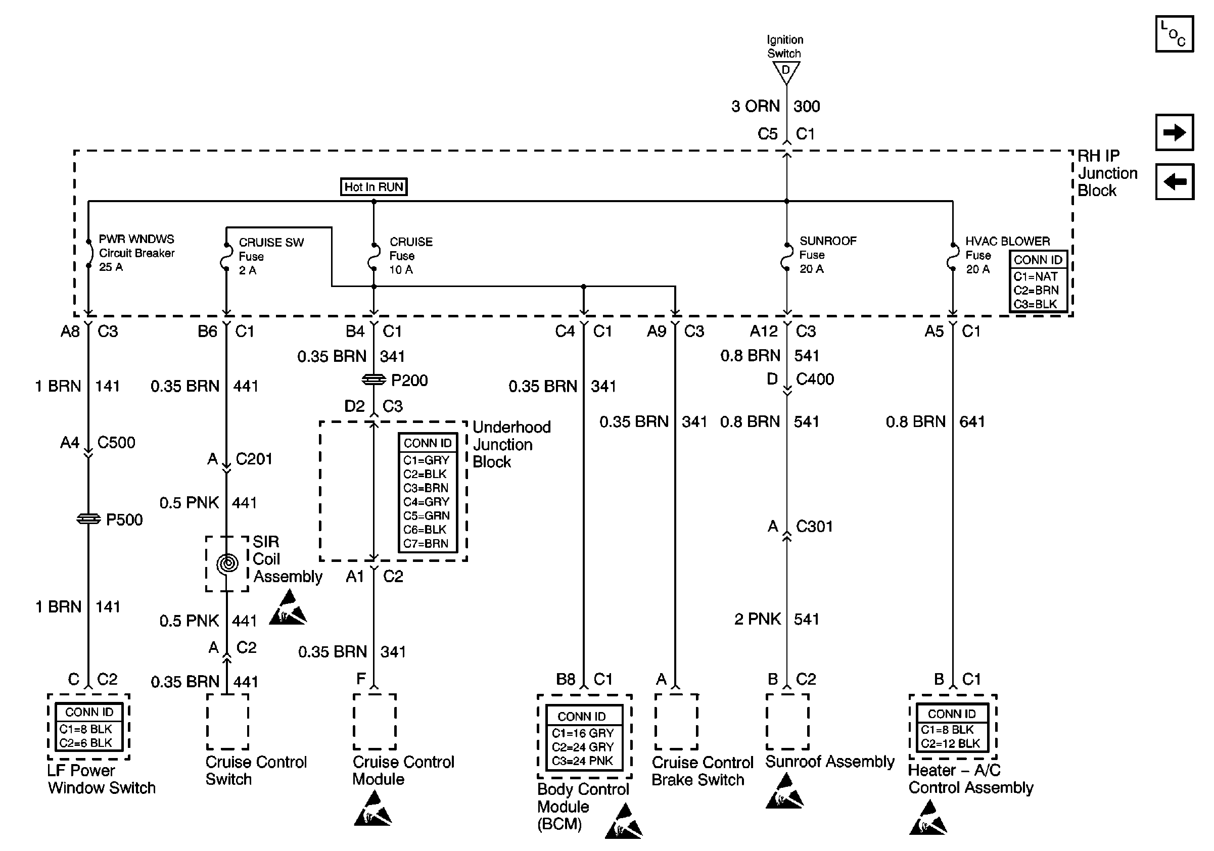
Cell 10: PWR WINDWS, CRUISE SW, CRUISE, SUNROOF and HVAC BLOWER Fuses
Cell 10: HTR A/C IGN and ERLS Fuses
Handling ESD Sensitive Parts Notice
Handling ESD Sensitive Parts Notice
Handling ESD Sensitive Parts Notice
Figure 3:

Cell 10: HTR A/C IGN and ERLS Fuses


Object Number: 264793  Size: FS
Power and Grounding Component Views
Cell 10: IGN MOD, NSBU, PCM IGN, F/P INJR, A/C BFC, AUTO TRANS andICC IGN Fuses
Cell 10: AIR BAG, TURN LPS, RDO ACC, WIPER, PCM ACC and IPC/BFC ACC Fuses
OBD II Symbol Description Notice
Handling ESD Sensitive Parts Notice
Cell 10: AIR BAG, TURN LPS, RDO ACC, WIPER, PCM ACC and IPC/BFC ACC Fuses
Handling ESD Sensitive Parts Notice
Figure 4:

Cell 10: IGN MOD, NSBU, PCM IGN, F/P INJR, A/C BFC, AUTO TRANS and ICC IGN Fuses


Object Number: 264794  Size: FS
Power and Grounding Component Views
Cell 10: L/H BEC BATT 1, AUX PWR/CIGAR, PARK LPS, PCM BATT,PWR SEAT, PWR MIRROR, DR LOCK and TRUNK REL/RFA Fuses
Cell 10: HTR A/C IGN and ERLS Fuses
OBD II Symbol Description Notice
Handling ESD Sensitive Parts Notice
Handling ESD Sensitive Parts Notice
Handling ESD Sensitive Parts Notice
Handling ESD Sensitive Parts Notice
Handling ESD Sensitive Parts Notice
Cell 10: AIR BAG, TURN LPS, RDO ACC, WIPER, PCM ACC and IPC/BFC ACC Fuses
Figure 5:

Cell 10: L/H BEC BATT 1, AUX PWR/CIGAR, PARK LPS, PCM BATT, PWR SEAT, PWR MIRROR, DR LOCK and TRUNK REL/RFA Fuses


Object Number: 264795  Size: FS
Power and Grounding Component Views
Cell 10: RH HDLP, LH HDLP, GEN BATT, LH BEC BATT 2, ICC BATT,STOP LPS, HAZARD LPS, IPC/HVAC BATT and BFC BATT Fuses
Cell 10: IGN MOD, NSBU, PCM IGN, F/P INJR, A/C BFC, AUTO TRANS andICC IGN Fuses
OBD II Symbol Description Notice
Handling ESD Sensitive Parts Notice
Handling ESD Sensitive Parts Notice
Figure 6:

Cell 10: RH HDLP, LH HDLP, GEN BATT, LH BEC BATT 2, ICC BATT, STOP LPS, HAZARD LPS, IPC/HVAC BATT and BFC BATT Fuses


Object Number: 264797  Size: FS
Power and Grounding Component Views
Cell 10: PWR WINDWS, CRUISE SW, CRUISE, SUNROOF and HVAC BLOWER Fuses
Cell 10: L/H BEC BATT 1, AUX PWR/CIGAR, PARK LPS, PCM BATT,PWR SEAT, PWR MIRROR, DR LOCK and TRUNK REL/RFA Fuses
OBD II Symbol Description Notice
Handling ESD Sensitive Parts Notice
Handling ESD Sensitive Parts Notice
Handling ESD Sensitive Parts Notice
Handling ESD Sensitive Parts Notice
Handling ESD Sensitive Parts Notice
Handling ESD Sensitive Parts Notice
Figure 7:

Cell 10: PWR WINDWS, CRUISE SW, CRUISE, SUNROOF and HVAC BLOWER Fuses


Object Number: 264801  Size: FS
Power and Grounding Component Views
Cell 10: RR DEFOG, HORN, HI BLO MOT, RH BEC BAT, EVO/ABS SOL, ICC, Cool Fan #2, Cool Fan #1, INST LPS, INT LPS, RDO BATT and FOG LPS Fuses
Cell 10: RH HDLP, LH HDLP, GEN BATT, LH BEC BATT 2, ICC BATT,STOP LPS, HAZARD LPS, IPC/HVAC BATT and BFC BATT Fuses
Handling ESD Sensitive Parts Notice
Handling ESD Sensitive Parts Notice
Handling ESD Sensitive Parts Notice
Handling ESD Sensitive Parts Notice
Handling ESD Sensitive Parts Notice
Cell 10: AIR BAG, TURN LPS, RDO ACC, WIPER, PCM ACC and IPC/BFC ACC Fuses
Figure 8:

Cell 10: RR DEFOG, HORN, HI BLO MOT, RH BEC BAT, EVO/ABS SOL, ICC, Cool Fan #2, Cool Fan #1, INST LPS, INT LPS, RDO BATT and FOG LPS Fuses


Object Number: 264798  Size: FS
Power and Grounding Component Views
Cell 10: PWR WINDWS, CRUISE SW, CRUISE, SUNROOF and HVAC BLOWER Fuses
Handling ESD Sensitive Parts Notice
Handling ESD Sensitive Parts Notice
Handling ESD Sensitive Parts Notice
Interior Lights Dimming Schematics
Interior Lights Dimming Schematics
OBD II Symbol Description Notice