GM Service Manual Online
For 1990-2009 cars only

SMU - Instrument Panel Compartment Lock Cylinder Replacement Procedure

Subject:Instrument Panel Compartment Lock Cylinder Replacement Procedure

Models:1997-1999 Chevrolet Malibu
1997-1999 Oldsmobile Cutlass



This bulletin is being revised to add additional model years and to revise the text. Please discard Corporate Bulletin Number 73-83-12 (Section 8 - Chassis/Body Electrical).


This bulletin is being issued to add the replacement procedure for the instrument panel compartment lock cylinder in the Instrument Panel and Console sub-section of the Service Manual.

The ignition key is needed to properly remove the lock cylinder from the instrument panel compartment door. If the ignition key or key code is unavailable, the instrument panel compartment door and lock cylinder should be replaced.

Removal Procedure

  1. Disconnect the negative battery cable.
  2. Open the instrument panel compartment door.

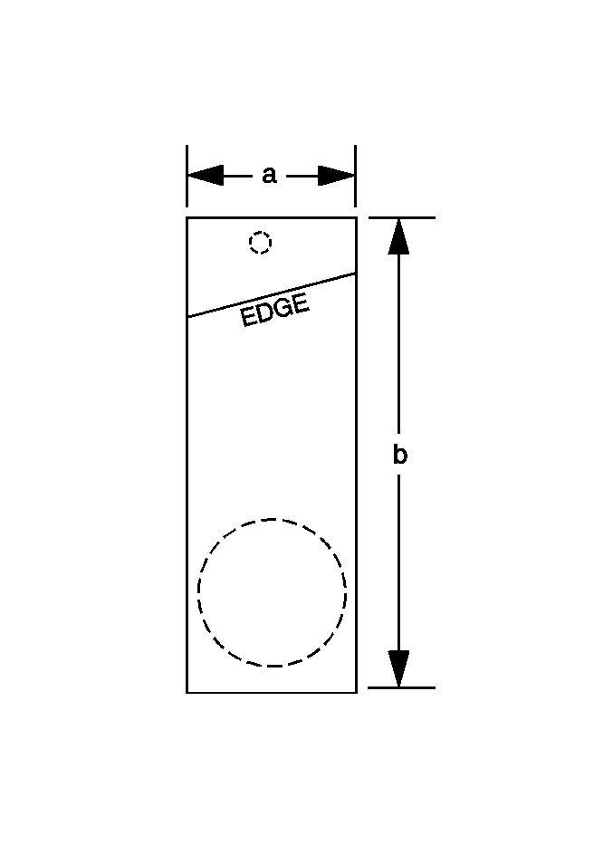
  3. Object Number: 814467  Size: MH

    Important: When photocopying the template in Step 3, be aware that some copiers may not make an exact copy of the original. Some may make the copy slightly smaller or larger than the original. This same condition can also occur when printing the template from SI2000. Before proceeding, verify that the copy made is the same size as the original by measuring the width (a) and length (b) of the template. The width (a) should be 24 mm (15/16 in) and the length (b) should be 66 mm (2 5/8 in).

  4. Make a photocopy of the template shown above.

  5. Object Number: 813041  Size: SH
  6. Place the template copy over the lock cylinder bezel and align the "EDGE" on the template (2) with the edge of the face of the instrument panel compartment door (1).
  7. Important: The position of the centerline of the hole on the top of the instrument panel compartment door should be approximately 1.6 mm (1/16 in) forward of the edge of the face of the instrument panel compartment door and in-line with the key slot in the lock cylinder.

  8. Fold the template to the contour of the instrument panel door. Mark the position of the center line of the small hole on the template to the instrument panel compartment door.
  9. Remove the template.

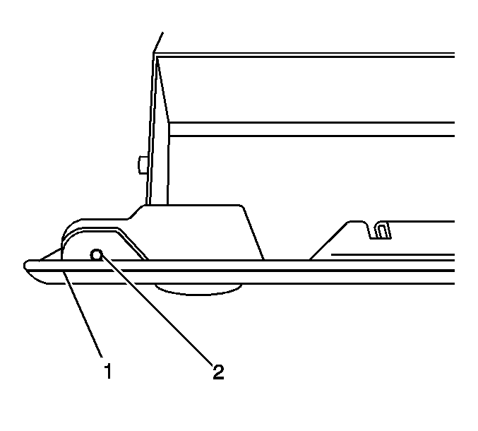
  10. Object Number: 813043  Size: SH

    Important: The rearward edge of the drilled hole should be flush with the edge of the face of the instrument panel compartment door.

  11. While lifting up on the instrument panel compartment door (1) handle, drill a 3.2 mm (1/8 in) hole at the point (2) marked in Step 5.
  12. Insert the key into the instrument panel compartment door lock cylinder.
  13. While lifting up on the instrument panel compartment door handle, insert a 1/16 in. hex head wrench, or the equivalent, into the drilled hole and depress the lock cylinder retainer.
  14. The lock cylinder retainer is spring loaded and is part of the lock cylinder.

  15. Turn the key clockwise to the 3 o'clock position.
  16. Using the key to side load the cylinder, remove the lock cylinder from the instrument panel compartment door.

Installation Procedure

  1. Insert the lock cylinder into the instrument panel compartment door in the 3 o'clock position.
  2. Rotate the key counterclockwise until a snap is heard at the 12 o'clock position.
  3. Inspect the instrument panel compartment door lock cylinder for proper operation.
  4. Connect the negative battery cable.
  5. Tighten
    Tighten the cable to 16 N·m (12 lb ft).