GM Service Manual Online
For 1990-2009 cars only
Makes
🢒
Chevrolet
🢒
1999
🢒
Malibu
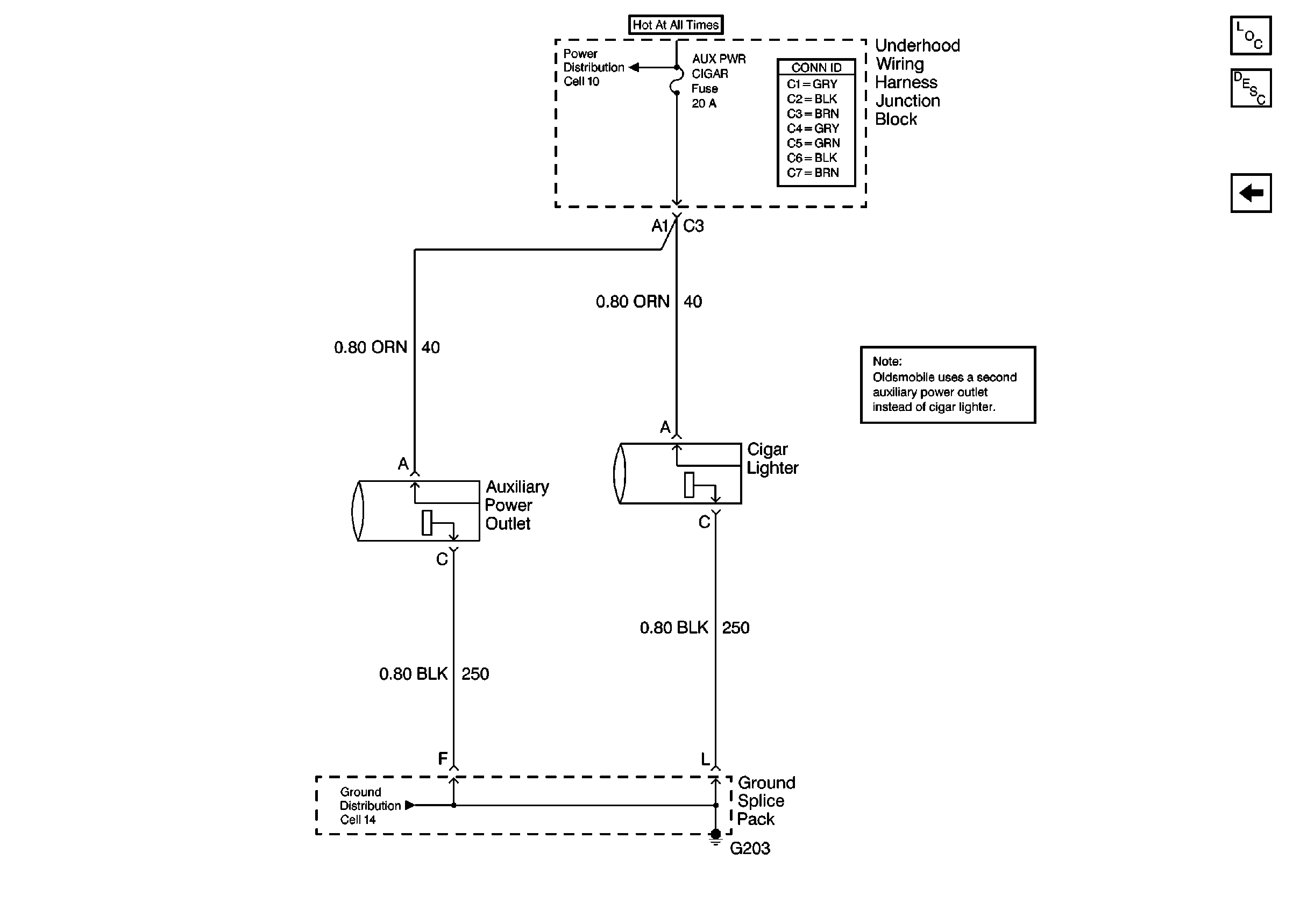
🢒 Cell 114: Cigar Lighter and Auxiliary Power Outlet
Cell 114: Cigar Lighter and Auxiliary Power Outlet
Cell 114: Cigar Lighter and Auxiliary Power Outlet
Lighting Systems Components
Interior Lights Circuit Description
Cell 114: Dome, Reading and Vanity Mirror Lamps
Ground Distribution Schematics