GM Service Manual Online
For 1990-2009 cars only
Makes
🢒
Chevrolet
🢒
1999
🢒
Malibu
🢒 Cell 23: Engine Data Sensors
Cell 23: Engine Data Sensors
Cell 23: Engine Data Sensors
Engine Controls Component Views
Powertrain Control Module Description
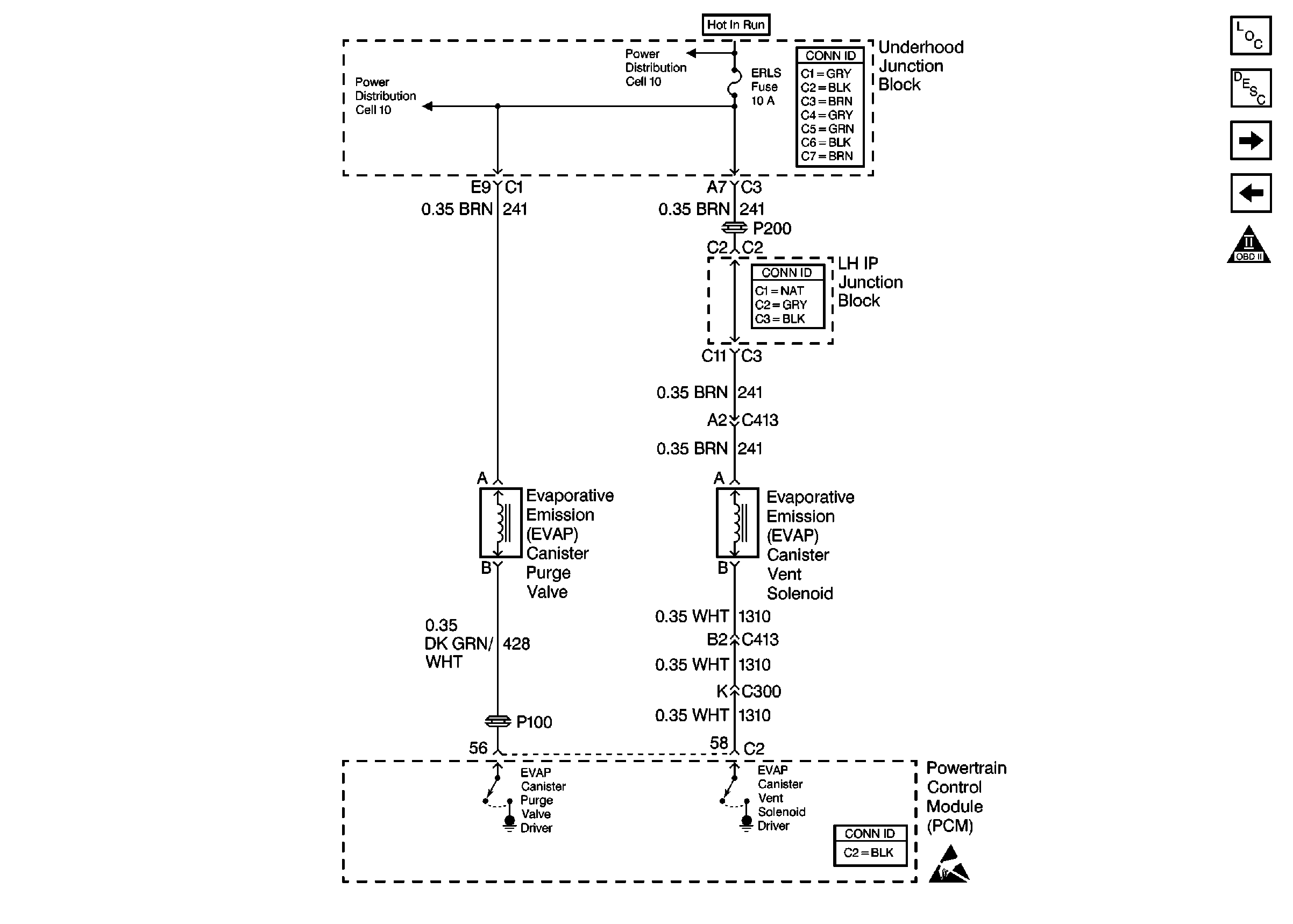
Cell 23: EVAP and EGR Controls
Fuel System
OBD II Symbol Description Notice
Cell 23: Fuel Controls
Power and Grounding Connector End Views
Handling ESD Sensitive Parts Notice
Power Distribution Schematics
Power Distribution Schematics