GM Service Manual Online
For 1990-2009 cars only

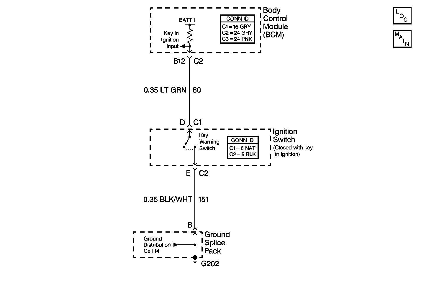
Object Number: 284897  Size: MF
Body Control Module Components
Cell 51: Ignition Switch and Left Front Door Ajar Switch

Conditions for Setting the DTC

All of the following conditions must be met:

    • The key-in input is not active.
    • Ignition 0 is active for 20 seconds.

Action Taken When the DTC Sets

Stores DTC B2965 in the body control module (BCM) memory

Conditions for Clearing the DTC

    • The BCM goes to sleep and reinitializes with the fault cleared.
    • All the BCM history codes will be cleared after 100 ignition cycles (from OFF to RUN) with no current codes active during the 100 ignition cycles.
    • Use the scan tool.

Diagnostic Aids

If the DTC is a history DTC, the problem may be intermittent. Perform the above tests while wiggling the wiring and connectors. This may often cause the malfunction to appear.

Test Description

The numbers below refer to the numbers on the diagnostics table.

  1. This step determines if the body control module (BCM) is reading the input from the ignition switch.

  2. This step determines if the BCM is reading that the ignition key has been removed from the ignition switch when the key in the ignition input has been removed.

  3. This step determines if there is an open in ground CKT 151.

Step

Action

Value(s)

Yes

No

Important: A short to ground will cause an open fuse(s). Before performing this diagnostic procedure, inspect the fuse(s) for an open.

1

Was the BCM System Check performed?

--

Go to Step 2

Go to Body Control Module System Check

2

  1. Disconnect the ignition switch connector C1 terminal D CKT 80. Refer to Ignition and Start Switch Replacement in Instrument Panel, Gauges and Console.
  2. Use a scan tool in the BCM INPUTS menu reading the KEY IN IGNITION.
  3. Use a fused jumper to ground CKT 80 at the ignition switch connector C1 terminal D.

Is the scan tool in the BCM INPUTS menu reading the KEY IN IGNITION YES?

--

Go to Step 5

Go to Step 3

3

  1. Use a scan tool in the BCM INPUTS menu reading the KEY IN IGNITION.
  2. Use a fused jumper to ground CKT 80 at the BCM connector C2 terminal B12.

Is the scan tool in the BCM INPUTS menu reading the KEY IN IGNITION YES?

--

Go to Step 4

Go to Step 8

4

Repair the open in CKT 80 between the ignition switch connector C2 terminal E and the BCM connector C2 terminal B12. Refer to Wiring Repairs in Wiring Systems.

Is the repair complete?

--

Go to Step 9

--

5

Use the J 39200 in order to measure the resistance in CKT 151 between the ignition switch connector C2 terminal E and the ground splice pack G202.

Is the measured resistance within the specified values?

0-2 ohms

Go to Step 7

Go to Step 6

6

Repair an open in CKT 151 between the ignition switch connector C2 terminal E and the ground splice pack G202. Refer to Wiring Repairs in Wiring Systems.

Is the CKT repair complete?

--

Go to Step 9

--

7

Replace the ignition switch. Refer to Ignition and Start Switch Replacement in Instrument Panel, Gauges and Console.

Is the repair complete?

--

Go to Step 9

--

8

Replace the BCM. Refer to the following procedures:

Is the repair complete?

--

Go to Step 9

--

9

Clear the DTCs from the memory.

Are the DTCs cleared from the memory?

--

Go to Body Control Module System Check

--