GM Service Manual Online
For 1990-2009 cars only

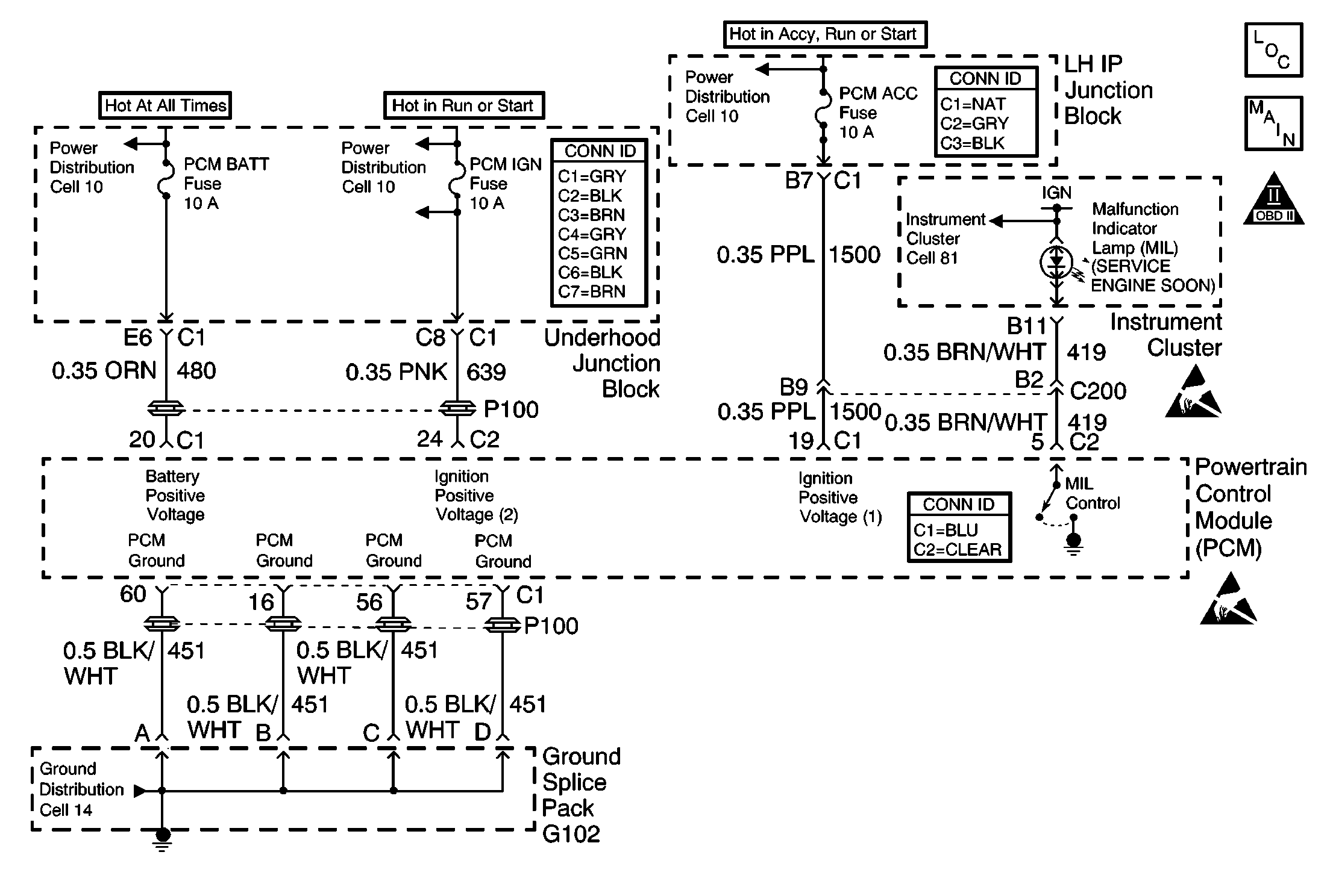
Object Number: 568177  Size: MF
Engine Controls Components
Power, Ground, MAF, EVAP and EGR
OBD II Symbol Description Notice
Handling ESD Sensitive Parts Notice
Handling ESD Sensitive Parts Notice

Circuit Description

Ignition voltage is supplied directly to the malfunction indicator lamp (MIL). The Powertrain Control Module (PCM) controls the lamp by grounding the control circuit via an internal switch called a driver. The primary function of the driver is to supply the ground for the component being controlled. Each driver has a fault line which is monitored by the PCM. When the PCM is commanding a component ON, the voltage of the control circuit should be low (near 0 volts). When the PCM is commanding the control circuit to a component OFF, the voltage potential of the circuit should be high (near battery voltage). If the fault detection circuit senses a voltage other than what is expected, the fault line status will change causing the DTC to set.

Conditions for Running the DTC

The ignition is ON.

System voltage is between 9.0 and 18.0 volts.

Conditions for Setting the DTC

    • An improper voltage level has been detected on the MIL control circuit.
    • The above condition is present for at least 30 seconds.

Action Taken When the DTC Sets

    • The PCM will illuminate the malfunction indicator lamp (MIL) during the first trip in which the diagnostic test has been run and failed.
    • The PCM will store conditions which were present when the DTC set as Freeze Frame and Failure Records data.

Conditions for Clearing the MIL/DTC

    • The PCM will turn OFF the malfunction indicator lamp (MIL) during the third consecutive trip in which the diagnostic has run and passed.
    • The history DTC will clear after 40 consecutive warm-up cycles have occurred without a malfunction.
    • The DTC can be cleared by using a scan tool.

Diagnostic Aids

Inspect for the following conditions:

If the ignition feed circuit is suspected of being open, inspect if other lamps on that circuit.

Many situations may lead to an intermittent condition. Perform each inspection or test as directed.

Important: :  Remove any debris from the connector surfaces before servicing a component. Inspect the connector gaskets when diagnosing or replacing a component. Ensure that the gaskets are installed correctly. The gaskets prevent contaminate intrusion.

    • Loose terminal connection
       -  Use a corresponding mating terminal to test for proper tension. Refer to Testing for Intermittent Conditions and Poor Connections , and to Connector Repairs in Wiring Systems for diagnosis and repair.
       -  Inspect the harness connectors for backed out terminals, improper mating, broken locks, improperly formed or damaged terminals, and faulty terminal to wire connection. Refer to Testing for Intermittent Conditions and Poor Connections , and to Connector Repairs in Wiring Systems for diagnosis and repair.
    • Damaged harness--Inspect the wiring harness for damage. If the harness inspection does not reveal a problem, observe the display on the scan tool while moving connectors and wiring harnesses related to the sensor. A change in the scan tool display may indicate the location of the fault. Refer to Wiring Repairs in Wiring Systems for diagnosis and repair.
    •  Inspect the powertrain control module (PCM) and the engine grounds for clean and secure connections. Refer to Wiring Repairs in Wiring Systems for diagnosis and repair.

If the condition is determined to be intermittent, reviewing the Snapshot or Freeze Frame/Failure Records may be useful in determining when the DTC or condition was identified.

Test Description

The numbers below refer to the step numbers on the diagnostic table.

  1. Important:  If the I/P is completely inoperative, refer to Body and Accessories for further diagnosis.

    Command both the on and the off states. Repeat the commands as necessary.

  2. If you do not find trouble in the control circuit or the connection at the PCM, the PCM may be faulty. However, this is an extremely unlikely failure.

  3. This DTC will not report a pass. The scan tool status for this DTC will never report a pass. The scan tool will only display when the diagnostic fails. The repair is not complete if the scan tool indicates that the diagnostic ran and failed.

Step

Action

Values

Yes

No

1

Did you perform the Powertrain On-Board Diagnostic (OBD) System Check?

--

Go to Step 2

Go to Powertrain On Board Diagnostic (OBD) System Check

2

  1. Turn ON the ignition, with the engine OFF.
  2. Command the MIL ON and OFF using the scan tool.

Does the MIL turn ON and OFF with each command?

--

Go to Diagnostic Aids

Go to Step 3

3

  1. Turn OFF the ignition.
  2. Disconnect the PCM.
  3. Turn ON the ignition.

Is the MIL OFF?

--

Go to Step 4

Go to Step 5

4

Probe the MIL control circuit in the PCM harness connector with a fused jumper wire connected to ground.

Is the MIL ON?

--

Go to Step 6

Go to Step 7

5

Repair the short to ground in the MIL control circuit. Refer to Wiring Repairs in Wiring Systems.

Is the repair complete?

--

Go to Step 9

--

6

Test for poor connections at the PCM. Refer to Testing for Continuity , and Testing for Intermittent Conditions and Poor Connections in Wiring Systems.

Did you find and correct the condition?

--

Go to Step 9

Go to Step 8

7

Test for the following conditions:

    •  Faulty bulb
    •  Open ignition feed to the bulb
    •  Control circuit open or shorted to battery positive voltage

Refer to Wiring Repairs in Wiring Systems.

Did you complete the repair ?

--

Go to Step 9

Go to Diagnostic System Check - Instrument Cluster

8

Important: :  Program the replacement PCM. Refer to Powertrain Control Module Replacement/Programming .

Replace the PCM.

Is the action complete?

--

Go to Step 9

--

9

  1. Select the DTC option and the Clear DTC option using the scan tool.
  2. Idle the engine at the normal operating temperature.
  3. Select the DTC option and the Specific DTC option, then enter the DTC number using the scan tool.
  4. Operate vehicle within the Conditions For Setting this DTC as specified in the supporting text, if applicable.

Does the scan tool indicate that this test failed?

--

Go to Step 2

Go to Step 10

10

Select the capture info option and the review info option using the scan tool.

Does the scan tool display any DTCs that you have not diagnosed?

--

Go to the applicable DTCs

System OK