GM Service Manual Online
For 1990-2009 cars only

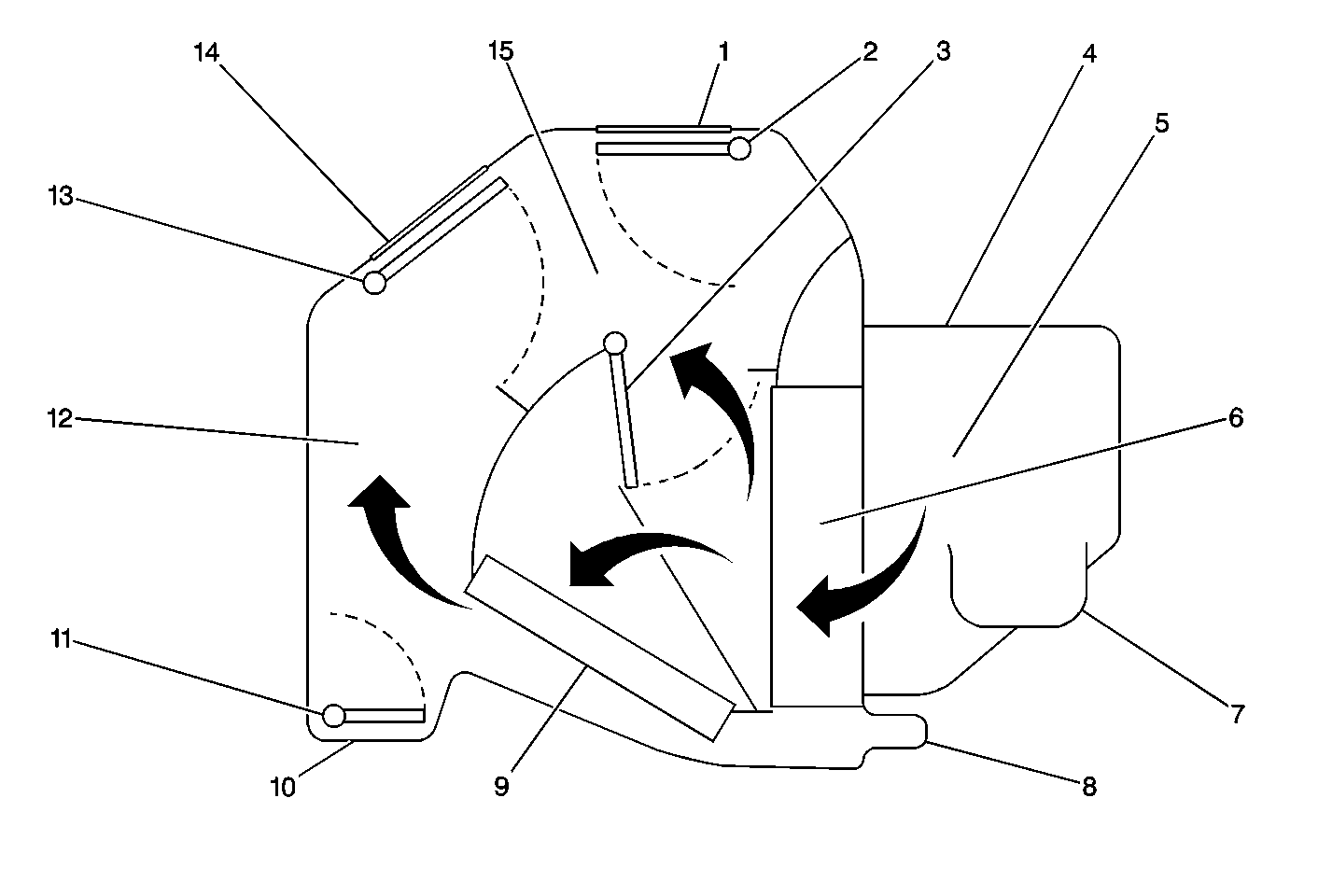
Heater Core


Object Number: 292650  Size: MF

The heater core (9) transfers the heat from the engine coolant to the incoming air. The heater core is located in the lower part of the HVAC module near the front of the dash.

The switch on the control assembly may control the four blower speeds in all functional modes.

Ducts in the outboard corners of the instrument panel provide side window defogging. Maximum air flow from these vents is in the heater mode. Air flow from these vents reduces in the defrost mode.

In all five heater system modes, the blower drives outside air to the temperature valve (3). The operator controls the position of the temperature valve. Depending upon the position of the temperature valve, the valve distributes all or some of the inlet air through the heater core. The following actions occur:

  1. The heater core heats the air.
  2. The air is mixed with cool air as needed.
  3. The air is directed to one of the following outlets, depending upon the position of the defrost and heat valves:
  4. • The defroster duct (1)
    • The vent (14)
    • The heater outlet (10)
  5. A small amount of air goes to the side window defogging system.

Operating Tips

    • Clear snow and ice from the hood and air inlet in front of the windshield. Clearing snow and ice helps in the following manner:
       - The heater and defroster work better.
       - The chance of fogging the inside of the windshield reduces.
    • Run the fan on HI for a few moments before driving. Running the fan helps in the following manner:
       - The intake ducts are clear of snow and moisture
       - The chance of fogging the inside of the windows is reduced.
    • Keep the front inlet grilles clear of the following obstructions:
       - Leaves
       - Ice
       - Snow
    • Keep the underseat air path clear of objects.