GM Service Manual Online
For 1990-2009 cars only

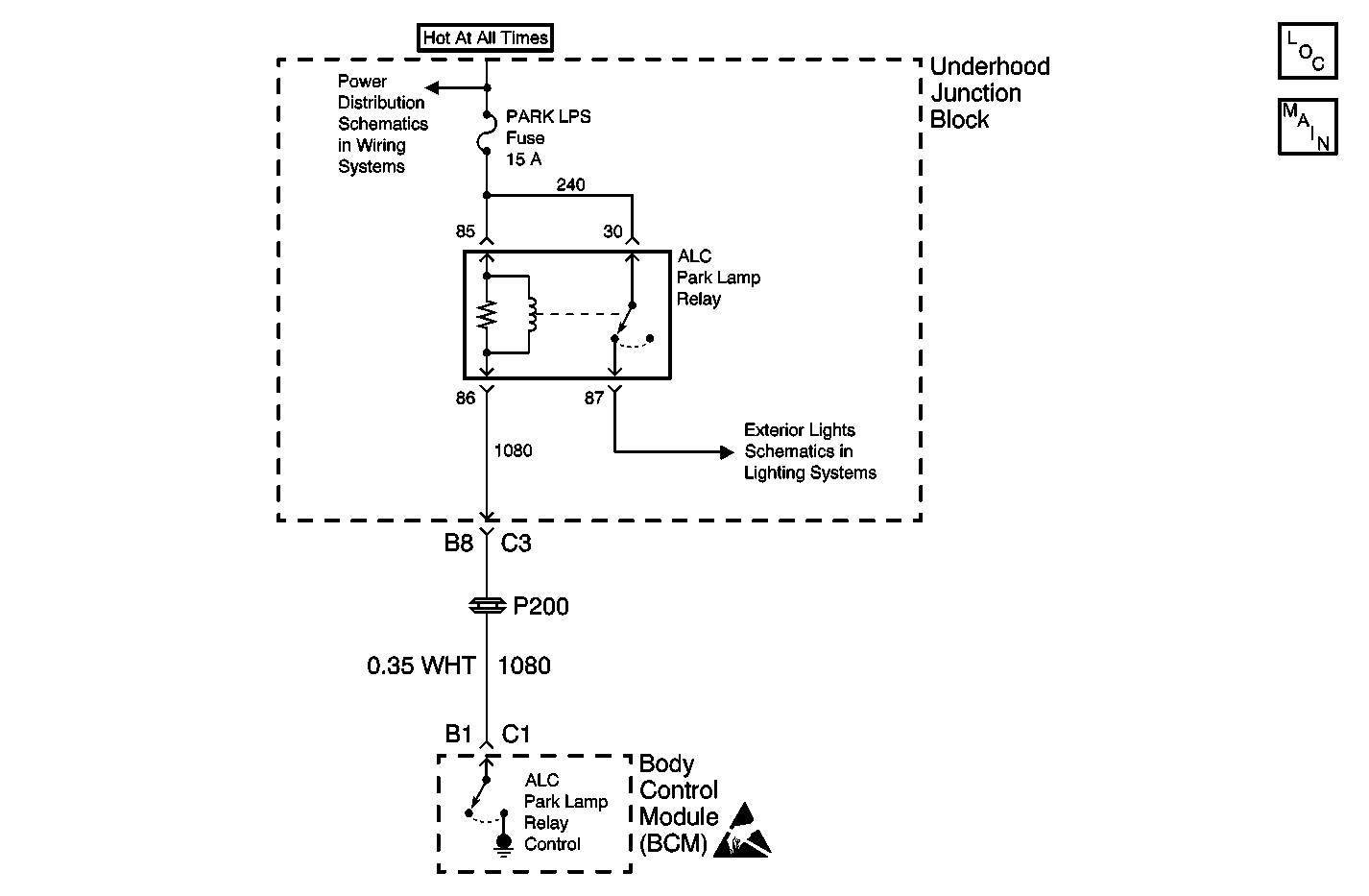
Object Number: 582916  Size: MF
Lighting Systems Components
Exterior Lights Schematics

Circuit Description

The body control module (BCM) turns on the automatic lighting control (ALC) parklamp relay when the light sensor senses a dark condition. Battery voltage is supplied to the relay at all times through the PARK LPS fuse. The BCM grounds CKT 1080 in order to activate the relay.

Conditions for Running the DTC

    • The ignition switch is on.
    • The light sensor senses a dark condition (ALC parklamps on).

Conditions for Setting the DTC

CKT 1080 is shorted to battery positive voltage for 1 second.

Action Taken When the DTC Sets

    • The BCM turns off the ALC parklamp relay control for the remainder of the ignition cycle.
    • The SERVICE VEHICLE SOON indicator illuminates.
    • The check gauges chime sounds.

Conditions for Clearing the DTC

    • A current DTC B2588 will clear when the malfunction is no longer present and the ignition switch is cycled.
    • All BCM history codes clear after 100 ignition cycles (from OFF to ON) with no current codes active during the 100 ignition cycles.

Diagnostic Aids

If the DTC is a history DTC, the problem may be intermittent. Perform the tests shown while wiggling the wiring and connectors. This may often cause the malfunction to appear.

Test Description

The number(s) below refer to the step number(s) on the diagnostic table.

  1. Listen for an audible click when the ALC parklamp relay operates. Command both the ON and OFF states. Repeat the commands as necessary.

  2. Tests for voltage at the coil side of the ALC parklamp relay . The PARK LPS fuse supplies power to the coil side of the ALC parklamp relay.

  3. Verifies that the body control module is providing ground to the ALC parklamp relay.

  4. Tests if ground is constantly being applied to the ALC parklamp relay.

Step

Action

Yes

No

1

Did you perform the Lighting Systems Diagnostic System Check?

Go to Step 2

Go to Diagnostic System Check - Lighting Systems

2

  1. Install a scan tool.
  2. Turn ON the ignition, with the engine OFF.
  3. With a scan tool, command the ALC parklamp relay ON and OFF.

Does the ALC parklamp relay turn ON and OFF with each command?

Go to Testing for Intermittent Conditions and Poor Connections in Wiring Systems

Go to Step 3

3

  1. Turn OFF the ignition.
  2. Disconnect the ALC parklamp relay.
  3. Turn ON the ignition, with the engine OFF.
  4. Probe the coil side feed circuit of the ALC parklamp relay with a test lamp that is connected to a good ground.

Does the test lamp illuminate?

Go to Step 4

Go to Step 10

4

  1. Connect a test lamp between the control circuit of the ALC parklamp relay and the coil side feed circuit of the ALC parklamp relay.
  2. With a scan tool, command the ALC parklamp relay ON and OFF .

Does the test lamp turn ON and OFF with each command?

Go to Step 8

Go to Step 5

5

Does the test lamp remain illuminated with each command?

Go to Step 7

Go to Step 6

6

Test the control circuit of the ALC parklamp relay for a short to voltage. Refer to Circuit Testing and Wiring Repairs in Wiring Systems.

Did you find and correct the condition?

Go to Step 13

Go to Step 9

7

Test the control circuit of the ALC parklamp relay for a short to ground. Refer to Circuit Testing and Wiring Repairs in Wiring Systems.

Did you find and correct the condition?

Go to Step 13

Go to Step 9

8

Inspect for poor connection at the ALC parklamp relay. Refer to Testing for Intermittent Conditions and Poor Connections and Connector Repairs in Wiring Systems.

Did you find and correct the condition?

Go to Step 13

Go to Step 11

9

Inspect for poor connections at the harness connector of the body control module. Refer to Testing for Intermittent Conditions and Poor Connections and Connector Repairs in Wiring Systems.

Did you find and correct the condition?

Go to Step 13

Go to Step 12

10

Repair the coil side feed circuit of the ALC parklamp relay. Refer to Wiring Repairs in Wiring Systems.

Did you complete the repair?

Go to Step 13

--

11

Replace the ALC parklamp relay.

Did you complete the replacement?

Go to Step 13

--

12

Replace the body control module. Refer to Body Control Module Replacement in Body Control System.

Important: Perform the set up procedure for the body control module. Refer to Body Control Module (BCM) Programming/RPO Configuration .

Did you complete the replacement?

Go to Step 13

--

13

  1. Use the scan tool in order to clear the DTCs .
  2. Operate the vehicle within the Conditions for Running the DTC as specified in the supporting text.

Does the DTC reset?

Go to Step 2

System OK