GM Service Manual Online
For 1990-2009 cars only

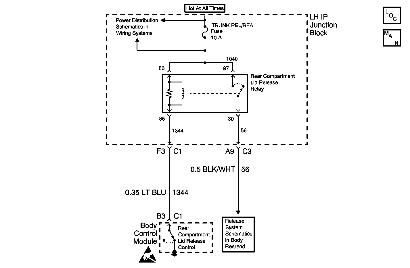
Object Number: 616753  Size: MF
Body Rear End Components
Release Systems Schematics

Circuit Description

The rear compartment lid release relay is controlled by the body control module (BCM). The BCM supplies a ground signal to the rear compartment lid release relay when the trunk release button button is pressed, through circuit 1344. If circuit 1344 is grounded or open, DTC B3267 is set.

Conditions for Running the DTC

This DTC can be set any time as long as the supply voltage to the BCM is within the normal operating range (approximately 9-16 volts).

Conditions for Setting the DTC

Any of the following conditions will set this DTC:

    • The rear compartment lid release relay control circuit is open for 500 milliseconds.
    • The rear compartment lid release relay control circuit is shorted to ground for 500 milliseconds.

Action Taken When the DTC Sets

The BCM turns off the rear compartment lid release relay control output for the remainder of the current ignition cycle.

Conditions for Clearing the DTC

    • A current DTC B3267 will clear when the malfunction is longer present and the ignition switch is cycled.
    • All BCM history codes clear after 100 ignition cycles (from OFF to ON) with no current codes active during the 100 ignition cycles.

Diagnostic Aids

    • If circuit 1344 is shorted to ground, the rear compartment lid will not latch closed.
    • If the DTC is a history DTC, the problem may be intermittent. Perform the tests while wiggling the wiring and connectors. This will often cause the malfunction to appear.

Test Description

The number(s) below refer to the step number(s) on the diagnostic table.

  1. Listen for an audible click when the rear compartment lid release relay operates. Command both the ON and OFF states. Repeat the commands as necessary.

  2. Tests for voltage at the coil side of the rear compartment lid release relay. The TRUNK REL/RFA fuse supplies power to the coil side of the rear compartment lid release relay.

  3. Verifies that the body control module is providing ground to the rear compartment lid release relay.

  4. Tests if ground is constantly being applied to the rear compartment lid release relay.

Step

Action

Yes

No

1

Did you perform the Body Rear End Diagnostic System Check?

Go to Step 2

Go to Diagnostic System Check - Body Rear End

2

  1. Install a scan tool.
  2. Turn ON the ignition, with the engine OFF.
  3. With a scan tool, command the rear compartment lid release relay ON and OFF.

Does the rear compartment lid release relay turn ON and OFF with each command?

Go to Testing for Intermittent Conditions and Poor Connections in Wiring Systems

Go to Step 3

3

  1. Turn OFF the ignition.
  2. Disconnect the rear compartment lid release relay.
  3. Turn ON the ignition, with the engine OFF.
  4. Probe the coil side feed circuit of the rear compartment lid release relay with a test lamp that is connected to a good ground.

Does the test lamp illuminate?

Go to Step 4

Go to Step 10

4

  1. Connect a test lamp between the control circuit of the rear compartment lid release relay and the coil side feed circuit of the rear compartment lid release relay.
  2. With a scan tool, command the rear compartment lid release relay ON and OFF .

Does the test lamp turn ON and OFF with each command?

Go to Step 8

Go to Step 5

5

Does the test lamp remain illuminated with each command?

Go to Step 7

Go to Step 6

6

Test the control circuit of the rear compartment lid release relay for an open. Refer to Circuit Testing and Wiring Repairs in Wiring Systems.

Did you find and correct the condition?

Go to Step 13

Go to Step 9

7

Test the control circuit of the rear compartment lid release relay for a short to ground. Refer to Circuit Testing and Wiring Repairs in Wiring Systems.

Did you find and correct the condition?

Go to Step 13

Go to Step 9

8

Inspect for poor connections at the rear compartment lid release relay. Refer to Testing for Intermittent Conditions and Poor Connections and Connector Repairs in Wiring Systems.

Did you find and correct the condition?

Go to Step 13

Go to Step 11

9

Inspect for poor connections at the harness connector of the body control module. Refer to Testing for Intermittent Conditions and Poor Connections and Connector Repairs in Wiring Systems.

Did you find and correct the condition?

Go to Step 13

Go to Step 12

10

Repair the coil side feed circuit of the rear compartment lid release relay. Refer to Wiring Repairs in Wiring Systems.

Did you complete the repair?

Go to Step 13

--

11

Replace the rear compartment lid release relay.

Did you complete the replacement?

Go to Step 13

--

12

Replace the body control module. Refer to Body Control Module Replacement in Body Control System.

Important: Perform the set up procedure for the body control module. Refer to Body Control Module (BCM) Programming/RPO Configuration .

Did you complete the replacement?

Go to Step 13

--

13

  1. Use the scan tool in order to clear the DTCs .
  2. Operate the vehicle within the Conditions for Running the DTC as specified in the supporting text.

Does the DTC reset?

Go to Step 2

System OK