GM Service Manual Online
For 1990-2009 cars only

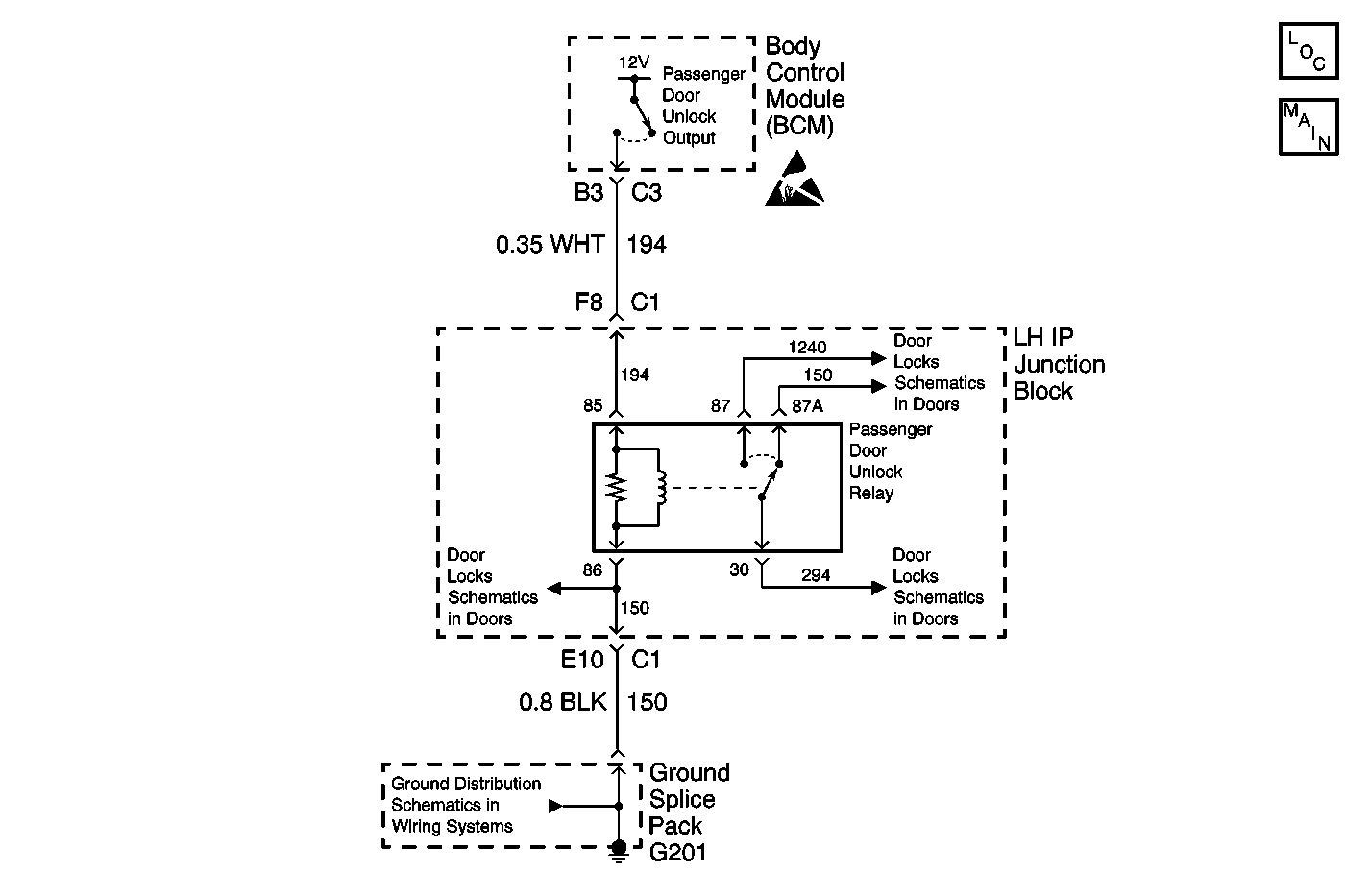
Object Number: 588038  Size: MF
Power Door Systems Components
Door Lock/Indicator Schematics

Circuit Description

Circuit 194 from the body control module (BCM) controls the passenger door unlock relay. When the BCM receives a passenger door unlock signal, the BCM supplies battery voltage to the relay. Ground for the relay is supplied by circuit 150.

Conditions for Running the DTC

The keyfob unlock button is pressed twice in succession.

Conditions for Setting the DTC

Circuit 194 is shorted to ground for .2 seconds.

Action Taken When the DTC Sets

The BCM disables the passenger door unlock output for the remainder of the ignition cycle.

Conditions for Clearing the DTC

    • A current DTC B3147 will clear when the malfunction is no longer present and the ignition switch is cycled.
    • All BCM history codes clear after 100 ignition cycles (from OFF to ON) with no current codes active during the 100 ignition cycles.

Diagnostic Aids

    • Pressing the door unlock switch while circuit 194 is shorted to ground will blow the DR LOCK fuse.
    • If the DTC is a history DTC, the problem may be intermittent. Perform the tests shown while wiggling the wiring and connectors. This may often cause the malfunction to appear.

Test Description

The number(s) below refer to the step number(s) on the diagnostic table.

  1. Listen for an audible click when the passenger door unlock relay operates. Command both the ON and OFF states. Repeat the commands as necessary.

  2. Verifies that the body control module is providing voltage to the passenger door unlock relay.

  3. Tests for an open in the ground circuit to the passenger door unlock relay.

  4. Tests if voltage is constantly being applied to the passenger door unlock relay.

Step

Action

Yes

No

1

Did you perform the Power Door Systems Diagnostic System Check?

Go to Step 2

Go to Diagnostic System Check - Power Door Systems

2

  1. Install a scan tool.
  2. Turn ON the ignition, with the engine OFF.
  3. With a scan tool, command the passenger door unlock relay ON and OFF.

Does the passenger door unlock relay turn ON and OFF with each command?

Go to Testing for Intermittent Conditions and Poor Connections in Wiring Systems

Go to Step 3

3

  1. Turn OFF the ignition.
  2. Disconnect the passenger door unlock relay.
  3. Turn ON the ignition, with the engine OFF.
  4. Probe the control circuit of the passenger door unlock relay with a test lamp connected to a good ground.
  5. With a scan tool, command the passenger door unlock relay ON and OFF.

Does the test lamp turn ON and OFF with each command?

Go to Step 4

Go to Step 5

4

  1. Connect a test lamp between the control circuit of the passenger door unlock relay and the ground circuit of the passenger door unlock relay.
  2. With a scan tool, command the passenger door unlock relay ON and OFF.

Does the test lamp turn ON and OFF with each command?

Go to Step 8

Go to Step 10

5

Does the test lamp remain illuminated with each command?

Go to Step 7

Go to Step 6

6

Test the control circuit of the passenger door unlock relay for a short to ground. Refer to Circuit Testing and Wiring Repairs in Wiring Systems.

Did you find and correct the condition?

Go to Step 13

Go to Step 9

7

Test the control circuit of the passenger door unlock relay for a short to voltage. Refer to Circuit Testing and Wiring Repairs in Wiring Systems.

Did you find and correct the condition?

Go to Step 13

Go to Step 9

8

Inspect for poor connections at the passenger door unlock relay. Refer to Testing for Intermittent Conditions and Poor Connections and Connector Repairs in Wiring Systems.

Did you find and correct the condition?

Go to Step 13

Go to Step 11

9

Inspect for poor connections at the harness connector of the body control module. Refer to Testing for Intermittent Conditions and Poor Connections and Connector Repairs in Wiring Systems.

Did you find and correct the condition?

Go to Step 13

Go to Step 12

10

Repair the ground circuit of the passenger door unlock relay. Refer to Wiring Repairs in Wiring Systems.

Did you complete the repair?

Go to Step 13

--

11

Replace the passenger door unlock relay.

Did you complete the replacement?

Go to Step 13

--

12

Replace the body control module. Refer to Body Control Module Replacement in Body Control System.

Important: Perform the set up procedure for the body control module. Refer to Body Control Module (BCM) Programming/RPO Configuration in Body Control System.

Did you complete the replacement?

Go to Step 13

--

13

  1. Use the scan tool in order to clear the DTCs.
  2. Operate the vehicle within the Conditions for Running the DTC as specified in the supporting text.

Does the DTC reset?

Go to Step 2

System OK