GM Service Manual Online
For 1990-2009 cars only
Makes
🢒
Chevrolet
🢒
2002
🢒
Malibu
🢒
Engine
🢒
Engine Electrical
🢒 Starting and Charging Schematics
Figure
1:
Starting System
IGN BATT 1, IGN SW BATT 2, Ignition Switch
Master Electrical Component List
Starting System Description and Operation
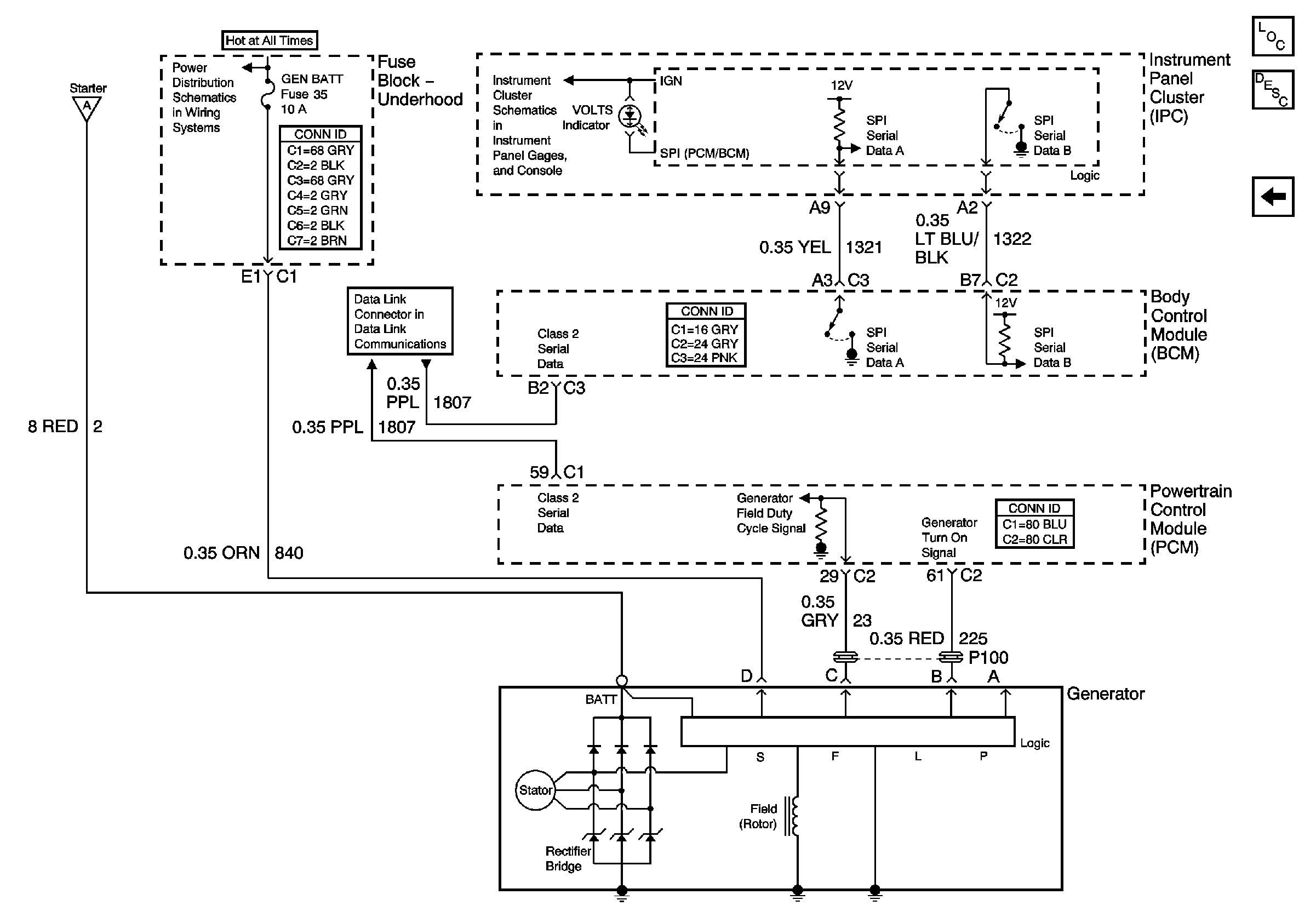
Charging System
SP102
Charging System
IGN BATT 1, IGN SW BATT 2, Ignition Switch
Figure
2:
Charging System
Master Electrical Component List
Starting System Description and Operation
Starting System
RH HDLP, LH HDLP, and GEN BATT Fuses
Data Link Communication
Starting System