GM Service Manual Online
For 1990-2009 cars only
Figure 1:

Transmission Solenoids and VSS


Object Number: 1217783  Size: FS
Master Electrical Component List
Electronic Component Description
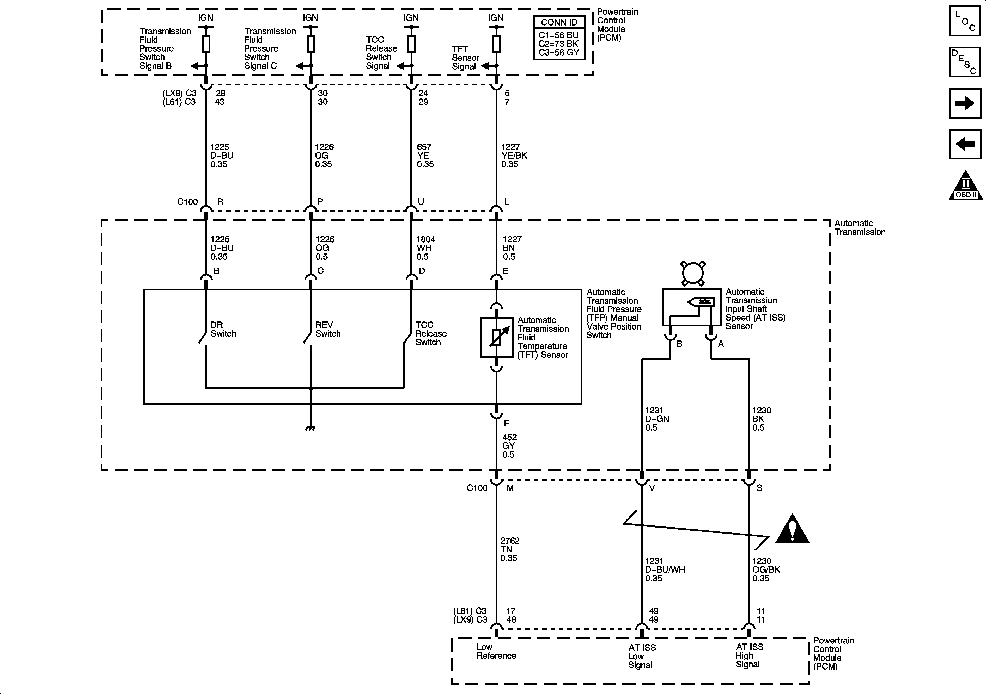
Transmission Switches, TFT and A/T ISS Sensor
Automatic Transmission Schematic Icons
Fuse Block Underhood Bussing
Fuse Block - Underhood - ABS, IGN, INJ, PCM IGN, TRANS Fuses and RUN/CRANK Relay
Figure 2:

Transmission Switches, TFT, and A/T ISS Sensor


Object Number: 1422365  Size: FS
Master Electrical Component List
Electronic Component Description
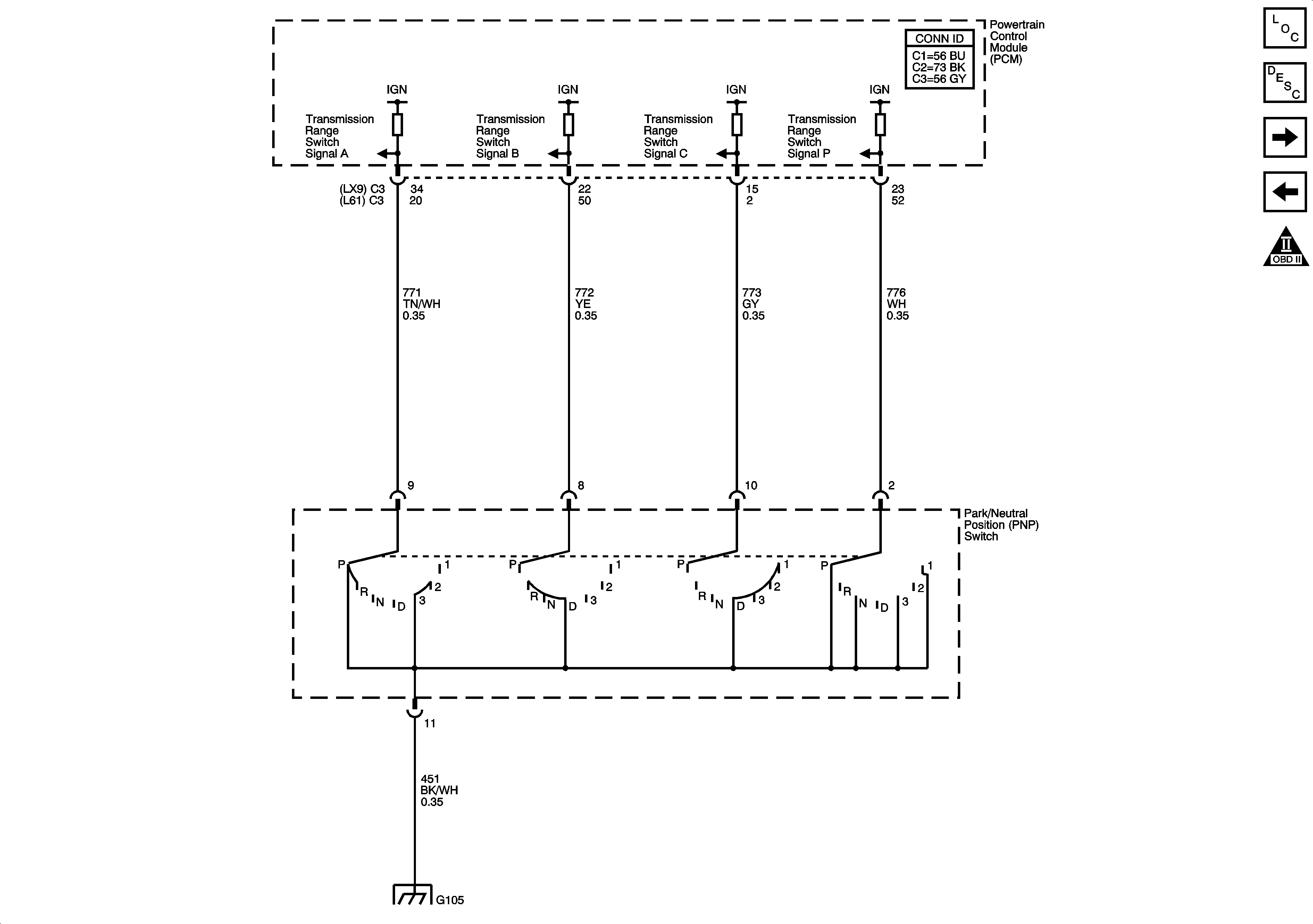
Park/Neutral Position Switch
Transmission Solenoids and VSS
Automatic Transmission Schematic Icons
Automatic Transmission Schematic Icons
Figure 3:

Park/Neutral Position Switch


Object Number: 1422370  Size: FS
Master Electrical Component List
Electronic Component Description
Tap Up/Tap Down Switch
Transmission Switches, TFT and A/T ISS Sensor
Automatic Transmission Schematic Icons
G103, G104, and G105
Figure 4:

Tap Up/Tap Down Switch


Object Number: 1228043  Size: FS
Master Electrical Component List
Electronic Component Description
Park/Neutral Position Switch
Automatic Transmission Schematic Icons
Fuse Block - Underhood - IBCM R/C Fuse, BCM - AIRBAG (IGN), EPS, and RUN/CRANK Fuses
Fuse Block - Underhood - IBCM R/C Fuse, BCM - AIRBAG (IGN), EPS, and RUN/CRANK Fuses
Fuse Block - Underhood - IBCM R/C Fuse, BCM - AIRBAG (IGN), EPS, and RUN/CRANK Fuses
Seats and Center Console
A/T Shift Lock Controls Schematics
G303