GM Service Manual Online
For 1990-2009 cars only
Makes
🢒
Chevrolet
🢒
2004
🢒
Malibu
🢒
Steering
🢒
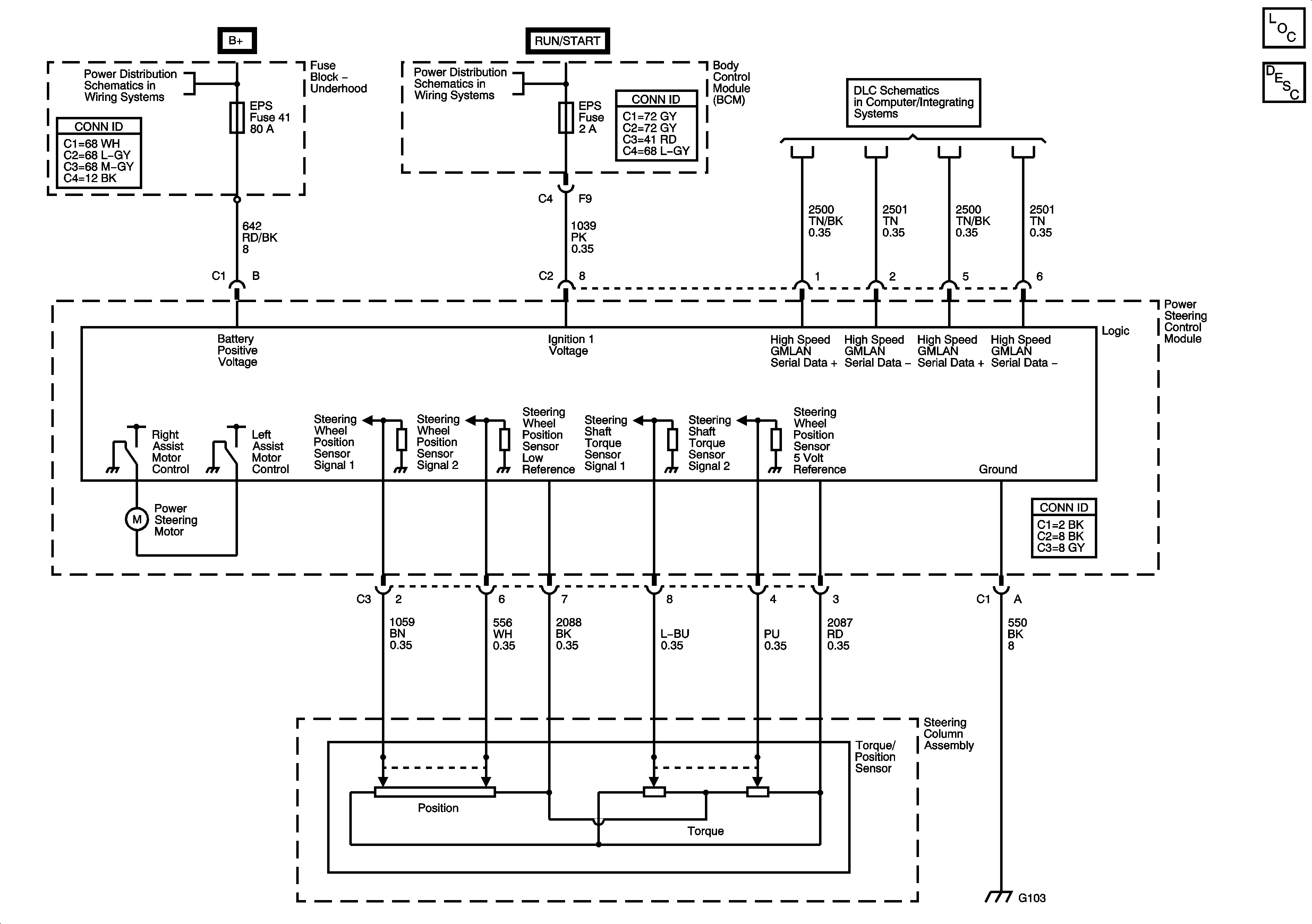
Power Steering System
🢒 Power Steering Schematics
Master Electrical Component List
Power Steering System Description and Operation
Fuse Block Underhood Bussing
Fuse Block - Underhood - IBCM R/C Fuse, BCM - AIRBAG (IGN), EPS, and RUN/CRANK Fuses
Fuse Block Underhood Bussing
Fuse Block - Underhood - IBCM R/C Fuse, BCM - AIRBAG (IGN), EPS, and RUN/CRANK Fuses
Power, Ground and High Speed Serial Data
G103, G104, and G105