GM Service Manual Online
For 1990-2009 cars only

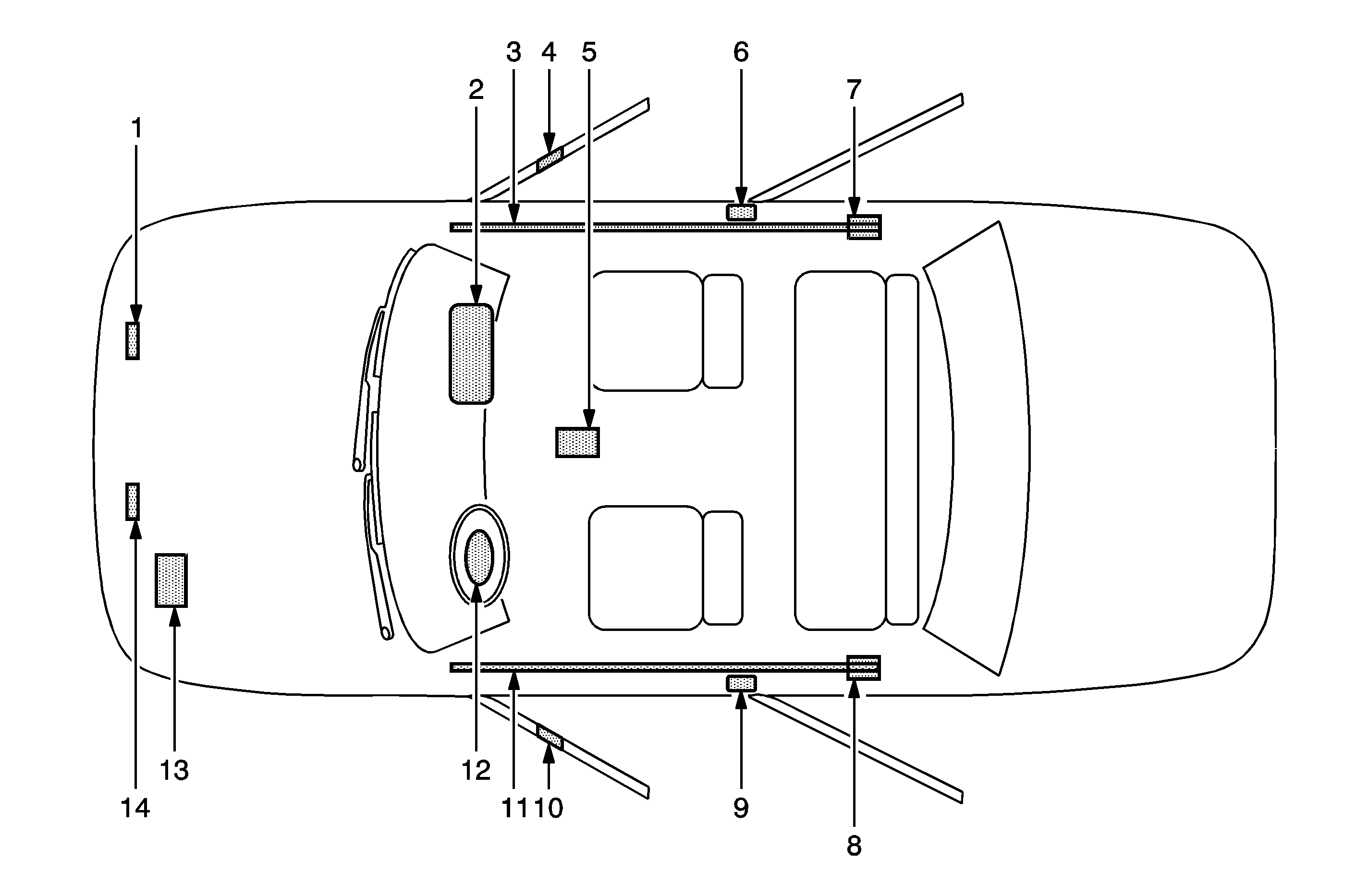
The SIR Identification Views shown below illustrate the approximate location of all SIR components available for the vehicle. This will assist in determining the appropriate SIR Disabling and Enabling for a given service procedure, refer to SIR Disabling and Enabling .

Malibu


Object Number: 1357289  Size: MF
(1)Front End Sensor-Located under the hood at the front right side of the vehicle
(2)I/P Air Bag-Located at the top right under the instrument panel
(3)Roof Rail Air Bag-Located under the headliner, extending from the passenger front windshield pillar to the passenger rear windshield pillar
(4)Side Impact Sensor (SIS)-Located behind door panel on the passenger front door
(5)Sensing and Diagnostic Module (SDM)-Located underneath the vehicle carpet under the center console
(6)Seat Belt Pretensioner-Located under the trim near the bottom of the center pillar on the passenger side of vehicle in the Sedan
(7)Inflator Module for Roof Rail Air Bag-Located behind the garnish molding on the upper rear pillar
(8)Inflator Module for Roof Rail Air Bag-Located behind garnish molding on the upper rear pillar
(9)Seat Belt Pretensioner -Located under the trim near the bottom of the center pillar on the driver side of vehicle in the Sedan
(10)Side Impact Sensor (SIS)-Located behind door panel on the driver front door
(11)Roof Rail Air Bag-Located under the headliner, extending from the driver front windshield pillar to the driver rear windshield pillar
(12)Steering Wheel Air Bag-Located on the steering wheel
(13)Vehicle Battery-Located at the front left of the engine compartment
(14)Front End Sensor-Located under the hood at the front left side of the vehicle