GM Service Manual Online
For 1990-2009 cars only

If a tire goes flat, avoid further tire and wheel damage by driving slowly to a level place. Turn on your hazard warning flashers.

Caution: Changing a tire can be dangerous. The vehicle can slip off the jack and roll over or fall on you or other people. You and they could be badly injured or even killed. Find a level place to change your tire. To help prevent the vehicle from moving:

  1. Set the parking brake firmly.
  2. Put the shift lever in P (Park).
  3. Turn off the engine and do not restart while the vehicle is raised.
  4. Do not allow passengers to remain in the vehicle.
To be even more certain the vehicle will not move, you should put blocks at the front and rear of the tire farthest away from the one being changed. That would be the tire, on the other side, at the opposite end of the vehicle.


Object Number: 810330  Size: B4

The following steps will tell you how to use the jack and change a tire.

Removing the Spare Tire and Tools

The equipment you'll need is in the trunk.


    Object Number: 988754  Size: B3
  1. For the sedan model, lift the handle on the spare tire cover. The handle may hook on the trunk front edge weatherstrip to hold the cover out of the way. For the MAXX model, lift the handle to release the latch on the spare tire cover.
  2. Lift and remove the cover.
  3. Turn the wing nut counterclockwise and remove it. Then remove the compact spare tire. See Compact Spare Tire

Tire Changing Tools

    Sedan model shown, MAXX model similar


    Object Number: 1226302  Size: B3
  1. The tools you'll be using include the wrench (A) and jack (B). The MAXX model includes an additional extension.

  2. Object Number: 1225649  Size: B3
  3. Turn the plastic wing nut counterclockwise to loosen wheel wrench.
  4. Unhook the wheel wrench from the jack.

  5. Object Number: 1225650  Size: B3
  6. Before using the wheel wrench, you must extend the handle.
  7. Extend the handle by pressing the button with your index finger and pulling on the end of the wrench.

Removing the Flat Tire and Installing the Spare Tire


    Object Number: 988763  Size: B3
  1. If your vehicle has a wheel cover or hubcap that has plastic wheel nut caps, loosen the plastic nut caps. You may need to use the wheel wrench to loosen them. Do not pry off wheel covers or center caps that have plastic wheel nut caps.
  2. Then remove the wheel cover or center cap from the wheel to find the wheel nuts.
  3. If your vehicle has a wheel cover or hubcap without plastic wheel nut caps, gently pry on the edge of the plastic wheel trim to remove it from the wheel to find the wheel nuts.

  4. Use the wrench to loosen all the wheel nuts. Don't remove them yet.

  5. Object Number: 1226456  Size: B3
  6. Position the lift head at the jack location nearest the flat tire. Make sure all of the jack lift head is touching the jacking flange under the body. Do not place the jack under a body panel. The lower body panel has an arrow to aid in locating the jacking location. Put the compact spare tire near you.
  7. Caution: Getting under a vehicle when it is jacked up is dangerous. If the vehicle slips off the jack you could be badly injured or killed. Never get under a vehicle when it is supported only by a jack.

    Caution: Raising your vehicle with the jack improperly positioned can damage the vehicle and even make the vehicle fall. To help avoid personal injury and vehicle damage, be sure to fit the jack lift head into the proper location before raising the vehicle.


    Object Number: 988777  Size: B3
  8. Raise the vehicle by turning the wrench clockwise. Raise the vehicle far enough off the ground so there is enough room for the compact spare tire to fit.
  9. Remove all of the wheel nuts.
  10. Then take off the flat tire.

  11. Object Number: 811105  Size: A2
  12. Remove any rust or dirt from the wheel bolts, mounting surfaces and spare wheel.
  13. Caution: Rust or dirt on a wheel or other parts to which it is fastened, can make the wheel nuts become loose and eventually the wheel could come off and cause a crash. Always remove all rust and dirt from wheels and other parts.

    Caution: Never use oil or grease on bolts or nuts because the nuts might come loose. The vehicle's wheel could fall off, causing a crash.


    Object Number: 810375  Size: B3
  14. Install the compact spare tire. Put the wheel nuts back on with the cone end of the nuts toward the wheel. Tighten each nut by hand or with the wrench until the wheel is held against the hub.

  15. Object Number: 1152288  Size: B3
  16. Lower the vehicle by turning the wrench counterclockwise. Lower the jack completely.

  17. Object Number: 808642  Size: A2
  18. Tighten the wheel nuts firmly in a crisscross sequence, as shown.

Caution: Incorrect or improperly tightened wheel nuts can cause the wheel to come loose and even come off. This could lead to a crash. If you have to replace them, be sure to get new original equipment wheel nuts. Stop somewhere as soon as you can and have the nuts tightened with a torque wrench to the proper torque specification. See Capacities and Specifications for wheel nut torque specification.

Notice: Improperly tightened wheel nuts can lead to brake pulsation and rotor damage. To avoid expensive brake repairs, evenly tighten the wheel nuts in the proper sequence and to the proper torque specification. See Capacities and Specifications for the wheel nut torque specification.

Don't try to put a wheel cover on your compact spare tire. It won't fit. Store the wheel cover and wheel nut caps in the trunk until you have the flat tire repaired or replaced.

Notice: Wheel covers will not fit on your vehicle's compact spare. If you try to put a wheel cover on the compact spare, the cover or the spare could be damaged.

Storing the Flat Tire and Tools

Caution: Storing a jack, a tire, or other equipment in the passenger compartment of the vehicle could cause injury. In a sudden stop or collision, loose equipment could strike someone. Store all these in the proper place.

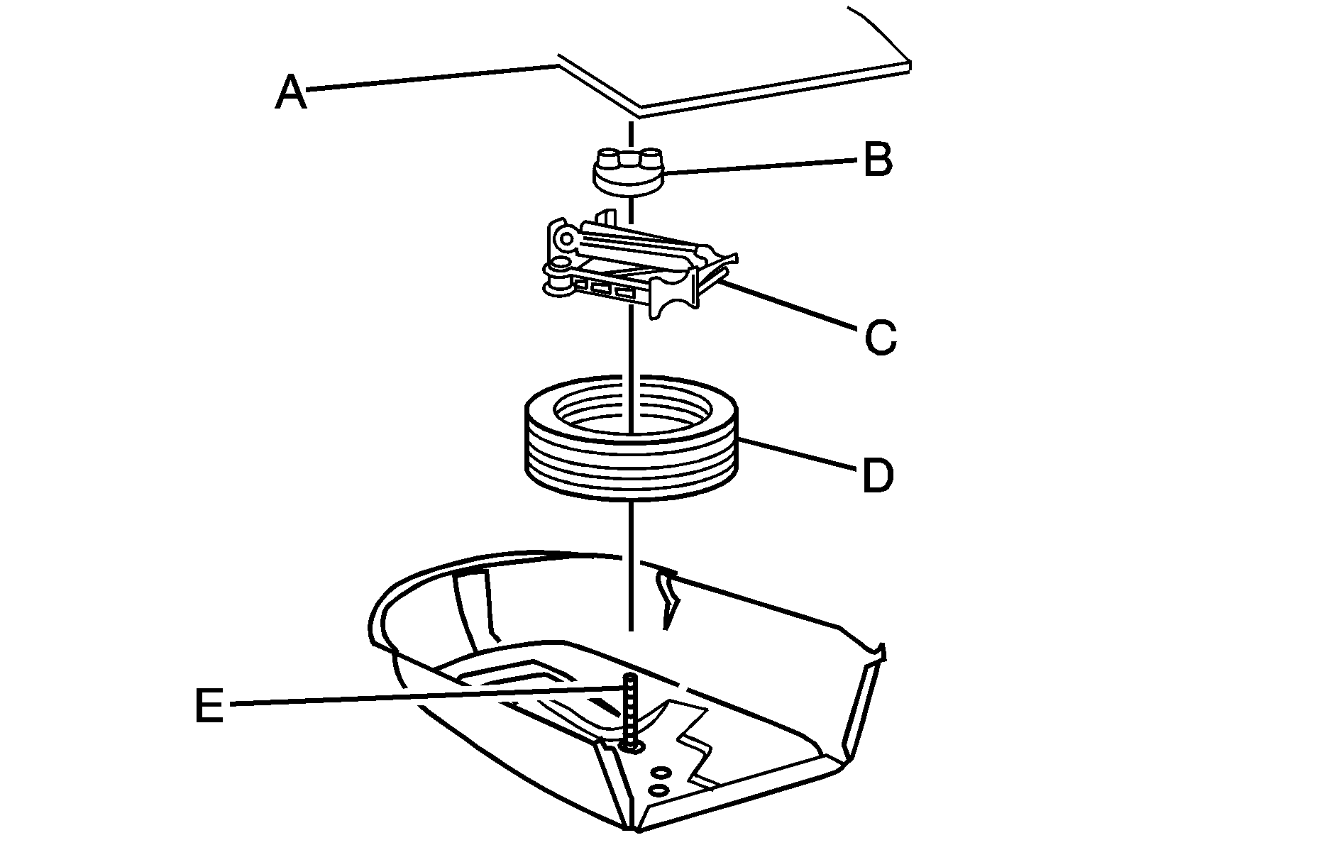
For the sedan model, store the flat tire and jack in the compact tire compartment as follows:

  1. Remove the center cap from the wheel.
  2. Place the tire in the compartment, valve stem down, with the bolt extending through the wheel center hole.
  3. Carefully place the jack and wrench over the bolt, inside the wheel.
  4. Secure by tightening the larger wing nut onto the bolt.

Sedan Model


Object Number: 1226459  Size: B3
  1. Cover

  2. Wing Nut

  3. Jack

  4. Flat Tire (valve stem down)

  5. Bolt

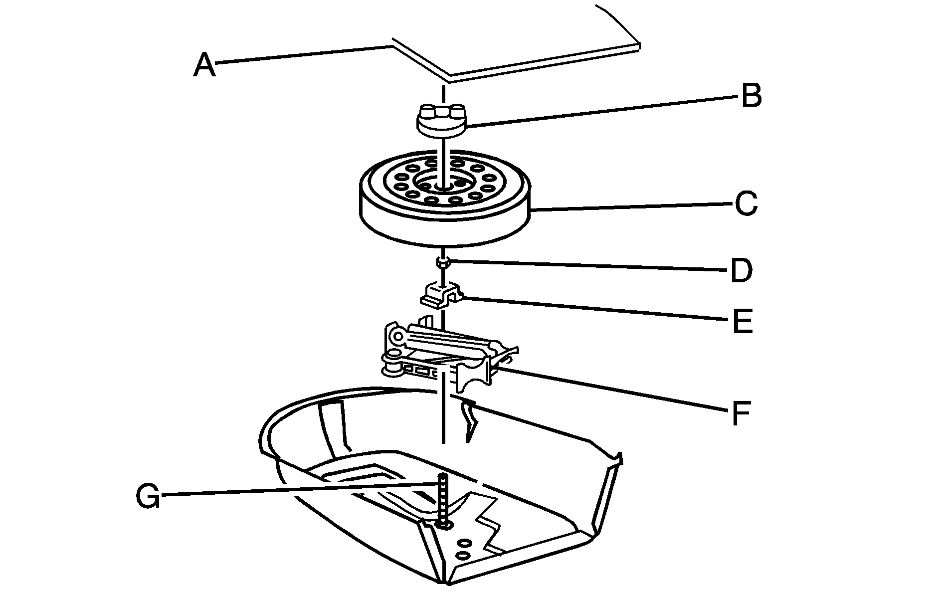
For the MAXX model, store the flat tire and jack in the compact spare tire compartment as follows:


    Object Number: 1399214  Size: B3
  1. Remove the bolt extension (in its yellow sleeve) from the jack.
  2. Place the jack over the bolt on the floor making sure it contacts the bolt as shown. Secure it with the bracket and nut provided.
  3. With the valve stem up, place the tire on the compartment floor with the rear of the tire beneath the trim panel. The tire may not lay completely flat. Line up a wheel nut hole with the bolt.
  4. With the yellow cap in place to prevent scratching the wheel, screw the bolt extension onto the bolt through the wheel nut hole.
  5. Remove the plug from the center hole of the floor cover by pressing on the tabs on the bottom of the cover. Remove the yellow cap from the bolt extension.
  6. Fold the rear flap of the cover up and place the cover on top of the wheel. The extension will come through the center hole in the cover.
  7. Secure the cover with the larger wing nut.

MAXX Model


Object Number: 1395367  Size: B3
  1. Wing Nut

  2. Cover

  3. Bolt Extension

  4. Flat Tire (valve stem up)

  5. Nut

  6. Bracket

  7. Jack

  8. Bolt

Storing the Spare Tire and Tools

Caution: Storing a jack, a tire, or other equipment in the passenger compartment of the vehicle could cause injury. In a sudden stop or collision, loose equipment could strike someone. Store all these in the proper place.

The compact spare tire is for temporary use only. Replace the compact spare tire with a full-size tire as soon as you can. See "Compact Spare Tire" following. Store the compact spare tire and tools as shown in the diagram.


Object Number: 1396901  Size: B3
  1. Cover

  2. Wing Nut

  3. Spare Tire

  4. Nut

  5. Bracket (MAXX model only)

  6. Jack (plus bolt extension, MAXX model only)

  7. Bolt